青岛垚鑫智能科技有限公司
宣传

位置:中冶有色 >

有色技术频道 >

分类:
全部
矿山技术
冶金技术
材料制备及加工技术
环境保护技术
分析检测技术
 
全部
功能材料技术
复合材料技术
新能源材料技术
合金材料技术
加工技术
地区:
全部
北京
天津
上海
重庆
河北
山西
辽宁
吉林
黑龙江
江苏
浙江
安徽
福建
江西
山东
河南
湖北
湖南
广东
海南
四川
贵州
云南
陕西
甘肃
青海
内蒙
广西
西藏
宁夏
新疆
其他
其他
展开
 
全部
济南
青岛
淄博
枣庄
东营
烟台
潍坊
济宁
泰安
威海
日照
滨州
德州
聊城
临沂
菏泽

山东济宁有色金属材料制备及加工技术理论与应用

免费发布技术信息>>
石墨烯基吸波复合材料的制备方法

本发明涉及一种石墨烯基吸波复合材料的制备方法:该制备过程首先按一定质量比取特制连接料,加入分散剂使用高速分散机分散均匀;然后按照特定百分比依次加入石墨烯、铁氧体、膨胀处理石墨,使用高速分散机分散混合后,使用三辊机滚压细化而成。本发明提供的石墨烯基吸波材料具有质量轻、功能性强、吸收频带宽、吸收强度大等特点,在性能上兼具电介质型和磁介质型吸波材料的优异性能,同时又有高的力学性能及良好的环境适应性和物理化学性能。该制备方法绿色环保、成本低、易于规模化生产,在隐身技术、电磁屏蔽、抗静电材料及电磁污染治理等领域具有非常广阔的应用前景。

标签:
复合材料
山东 - 济宁 来源:中冶有色网 2023-03-18
复合材料箱体的可拼装成型模具

本实用新型涉及一种复合材料箱体的可拼装成型模具,包括前端圆弧成型模具、右侧板成型模具、左侧板成型模具、孔口成型模具镶块、后侧板成型模具、底板成型模具,前端圆弧成型模具、右侧板成型模具、左侧板成型模具、后侧板成型模具、底板成型模具之间的连接处设有多个固定孔、定位孔以及导向孔,且各个成型模具之间通过模具固定螺栓、定位销、导向销固定在一起拼装形成该可拼装成型模具的成型腔,成型腔内部的形状与成型车箱整体形状相匹配,孔口成型模具镶块通过镶块固定螺栓固定安装在左侧板成型模具、右侧板成型模具、后侧板成型模具、底板成型模具的内表面上。有益效果是:结构简单、拼装拆卸方便,有利于维修更换,降低生产成本,提高产品质量。

标签:
复合材料
山东 - 济宁 来源:中冶有色网 2023-03-18
外墙用中空防火保温复合材料系统及其施工方法

本发明涉及建筑材料,具体为用于建筑外墙立面的一种外墙用中空防火保温复合材料系统,包括保温砂浆层,其特征在于所述保温砂浆层为无机保温砂浆胶粉料和玻化微珠或漂珠的混合物,砂浆层内有埋设的中空排管;所述无机保温砂浆胶粉料包括脱硫石膏、矿渣粉、水泥、乳胶粉、纤维素醚、憎水剂、短纤维、石膏激发剂。有益效果:在较寒冷地区用本发明的材料系统做成50mm厚的防火复合保温材料与40mm厚挤塑薄板抹灰保温材料、50mm厚模塑薄板抹灰材料传热值相接近,可满足节能65%的需求。本发明的复合保温材料结构合理,能兼顾保温、阻燃,使用寿命会大大提高。所提供的施工方法简便,便于推广。

标签:
复合材料
山东 - 济宁 来源:中冶有色网 2023-03-18
复合材料绝缘子
复合材料绝缘子 1138     
 0

本实用新型公开了一种复合材料绝缘子,包括芯棒,芯棒呈圆柱状且竖直设置,芯棒的外部套有若干个伞裙,芯棒的顶端和底端分别固定套设有两个球头金具,处于顶部的球头金具的顶端固定设有夹线槽,处于底部的球头金具的底端固定设有底板,底板底端的中部开设有第一球形槽,第一球形槽的内部活动设有第一球体,本实用新型的有益效果是:安装板通过支撑柱与活动设置在底板上的第一球体连接,使底板可以在一定范围内自由活动,再通过四个弹性支撑机构对底板进行支撑,通过弹性支撑机构可以对底板起到弹性缓冲的目的,继而可以提高绝缘子的减震能力,最大程度避免遇大风等恶劣天气时绝缘子发生断裂,延长绝缘子的使用寿命。

标签:
复合材料
山东 - 济宁 来源:中冶有色网 2023-03-18
复合材料固化炉
复合材料固化炉 903     
 0

本实用新型公开了一种复合材料固化炉,包括支撑板,所述支撑板的底部固定安装有支撑腿,所述支撑板的顶部固定安装有炉体,所述炉体的顶部固定安装有第一电机,所述电机的输出端固定连接有转轴,所述转轴贯穿炉体的顶部并固定连接有第一锥齿轮,所述炉体的内壁的顶部固定连接有固定板,所述固定板的一侧插接有螺纹杆,所述螺纹杆的一端贯穿固定板并与炉体的内壁为转动连接,所述螺纹杆的一端固定连接有第二锥齿轮,所述第一锥齿轮与第二锥齿轮,所述螺纹杆的表面套接有螺纹块。本实用新型使固化炉中的加热装置的位置能够进行调节,使部分离加热装置较远的复合材料均能达到良好的加热固化效果,提高了固化炉的使用效率。

标签:
复合材料
山东 - 济宁 来源:中冶有色网 2023-03-18
过渡金属改性的二氧化锰-碳复合材料及其制备方法

本发明涉及一种过渡金属改性的二氧化锰‑碳复合材料及其制备方法,属于含锰废酸处理领域,包括如下步骤:S1:以含锰废酸为原料,过滤,含锰废酸自带一定含量的碳材料或向废酸中补加碳材料,再加入碱溶液调节废酸pH至2‑3之间;S2:根据废酸中Mn2+含量,加入过渡金属盐,继续添加碱溶液调节废酸pH至8‑10之间;S3:向废酸中加入高锰酸钾,固液分离;S4:将固定沉淀洗涤后、抽干,在预设温度下进行热处理,得到过渡金属改性的二氧化锰‑碳复合材料;本发明既解决了各行业所存在的大量废酸于环境有害、处理成本高、制约生产的问题,同时又得到了可用于高功率可充性锂电池中的电极材料,且该电极材料循环性大大提高。

标签:
复合材料
山东 - 济宁 来源:中冶有色网 2023-03-18
多面体纤维增强复合材料产品侧压成型组合模压模具

本实用新型涉及一种多面体纤维增强复合材料产品侧压成型组合模压模具,包括下模板、滑块和上模板,所述下模板上设有限位块和导向块,所述导向块为二级阶梯式的块状结构,四块所述导向块分布在所述限位块的周围,所述滑块分为一级滑块和二级滑块,四块所述一级滑块分别位于相邻两块导向块的第一级阶梯组成的一级滑槽中,两块所述二级滑块位于四块导向块的第二级阶梯和四块一级滑块组成的二级滑槽中,四块所述一级滑块与所述上模板底部的侧面相接触。本实用新型通过侧压提供动力,通过力的逐级传递最终给纤维增强预制件的各面提供压力,可实现多面体纤维增强复合材料复杂构件的一次成型,且各面均匀受压,可以保证各面的纤维含量均匀。

标签:
复合材料
山东 - 济宁 来源:中冶有色网 2023-03-18
木塑复合材料的制备方法

本发明公开了一种阻燃木塑复合材料的制备方法,包括步骤:对木粉或木纤维进行碱处理,得到木纤维粉,将木纤维粉水洗至中性,在真空烘箱中干燥12‑15h得到干燥木纤维粉,将处理过的干燥木纤维粉、氯仿和三乙胺在65℃进行预分散1‑2h,缓慢滴加POCl3,保持反应条件不变继续反应8‑10h,再缓慢滴加DDM,滴加完毕后继续反应16‑20h,反应产物通过丙酮洗,去离子水洗,烘干即得到阻燃改性木粉或木纤维,按重量份数计,将阻燃改性木粉或木纤维20‑40份,塑料35‑50份,活性碳酸钙20‑30份,加工助剂5‑10份,金属铝纤维5‑10份共混,挤出成型。本发明的木塑复合材料燃烧时热释放速率低、产烟量小,在阻燃性能方面具有显著的提高,制备方法操作简单,生产成本低。

标签:
复合材料
山东 - 济宁 来源:中冶有色网 2023-03-18
一体成型复合材料壳体
一体成型复合材料壳体 1100     
 0

本实用新型涉及一种一体成型复合材料壳体,属于夹芯板领域,其特征在于,其展开状态为一片式的“十”字型结构,包括位于中心处的底板以及位于底板四周的侧板,底板与四个侧板的连接处设置有折痕部,所述底板和侧板均采用夹芯板结构,夹芯板结构包括芯材以及分别设置在芯材上下表面的上蒙皮和下蒙皮,所述折痕部与底板和侧板为一体式结构,但折痕部不包括上蒙皮和芯材;所述复合材料壳体为四个侧板沿折痕部弯折后与底板围合形成的盒状结构,相邻侧板的外缘相邻并通过型材或胶粘接固定相连;本实用新型无需另外的模具即可快速成型,制作工序简单。

标签:
复合材料
山东 - 济宁 来源:中冶有色网 2023-03-18
纳米石墨烯复合材料制备用定量输料机构

本实用新型属于纳米石墨烯复合材料制备用具技术领域,尤其为一种纳米石墨烯复合材料制备用定量输料机构,包括分料箱和散料箱,所述分料箱底端面四个拐角均固定连接有支撑腿,所述分料箱顶端面连通有存料管,所述分料箱底端面连通有出料管,所述分料箱内侧开设有呈圆盘状设置的空腔;通过设置的呈圆盘状的分料轮和分料轮外侧开设的分料槽,使得散料在进入到分料箱内后会进入到分料槽内,此时第一电机运转,通过第一传动轮、第二传动轮和传动带的传动,使得分料轮缓慢旋转,使得分料槽承载符合其容积的原料并改变位置,多余的原料会堆积在存料管内等待下一个分料槽的到来,从而完成了不间断的对散料进行定量分装。

标签:
复合材料
山东 - 济宁 来源:中冶有色网 2023-03-18
银纳米颗粒负载的钴基花瓣状复合材料及其制备方法和应用

本发明属于电催化技术领域,具体涉及一种银纳米颗粒负载的钴基花瓣状复合材料及其制备方法和应用。该催化剂通过简单的水热反应和室温下的还原反应,将银纳米颗粒成功负载到钴基花瓣状复合材料表面,同时引入银之后钴基材料的结构形貌依然得到良好的保持,开放的花瓣状结构为物质传输和电荷转移提供了有利条件。其电化学测试结果表明,该催化剂具有优异的OER活性,电流密度为10mA/cm2时过电势仅为268mV,远优于商业RuO2催化剂,此外该催化剂具有良好的长期稳定性。本发明所提供的制备方法无需精密设备,能耗低,原料来源广泛,成本低且可实现克级制备,具有重要的实用价值。

标签:
复合材料
山东 - 济宁 来源:中冶有色网 2023-03-18
共价有机框架/石墨烯复合材料的制备及应用

本发明公开了一种共价有机框架/石墨烯复合材料的制备方法及其电学性能。在室温下,以在体相中均匀分散的还原氧化石墨烯为模板,基于席夫碱聚合反应原位生长共价有机框架结构。共价有机框架由1,3,5‑均苯三甲醛和3,8‑二氨基‑6‑苯基菲啶作为前体分子,利用6M的醋酸提供酸性条件。通过席夫碱聚合反应将吡啶氮原子均匀分布于共价有机框架中,提供均匀的活性位点。以石墨烯作为模板来合成共价有机框架材料,得到的结构具有一致的孔道形状。石墨烯是一种导电性好的材料,将共价有机框架和石墨烯复合起来,能够进一步提高其电化学性能。本发明首次采用室温条件下原位合成共价有机框架/石墨烯复合材料,制备方法条件温和,适合实际生产的需要。

标签:
复合材料
山东 - 济宁 来源:中冶有色网 2023-03-18
复合材料模板
复合材料模板 1125     
 0

一种复合材料模板,在平板的两侧有侧板,两头有挡板,中间有加强板,而侧板、挡板上有安装孔,由于采用复合材料制作的模板它具强度高,重量轻与混凝土的附着力小,安装拆、卸方便,具有经久耐用,无毒、无害等优点。

标签:
复合材料
山东 - 济宁 来源:中冶有色网 2023-03-18
防腐耐磨碳化硅复合材料防护剂及其制备方法

本发明提供一种防腐耐磨碳化硅复合材料防护剂及其制备方法,属于抗磨防护剂技术领域,该防腐耐磨碳化硅复合材料防护剂包括以下重量份的原料配方:乙烯基树脂20‑35份、固化剂1‑10份、碳化硅160‑280份、三氧化二铝20‑50份、海泡石矿物纤维15‑20份、乳化剂1‑8份、填料20‑35份、増粘剂3‑7份;本防护剂中含有乙烯基树脂、三氧化二铝、碳化硅、海泡石矿物纤维等,将防护剂使用在需防护表面,可以起到延长设备寿命的作用,防止工业生产过程中,在强酸强碱再加上温度的影响,极端的运行环境导致相关设备寿命大大缩减的问题。

标签:
复合材料
山东 - 济宁 来源:中冶有色网 2023-03-18
石墨烯基复合材料固定化反硝化细菌的制备方法及其应用

本发明公开了一种以石墨烯基复合材料固定化反硝化细菌的制备方法及其应用,涉及微生物环保领域,工艺步骤包括:1)取反硝化细菌接种至富集培养基培养,培养液离心去上清液,得菌体;将菌体悬浮于生理盐水中,得反硝化细菌菌悬液;2)采用1wt%木炭粉吸附菌悬液2‑6h,得吸附液;3)采用共价交联法制备石墨烯基复合材料的包埋剂;4)将吸附液与包埋剂混匀,得混合载体;5)将混合载体逐滴滴入交联剂中,交联,得固定化微生物颗粒。所得固定化微生物耐受性好活性高,能够高活性反复处理含氮污水。

标签:
复合材料
山东 - 济宁 来源:中冶有色网 2023-03-18
复合材料防弹板
复合材料防弹板 1172     
 0

本实用新型公开了一种复合材料防弹板,属于防弹板技术领域,由表及里依次层叠为保护层、吸能层和支撑层,各层之间通过环氧树脂胶膜粘合在一起,整板的密度为10‑30kg/m2;所述保护层为超高分子量聚乙烯纤维无纬布,吸能层为S级玻璃纤维层,支撑层为高模量碳纤维层。本实用新型复合材料防弹板,利用碳纤维高强度、高模量、低断裂延伸率的性能,结合S级玻璃纤维强度高、价格低的优势,通过将三者按照一定的叠加顺序和铺设角度混杂,并在高温高压的环境下制成复合防弹板,以此来提高其整体的压缩强度和抗侵彻能力,降低了其在子弹侵彻之后背部凸起变形量,减少对穿着人员的二次伤害,同时有效的降低了材料成本。

标签:
复合材料
山东 - 济宁 来源:中冶有色网 2023-03-18
带有隔离结构的防静电阻燃PVC/ABS复合材料及其制备方法

一种带有隔离结构的防静电阻燃PVC/ABS复合材料及其制备方法,包括以下制备步骤:将PVC、CPE、抗氧剂、稳定剂、增塑剂在高速混合机中进行预混合。将混合机温度升到70‑90℃,待温度稳定后加入润滑剂,继续升温至90‑120℃,然后保温5‑15min,将混合好的物料A移入冷料机,冷却至40℃以下。将ABS树脂与导电填料在转矩流变仪中密炼2‑5min,加入预先混合完毕的物料A,继续密炼2‑5min。将密炼完成的物料模压5—10min,即可成型。本发明利用ABS机械性能、加工等性能好,性价比极高,应用广泛等优点,通过控制熔融时间等工艺 制备一种具有隔离结构的PVC/ABS复合材料,解决ABS电导率低且不阻燃,造成使用体验、安全等方面的问题。

标签:
复合材料
山东 - 济宁 来源:中冶有色网 2023-03-18
凹土/聚苯醚纳米复合材料的制备方法

本发明公开了一种凹土/聚苯醚纳米复合材料及其制备方法,该材料先将凹土进行疏水改性,然后采用原位聚合的方法,制备以改性凹土为核,聚苯醚为壳的凹土/聚苯醚纳米复合材料。该材料力学性能、加工性、耐热性、阻燃性和气味优异,可在电气、电子设备部件,车辆设备部件,以及化学设备部件,甚至船舶、桥梁、建材、食品包装中得到广泛应用。

标签:
复合材料
山东 - 济宁 来源:中冶有色网 2023-03-18
氧化亚铁/氧化亚铜纳米复合材料的制备方法

本发明氧化亚铁/氧化亚铜纳米复合材料的制备方法,属于无机材料制备技术领域,将铁盐溶解于水中,得到铁盐溶液;将金属铜加入到上述铁盐溶液中,持续搅拌5‑30min;将上述溶液置于反应釜内,80‑150℃的温度下反应0.5‑8h;将步骤3)所得产物洗涤剂洗涤1‑3次,再在0‑120℃温度下干燥2‑12h。本发明利用简单的一步低温水热方法,不添加有机溶剂,一步即可制备氧化亚铁/氧化亚铜复合纳米材料,颗粒及组成均可控,成本低廉,解决了复合材料制备工艺复杂和成本高的问题;制备方法简便,对环境无害,适于大规模工业化生产,应用前景广泛;所得产品性能优异,作为Fenton反应试剂,可在中性pH值、常温和太阳光下展现出优异的催化性能,催化活性增强,结构稳定性提高。

标签:
复合材料
山东 - 济宁 来源:中冶有色网 2023-03-18
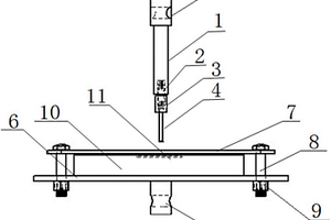
辅助万能试验机测试复合材料的夹层预埋件的设备

本实用新型涉及一种辅助万能试验机测试复合材料的夹层预埋件的设备,包括连接装置和固定装置,所述连接装置包括连杆、第一螺栓、螺栓套筒和第二螺栓,所述连杆的下端通过第一螺栓与所述螺栓套筒的一端相连,所述螺栓套筒的另一端与所述第二螺栓的一端相连;所述固定装置包括底座、钢板、第三螺栓和螺母,所述钢板设有两块,两块所述钢板的四端通过四对所述第三螺栓和螺母的配合连接在所述底座上。本实用新型通过借助万能试验机,得出直观准确的金属预埋块力学性能数据,可以测试其抗拉性能、蠕变性能、抗拉疲劳性能等参数,可以解决现有复合材料夹层结构中金属预埋块力学性能难以准确测试的不足。

标签:
复合材料
山东 - 济宁 来源:中冶有色网 2023-03-18
不透光玻璃钢复合材料制品及应用

本发明公开了一种不透光玻璃钢复合材料制品,所述储存罐左侧固定连接有散热框,所述散热框内固定连接有挡尘片,所述储存罐底部固定连接有支撑腿,所述储存罐顶部右侧固定连接有进料口,所述储存罐右侧顶部连接有出料管。该不透光玻璃钢复合材料制品及应用,在加气站内进行使用时,通过散热框将冷空气不断的输送至储存罐内部,储存罐内的天然气通过通管进入到隔板和密封盖之间进行冷却,冷却后在通过通管进入到储存罐的隔板右侧,能够有效的保证储存罐内稳定的温度,同时在加油站进行使用时,挥发的汽油气体通过通管进入到隔板和密封盖之间进行冷却,冷却后在通过通管进入到储存罐的隔板右侧,能够有效的保证储存罐内温度的恒定。

标签:
复合材料
山东 - 济宁 来源:中冶有色网 2023-03-18
石墨烯复合材料抗菌实验装置

本实用新型属于材料抗菌实验技术领域,尤其为一种石墨烯复合材料抗菌实验装置,包括呈中空结构设置的底座,所述底座的顶端面的四个拐角处均开设有通孔,所述底座的底端面内侧壁固定设有第一电机;使用此装置时,将底座固定在工作台上,拉动手把将观察门打开,首先打开堵块,通过第一管道往酒精盒内注射酒精,然后将未放石墨烯复合材料的反应皿放置在支架上并旋转螺杆夹紧反应皿,然后操作操作面板将第三电机通电,使第三电机的转动轴带动不完全齿轮旋转,进而带动锥齿轮旋转,锥齿轮带动酒精盒旋转,同时将微型水泵通电,进而使酒精盒内的酒精从雾化喷头喷射出去,酒精易挥发,实现了此装置多角度对反应皿进行消毒的作业。

标签:
复合材料
山东 - 济宁 来源:中冶有色网 2023-03-18
用于多层复合材料框架精确组对的工装

本实用新型涉及一种用于多层复合材料框架精确组对的工装,包括水平工作台,所述水平工作台沿边设有一圈支撑条板,在所述水平工作台上且由所述支撑条板组成方框的内部角上均分别设有一个楔块,在所述水平工作台上且由所述支撑条板组成方框的外部角上均分别设有一个角压紧定位装置,在所述水平工作台上且由所述支撑条板组成方框的外部边上均匀设有多个边压紧定位装置,在所述水平工作台上且由所述支撑条板组成方框的内部均匀设有多个内部压紧定位装置。本实用新型通过角压紧定位装置、边压紧定位装置和内部压紧定位装置,可以实现多层、复杂、多种形状管制件复合材料框架的精确组对,提高装配质量及生产效率。

标签:
复合材料
山东 - 济宁 来源:中冶有色网 2023-03-18
解决复合材料真空灌注成型出现干布问题的工艺

一种解决复合材料真空灌注成型出现干布问题的工艺,涉及真空灌注成型技术领域,在模具底板上开设若干通孔;在纤维增强材料的边端留出不被导流网覆盖的减速区域;在模具底部和顶部分别布设一圈导流管,每个导流管上设有两个相对的抽气口;在抽气口处覆盖预设层数的轴向布;按照以下步骤抽气灌注:步骤1,封堵住模具顶部导流管上的两个抽气口,从模具底部导流管上的两个抽气口抽气;步骤2,纤维增强材料的下部被浸透后,导通模具顶部导流管上的两个抽气口并从模具顶部导流管上的两个抽气口抽气;这种解决复合材料真空灌注成型出现干布问题的工艺能在真空灌注成型产品纤维材料层数多且厚时避免出现干布和注不透全部纤维材料的现象。

标签:
复合材料
山东 - 济宁 来源:中冶有色网 2023-03-18
石墨烯/PVC复合材料用母料的制备方法及母料

本发明涉及一种石墨烯/PVC复合材料用母料的制备方法及母料,石墨烯加入溶剂,并进行分散,得到第一混合液;PVC加入溶剂,使PVC溶解,得到第二混合液;前两步的混合液混合后进行干燥制得母料。本发明解决了石墨烯在PVC中分散的问题,制备的母料能以任何比例与PVC进行复合、混炼,能拓展PVC材料的应用领域。本发明所制备的母料可以根据实际需要调节母料中各组分的比例,达到不同的使用效果,根据PVC材料的用途可以制备成防静电材料、导热材料、高性能复合材料。

标签:
复合材料
山东 - 济宁 来源:中冶有色网 2023-03-18
石墨烯-蛋白质复合材料合成方法

本发明公开了一种石墨烯‑蛋白质复合材料合成方法,属于化妆品领域,包括以下步骤:将氧化石墨烯超声分散于DMF中,制备浓度1‑20mg/mL的溶液,在氮气保护下加入含疏基化合物,搅拌反应0.5‑12h,加入还原剂,还原反应温度为45‑200℃,时间为0.5‑120h,3‑5次离心水洗去除未反应的疏基化合物,得疏基化石墨烯;用水溶解角蛋白获得蛋白溶液,向溶液中加入变性剂,使蛋白去折叠以暴露出疏基,形成蛋白变性溶液;向蛋白变性溶液中加入疏基化石墨烯,通过生成二硫键使石墨烯和蛋白交联、组装,得到石墨烯‑蛋白质复合材料。本发明利用石墨烯超大的比表面积,形成网络结构,对头发进行保湿。配合蛋白质的重组,有效修复损伤的毛鳞片。吸附细小杂物,保持头发清洁。

标签:
复合材料
山东 - 济宁 来源:中冶有色网 2023-03-18
镁铁氧/碳复合材料及其制备方法

本发明涉及一种镁铁氧/碳复合材料及其制备方法,将铁源、镁粉、液体碳源混合,转移到密闭反应容器内,密封并置于坩埚炉中,在550‑650℃下反应8‑12h,从而得到复合产物。本发明中镁粉、液体碳源、铁盐同时反应,生产的氧化镁与氧化铁形成均一相镁铁氧,液体碳源形成的碳层恰好包覆在颗粒表面。在此过程中,氧化镁与氧化铁的同步合成,在生成二元氧化物颗粒时,同步热解液体碳源得到碳包覆层,两种物质在化学反应的气氛下相互依附,碳包覆层与二元氧化物颗粒形成理想的核壳结构,一步构建碳复合材料。

标签:
复合材料
山东 - 济宁 来源:中冶有色网 2023-03-18
用于安装道口控制器的复合材料箱

一种用于安装道口控制器的复合材料箱属于铁路信号器材的一种保护装置,涉及一种复合材料的道口控制器箱,包括箱盖、箱体、底板、安装底座、二柱瓷端子、瓷端子座、电缆护管、压盖螺丝孔、电缆引入孔,其特征在于:所述箱体设计为内部镂空的长方体形状,箱体上部前方中间位置设置有压盖螺丝孔;所述箱体上方设置有与箱体相适应的箱盖;所述箱体下方四角设置有安装底座;所述箱体下部左侧后方设置有五个电缆引入孔;所述电缆引入孔下方设置有电缆护管;所述箱体内上部三分之一处靠近后面设置有长条形的瓷端子座;所述瓷端子座上部设置有十八个二柱瓷端子,所述箱体内下部设置有底板。本实用新型内部结构合理,节省空间,具有耐腐蚀、绝缘性好等优点。

标签:
复合材料
山东 - 济宁 来源:中冶有色网 2023-03-18
由碳纳米管和石墨烯共同改性的橡胶复合材料

本发明公开一种碳纳米管和石墨烯共同改性的橡胶复合材料,所述一种碳纳米管和石墨烯共同改性的橡胶复合材料包括重量份数:石墨烯0.001~20份,碳纳米管0.001~20份,填料1~5份,橡胶50~80份。本发明的一种碳纳米管和石墨烯共同改性的橡胶材料较现有的橡胶在力学性能,电、热性能上有巨大的提高。使得橡胶具有更好的耐磨性能,提高了橡胶的导电效果,且进一步提高了橡胶抗静电和散热效果。

标签:
复合材料
山东 - 济宁 来源:中冶有色网 2023-03-18
纳米金复合材料免疫传感器的制备方法及应用

本发明提供一种纳米金复合材料免疫传感器的制备方法及应用,将氨基化的Fe3O4纳米磁珠分散到Tris缓冲溶液中与癌症标志物抗体(Ab1)相连后作为易分离的免疫探针;中空聚多巴胺-金纳米材料(PDA-Au)分散到Tris缓冲溶液中与癌症标志物抗体(Ab2)相连作为免疫识别物质。Ab1与Ab2与对应癌症标志抗原特异性结合构成三明治夹心免疫体系。通过磁性将该免疫体系分离出来,随后加入到对硝基苯酚与硼氢化钠的混合水溶液中,通过紫外可见仪进行测定。本发明制备得到的纳米金复合材料免疫传感器免疫检测线性范围为0~100U/mL,检测下限达0.05U/mL,相关系数达0.998。

标签:
复合材料
山东 - 济宁 来源:中冶有色网 2023-03-18
上一页 25 26 27 28 29 ... 31 下一页
共31页    到第

中冶有色为您提供最新的山东济宁有色金属材料制备及加工技术理论与应用信息,涵盖发明专利、权利要求、说明书、技术领域、背景技术、实用新型内容及具体实施方式等有色技术内容。打造最具专业性的有色金属技术理论与应用平台!

全国热门有色金属设备推荐
展开更多 +
全国热门有色金属技术推荐
展开更多 +

 

江西省隆恩特环保设备有限公司
宣传

报名参会
更多+

报告下载

有色专家
更多+

矿冶科技集团有限公司
党委书记 / 董事长
郑州大学
校长/党委书记
昆明理工大学
教授
矿冶科技集团有限公司工程公司
副总经理
任灵宝金源矿业股份有限公司
技术发展部经理
赤泥综合利用研究报告2025
推广

热门技术
更多+

推荐企业
更多+

福建省金龙稀土股份有限公司
宣传

发布

在线客服

公众号

电话

顶部
咨询电话:
010-88793500-807