青岛垚鑫智能科技有限公司
宣传

位置:中冶有色 >

有色技术频道 >

分类:
全部
矿山技术
冶金技术
材料制备及加工技术
环境保护技术
分析检测技术
 
全部
功能材料技术
复合材料技术
新能源材料技术
合金材料技术
加工技术
地区:
全部
北京
天津
上海
重庆
河北
山西
辽宁
吉林
黑龙江
江苏
浙江
安徽
福建
江西
山东
河南
湖北
湖南
广东
海南
四川
贵州
云南
陕西
甘肃
青海
内蒙
广西
西藏
宁夏
新疆
其他
其他
展开
 
全部
福州
厦门
漳州
泉州
三明
莆田
南平
龙岩
宁德

福建宁德有色金属材料制备及加工技术理论与应用

免费发布技术信息>>
电解液及包含该电解液的锂金属电池

本发明提供一种电解液以及包含该电解液的锂金属电池,其中电解液包括锂盐、有机溶剂和添加剂,所述添加剂包括结构式I所示的磺内酰胺化合物;其中,R选自取代或未取代的C1‑C10烃基,取代基选自苯基、C1‑C6烷基、C1‑C6烯基;X为硫原子或磷原子;R1和R2主要选自氧原子、氟原子、氯原子、溴原子、取代或未取代的C1‑C10烃基,且R1和R2不同时为氧原子。本发明的电解液在正极、负极表面形成的界面膜具有良好的导离子能力,有利于降低电池的阻抗,并且能抑制正、负电极与电解液之间的过度副反应,从而改善电池的循环性能。

标签:
加工技术
福建 - 宁德 来源:中冶有色网 2023-03-18
正极极片及锂离子二次电池

本发明公开了一种正极极片及锂离子二次电池,正极极片包括正极集流体以及设置于正极集流体至少一个表面上的正极活性物质层,正极活性物质层包括正极活性物质和弱碱性添加剂;正极活性物质包括化学式Li1+xNiaCobM1‑a‑bO2‑yAy所示的第一正极活性物质和化学式Li1+zMncM’2‑cO4‑dA’d所示的第二正极活性物质,弱碱性添加剂的中值粒径α与BET比表面积β之间满足2≤α×β≤16。本发明提供的正极极片使得锂离子二次电池同时兼顾较高的安全性能、循环性能及存储性能。

标签:
加工技术
福建 - 宁德 来源:中冶有色网 2023-03-18
电解液及应用该电解液的锂离子电池

本申请公开了一种电解液,包括非水有机溶剂、锂盐和添加剂,其特征在于,所述添加剂中包含环状硫酸酯化合物和含有氨基的萘类化合物。该电解液用于锂离子二次电池中,能够保证电池优良的高温存储与循环性能,并且电池具有在高温使用过程中胀气少,内阻低,低温充放电性能好等优点。

标签:
加工技术
福建 - 宁德 来源:中冶有色网 2023-03-18
锂离子电池的铝塑膜
锂离子电池的铝塑膜 886     
 0

本申请涉及储能器件领域,尤其涉及一种锂离子电池的铝塑膜,包括依次层叠的尼龙层、铝箔层以及PE层,铝箔层与尼龙层以及PE层之间均通过粘胶层粘接,PE层背离铝箔层的一侧表面间隔分布有多个朝铝箔层延伸的内凹部,内凹部的表面以及PE层背离铝箔层的一侧表面均通过电晕处理形成粗糙面。本申请所提供的锂离子电池的铝塑膜通过采用对电解液吸附性较强的PE,并在PE层与裸电芯的接触面,也就是PE层背离铝箔层的一侧表面间隔分布多个内凹部,以及在接触面以及内凹部的表面通过电晕处理形成一层粗糙面,能够大幅提升铝塑膜对电解液的吸附能力,从而有效降低了抽气过程中电解液抽出较多或抽气不足的发生概率,降低了操作难度。

标签:
加工技术
福建 - 宁德 来源:中冶有色网 2023-03-18
锂离子电池折边装置
锂离子电池折边装置 835     
 0

本申请提供一种锂离子电池折边装置,包括:第一基座;第一压刀,可拆卸地连接至第一基座;以及第二压刀,设置在第一基座上并可接近或远离第一压刀;其中,第一压刀具有第一V型槽,第二压刀具有第一刀棱,第一V型槽用于容纳配合第一刀棱,第一刀棱的顶角和第一V型槽的底角均小于90°。本申请的目的在于提供一种锂离子电池折边装置,以解决电池包材折边后折痕不明显的问题。

标签:
加工技术
福建 - 宁德 来源:中冶有色网 2023-03-18
锂电池生产用上下料物流小车

本实用新型公开了一种锂电池生产用上下料物流小车,包括底板,底板一侧对角固定安装有两个滑杆,滑杆与物料盒两侧固定安装的滑块滑动连接,物料盒另一侧固定安装有移动板,移动板内壁的螺纹孔与丝杠螺纹连接,丝杠一端与固定安装在固定杆顶部的电机固定连接,通过电机带动丝杠工作,丝杠与移动块螺纹连接,移动块固定安装在物料盒的一侧,且物料盒内壁的两侧开设有滑槽,滑槽与上料板两端滑动连接。本实用新型通过气缸输出端推动上料板进行上料,随后气缸输出端缩回,上料板在弹性件的作用下复位,同时通过使用上料小车自动上下料提高生产线装置上料的速度,提高了生产线装置对时间的利用,从而提高锂电池生产的效率。

标签:
加工技术
福建 - 宁德 来源:中冶有色网 2023-03-18
含草酸酐基团的锂离子电池添加剂及其制备方法

本发明涉及一种含有草酸酐基团的锂离子电池电解液添加剂,其特征在于:所述的草酸酐基团的结构式如式(Ⅰ)所示:其中,A为C或者S,x=1或者2;当A=C时,x=1,此时(Ⅰ)为碳酸草酸酐;当A=S,x=1时,此时(Ⅰ)为亚硫酸草酸酐;当A=S,x=2时,此时(Ⅰ)为硫酸草酸酐。本发明提供了一种锂离子电池电解液成膜添加剂草酸酐的制备方法,本方法制备工艺简单,反应时间短,收率高,能有效控制金属离子和阴离子杂质,可以制备得到高纯度的目标产物。

标签:
加工技术
福建 - 宁德 来源:中冶有色网 2023-03-18
加压型软包装锂离子电池化成设备

本发明属于锂离子电池制造设备技术领域,尤其涉及一种在化成过程中用层叠的方式对电池主体平行施加足够压力的加压型软包装锂离子电池化成设备,其包括用于支撑电池夹具和提供恒温环境的恒温箱体,所述恒温箱体内部设有多个对电池施加压力和转接极耳电路的电池夹具和提供充放电能量的电源控制系统。相对于现有技术,本发明实现了在电池化成的同时还能对电池主体平面平行施加足够压力,将化成前的多道加压整形工序和化成工序整合到一台设备上完成,简化了生产工艺,节约了人力,也节约了设备的投入,而且生产出来的电池充放电性能、循环寿命、存储性能及外观都有很大的提高。

标签:
加工技术
福建 - 宁德 来源:中冶有色网 2023-03-18
锂离子电池及包含其的用电设备

本发明提供了一种锂离子电池及包含其的用电设备,涉及电池领域。锂离子电池包括:电极组件;以及用于浸润所述电极组件的电解液;其中,所述电极组件,包括电极主体、正极极耳和负极极耳,所述电极主体包括围绕轴线卷绕在一起的正极极片、负极极片以及设置在所述正极极片和所述负极极片之间的隔离膜;所述正极极耳连接于所述正极极片,所述负极极耳连接于所述负极极片;沿轴线方向(X),所述电极主体具有相对设置的两侧部,所述正极极耳和所述负极极耳分别从所述电极主体的两侧部延伸出;所述正极极片包括正极集流体和设置于所述正极集流体至少一个表面的正极材料层,所述电解液含有添加剂A,所述电解液在所述电极主体中的扩散速率v为0.01μg/s~5μg/s。该锂离子电池具有高能量密度、高循环性能和高安全性的优点。

标签:
加工技术
福建 - 宁德 来源:中冶有色网 2023-03-18
正极浆料、正极极片及锂离子电池

本发明提供一种正极浆料、正极极片及锂离子电池。所述正极浆料包括正极活性材料、导电剂以及粘接剂。所述正极活性材料包括pH值≥11.5的第一正极活性材料颗粒。所述粘接剂包括含氟聚合物。所述正极浆料还包括:添加剂。本发明的正极浆料具有较好的流动性和稳定性,有效地解决正极极片加工过程中遇到的凝胶、果冻、团聚问题,提高生产的优率,确保锂离子电池的一致性,同时改善锂离子电池在高电压下使用的存储寿命及高温循环稳定性。

标签:
加工技术
福建 - 宁德 来源:中冶有色网 2023-03-18
负极极片及电池
负极极片及电池 774     
 0

本发明提供了一种负极极片及电池,所述负极极片包括负极集流体以及设置于负极集流体至少一个表面上且包括负极活性物质的负极膜片。所述负极活性物质包括石墨,且所述负极膜片的OI值VOI与所述负极膜片的压实密度PD之间的关系满足:0.7≤(80/VOI+43/PD)×PD/VOI≤21.5,其中,负极膜片的压实密度PD的单位为g/cm3。本发明的电池能同时兼具充电速度快、能量密度高、安全性好以及循环寿命长的特点。

标签:
加工技术
福建 - 宁德 来源:中冶有色网 2023-03-18
固态电解质膜片及锂离子电池

本发明提供了一种固态电解质膜片及锂离子电池。所述固态电解质膜片含有固态电解质晶体颗粒以及粘结剂,固态电解质晶体通式为(LimZn)MP2X12,固态电解质晶体属于三斜晶系和P1空间群;Z为高价金属元素,其化合价大于1价且小于等于3价,高价金属元素Z为Mg、Al、Ca、Ti、Cu、Zn、In、Sr、Ru、Rh、Pd、Ag、Cd、Ba、Os、Ir、Pt、Hg中的至少一种;M为Ge、Si、Sn、Al、P中的至少一种;X为O、S、Se中的至少一种;m为8~11的有理数;n为0~2的有理数;在固态电解质膜片中,80%以上的(LimZn)MP2X12晶体颗粒的晶轴c轴方向与固态电解质膜片平面夹角α1为-15°≤α1≤15°。所述锂离子电池包括前述固态电解质膜片。从而有效提高锂离子的传导速率、有效地改善倍率性能和循环性能。

标签:
加工技术
福建 - 宁德 来源:中冶有色网 2023-03-18
锂离子电池及其涂层隔膜

本发明公开了一种锂离子电池及其使用的涂层隔膜。所述涂层隔膜包括多孔基材和涂布在多孔基材表面的涂层;多孔基材包括第一表面和与第一表面朝向相反的第二表面;所述涂层包括位于多孔基材的第一表面的第一涂层和位于多孔基材的第二表面的第二涂层;第一涂层和第二涂层均包括粘接性聚合物,且第一涂层中粘接性聚合物的质量分数小于第二涂层中粘接性聚合物的质量分数。与现有技术相比,本发明根据正负极进行不同的隔膜涂层设计,从而使得锂离子电池可以同时满足电池对于硬度和动力学特性的要求。

标签:
加工技术
福建 - 宁德 来源:中冶有色网 2023-03-18
卷绕式结构的方形锂离子电池

本实用新型属于锂离子电池技术领域,尤其涉及一种卷绕式结构的方形锂离子电池,包括正极、负极、隔膜和电解液,正极包括正极集流体及涂布在正极集流体上的正极材料层,正极在转角区域的正极材料层的厚度与正极本体区域的正极材料层的厚度的比值小于等于90%,转角区域在卷绕方向的长度为0.5~4个电芯厚度。相对于现有技术,本实用新型优化了电极结构的卷绕式方形锂离子电池,在其电极的转角区域,涂布的电极材料层厚度低于其本体区域的电极材料层厚度,以此降低电池在充放电及循环过程中因电极膨胀导致的应力,降低电池的变形率,减少电池循环过程的表观厚度,提高电池的能量密度,及改善电池性能。

标签:
加工技术
福建 - 宁德 来源:中冶有色网 2023-03-18
隔膜及其制备方法以及使用隔膜的锂离子电池

本发明公开了一种隔膜,其包括多孔的隔膜基体和涂布在隔膜基体至少一个表面上的热敏感涂层,其中,热敏感涂层包括10%~90wt.%的热膨胀微球和3%~15wt.%的粘接剂,热膨胀微球包括发泡剂和包裹发泡剂的热塑性聚合物壳。与现有技术相比,本发明隔膜通过在隔膜表面涂覆含有热膨胀微球的热敏感涂层,能够防止电池热失控的发生,显著提高锂离子电池的安全性。此外,本发明还公开了一种隔膜的制备方法和使用这种隔膜的锂离子电池。

标签:
加工技术
福建 - 宁德 来源:中冶有色网 2023-03-18
高能量密度的安全动力锂离子电池

本发明公开了一种高能量密度的安全动力锂离子电池,所述锂离子电池的周围套有固定架,所述固定架的两侧设有连接底座,所述固定架包括上固定板、套环、下固定板、支撑腿,套环套在锂离子电池的周围,所述上固定板设于锂离子电池的上端面,上固定板的两侧通过上连接板与套环连接,所述套环的上端设有滑槽,所述滑槽内设有推拉杆,所述推拉杆的一端与支撑腿连接,所述下固定板与锂离子电池的下端面连接,所述下固定板的两端通过下连接板与套环的下端连接,所述套环的两端均连有支撑腿,所述连接底座包括连接板、固定杆,所述固定杆的下端与连接板的垂直连接,所述固定杆内设有上端开口的配合孔,所述支撑腿与配合孔配合。

标签:
加工技术
福建 - 宁德 来源:中冶有色网 2023-03-18
锂离子电池及其正极片

本发明公开了一种锂离子电池正极片,其包括:正极集流体、分布在正极集流体一面上的第一正极材料层,和分布在正极集流体另一面上的第二正极材料层,第一正极材料层包括第一正极活性物质,第二正极材料层包括第二正极活性物质,第一正极活性物质的通式为LiaNixCoyM(1‑x‑y)O2,其中,M选自Mn、Al、Zr、Ti、V、Mg、Fe、Mo、B中的至少一种,0.95≤a≤1.2,02、LiNiO2、LiMnO2、LiFea1Mn1‑a1PO4、碳包覆的LiFea1Mn1‑a1PO4、Li2MnSiO4、Li2FeSiO4、LiNi0.5Mn1.5O4中的至少一种,其中,0

标签:
加工技术
福建 - 宁德 来源:中冶有色网 2023-03-18
锂电池模组旋转定位制动机构

本实用新型涉及锂电池模组旋转定位制动机构,包括用于对锂电池模组托盘底座进行定位的凸轮随动器,所述凸轮随动器的左右两侧均活动设置有夹紧块,左右两个所述夹紧块之间开设有用于所述凸轮随动器进出所述夹紧块的喇叭口,所述夹紧块远离所述凸轮随动器的一侧上下两端均设置有等高螺钉,所述等高螺钉上套设有弹簧,所述弹簧的一端与所述夹紧块连接设置;所述等高螺钉上活动套设有安装座,所述安装座位于所述弹力调节件的远离所述弹簧一侧,所述安装座与所述弹力调节件连接设置。本实用新型实现了能够对电池模组托盘底座进行夹紧定位并防止池模组托盘底座旋转角度超出所设定的角度,提高生产效率。

标签:
加工技术
福建 - 宁德 来源:中冶有色网 2023-03-18
圆柱型锂离子二次电池

本实用新型属于锂离子二次电池技术领域,尤其涉及一种圆柱型锂离子二次电池,包括电池壳体、收容于电池壳体内的电芯、填充于电池壳体内的电解液,以及密封组接于电池壳体上的电池盖帽,电芯的中央区设置有中心空间,中心空间设有中心管,电芯由正极片、负极片和设置于正极片和负极片之间的隔膜卷绕而成,电池盖帽的表面设置有封闭剂层。相对于现有技术,本实用新型通过在电池盖帽的表面设置封闭剂层,可以有效地将电池盖帽基材和外界隔绝,从而防止电解液或外界浸蚀性介质对电池盖帽的腐蚀,起到较好的防锈作用,从而防止电池盖帽的锈蚀,保护电池的外观,并防止电池盖帽的溶穿,提高电池的安全性能。

标签:
加工技术
福建 - 宁德 来源:中冶有色网 2023-03-18
电芯及锂离子电池
电芯及锂离子电池 1002     
 0

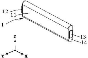
本申请提供了一种电芯,包括卷绕形成电芯的一部分的第一极片,其中,沿展开的第一极片的长度方向,第一极片具有第一端部并且第一端部的边缘形成有第一缺口。还提供一种锂离子电池。本申请的目的在于提供一种能够辨别极片的头部和尾部的电芯及锂离子电池。

标签:
加工技术
福建 - 宁德 来源:中冶有色网 2023-03-18
用于锂离子电池极片面密度检测的射线传感器

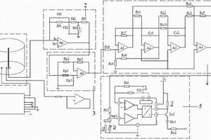
本发明属于检测设备技术领域,尤其涉及一种用于锂离子电池极片面密度检测的射线传感器,包括高气压电离室、高电压模块、前置放大器、增益调节电路、滤波电路和电压电流转换电路,前置放大器包括运算放大器和反馈网络,高气压电离室内填充有填充气体,填充气体为氙气、氪气、氙气与碳氧化合物气体的混合气体或氪气与碳氧化合物气体的混合气体,反馈网络设置为双T型反馈容阻网络。相对于现有技术,本发明采用的填充气体对β、γ和X射线有较好的灵敏度,为传感器提供了可靠稳定的信号源;而且本发明的双T型反馈容阻网络在提高前置放大器的放大倍数的同时减小时间常数,使该射线传感器能够在线非接触式、快速准确地测量锂离子电池极片的面密度。

标签:
加工技术
福建 - 宁德 来源:中冶有色网 2023-03-18
集流体、电极极片及锂离子电池

本实用新型涉及集流体、电极极片及锂离子电池。该集流体包括:金属箔,该金属箔包括相对的第一表面和第二表面,第一表面和第二表面至少一者包括交替分布的第一区域和第二区域,第一区域为将金属箔腐蚀化处理形成之腐蚀区域,第一区域的面积占第一区域和第二区域面积之和的33%~75%,第一区域分布有多个孔,平均孔径为3μm~20μm;底涂层,形成于第一表面和第二表面至少一者上。本实用新型提供的集流体、电极极片及锂离子电池能够有效且稳定地抑制电芯热失控,改善电芯安全性能,同时兼具良好的电学性能。

标签:
加工技术
福建 - 宁德 来源:中冶有色网 2023-03-18
卷绕式软包装锂离子电池

本实用新型属于锂离子电池技术领域,尤其涉及一种卷绕式软包装锂离子电池,包括电芯、用于容纳电芯的包装袋和灌注于包装袋内的电解液,所述电芯包括依次叠置并卷绕的正极片、隔膜和负极片,电芯的最外层缠绕有聚合物膜层。相对于现有技术,本实用新型通过在电芯的最外层缠绕隔膜,可以改变电芯的表面光洁度和表面张力特性,从而消除了电解液在电芯表面的聚团,减少甚至消除电芯表面液滴的出现,解决了因此而导致的电池外观起皱、不平整的问题,提高成品优率。同时缠绕在电芯最外层的隔膜还可以吸附和“存储”一部分电解液,可以延长电池的循环寿命。

标签:
加工技术
福建 - 宁德 来源:中冶有色网 2023-03-18
锂离子动力电池极片的冲制设备

一种锂离子动力电池极片的冲制设备,包括上下两固定片、设于上固定片上且横截面为带有凸部的矩形的凸模及设于下固定片上与凸模相适配的凹模。由于凹凸模可制作成多个电池极片的形状,利用相同形状的凸凹模,通过凸模的向下运动,经与凹模的剪切作用,把锂离子动力电池的正、负极条料片,剪切成所需的极片形状。同时采用高精度的凹凸模具进行冲制,消除了传统的激光切割和刀模剪切有大量飞边、毛刺的缺点,提高极片的利用率,同时保证了电池性能。

标签:
加工技术
福建 - 宁德 来源:中冶有色网 2023-03-18
正极活性材料及其制备方法、正极极片、锂离子二次电池

本发明公开了一种正极活性材料及其制备方法、正极极片、锂离子二次电池。正极活性材料包括本体颗粒和包覆在本体颗粒外表面的含M1元素氧化物包覆层,本体颗粒包括含镍的锂复合氧化物;本体颗粒的体相均匀掺杂有M2元素;本体颗粒的表面层为掺杂有M3元素的外掺杂层;M1元素及M3元素各自独立地选自Mg、Al、Ca、Ce、Ti、Zr、Zn、Y及B中的一种或多种,M2元素包括Si、Ti、Cr、Mo、V、Ge、Se、Zr、Nb、Ru、Rh、Pd、Sb、Te、Ce及W中的一种或多种。采用本发明提供的正极活性材料,能够使锂离子二次电池同时兼顾较高的能量密度、高温循环性能及高温存储性能。

标签:
加工技术
福建 - 宁德 来源:中冶有色网 2023-03-18
负极及其锂离子二次电池

本发明涉及锂离子二次电池用负极及包含该负极的锂离子二次电池,更具体地涉及含孔隙率和孔径不同的活性物质层的负极及包含该负极的锂离子二次电池,第一活性物质层为靠近集流体的层,第二活性物质层为远离集流体的层,该第一活性物质层采用高孔隙率高孔径类椭圆形多孔颗粒作为活性物质,极大增加了第一活性物质层的吸液储液能力,可保证负极尤其是第一活性物质层在循环过程中持续膨胀仍能保持较高的电解液含量,防止因电解液不足导致的离子传导断桥而降低循环性能,同时可保证电芯能量密度不降低的情况下,极大程度地提升电芯的循环性能和循环寿命。

标签:
加工技术
福建 - 宁德 来源:中冶有色网 2023-03-18
电极极片及锂离子电池

本实用新型涉及一种电极极片及锂离子电池,该电极极片包括:集流体,该集流体包括相对的第一表面和第二表面;底涂层,设置于集流体的第一表面上,该底涂层包括在第一方向上交替分布的第一区域和第二区域,第一区域上涂覆有底涂材料,第二区域暴露集流体的第一表面;活性材料层,设置于底涂层上,并覆盖第一区域及第二区域。本实用新型提供的电极极片及锂离子电池能够改善锂离子电池安全性的同时减小锂离子电池内阻的增加。

标签:
加工技术
福建 - 宁德 来源:中冶有色网 2023-03-18
电池、正极浆料及极片以及清除杂质锂的方法

本申请涉及储能材料领域,具体讲,涉及一种电池、正极浆料及极片以及清除杂质锂的方法。本申请的电池包含正极极片、负极极片、隔离膜以及电解液,正极极片通过将正极浆料制备于正极集流体上后,经干燥后制备而成;正极浆料的原料包括正极活性材料、粘接剂、导电剂和正极添加剂,正极添加剂选自含有氟元素的电解质,含有氟元素的电解质可与水反应生成HF,生成的HF与杂质锂反应,从而将这些杂质锂清除,生产的CO2直接在后续的涂布干燥阶段挥发,不会带入成品电池中,有利于降低电池成品的内部气体量。

标签:
加工技术
福建 - 宁德 来源:中冶有色网 2023-03-18
锂电池正极材料烧结用坩埚

本实用新型涉及锂电池生产设备技术领域,特别涉及一种锂电池正极材料烧结用坩埚,包括顶面具有开口的本体,以及设置在所述本体内腔中的十字板,所述十字板的端部均与所述本体的内壁相连。本实用新型所提供的锂电池正极材料烧结用坩埚可有效解决坩埚进炉后正极材料由于反应收缩导致中间结块严重的问题。

标签:
加工技术
福建 - 宁德 来源:中冶有色网 2023-03-18
用于锂离子电池的折极耳机构

本申请提供一种用于锂离子电池的折极耳机构,该折极耳机构包括:一折机构,包括可朝向彼此移动到第一夹持位置的一折上压板和一折下压板、以及可滚动经过一折上压板和一折下压板的侧面的辊轮;二折机构,包括二折下压板,二折下压板可枢转到水平位置且可由水平位置水平移动;以及将锂离子电池运送到一折机构和二折机构的电池夹具。本申请的目的在于提供一种用于锂离子电池的折极耳机构,以至少地实现经弯折的转接极耳的形态一致性和稳定性,同时避免对极耳和焊接区域造成损伤。

标签:
加工技术
福建 - 宁德 来源:中冶有色网 2023-03-18
上一页 22 23 24 25 26 ... 49 下一页
共49页    到第

中冶有色为您提供最新的福建宁德有色金属材料制备及加工技术理论与应用信息,涵盖发明专利、权利要求、说明书、技术领域、背景技术、实用新型内容及具体实施方式等有色技术内容。打造最具专业性的有色金属技术理论与应用平台!

全国热门有色金属设备推荐
展开更多 +
全国热门有色金属技术推荐
展开更多 +

 

江西省隆恩特环保设备有限公司
宣传

报名参会
更多+

报告下载

有色专家
更多+

南昌航空大学
副院长/教授
矿冶科技集团
副所长/研究员
有研资源环境技术研究院(北京)有限公司
副总经理/教授级高工
矿冶科技集团
中国工程院院士
云南锡业集团(控股)有限责任公司
副总经理
赤泥综合利用研究报告2025
推广

热门技术
更多+

推荐企业
更多+

福建省金龙稀土股份有限公司
宣传

发布

在线客服

公众号

电话

顶部
咨询电话:
010-88793500-807