青岛垚鑫智能科技有限公司
宣传

位置:中冶有色 >

有色技术频道 >

> 固/危废处置技术

分类:
全部
矿山技术
冶金技术
材料制备及加工技术
环境保护技术
分析检测技术
 
全部
废水处理技术
大气治理技术
固/危废处置技术
土壤修复技术
地区:
全部
北京
天津
上海
重庆
河北
山西
辽宁
吉林
黑龙江
江苏
浙江
安徽
福建
江西
山东
河南
湖北
湖南
广东
海南
四川
贵州
云南
陕西
甘肃
青海
内蒙
广西
西藏
宁夏
新疆
其他
其他
展开
 
全部
其他

其他有色金属固/危废处置技术理论与应用

免费发布技术信息>>
建筑用塑面模板及其制备方法

本发明涉及一种建筑用塑面模板及其制备方法,包括基体,所述基体的两侧表面分别设置有表面层,所述表面层包括相互连接的布衬底层和板材面层,且所述布衬底层背离所述板材面层的一侧连接在基体上,所述板材面层是由下述质量比的组分形成的固体层:稻稉粉0-10份、木粉0-40份以及塑料55-100份。本发明的建筑用塑面模板防水性好,能耐酸碱腐蚀,强度和韧性均较好;与现有技术相比,其生产成本比现有最优质酚醛树酯涂面板的建筑用塑面模板生产成本低廉很多,塑料为废弃塑料,进一步降低成本,且本发明的建筑用塑面模板使用时易于脱模,可多次反复使用,使用寿命较长。

标签:
固废
其他 - 其他 来源:中冶有色网 2023-03-19
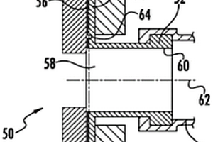
用于燃料电池堆的单元电池组件和制造方法

披露了用于固体聚合物电解质燃料电池堆的独特的单元电池组件(20)及其改进的制造方法,其中,该方法一开始包括:利用弹性体密封(17)例如液体注射模制密封将单独气体扩散层接合至流场板组件(6)。单元电池组件(20)的密封不依赖以弹性体穿透该气体扩散层。该方法提供可靠的单元电池组件(20),同时有利地允许使用黏度更高的弹性体并减少废料。

标签:
固废
其他 - 其他 来源:中冶有色网 2023-03-19
结晶装置和方法
结晶装置和方法 789     
 0

本发明涉及对给水进行蒸馏和结晶处理。本发明尤其涉及对工业废水或盐水或微咸水进行蒸馏和结晶处理。本发明均涉及用于进行蒸馏的装置和方法。在本发明的一个方面中,提供了一种结晶装置,包括:(a)一结晶器,用于蒸发给水以产生水蒸气;(b)吸附装置,其与所述结晶器蒸汽连通,用于可逆地吸附所述结晶器中的水蒸气;和(c)解吸装置,用于解吸所述吸附装置中吸附的水蒸气,其中所述结晶器在基本上低于大气压的压力下使所述给水蒸发,以形成包含结晶固体的浓缩溶液或浆液。

标签:
固废
其他 - 其他 来源:中冶有色网 2023-03-19
经纯化的对苯二甲酸(PTA)排放蒸汽的利用

本发明涉及一种用于制造经纯化的芳香族羧酸的方法,所述方法包括在反应区中氧化被取代的芳香族化合物以形成芳香族羧酸粗品和气态料流;在预加热区中加热所述芳香族羧酸粗品;将所述芳香族羧酸粗品与氢气在氢化反应器中在催化剂存在下接触,以形成经纯化的芳香族羧酸;在结晶区中结晶所述经纯化的芳香族羧酸,以形成包含固体经纯化芳香族羧酸的浆液料流和蒸气料流。将至少一部分所述蒸气料流引导至所述预加热区,并将来自于所述预加热区的至少一部分所述蒸气料流排放至所述废气处理区,以便实现能量节省。

标签:
固废
其他 - 其他 来源:中冶有色网 2023-03-19
电化学生产聚合物
电化学生产聚合物 948     
 0

一种新式过程用于生产聚合物,常常带有燃料/化学品为副产品。其发明包含装置设计,加成聚合过程,与缩合聚合过程。装置为一种机械设计用以连续去除固体沉积物,不论是否导电,于电极表面。除了克服限制之于电化学聚合物生产即产品阻挡电极阻止继续操作,其装置提供了更便宜的操作予电冶金来收成宝贵金属形成于电极上。其新过程允许改装常规聚合物生产过程经由取代常规反应器以电化学反应器,来实现低成本快速实施。该新反应包括加成反应来产生加成聚合物;及分子间反应来产生多类缩合聚合物。该集群发明使有价值的聚合物与化学品能被生产于低成本,更温和条件及更便宜设备,同时允许利用替代的原料,特别是化学废料,为了进一步的环境与经济效益。

标签:
固废
其他 - 其他 来源:中冶有色网 2023-03-19
建造直接熔炼厂的方法
建造直接熔炼厂的方法 1196     
 0

建造直接熔炼厂的方法,该直接熔炼厂包括金属熔炼容器(11)和辅助工厂部件,例如热空气供给站(24)、废气处理站(32)、固体供给站(41)、热金属脱硫站(47)和从熔炼容器(11)延伸的热金属和熔渣流槽等部件。环形起重机(51)的环形轨道(53)安装在将要安装容器(11)的位置的前面。起重机起重臂(54)沿着建筑现场的细长伸展布置,建筑现场的细长伸展会在工厂完全建立时变成大型辅助部件之间的走廊(60)。起重臂(54)连接到起重机滑架(52)上并且提升以在包围容器(11)和辅助部件的所提出的地点的地面区域上方提供高的提升容量。然后预先制造的部件由起重机(51)提升到针对最后安装的适当位置。在安装完成之后,起重臂(54)沿着走廊(60)放下并且起重机(51)被拆除和移走,留下走廊(60)作为入口通路。

标签:
固废
其他 - 其他 来源:中冶有色网 2023-03-19
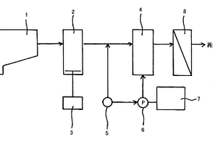
再生水的制造方法
再生水的制造方法 1234     
 0

提供一种无需使用大量臭氧,能够以低成本由废水制造处理水质优异的再生水的方法。使用臭氧接触塔(2)等使臭氧与污水处理水等原水接触,提高原水中固体成分的凝集性之后通过凝集剂注入泵(6)注入凝集剂使其凝集,用分离膜(8)进行膜过滤,制造再生水的方法。用溶存臭氧浓度计(5)测定分离膜前的原水中的残留臭氧浓度,随着原水的水质恶化,当必要的臭氧量超出臭氧发生器的能力从而残留臭氧浓度低于规定值时,增加凝集剂的注入量,在必要的臭氧量没有超出臭氧发生器的能力的区域,对应于投入臭氧量或臭氧消耗量增减凝集剂的添加量。

标签:
固废
其他 - 其他 来源:中冶有色网 2023-03-19
回收金属的方法
回收金属的方法 1027     
 0

本发明涉及一种用于从水溶液或例如矿石和废料的固体原料中回收金属的方法。具体来说,本发明涉及一种使用微生物回收目标金属并且通过所述过程再循环耗尽的生长培养基或耗尽的浸滤剂的方法。

标签:
固废
其他 - 其他 来源:中冶有色网 2023-03-19
一次性烧烤炉
一次性烧烤炉 1028     
 0

本发明涉及一种在野外能简单地使用的一次性烧烤炉,消费者可以不用具备其他加热单元,也能简单地烤肉类或鱼贝类等食物的一次性烧烤炉。本发明在内部由隔热材料涂层的纸材料而制成的壳体的内部保管炭与烤盘以及能点火炭的固体燃料,使用时能简单地取出来使用。本发明不仅结构简单且能容易制造,壳体由纸材料制成,烤炉的托架由金属材料制成,烤炉与烤盘由薄板的铝材料制成,因此,废弃后能回收使用。

标签:
固废
其他 - 其他 来源:中冶有色网 2023-03-19
残余物热转换的方法和装置

通过热转换将具有不同粒度的含有能量的可燃残余物转化成固体和废气的方法,该方法是在高于组成所述残余物的成分的熔点的温度下,在大气压力下,通过让残余物与氧气和/或空气反应而实现的,通过输送装置将所述残余物和空气流或氧气流一起送入高温反应器,并让其发生反应,在高温反应器中将所述残余物转化成液态矿渣和气体,将液态矿渣阻拦在位于高温反应器下部的熔池中,该残余物的小颗粒部分在高温反应器的直立的自有空间里主要被转化成矿渣和气体,该残余物的粗颗粒部分主要是在熔池中和熔池上被转化成矿渣和气体,所产生的液态矿渣流过阻拦元件的下部,以及逸出元件的上部,它被连同所产生的气体一起经高温反应器的出口孔排出高温反应器。

标签:
固废
其他 - 其他 来源:中冶有色网 2023-03-19
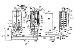
用于通过垃圾气化产生有用能的方法和设备

本发明涉及一种通过垃圾气化以产生有用能的方法,并且,将诸如城市垃圾等的废弃物引进井状-熔化气化器中,使其逆流中干燥,去气,并在固体残渣的熔化下气化,从熔化气化器(15)所取出的热的未处理气体被提供给热气体蒸汽发生器(18),在所述热气体蒸汽发生器(18)中,将水蒸汽混入热气体中,并且热气体-蒸汽混合物经由透平(18.3)的双透平转子(18.13)被引导,所述透平(18.3)驱动电流发电机(18.4),且同时开始预反应,此后,被预净化的热气体-蒸汽-混合物被引入沉流装置(38)中,在所述沉流装置(38)中,在被喷入的、掺有反应物的水的使用下并通过带有起泡的反复的膨胀和压缩,所述混合物被冷却且被预净化,并且,被预净化的气体被取出,并且液体被收集。已被预净化的气体被提供给气体净化器(40),在气体净化器(40)中,所述气体利用反应物起泡并重新被消泡,最后,已净化气体被提供给其它的能量的利用,例如在发动机(41)中的燃烧。

标签:
固废
其他 - 其他 来源:中冶有色网 2023-03-19
汽车可清洁地毯
汽车可清洁地毯 859     
 0

本发明涉及机动车辆的一件内部装置,其包含针刺纤维(14,16)的非织造网(12),所述针刺纤维的非织造网形成了丝绒面层(18)和基底(20)。所述网的纤维(14,16)包含至少50质量%和优选至少75质量%的中空纤维(14);和所述网的丝绒密度大于或者等于0.04g/cm3和优选包含0.04g/cm3?0.06g/cm3。这些特征导致来自于其的固体废物容易清洁的丝绒,同时限制了生产成本。

标签:
固废
其他 - 其他 来源:中冶有色网 2023-03-19
分离中间相沥青的方法
分离中间相沥青的方法 1086     
 0

本发明提供了一种从各向同性沥青获得很纯净的中间相沥青的方法。本发明采用一种不涉及与稀释和过滤各向同性沥青工序相关的加工步骤、收率损失和废物生成的溶剂分离法。此外,本发明提供了一种避免固体处置和没有超临界流体萃取的高温和加压的液/液萃取法。最后,本发明可以控制中间相产品的硬度。

标签:
固废
其他 - 其他 来源:中冶有色网 2023-03-19
底部进料-向上排气的气化系统

一个固体废料气化系统,包括一个热反应器和用于净化冷却产品气的一个机械气体净化器、一个间接换热冷却器和一个静电沉积器。原料在空气输入总管和喷管上方以向上的方向连续地加入到热反应器的中央段,形成有层次的加料。原料从反应器的中心向上向外运动的同时被分解成粉尘。其中搅拌器保证热的细粒产物和热的气体的接触,导致原料的气化和向热反应器侧壁的净运动,形成粉尘。空气输入喷管用作炉栅。粉尘沿着侧壁下降到反应器底部而被除去。机械净化器有一高速旋转的刷式气体分离部件和刮削器的组合,这一组合从产品气流中除去冷凝的焦油和细粒。这一设备是自行净化的,因为冷凝的焦油和颗粒在高速旋转的硬毛部件上聚集,并在达到足够的体积和质量时,由离心力的作用甩向圆柱形侧壁,于此由刮削器除去累积的物质,累积物落到分离器的底部而被除去。静电沉积器有一个圆柱形刷式电极,由一个绝缘臂悬挂从一端悬出,用于从产品气中除去残余的细粒或气溶胶。

标签:
固废
其他 - 其他 来源:中冶有色网 2023-03-19
从盐水中生产有用化学品的系统

本实用新型公开了一种从盐水中生产有用化学品的系统。该系统包括离子分离单元,用于将输入盐水流分离得到含有单价阴离子的第一盐水流和含有高价阴离子的第二盐水流;与离子分离单元相连接的第一双极膜电渗析单元,用于处理所述第一盐水流的至少一部分得到第一酸溶液和第一碱溶液;以及与离子分离单元相连接的第二结晶单元,用于从所述第二盐水流的至少一部分中结晶出第二固体,该第二固体是工业级盐或非危险废物。

标签:
固废
其他 - 其他 来源:中冶有色网 2023-03-19
改进结构的木制桌椅脚架

本实用新型涉及一种桌椅脚架,由补强板、包覆于补强板外周缘的树脂与木屑糊的凝固体和紧密贴合于凝固体周缘表面的木薄板构成。制作时采用刻有花纹及一定形状的模具,先在模具内放置木薄板,再在模具内放置与脚架同形的补强板,并在模具内补强板周围充填木屑糊,经模具冲压后,木屑层依模具形状被压缩成高密度的脚架并定位补强板,木薄板则紧密贴附于木屑层外。具有结实、便于批量生产、成本低、回收废物及防止蛀虫的优点。

标签:
固废
其他 - 其他 来源:中冶有色网 2023-03-19
从盐水中生产有用化学品的方法和系统

本发明公开了一种从盐水中生产有用化学品的方法。该方法包括将输入盐水流分离得到含有单价阴离子的第一盐水流和含有高价阴离子的第二盐水流,用第一双极膜电渗析单元处理该第一盐水流的至少一部分得到第一酸溶液和第一碱溶液,以及从该第二盐水流的至少一部分中结晶出第二固体,该第二固体是工业级盐或非危险废物。本发明还公开了一种相应的从盐水中生产有用化学品的系统。

标签:
固废
其他 - 其他 来源:中冶有色网 2023-03-19
牙科汞齐过滤器和汞齐法

本发明涉及制备和使用三维聚合物基质,其包括涂布在固体多孔载体上并且嵌入其中的金纳米颗粒,用于从包括牙科流出液的废水中去除水溶性汞种类和微粒汞种类。当用适当的螯合配体冲洗后,固体多孔载体可再生用于重复使用。

标签:
固废
其他 - 其他 来源:中冶有色网 2023-03-19
在车辆排放控制系统中加热含脲材料的方法和装置

本发明涉及利用热能储存材料(320)、例如相变材料中储存的热来加热固体或液体还原材料(902)例如含脲材料以进行NOx选择性催化还原(‘SCR’)的系统和方法。储热可以是来自排放废气的热,例如内燃机的排气(700)。还原材料可以是固体还原材料。其他还原材料包括水溶液,例如含脲和水、基本由脲和水组成、或由脲和水组成的水溶液。在一个方面,所述方法可以包括蒸发脲的水溶液以进行直接脲水解的步骤。

标签:
固废
其他 - 其他 来源:中冶有色网 2023-03-19
致动器杆的密封系统
致动器杆的密封系统 1047     
 0

涡轮增压器使用致动器来控制废气门阀或VTG叶片位置以便控制涡轮机叶轮的动力。此类致动器的多个部件在被暴露在外来液体、固体和杂物中时易遭受损害。为了防止此类进入,在致动器系统中的一个或多个界面处提供了在致动器轴处的套管密封件,这些套管密封件可以提供一个弯曲路径以用于从在致动器套筒内的体积中吸入和排出空气。此类的路径还可以防止所不希望的液体、固体和杂物的进入,这能够影响致动器的性能材料。在一个安排中,在一个套管密封件保持件与另一个致动器部件之间提供了一个弯曲路径。在另一个安排中,在致动器轴与套管密封件的一个端部之间提供了一个弯曲路径。

标签:
固废
其他 - 其他 来源:中冶有色网 2023-03-19
从复合硫化矿沉积物、尾矿、碎矿石或者矿泥中选择性沥滤回收锌

锌和铅通常是同时存在于锌-铅矿及尾矿中。一种无污染的湿法冶金新方法,用于从铅(Pb)锌复合硫化矿、未经处理的碎岩石或者疏松的矿物颗粒、尾矿和/或包含硫化锌的成块或未成块的废矿中选择性沥滤和回收锌(Zn),而不需要冶炼和精炼操作。根据处理的沉积矿或给矿的具体类型,上述方法可以采用原位或异位方式进行。本发明提供了一种用于从含硫化锌的混合物和矿石中选择性沥滤锌的方法及浸出剂复合物,所述浸出剂包括:1)氧化剂,用于将存在的硫只氧化为元素硫,和2)足量的碱金属氢氧化物,以形成可溶的碱金属锌酸盐;延长浸出剂和固体的接触时间,从而在保持有效试剂浓度的同时在浸出液中获得想要的锌回收率和选择性;从残留固体中分离想要的浸出液;以及从浸出液中回收锌。

标签:
固废
其他 - 其他 来源:中冶有色网 2023-03-19
用以防止固定床式反应器中粗煤气波动的方法和装置

用以防止在非均匀原料混合物气化时固定床式反应器内粗煤气波动的方法和装置,所述原料混合物包括含碳的固体燃料和含碳的固体废料。气化在大于20bar的压力下以沉降式气化原料散料作为热自动(补偿)的过程进行。固定床式气化器的装料通过一持续处于反应压力下的储存容器进行,该储存容器配备一受冷却的强制出料装置,它根据效率流量调节地运行,这里根据工艺要求连续或断续地向反应器顶部的空腔内强制排入非均匀原料混合物,其中储存容器不断地由<50℃的冷气体—例如氮气—沿出料口方向强制流过。

标签:
固废
其他 - 其他 来源:中冶有色网 2023-03-19
氧化铝生产过程中沉积红泥的除害方法

氧化铝生产过程中沉积红泥可先通过例如过滤而脱水至其固体含量达到35-60%(重量)。向该物料中添加用量以红泥中固体含量计为5-8%(重量)的按要求而呈熟石灰或生石灰形态的含CaO石灰并充分混合而得粘度大大降低的流态均匀物料混合物,然后即可用此混合物形成稳定的废物堆。

标签:
固废
其他 - 其他 来源:中冶有色网 2023-03-19
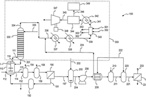
用来通过泥浆的部分氧化产生合成煤气的方法和设备

本发明涉及一种用来使固体燃料如煤和焦炭例如由石煤、褐煤和生物物质制成的焦炭及石油焦炭气化的方法和装置,固体燃料被碾成细粉并用水或油混和成燃料—液体—悬浮液,即所谓的泥浆,它们与含游离氧的氧化剂一起在环境压力和100BAR之间的压力以及1200至1900℃之间的温度下在飞流反应器内通过部分氧化进行气化,此方法由泥浆制造和输入反应器、在一带有冷却的反应腔轮廓的飞流反应器中气化、部分水冷、废热回收以及湿式或干式除尘等工序组成,其中粗煤气这样进行预处理,使它可输送给后续级,如粗煤气转换或脱硫。

标签:
固废
其他 - 其他 来源:中冶有色网 2023-03-19
碳酸盐的提纯方法
碳酸盐的提纯方法 1204     
 0

一种碳酸盐的提纯方法,所述碳酸盐在橡胶废料的热回收过程中产生,包括:将碳酸盐与碳酸氢钠混合,然后,将温度升高的去离子水和强矿物酸和/或矿物酸的混合物引入到所得的混合物中,接着,在升高的温度下搅拌整体,并降压过滤,同时用温度升高的去离子水洗涤,弃去滤液。将强碱溶液引入到固体残渣中,并在温度升高的情况下搅拌整体,然后,将所得悬浮液降压过滤,并用温度升高的去离子水洗涤,弃去滤液,干燥固体残渣。

标签:
固废
其他 - 其他 来源:中冶有色网 2023-03-19
回收化学和机械平整化所用水与浆料研磨剂的方法和设备

一种从含有粉碎的、悬浮固体的含水浆料中回收液体和研磨剂的方法,该法包含至少一个过滤步骤,该步骤用烧结金属膜和/或陶瓷膜并和测量比重或密度方法相连结、物理地浓缩和使研磨剂颗粒从可通过标准工业废物系统处置的液流中分离或回用上清液流的方法。该方法还用于回收固体以回用于其它的、严格性差些的用途中,由此减少或消除抛光工艺的无用的副产物。

标签:
固废
其他 - 其他 来源:中冶有色网 2023-03-19
清洗连续生产羟铵中使用的过滤器的方法

一种以连续过程生产羟铵的方法,该方法包括利用过滤烛回收固体催化剂颗粒的过滤方法,其中清洗所述过滤烛的方法至少包括以下步骤:i)将过滤烛与浓度为0.2-4mol/l的碱溶液在温度40-110℃下接触;ii)然后用功率至少10瓦/升的超声波处理过滤烛至少30秒;和iii)在重新将过滤烛置于过滤区前,清洗过滤烛;iv)从步骤i),ii)或者iii)中获得的废水中回收固体催化剂颗粒。并从回收的催化剂颗粒中回收金属。

标签:
固废
其他 - 其他 来源:中冶有色网 2023-03-19
纯化锂盐的方法
纯化锂盐的方法 1033     
 0

公开了一种用于由废弃锂离子电池组或其部件回收锂的方法。包括以下步骤:A)提供固体形式的粗制氢氧化锂,其含有氟化物;和(B)用低碳醇如甲醇或乙醇溶解粗制氢氧化锂固体的方法以高纯度提供锂的良好分离。

标签:
固废
其他 - 其他 来源:中冶有色网 2023-03-19
湿式脱硫装置及所述湿式脱硫装置的操作方法

提供的是一种湿式脱硫装置及所述湿式脱硫装置的操作方法,在该湿式脱硫装置中,可以操作吸收塔,使得即使在储液单元内部储存的吸收液(废液)的盐浓度较高时,也不沉积固体沉淀物。通过使吸收塔中储存的吸收液与待处理的气体进行气液接触来执行脱硫的湿式脱硫装置的操作方法包括:测量吸收塔中储存的吸收液的盐浓度的步骤;测量吸收液的液体温度的步骤;基于盐浓度和液体温度确定是否加热吸收液的步骤;以及当确定要在处理步骤中加热吸收液时加热到在吸收液的盐浓度下不沉积固体沉淀物的目标温度的步骤。

标签:
固废
其他 - 其他 来源:中冶有色网 2023-03-19
不含乳化剂的消泡剂、其制备方法及用途

本发明涉及不含乳化剂的消泡剂,其通过在没有溶剂存在下混合如下组分而得到:a)80-99重量%至少一种细碎的基本水不溶性惰性固体,和b)1-20重量%至少一种具有消泡作用且在室温下为固体的疏水性有机化合物,该混合在使得具有消泡作用的化合物(b)的粒度降低到平均粒度为0.5-15μm的剪切梯度下进行。本发明还涉及一种由(a)和(b)的混合物制备不含乳化剂的水包油分散体的方法。所述方法包括在至多100℃下将80-99重量%的组分(a)与1-20重量%的组分(b)在没有乳化剂存在下在挤出机或捏合机中以使得组分(b)在该混合物中的平均粒度为0.5-15μm的方式混合并在水中乳化该混合物。本发明另外涉及通过所述方法得到的水包油分散体作为含水的、分散或非分散液体的消泡剂和/或脱气剂的用途,尤其在造纸工业、食品工业和废水处理装置中作为消泡剂和/或脱气剂的用途。

标签:
固废
其他 - 其他 来源:中冶有色网 2023-03-19
上一页 16 17 18 19 20 ... 58 下一页
共58页    到第

中冶有色为您提供最新的其他有色金属固/危废处置技术理论与应用信息,涵盖发明专利、权利要求、说明书、技术领域、背景技术、实用新型内容及具体实施方式等有色技术内容。打造最具专业性的有色金属技术理论与应用平台!

全国热门有色金属设备推荐
展开更多 +
全国热门有色金属技术推荐
展开更多 +

 

江西省隆恩特环保设备有限公司
宣传

报名参会
更多+

报告下载

有色专家
更多+

中南大学
中国工程院院士
任灵宝金源矿业股份有限公司
技术发展部经理
中冶沈勘秦皇岛工程技术有限公司
原矿山院院长/教授级高工
江西省科学院应用化学研究所
副主任/副研究员
北京科技大学、中国科学院
院士
赤泥综合利用研究报告2025
推广

热门技术
更多+

推荐企业
更多+

福建省金龙稀土股份有限公司
宣传

发布

在线客服

公众号

电话

顶部
咨询电话:
010-88793500-807