青岛垚鑫智能科技有限公司
宣传

位置:中冶有色 >

有色技术频道 >

> 废水处理技术

分类:
全部
矿山技术
冶金技术
材料制备及加工技术
环境保护技术
分析检测技术
 
全部
废水处理技术
大气治理技术
固/危废处置技术
土壤修复技术
地区:
全部
北京
天津
上海
重庆
河北
山西
辽宁
吉林
黑龙江
江苏
浙江
安徽
福建
江西
山东
河南
湖北
湖南
广东
海南
四川
贵州
云南
陕西
甘肃
青海
内蒙
广西
西藏
宁夏
新疆
其他
其他
展开
 
全部
其他

其他有色金属废水处理技术理论与应用

免费发布技术信息>>
处理污泥的方法以及除臭方法

本发明涉及一种处理污泥的方法、一种同时对污泥进行除臭和提高脱水效果的方法以及一种除臭的方法。处理污泥的方法包括:提供由废水处理产生的第一污泥,以及以5~15V的电压以及10mA/cm2~80mA/cm2的电流密度对所述第一污泥进行电化学处理,以得到处理后的第二污泥。本发明的方法能够在低能耗的情况下对各种物料(包括污泥)进行除臭,还能同时提高(污泥)脱水效果。

标签:
废水处理
其他 - 其他 来源:中冶有色网 2023-03-19
混合式电极的电容去离子装置

电容去离子装置(CDI)是一种不需使用膜片及化学物质即可发挥净水、废水循环处理及海水淡化等功能的技术。电容去离子装置的关键组件为流通电容器(FTC),因为流通电容器内所形成的静电场可留滞水体中的离子污染物。本发明的流通电容器是由多个单极性电极与多个双极性电极组成且在每一电极上设有多个通孔,其排列图案可使水流产生一定的流速及滞留时间,以达电极最佳使用效率。

标签:
废水处理
其他 - 其他 来源:中冶有色网 2023-03-19
漆酶反应的增强作用
漆酶反应的增强作用 875     
 0

本发明涉及在漆酶或漆酶的相关酶和增强剂的存在下氧化底物的方法,更具体地说本发明涉及在溶液中漂白染料的方法,涉及几种织物一起在洗涤液中洗涤时抑制织物染料由着色织物向另一织物转移的方法,涉及漂白含木质素材料,特别是漂白纸张生产用纸浆的方法,涉及纸浆制造废水的处理方法,以及涉及木质素或含木质素材料的酶聚合和/或改性的方法。

标签:
废水处理
其他 - 其他 来源:中冶有色网 2023-03-19
净化金属的聚合物及其用途

本发明公开了一种包含聚合物的组合物的用途,所述聚合物由至少两种单体:丙烯酸-x和烷基胺衍生得到,其中所述聚合物被改性为包含能够净化含有所公开的一种或多种金属的一种或多种组合物的官能团。这些聚合物在包括废水系统的各种介质中具有多种用途。

标签:
废水处理
其他 - 其他 来源:中冶有色网 2023-03-19
废弃活性污泥磷和镁脱除方法和鸟粪石生产系统

一种用于处理微生物和其形式为一种或多种挥发性脂肪酸(VFA)的易生物降解碳化合物(RBC)的混合物的方法,通过首先诱导混合微生物释放磷和镁,当混合物变浓时,将其排出以产生磷/镁富集液体和磷/镁减少的已处理混合物。该已处理的混合物置于厌氧消化池中,其中形成氨,却混合非常少的磷或镁。然后,高氨混合物进行脱水以产生氨富集液体,其与磷和镁富集液体混合并且反应生成鸟粪石。在一个优选的实施方案中,VFA通过标准的向上流发酵和浓缩(UFAT)过程原位形成,并将其加入废水侧流中,去除其中发现的磷和镁。在另一个优选的实施方案中,获得了有用的鸟粪石产品。

标签:
废水处理
其他 - 其他 来源:中冶有色网 2023-03-19
净水器切换开关阀
净水器切换开关阀 1191     
 0

一种净水器切换开关阀,在阀座上设有入水孔、上进水孔、下出水孔、净水孔及废水孔,阀座各孔间设有球形空间,该球形空间内枢设球形分流阀,球形分流阀设有三组分隔且不相通的容室,在配合转动球形分流阀三段定位时,该三组分隔且不相通的容室可分别具有滤水使用状态、逆洗排放废水状态及测试排放清水状态。另外,配合球形空间及球形分流阀的相对设置,使在逆洗时废水不会流入净水口,且除使容室各流道的体积及孔道大幅扩增而提升水流稳定度外,还具有耐高压、转动顺畅及不易损坏的优点。

标签:
废水处理
其他 - 其他 来源:中冶有色网 2023-03-19
逆渗透膜滤水机
逆渗透膜滤水机 963     
 0

本实用新型公开了一种逆渗透膜滤水机,所述逆渗透膜滤水机包含有本体、设置于本体容置空间内的过滤系统以及设置于本体容置槽内的集水箱,所述本体表面设置有盖体、进水口、废水口及给水口。本实用新型利用抽水装置,使水源通过进水口并输送到过滤系统进行过滤,过滤后的废水由废水口排放到本体外部,过滤完成的水则输送到集水箱内储存,并可通过给水口提供使用者饮用;若使用者欲维护过滤系统时,仅需开启盖体,即可进行过滤系统的维护,从而达到轻易维护的效果;本实用新型将集水箱及过滤系统设置于本体内,可达到节省空间及携带方便的效果。

标签:
废水处理
其他 - 其他 来源:中冶有色网 2023-03-19
电镀厂内的氯化铵循环利用系统

一种电镀厂内的氯化铵循环利用系统,其特征在于包括一含氨废水处理单元、一水洗单元及一浓缩单元。其中含氨废水处理单元设有一第一槽体,用以导入电镀制程的含氨废水,利用加入液碱混合而产生碱化混合液,同时利用散气盘打入外界空气带出氨气(NH3),并将此氨气导入水洗单元。水洗单元内以加入盐酸(HCl)的水滴和氨气接触而产生含氯化铵(NH4Cl)溶液。这些含氯化铵溶液进入浓缩单元后,不断地打回水洗单元与新产生的含氯化铵溶液混合再循环回流到浓缩单元,借此累积溶液中氯化铵的浓度;最后达到预定浓度的溶液送至一成品收集槽,供后续的电镀制程使用。

标签:
废水处理
其他 - 其他 来源:中冶有色网 2023-03-19
废气处理设备
废气处理设备 791     
 0

本实用新型的废气处理设备,由除酸雾槽、第一风车、碱洗模组、第一洗涤塔、第二洗涤塔、第二风车、吸收模组、冷凝器、比重分离器,以及回收槽依次连接构成,碱洗模组由复数碱洗槽连接构成,碱洗模组连接硫氢化钠储存槽,吸收模组由复数装有活性碳的槽体连接构成,回收槽连接二硫化碳储存库,由除酸雾槽、碱洗模组及第一洗涤塔对含有二硫化碳(CS2)和硫化氢(H2S)的废气进行废气碱洗处理流程,接着由第二洗涤塔、吸收模组、冷凝器及比重分离器进行溶剂回收处理流程,使硫氢化钠(NaHS)几乎完全转变成结晶固体,无任何废水需要再二次处理,达到降低碱废水处理成本的目的,以及可有效将碱废水当中的二硫化碳(CS2)回收再利用。

标签:
废水处理
其他 - 其他 来源:中冶有色网 2023-03-19
用于生产聚羟基链烷酸酯的方法

高含量的聚羟基链烷酸酯(PHA)可以由废水生产,所述废水包含易生物降解COD(RBCOD),利用包含能够积聚PHA的微生物的活性污泥,通过在第一时间段内在存在溶解氧的情况下使废水与活性污泥接触,以获得装载有PHA的活性污泥,然后供应生长必需元素(例如氮和磷),并允许这些元素的摄取以及在第二时间段内有限的生长,与步骤a)中供应的RBCOD的量相比,至少一种所述必需元素的供应量将生长限制在不是所有的PHA都用于生长的程度,以获得长成的活性污泥;以及除去或收获部分装载有PHA的活性污泥和/或部分长成的活性污泥,使得污泥的总平均停留时间少于72小时。

标签:
废水处理
其他 - 其他 来源:中冶有色网 2023-03-19
增大接触比表面积的有价金属回收用电解槽

本发明的目的在于提供一种增大接触比表面积的有价金属回收用电解槽,包括:外壳,在后端形成流入口,在前端形成流出口,并具有形成向下倾斜的下部的内部空间;多个阳极,分别设置在外壳的内部,沿宽度分割内部空间;以及多个阴极部,设置在阳极和阳极之间,将相邻阳极和阳极的空间区分成两个电解空间;流到流入口的废水,依次通过多个该电解空间,将有价金属电沉积在阴极部上而回收,通过流出口排出到外部。根据上述本发明的增大接触比表面积的有价金属回收用电解槽,具有以下优点:第一,通过由第二阴极、第一阴极及第三阴极构成并具有填充于其中间空间的阴极金属丝的阴极部,与流入电解槽内的废水接触的比表面积增大,在含有微量有价金属的废水中也能容易将该有价金属电沉积而回收。

标签:
废水处理
其他 - 其他 来源:中冶有色网 2023-03-19
用于锂离子电池的正极材料的生产方法

本发明提供了一种用于生产用于锂离子电池的高容量正极材料的环保方法。用于生产锂混合金属氧化物正极材料的传统方法通常会产生大量废水,其中所述废水必须在排放前进行处理。本方法在与氧化剂的湿化学反应中使用混合金属作为原料,以制备可用于在锂化之后制备高质量正极材料的高质量金属氢氧化物前体。作为关键特征,在前体制备过程中,可将用于湿化学反应的大部分水溶液再循环到反应器中,因而在正极前体材料的生产过程中整个过程几乎没有或没有废水。

标签:
废水处理
其他 - 其他 来源:中冶有色网 2023-03-19
重金属回收装置及其用途

本发明提出一种重金属回收装置及其用途,其可应用于现有的任何一种废水处理系统内。此重金属回收装置于组成上仅包括:盛有电解液的反应槽、至少一导体、一半导体材料、至少一金属还原电极、以及一光源提供单元。使用本发明的重金属回收装置之时,只需将含有重金属离子的废水注入电解液之中,再令光源提供单元产生光束以照射半导体材料。如此操作,由半导体材料内部的电子电洞对所释出的多颗电子与电洞会提供一氧化力与一还原力,使得废水内的重金属离子于该金属还原电极之上还原成为一金属膜。

标签:
废水处理
其他 - 其他 来源:中冶有色网 2023-03-19
用于等离子体诱导的水净化的方法和设备

本发明涉及一种用于净化被至少一种废水成分污染的水的方法,其中所述废水成分具有至少一种化合物,所述化合物的键能低于简单的氢氧键的键能,所述方法包括以下步骤:‑在反应室内在未接地的储水器中提供具有预定的水位的被污染的水;‑在大气压下给刚好一个在预定的距离中设置在储水器的上方的面状地构成的、冷却的等离子体电极加载高频的交流电压,使得在位于所述等离子体电极和所述水的表面之间的高频场中构成等离子体,所述等离子体的能量输入足以使得键能小于或等于简单的氢氧键的键能的化合物解离;‑检测至少一种所述废水成分的浓度。

标签:
废水处理
其他 - 其他 来源:中冶有色网 2023-03-19
胺催化工艺中催化剂水溶液的再循环和处置

本发明涉及含胺废水,尤其在制备甲基丙烯醛的方法中的含胺废水的氧化燃烧,其中通过在热力氧化器中燃烧进行处置。本发明尤其涉及在只有少量氮氧化物生成的情况下含胺废水的氧化燃烧。

标签:
废水处理
其他 - 其他 来源:中冶有色网 2023-03-19
水处理装置以及使用该装置的水处理方法

一种水处理方法,可除去CMP废水中所含的溶胶状微粒以及含氮组分,具体为利用具有凝胶状的第2过滤器的过滤装置(13)进行过滤处理,除去CMP废水中的溶胶状微粒成分。另外通过利用电极(12)进行电化学处理,可以除去CMP废水中的含氮组分。这些过滤处理以及电化学处理,可以使用独立的槽进行,也可以在同一槽中进行。通过在同一槽内进行过滤处理以及电化学处理,可以提供节省空间的水处理装置。

标签:
废水处理
其他 - 其他 来源:中冶有色网 2023-03-19
具磁性的吸附物及该吸附物的制备方法

本发明公开了一种具磁性的吸附物及该吸附物的制备方法,所述吸附物由备料步骤、调和步骤、加热搅拌步骤、搅拌烘干步骤、以及吸附层成型步骤制成,所述吸附物由一载体被一外壳包覆而成,且外壳具有一带有共价键结的胺基官能基的吸附层。本发明使吸附物在反应完成后只需利用外加磁场便可快速回收,借此达到缩短重金属废水处理时间、降低重金属废水处理成本、避免造成污泥处置问题、以及使重金属废水中的有价金属得以回收的目的。

标签:
废水处理
其他 - 其他 来源:中冶有色网 2023-03-19
用于控制气体或化学制剂的系统和方法

用于控制气体或化学制剂的系统和方法。在一个实施方案中,系统包括用于接收废水和氧的充氧器,用来溶解、混合、扩散或浸泡氧到废水中,以及构造成增加充氧器中的流速和/或废水中的溶解氧水平的再循环机构。

标签:
废水处理
其他 - 其他 来源:中冶有色网 2023-03-19
用于处理硝化废料的亚临界部分氧化

一种用于利用氧化性亚临界条件处理包含硝基-羟基-芳香族化合物的废水的方法。将待处理的废水调节到包含相当于多于三摩尔的游离氢氧化物/摩尔总硝基-羟基-芳香族化合物的过量氢氧化物,并且向所述废水供给亚化学计量量的氧化剂。所述硝基-羟基-芳香族化合物可包括硝基-苯酚盐或硝基-甲酚盐。

标签:
废水处理
其他 - 其他 来源:中冶有色网 2023-03-19
用于回收核电站的排放能量的冷凝系统

本发明涉及原子能技术,更具体地,涉及用于回收核电站排放能量的系统,并且旨在通过回收湿的高温蒸汽来回收核电站排放通道的水的热能来提供获得淡水的过程的高生产率,以及旨在提高来自核电厂的热的利用系数并减少废水对环境的不利影响。一种用于回收核电厂排放能量的冷凝系统,包括核电机组、进气装置、压缩机、冷凝器、装有喷水器的水室、电流发生器、纯水泵站、冷却水泵站、次级冷凝物池和涡轮膨胀机。进气装置连接到压缩机,压缩机连接到冷凝器,冷凝器连接到涡轮膨胀机,涡轮膨胀机由电流发生器供电并连接到水室,水室连接到次级冷凝物池,次级冷凝物池连接到纯水泵站,冷凝器连接到冷却水泵站,其中进气装置容纳在废水通道中,废水通道连接到核电机组并配备有密封盖。

标签:
废水处理
其他 - 其他 来源:中冶有色网 2023-03-19
自絮凝分离媒介质物和方法

本发明揭示了一种用于从废水中絮凝并分离出固体颗粒的混合的絮凝澄清媒介物,该媒介物是固体过滤用或聚集用颗粒和干燥的絮凝剂的混合物,它能有效地将废水中的固体颗粒与过滤用或聚集用颗粒絮凝起来形成较大较重的聚集体,而形成的聚集体从废水中过滤或重力沉降分离出去。较好的过滤用和聚集用颗粒是硅质颗粒,如谷糠灰、硅藻土和珍珠岩。絮凝澄清媒介物可以是可燃的,或者可以将聚集的固体颗粒化学固定在硅质胶泥中,固体颗粒可以包括硅质胶泥中的重金属颗粒。

标签:
废水处理
其他 - 其他 来源:中冶有色网 2023-03-19
使用嗜盐微生物从高盐环境中降解苯胺

本发明涉及降低高盐废水的苯胺含量的方法,所述方法包括以下步骤:(a)提供包含高盐废水和苯胺的组合物A,(b)使组合物A与至少一种嗜盐微生物菌株的细胞接触,从而产生包含所述组合物A和所述至少一种嗜盐微生物菌株的细胞的组合物B。本发明还涉及制备氯和氢氧化钠的方法。本发明进一步包括一种组合物,其包含高盐废水、苯胺和至少一种嗜盐微生物菌株的细胞。

标签:
废水处理
其他 - 其他 来源:中冶有色网 2023-03-19
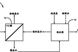
渗透水传输系统和相关方法

本发明公开了正渗透水传输系统,其使水从输入的废水流再循环到输出的稀工艺盐水流中。该系统包括饱和盐水流,其第一部分被转移而形成饱和工艺盐水流,且其第二部分被转移到至少一个正渗透膜。所述至少一个正渗透膜使水从输入的废水流移入输入的被转移的饱和盐水流中,由此产生输出的浓缩废水流和输出的稀工艺盐水流。

标签:
废水处理
其他 - 其他 来源:中冶有色网 2023-03-19
二酯基组合物的制备系统和制备方法

本发明涉及一种二酯基组合物的制备系统和制备方法。将反应原料第一醇添加到废水中作为萃取剂,第一醇是反应原料,进行层分离以将废水中的第二醇分离出来,第二醇是另一反应原料。因此,可以减少作为废水排出的醇的量,并且可以进行环保的生产工艺操作。此外,将分离出的醇再次用作反应原料是经济和高效的。

标签:
废水处理
其他 - 其他 来源:中冶有色网 2023-03-19
序批式反应器系统和方法

公开了用序批式反应器处理废水的方法。该方法包括确定废水的预期流量,以及响应于该预期流量以连续流动模式独立地操作一个或更多个反应器。还公开了序批式反应器系统。该系统包括多个并行操作的反应器、加载子系统、测量子系统和控制器。控制器可以被配置成响应于预期流量以间歇流动模式或以连续流动模式独立地操作每个反应器。还公开了改造现有的序批式反应器系统的方法和用序批式反应器系统促进废水的处理的方法。

标签:
废水处理
其他 - 其他 来源:中冶有色网 2023-03-19
辉光放电等离子水处理装置

本发明涉及一种辉光放电等离子水处理装置,包括变压器、壳体、通气管、水流管、石英玻璃管及电极;所述通气管、水流管及石英玻璃管分别设置在所述壳体上;所述通气管用于往所述水流管中通入空气;所述石英玻璃管贯穿过所述水流管;所述电极置于所述石英玻璃管内;所述电极连接所述变压器的阳极;所述水流管壁连接所述变压器的阴极。本发明的装置的电极和水流管之间产生辉光放电等离子体。废水不断的从水流管内流过,废水中的有机物被等离子体氧化后变成净水流出。其氧化速度快,处理废水完全彻底;效率高,耗电低;反应过程连续化和绿色化。

标签:
废水处理
其他 - 其他 来源:中冶有色网 2023-03-19
具有内部固体分离的曝气反应器

将废水在包括以下的方法中进行好氧处理:(a)将包含废水的液体流入物供应到含有颗粒状生物质的反应器中;(b)使反应混合物经受好氧条件,该好氧条件包括0.1mg/L至4.0mg/L范围内的溶解氧的浓度和0.5至72小时范围内的水力停留时间;(c)将反应混合物分离成颗粒状生物质和经处理的废水;和(d)将分离的颗粒状生物质再循环到反应混合物中。用于该方法的生物反应器包括配备有曝气装置的反应容器和固体分离设备,固体分离设备的入口在反应容器的下部,固体分离设备具有用于固体的出口管线,该出口管线被设置为将分离的固体输送至上升器,该上升器由气升作用驱动并设置为将固体输送至反应室的上部。

标签:
废水处理
其他 - 其他 来源:中冶有色网 2023-03-19
采用高能效的气化设备-相关工艺方案的高能效基于气化的多联产装置以及相关的方法

本发明提供了基于气化的高能效多联产装置、设施或系统,以及改变现有的基于气化的多联产装置和各种常规的热偶联布置的方法。示例性的基于气化的多联产装置包括:气化系统,其被构造为由碳基原料产生粗合成气进料。该气化系统包括气化设备或设施、包括酸性水汽提塔的酸性水汽提设备或设施,气化反应器和气化系统能量管理系统。该气化系统能量管理系统包括第三气化系统工艺‑工艺热交换器单元,其被设置为接收来自酸性水汽提塔的塔底废水流并接收进入气化反应器的氧气进料的至少一部分,从而为进入气化反应器的氧气进料的至少一部分提供热能,并冷却来自酸性水汽提塔的塔底废水流。该酸性水汽提设备或设施至少通过来自所述酸性水汽提塔的所述塔底废水流与所述气化设备或设施一体化。

标签:
废水处理
其他 - 其他 来源:中冶有色网 2023-03-19
结合过滤、吸附、杀菌功能的模块化水处理过滤装置

本发明提供一种结合过滤、吸附、杀菌功能的模块化水处理过滤装置。本发明一实施例的结合过滤、吸附、杀菌功能的模块化水处理过滤装置可包括:外壳部,包括模块板、预处理模块、第一后处理模块、第二后处理模块以及第三后处理模块;进水管,设置于预处理模块的下部;清洁筛,用于过滤通过进水管流入预处理模块的雨水或各种废水中所包含的大颗粒异物;微过滤器,用于过滤通过清洁筛后从预处理模块流入第一后处理模块的雨水或各种废水中所包含的小颗粒异物;过滤部,用于消除通过微过滤器后从第一后处理模块流入第二后处理模块的雨水或各种废水的异味并改善色度及浊度;紫外线灯,配置于第三后处理模块的内部;以及排出管,设置于第三后处理模块。

标签:
废水处理
其他 - 其他 来源:中冶有色网 2023-03-19
在化学纸浆厂处理液流的方法和系统

本发明涉及一种在化学纸浆厂处理液流的方法。该系统包括用于生产纸浆的煮制过程,至少一个用于洗涤所述纸浆的洗涤阶段,至少一个用于漂白所述经过洗涤的纸浆的漂白阶段,包括至少一个纯化阶段以纯化流出物的废水处理设施,包括至少一个纯化阶段的原水处理设施,该方法包括将包含部分来自废水处理设施(40)的纯化的流出物(45)和/或部分工艺用水(35)的液流输送到所述原水处理设施(20)的至少一个纯化阶段中,用于在所述原水处理设施(20)的至少一个纯化装置中纯化所述液流,以得到可再循环水(29),使用所述可再循环水作为纸浆厂至少一个工艺过程和/或处理阶段中的工艺用水。另外,本发明涉及用于在化学纸浆厂处理液流的系统,以及化学纸浆厂中原水处理设施的以下应用,用于纯化工艺用水和/或纯化来自废水处理设施的流出物。

标签:
废水处理
其他 - 其他 来源:中冶有色网 2023-03-19
上一页 16 17 18 19 20 ... 58 下一页
共58页    到第

中冶有色为您提供最新的其他有色金属废水处理技术理论与应用信息,涵盖发明专利、权利要求、说明书、技术领域、背景技术、实用新型内容及具体实施方式等有色技术内容。打造最具专业性的有色金属技术理论与应用平台!

全国热门有色金属设备推荐
展开更多 +
全国热门有色金属技术推荐
展开更多 +

 

江西省隆恩特环保设备有限公司
宣传

报名参会
更多+

报告下载

有色专家
更多+

中国科学院赣江创新研究院
院长
蒙纳士苏州校区
中国工程院外籍院士/校长
南方科技大学
外籍院士
北京科技大学
教授
昆明理工大学
教授
赤泥综合利用研究报告2025
推广

热门技术
更多+

推荐企业
更多+

福建省金龙稀土股份有限公司
宣传

发布

在线客服

公众号

电话

顶部
咨询电话:
010-88793500-807