青岛垚鑫智能科技有限公司
宣传

位置:北方有色 >

有色技术频道 >

分类:
全部
矿山技术
冶金技术
材料制备及加工技术
环境保护技术
分析检测技术
 
全部
功能材料技术
复合材料技术
新能源材料技术
合金材料技术
加工技术
地区:
全部
北京
天津
上海
重庆
河北
山西
辽宁
吉林
黑龙江
江苏
浙江
安徽
福建
江西
山东
河南
湖北
湖南
广东
海南
四川
贵州
云南
陕西
甘肃
青海
内蒙
广西
西藏
宁夏
新疆
其他
其他
展开
 
全部
广州
韶关
深圳
珠海
汕头
佛山
江门
湛江
茂名
肇庆
惠州
梅州
汕尾
河源
阳江
清远
东莞
中山
潮州
揭阳
云浮

广东惠州有色金属材料制备及加工技术理论与应用

免费发布技术信息>>
通讯基站用供电装置
通讯基站用供电装置 1043     
 0

本实用新型涉及通讯基站供电装置相关技术领域,具体公开了一种通讯基站用供电装置,包括供电电源,每个所述供电电源包括箱体以及设于箱体内的电池,所述电池上设有充电口和放电口,所述放电口连接于通讯基站;所述电池为磷酸铁锂电池。本实用新型通过设置便携式的箱体,并将磷酸铁锂电池作为电池对通讯基站进行供电,能够满足通讯基站的用电需求,且替代了传统的汽油发电机或柴油发电机给通讯基站供电,具有便于携带、可循环利用、低成本、无噪音、绿色环保等优点。

标签:
加工技术
广东 - 惠州 来源:北方有色网 2023-03-18
保温瓶
保温瓶 793     
 0

本实用新型公开了一种保温瓶,包括瓶身、内胆和瓶盖,所述瓶身和内胆之间为真空态,所述瓶盖通过螺旋连接在瓶身的上端开口处,所述瓶身底部设置有底座,所述底座内部设置有锂电池,所述瓶身外侧包裹有太阳能光电池,所述内胆的底部与瓶身内部底面之间设置有套筒,所述内胆内部底面设置有凸起,所述凸起内部设置有温控开关,所述内胆内壁夹层内部设置有石墨烯发热膜,所述套筒内部设置有导线匝,所述温控开关和石墨烯发热膜通过导线匝电性连接锂电池,所述瓶身外侧设置有保温开关。该种保温瓶,利用太阳能供电,石墨烯发热膜通电对瓶内液体进行加热保温,实现长久有效的保温。

标签:
加工技术
广东 - 惠州 来源:北方有色网 2023-03-18
移动式电香薰机
移动式电香薰机 769     
 0

本实用新型涉及香薰设备技术领域,尤其涉及一种移动式电香薰机,包括底座和炉罩,所述底座的壳内部设有锂电池,所述锂电池的左侧通过导线电性连接有控制电路板,所述底座的壳体上设有开关,所述开关的下方设有指示灯,所述底座的壳体上设有USB接口,所述底座的外壁上镜像对称设有两个第一快速连接装置外壳,所述炉罩外壁上镜像对称设有第二快速连接装置外壳,所述底座的顶部设有垫片,所述垫片的顶部设有铝基板,该装置设计合理结构简单,不仅实现了快速安装拆卸,还提升了热传导效率和增加了香薰机的稳定性,适合推广。

标签:
加工技术
广东 - 惠州 来源:北方有色网 2023-03-18
具有安全冷却装置的电源

本实用新型公开了一种具有安全冷却装置的电源,包括若干单体锂电池组成的电池模组,所述电池模组外包装有冷却箱,所述冷却箱包括上盖、前、后侧板、左、右侧板以及底板,所述前、后侧板和左、右侧板内表面分别开有S形迂回管槽,有冷却管嵌装在管槽内,且前、后侧板和左、右侧板上的冷却管相连通,所述冷却管与电池模组表面紧贴,所述底板为中空结构,在底板上设有若干平行排列的中空立板,所述中空立板内部与底板内部相通,所述单体锂电池表面与中空立板紧贴。本实用新型结构合理、使用稳定且安全性能高,是一种广泛应用于电能上的具有安全冷却装置的电源。

标签:
加工技术
广东 - 惠州 来源:北方有色网 2023-03-18
测量浆料性能一致性的装置

本实用新型涉及软包装锂离子电池制造技术领域,具体涉及锂离子电池浆料一致性的测试装置。一种测量浆料性能一致性的装置,包括用于容纳浆料的池体,池体上开有浆料注入口和浆料溢出口,池体内壁上还安装有可测量浆料阻抗值的阻抗测试接触块,所述阻抗测试块与外部阻抗测试设备相连接。测试时浆料从浆料注入口注入,从浆料溢出口,在浆料经过池体的时候,阻抗测试仪在持续不断的测试着浆料的阻抗,然后通过分析数据的一致性,即可推断出浆料的一致性。本实用新型结构简单,操作方便,测量结果可用性强。

标签:
加工技术
广东 - 惠州 来源:北方有色网 2023-03-18
用于电池模组内电芯电性能测试的设备

一种用于电池模组内电芯电性能测试的设备,包括固定底座、横梁、第一螺杆机构以及对称设置的机械臂,所述横梁架设于所述固定底座上,所述第一螺杆机构设于所述横梁的两端,所述机械臂分别设于所述第一螺杆机构上,所述机械臂包括采集组件、水平导轨和第二螺杆机构,所述水平导轨设于所述机械臂相对置一侧,所述第二螺杆机构滑设于所述水平导轨上,所述采集组件包括测试针、链条、磁吸金属板以及移动底座。本实用新型能够同时测试电压和内阻的测试装置,提升测试效率,同时根据锂电池的使用模式,测试锂电池的直流阻抗,满足对电芯性能深度检测,保证电芯的安全性,适用性强,易于推广。

标签:
加工技术
广东 - 惠州 来源:北方有色网 2023-03-18
便携式臭氧消毒仪
便携式臭氧消毒仪 1046     
 0

本实用新型涉及臭氧消毒技术领域,尤其为一种便携式臭氧消毒仪,包括臭氧消毒仪主体、充电锂电池和臭氧释放器以及控制线路板,所述臭氧消毒仪主体的基面从上至箱依次设有指示灯透光窗与铭牌标识,所述臭氧消毒仪主体的顶部开设有臭氧出口,所述臭氧消毒仪主体的底端设有充电接口,所述臭氧消毒仪主体的内部底端安装有充电锂电池,整体臭氧消毒仪主体结构简单,体积小巧,方便携带使用,可根据实际应用情况调节臭氧的释放时间,起到杀菌、杀毒、除甲醛、除雾、除腥、除臭等作用,便于应用在汽车、冰箱、洗衣机、衣柜、家具、办公室、公共场所较小空间,适用性广且稳定性和实用性较高,具有一定的推广价值。

标签:
加工技术
广东 - 惠州 来源:北方有色网 2023-03-18
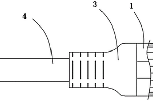
植保无人机充电端母插头连接线

本实用新型属于无人机技术领域,尤其为一种植保无人机充电端母插头连接线,包括连接器,所述连接器内设有三个五金端子,所述连接器的外侧固定套设有防护块,所述连接器的一侧固定安装有连接线,三个所述五金端子均与连接线相连接,所述防护块套设在连接线外侧,且所述防护块与连接线的外侧固定连接。本实用新型设计合理,使用方便,方便了对锂电池的拆装,从而也保证了锂电池与无人机的稳定连接。

标签:
加工技术
广东 - 惠州 来源:北方有色网 2023-03-18
移动电源的充电电路
移动电源的充电电路 789     
 0

本实用新型公开了一种移动电源的充电电路,包括控制单元、锂电池单元、充电管理单元、MICRO?USB充电单元、DC充电单元及充电选择单元,所述锂电池单元、充电管理单元分别与控制单元连接,所述MICRO?USB充电单元及DC充电单元分别与充电选择单元连接,充电选择单元还与充电管理单元连接。MICRO?USB充电单元可通过电源适配器对移动电源正常充电;DC充电单元可通过电源适配器对移动电源实现快速充电,并通过充电选择单元对充电方式进行选择,使用灵活,且对移动电源实现快速充电可减少使用者等待的时间,兼容普通充电模式和快速充电模式,使移动电源的使用更加方便。

标签:
加工技术
广东 - 惠州 来源:北方有色网 2023-03-18
带声控装置的灭火器
带声控装置的灭火器 779     
 0

本实用新型提供一种带声控装置的灭火器,包括灭火器瓶体,在所述灭火器瓶体上固定有外壳,在所述外壳上设置有LED灯、声控装置、电源开关以及锂电池,所述LED灯串联声控装置与锂电池;所述声控装置与电源开关为并联连接;所述外壳通过螺丝铆钉固定在所述灭火器瓶体上。本实用新型的有益效果:在发生火灾时,当人喊叫救火,本实用新型提供的带声控装置的灭火器LED灯发光,这可以让人快速找到灭火器进行初步灭火。在突然断电且漆黑一片情况下,本实用新型不但为快速找到灭火器提供指引,而且人们还可以使用本实用新型提供的灭火器作为照明工具来帮助逃生。

标签:
加工技术
广东 - 惠州 来源:北方有色网 2023-03-18
气体导出装置、气体导出系统及软包电池

本实用新型涉及锂电池领域,具体涉及一种气体导出装置、气体导出系统及软包电池;所述气体导出装置包括导气管以及设置在导气管一端部的气体单向阀,所述导气管包括管体和热封层,所述热封层设置在所述管体的外部;本实用新型通过设计一种气体导出装置,及时将锂电池在化成过程中产生的气体通过导气管排出,无需通过增加气袋长度来存储更多气体,就能够使得电池气袋不再鼓胀,使得电芯主体面在热压后更加平整,不仅有效提高了电池封装质量,还使得生产成本大大降低;并且,在现有工艺流程以及生产设备的基础上,无需大改造即可简单实现,进一步减少生产成本。

标签:
加工技术
广东 - 惠州 来源:北方有色网 2023-03-18
浆料去除组件及系统
浆料去除组件及系统 950     
 0

本实用新型属于锂离子电池技术领域,尤其涉及一种浆料去除组件,包括可上下移动的气嘴,所述气嘴包括并列设置的第一正压腔体、负压腔体和第二正压腔体,所述第一正压腔体的底部和所述第二正压腔体的底部分别设置有正压缝,所述负压腔体的底部设置有负压孔。本实用新型提供的浆料去除组件,与现在锂离子电池涂布工序契合度高,只需增加气嘴,气嘴包括互不连通的正压缝和负压孔,通过正压缝使预备空箔区表面的浆料聚集,通过负压孔抽吸预备空箔区表面聚集的浆料,得到空箔区,即可实现正负极片中间预留焊接槽位结构的极片的涂布。

标签:
加工技术
广东 - 惠州 来源:北方有色网 2023-03-18
具有防过充保护功能的LED调光电路

本实用新型提供一种具有防过充保护功能的LED调光电路,LED触控调光芯片的电源正极端连接充电芯片的电池连接端,电池连接端连接锂电池充电保护芯片的电源输入端;LED触控调光芯片的电源正极端分别连接第一和第二发光二极管后连接第一和第二三极管的集电极,第一和第二三极管的基极分别连接LED触控调光芯片的PWM输出端与第一选项输入端;LED触控调光芯片的触摸输入端连接触摸开关;锂电池充电保护芯片的OC、OD端分别连接两个MOS管芯片的第一栅极和第二栅极。本实用新型实现通过触摸控制第一发光二极管和第二发光二极管的亮灭次序,使得LED调光电路具有电池温度检测、欠压闭锁、自动再充电和指示充电与结束状态的效果,还具备防过充电和防过放电的技术效果。

标签:
加工技术
广东 - 惠州 来源:北方有色网 2023-03-18
加面垫装置及包含该加面垫装置的碰底加面垫滚槽涂胶机

加面垫装置及包含该加面垫装置的碰底加面垫滚槽涂胶机,用于对成卷的面垫进行放卷、冲压及收卷。同时还提供一种包括上述加面垫装置的碰底加面垫滚槽涂胶机。卷绕部包括下料盘及收料盘,冲压部包括冲压气缸及冲压模,张紧部包括张紧轮、导向轮及压紧轮,张紧部还包括固定块、滑动块及引导柱,固定块固设于横梁上,引导柱与固定块连接,张紧轮转动设于滑动块上。面垫依次卷绕于下料盘、张紧轮、导向轮、冲压模、压紧轮及收料盘,加面垫装置还包括夹紧块及调节螺丝,夹紧块固定夹持于横梁上,调节螺丝依次穿设于夹紧块及冲压部。通过在碰底加面垫滚槽涂胶机上设置加面垫装置,确保了面垫准确粘贴于锂离子电池的端面上,防止不合格品的出现,提高了锂离子电池的生产合格率。

标签:
加工技术
广东 - 惠州 来源:北方有色网 2023-03-18
后备电源管理装置
后备电源管理装置 736     
 0

本实用新型公开了一种后备电源管理装置,包括电源输出插座S2,与插座S2相联的后备电源工作回路,充电输入插座S3,与插座S3和电池相联的后备电池保护电路,后备电源工作回路与一实现脉冲宽度调制的主控MCU及电量显示电路联接,主控MCU还与一电源管理电路联接,所述的电源管理电路与插座S2、S3联接。本实用新型提供一种基于双脉冲宽度调制PWM控制的、实现恒流恒压、电池电量显示、自耗电低、安全可靠、效率高、寿命长、性价比高的后备电源管理装置;该装置通过对单节锂电池电压升压到适当电压给用电器供电或者通过用电器(带充电管理电路)给用电器的主电池充电,也可直接给锂电池充电。

标签:
加工技术
广东 - 惠州 来源:北方有色网 2023-03-18
有效防盗的伞头
有效防盗的伞头 896     
 0

本实用新型公开了一种有效防盗的伞头,包括伞头主体、伞轴、滑轴和LED显示屏,所述伞头主体正面的顶端安装有LED显示屏,且LED显示屏底端的伞头主体正面安装有操作按钮,所述伞头主体底端的右侧安装有电源接口,所述伞头主体内部的底端安装有锂电池,且锂电池顶端的伞头主体内部安装有单片机,所述单片机顶端的伞头主体内部横向安装有安装板,且安装板的顶端安装有伞轴,且伞轴远离安装板的一端穿过伞头主体顶端延伸至伞头主体外侧。该有效防盗的伞头避免了雨伞被小偷偷走和被错拿现象的发生,同时可提升夜间行走的安全性,可通过吸盘将雨伞吸附于一侧,同时用户可通过USB接口给手机等具有USB接口的设备进行充电,进一步提升了伞头的功能性。

标签:
加工技术
广东 - 惠州 来源:北方有色网 2023-03-18
车载电源连接结构
车载电源连接结构 1104     
 0

本实用新型公开了一种车载电源连接结构,包括用于安置电池的塑胶电池盒,塑胶电池盒内安装有锂离子电池,在塑胶电池盒上端设有上盖,上盖与塑胶电池盒之间为可拆卸固定连接,在锂离子电池端部连接有电线,电线的另一端连接有扣位连接器,扣位连接器包括公端连接器、线束连接器,以及用于固定连接两者的塑胶盒内扣器,该连接结构,不仅能使装配简单化,而且也能将公端连接器牢固地固定在塑胶盒内,在行车过程,即使汽车震动也不会影响到电线对电池的连接。另外,在电线反复插拔的过程中,公端连接器不会被压塌,或者被拉出,可以很好地避免线对线连接在车内晃动或者松脱。这种连接结构,整体的结构简单,安装便捷,安全性高,稳定性好。

标签:
加工技术
广东 - 惠州 来源:北方有色网 2023-03-18
圆形双面机顶灯
圆形双面机顶灯 1104     
 0

本实用新型公开了一种圆形双面机顶灯,涉及机顶灯技术领域。本实用新型包括机顶灯,机顶灯的内部固定安装有控制板,机顶灯的内部安装有锂电池,锂电池与控制板电性连接,机顶灯的一侧面安装有插件灯珠,机顶灯的另一侧面安装有贴片灯珠,机顶灯表面安装有电源开关。本实用新型通过冷靴云台可以方便将机顶灯安装在照相机上合适的位置,机顶灯一面安装有贴片灯珠另一面安装插件灯珠,以此可以做到机顶灯的双面都可以发光,其中一面为常规双色补光灯(即插件灯珠),具有高亮度及高显指的特点,另一面为场景RGB灯(即贴片灯珠),具有APP控制,可以适应不同的环境。

标签:
加工技术
广东 - 惠州 来源:北方有色网 2023-03-18
软包方形电池电极结构、电池及电子设备

本实用新型公开一种软包方形电池电极结构,涉及软包电池技术领域,改善了相关技术中卷绕式锂离子电池电极结构的缺陷和叠片式锂离子电池电极结构的缺陷的技术问题。在本结构中,正极片沿一长边侧设有间隔分布的多个正极空箔区,负极片沿一长边侧设有间隔分布的多个负极空箔区,正极片、隔膜和负极片依序卷绕形成卷芯,正极空箔区和负极空箔区位于卷芯的同一侧,所有正极空箔区层叠设置并形成正极空箔熔合区,所有负极空箔区层叠设置并形成负极空箔熔合区,正极空箔熔合区和负极空箔熔合区错开设置。本结构综合了卷绕和叠片的优势,从电芯的同端出极耳,既具有卷绕型电池的高生产效率和较好的产品一致性,又能达到叠片型电池的高功率输出性能。

标签:
加工技术
广东 - 惠州 来源:北方有色网 2023-03-18
AGV小车控制系统、AGV小车的运行控制方法及运行控制装置

本发明公开了一种AGV小车控制系统、AGV小车的运行控制方法、运行控制装置及计算机可读存储介质,AGV小车控制系统包括底层控制板卡、惯性传感器、超声波传感器、锂电池模块、充电桩通讯模块和交换机;通过惯性传感器可以检测AGV小车移动的速度、加速度和角偏移速度,通过超声波传感器测量AGV小车周边物体的位置,更准确地控制AGV小车的运行;可以检测锂电池模块的实时状态,控制AGV小车回到充电桩进行充电,以及获取AGV小车的充电状态信息,提高AGV小车小车的工作可靠性;通过交换机实现外部数据传输和外部设备通讯,数据的计算可以放到外部设备处理,优化了AGV小车控制系统的控制逻辑,提高AGV小车的处理能力,提高底层控制板卡的响应速度。

标签:
加工技术
广东 - 惠州 来源:北方有色网 2023-03-18
电解液及其制备方法和应用

本发明涉及一种电解液及其制备方法和应用,所述电解液包括电解质盐、有机溶剂、碳酸酯类添加剂、锂盐添加剂、含硫添加剂和添加剂A;所述添加剂A的结构如式Ⅰ所示,其中,X选自C2‑C10烯基、C2‑C10炔基、C2‑C10腈基或‑R‑CNO‑中的任意一种;其中,所述R为C1‑C10烷基。本发明所述电解液中通过具有双功能作用的添加剂A与碳酸酯类添加剂、锂盐类添加剂、含硫添加剂的配合使用,在保证电池体系高温循环性能有所提升的基础上,有效抑制了电解液酸度上升,解决了高电压体系释氧带来的高温性能恶化。

标签:
加工技术
广东 - 惠州 来源:北方有色网 2023-03-18
软包方形电池电极结构、电池、电子设备及制备工艺

本发明公开一种软包方形电池电极结构,涉及软包电池技术领域,改善了相关技术中卷绕式锂离子电池电极结构的缺陷和叠片式锂离子电池电极结构的缺陷的技术问题。在本结构中,正极片沿一长边侧设有间隔分布的多个正极空箔区,负极片沿一长边侧设有间隔分布的多个负极空箔区,正极片、隔膜和负极片依序卷绕形成卷芯,正极空箔区和负极空箔区位于卷芯的同一侧,所有正极空箔区层叠设置并形成正极空箔熔合区,所有负极空箔区层叠设置并形成负极空箔熔合区,正极空箔熔合区和负极空箔熔合区错开设置。本结构综合了卷绕和叠片的优势,从电芯的同端出极耳,既具有卷绕型电池的高生产效率和较好的产品一致性,又能达到叠片型电池的高功率输出性能。

标签:
加工技术
广东 - 惠州 来源:北方有色网 2023-03-18
导电炭黑的预处理方法及其用途

本发明涉及一种导电炭黑的预处理方法及其用途,所述方法包括将导电炭黑在功率为500‑1000W的气氛等离子体条件下进行预处理,进而得到经预处理的导电炭黑;所述经预处理的导电炭黑相较于未经预处理的导电炭黑,其更易与粘结剂混合,从而提高了粘结剂与导电炭黑的混合均匀程度,同时缩短了导电炭黑与粘结剂混合均匀所需的时间,提高了锂电池极片的制备效率;使用本发明所述经预处理的导电炭黑制备得到锂电池极片的掉粉率<0.8%,2mA恒流放电容量偏差在±3.2%以内。

标签:
加工技术
广东 - 惠州 来源:北方有色网 2023-03-18
基于温度和充电功率的快速充电方法

一种应用于磷酸铁锂电池组的快速充电中的控制温度和充电功率的快速充电方法,通过将电池温度划分为几个区间,不同的温度范围内,电池管理系统控制充电机输出不同的功率来给使电池组以适当的电流充电,并且用加热器在低于设定温度的时候加热,温差大于设定温度的时候风机降温来保证磷酸铁锂电池组在允许温度范围内充电。本发明的有益效果是:本发明的有益效果是:1、综合考虑了温度对电池的影响,提高了动力电池的充电量,延长了其使用寿命。2、提高了电池的安全性,电池在高温时用风机降温,低温时用加热器加热,保证电池工作在合适的温度范围内,提高了电池的使用安全性。

标签:
加工技术
广东 - 惠州 来源:北方有色网 2023-03-18
便携式空气净化器
便携式空气净化器 1189     
 0

本实用新型涉及空气净化技术领域,特别是涉及一种便携式空气净化器,包括空气过滤装置、空气输出装置、气密连接所述空气过滤装置和空气输出装置的输气管、与空气输出装置的两端活动连接的悬挂绳;所述空气过滤装置设有进气口、空气泵、至少一层过滤部件、出气口、锂电池、开关,所述空气泵将外部空气泵入进气口,所述外部空气经所述过滤部件过滤后从出气口输出净化后的空气至输气管,所述锂电池与空气泵电连接,用于为空气泵供电;所述空气输出装置为一条弧形管,所述弧形管向内凹陷的一侧设有出气孔。本实用新型通过在用户的口鼻处及口鼻下方形成净化后的空气流,使得用户吸入的空气为净化后的空气,具有体积小、重量轻、便于携带的特点。

标签:
加工技术
广东 - 惠州 来源:北方有色网 2023-03-18
电解液及其电化学装置
电解液及其电化学装置 1227     
 0

本发明属于电化学装置技术领域,尤其涉及一种电解液,包括非水有机溶剂、锂盐和添加剂,所添加剂包括常规添加剂、多功能型添加剂和缚酸剂;所述多功能型添加剂为具有结构式1所示结构的化合物,其中R1、R2为碳个数1~6的烷基、烷烃酮基或卤代烷基;R3、R4为氢、烷烃、烷烃酮基或噻唑环;所述缚酸剂为叔胺化合物。另外,本发明还涉及一种电化学装置,包括所述电解液。相比于现有技术,本发明可减少电解液在长期循环中的消耗量,显著增加电化学装置在高电压下的长循环性能。

标签:
加工技术
广东 - 惠州 来源:北方有色网 2023-03-18
航空用高温润滑脂及生产方法

本发明公开了一种航空用高温润滑脂,包括复合锂稠化剂、合成基础油,还包括有摩擦改进剂、抗氧剂、极压机和防锈剂,其组分的质量百分为:合成基础油:75~92%;复合锂稠化剂:4~25%;摩擦改进剂:1.5~5.0%;抗氧剂:1.5~3%;极压剂:0.3~3.0%;防锈剂:0.6~2.5%。本发明的润滑脂不含有聚四氟乙烯,对发动机轴承等部件表面磨损小;本发明各个组分之间相互作用后得到的润滑脂各项性能较好且稳定,与航空润滑油具有良好相容性,使用时不会使航空润滑油变浑浊、起泡沫,并且不会堵塞航空润滑油循环系统的过滤器。

标签:
加工技术
广东 - 惠州 来源:北方有色网 2023-03-18
凝胶类电解质及其制备方法和应用

本发明提供一种凝胶类电解质及其制备方法和应用,所述凝胶类电解质包括酯类有机物溶剂、陶瓷氧化物和锂盐的组合;所述陶瓷氧化物的粒径D50为0.02~1μm;所述凝胶类电解质通过添加粒径D50为0.02~1μm的陶瓷氧化物,搭配酯类有机物溶剂和锂盐,使得电解质应用于电池时与电池的正负极材料接触更好,进而使得电池不易发生爆炸燃烧、安全性更高,且可以保证电池具有良好的电化学性能,具有重要的研究价值。

标签:
加工技术
广东 - 惠州 来源:北方有色网 2023-03-18
固态电解质-电极复合体及其制备方法和用途

本发明提供了一种固态电解质‑电极复合体及其制备方法和用途,所述固态电解质‑电极复合体包括多孔碳材料层,所述多孔碳材料层两侧分别设置有固态电解质层和电极层,所述固态电解质层和所述电极层形成互渗结构。本发明提供的固态电解质‑电极复合体通过固态电解质层和电极层的互渗结构与多孔碳材料层之间的协同作用,不仅能够增大固态电解质与电极之间的接触面积,减小电流密度,抑制锂枝晶生长;并且具有优异的机械强度,能够提供足够的支撑强度,从而可以承受锂金属沉积/剥离过程中巨大的体积变化应力,解决了固态电解质膜机械强度不足的问题,从而进一步提升了固态电池的循环稳定性和倍率性能。

标签:
加工技术
广东 - 惠州 来源:北方有色网 2023-03-18
电池隔膜的生产设备及隔膜

本发明公开了一种电池隔膜的生产设备,包括:放卷装置,用于将极片按预定速度沿导向轴送出;挤出装置,用于将隔膜原料微粒通过模头均匀平铺至所述极片表面;加热装置,用于将隔膜原料微粒进行加热处理;辊压装置,包括第一压辊与第二压辊,用于辊压隔膜原料微粒与所述极片,形成与极片复合的隔膜;收卷装置,用于将复合隔膜极片收束成卷。本发明的生产设备通过在极片表面均匀平铺隔膜原料微粒取代了现有作为电池隔膜的聚乙烯隔膜或聚丙烯隔膜,得到的隔膜厚度更薄,使得使用隔膜的电池的能量密度更高;隔膜和极片界面接触更紧密,更有利于电解液的浸润和扩散,同时缩短了锂离子的传输路径,所得到的锂离子电池性能更优。

标签:
加工技术
广东 - 惠州 来源:北方有色网 2023-03-18
上一页 16 17 18 19 20 ... 127 下一页
共127页    到第

北方有色为您提供最新的广东惠州有色金属材料制备及加工技术理论与应用信息,涵盖发明专利、权利要求、说明书、技术领域、背景技术、实用新型内容及具体实施方式等有色技术内容。打造最具专业性的有色金属技术理论与应用平台!

全国热门有色金属设备推荐
展开更多 +
全国热门有色金属技术推荐
展开更多 +

 

江西省隆恩特环保设备有限公司
宣传

报名参会
更多+

报告下载

有色专家
更多+

中南大学
中国工程院院士
郑州大学
校长/党委书记
中国瑞林工程技术有限公司
中国工程院院士
石家庄铁道大学
团委书记/副教授
西安建筑科技大学
教授
赤泥综合利用研究报告2025
推广

热门技术
更多+

推荐企业
更多+

福建省金龙稀土股份有限公司
宣传

发布

在线客服

公众号

电话

顶部
咨询电话:
010-88793500-807