青岛垚鑫智能科技有限公司
宣传

位置:北方有色 >

有色技术频道 >

> 废水处理技术

分类:
全部
矿山技术
冶金技术
材料制备及加工技术
环境保护技术
分析检测技术
 
全部
废水处理技术
大气治理技术
固/危废处置技术
土壤修复技术
地区:
全部
北京
天津
上海
重庆
河北
山西
辽宁
吉林
黑龙江
江苏
浙江
安徽
福建
江西
山东
河南
湖北
湖南
广东
海南
四川
贵州
云南
陕西
甘肃
青海
内蒙
广西
西藏
宁夏
新疆
其他
其他
展开
 
全部
济南
青岛
淄博
枣庄
东营
烟台
潍坊
济宁
泰安
威海
日照
滨州
德州
聊城
临沂
菏泽

山东淄博有色金属废水处理技术理论与应用

免费发布技术信息>>
肠衣生产用废水处理及胶原纤维回收利用装置及工艺

本发明公开了肠衣生产用废水处理及胶原纤维回收利用装置及工艺,涉及工业废料处理技术领域。本发明包括气浮箱、回收箱和分液墙,其中回收箱内设输送轴,分液墙内设空压缸,气浮箱内设排气板,输送轴利用偏心轮驱动空压缸相排气板内压入空气进行气浮分离。本发明通过设置分液墙,利用分液墙内部的输送轴表面焊接的偏心轮和空压缸相配合,能够利用回收箱中输送回收胶原纤维的动力压缩空气实现气浮分离胶原纤维的过程,使设备内部的动力过程能够循环;通过设置排料杆和刮板,在回收板运行至刮板下方时将其表面的胶原纤维基团刮取并排出,主要通过设置蜗杆和控制杆,利用往复丝杠结构带动排料杆往复滑动控制开合驱动电机,并使其定点停机回收物料。

标签:
废水处理
山东 - 淄博 来源:北方有色网 2023-03-19
去除工业反渗透浓水中难降解有机物的方法

本发明属于废水处理领域,具体涉及一种去除工业反渗透浓水中难降解有机物的方法。将臭氧协同紫外Fenton的高级氧化方法同腐殖质微生物活性炭有机的结合在一起,充分利用高级氧化方法降解大分子和提高浓水可生化性的能力,以及活性炭对污染物的吸附性能,腐殖质微生物对有毒及难降解污染物的还原去除能力,强化降解反渗透浓水复杂及难降解有机物,实现工业反渗透浓水的深度净化,减轻对城市污水处理厂的负荷和对环境的危害。

标签:
废水处理
山东 - 淄博 来源:北方有色网 2023-03-19
工业循环冷却水杀菌除硬装置及处理方法

一种工业循环冷却水杀菌除硬装置及处理方法,属于废水处理设备领域。工业循环冷却水杀菌除硬装置,其特征在于:双效反应槽(3)内部、在进水口(1)与出水口(7)之间按照水流方向安装平行设置的碳胶阴极(4)和催化阳极(5)。工业循环冷却水杀菌除硬装置的杀菌除硬方法,其特征在于:待处理循环水进入双效反应槽(3);水中的阴离子在催化阳极(5)的阳极涂层的催化作用下发生氧化反应;水中的阳离子被吸附到碳胶阴极(4)中;进行碳胶阴极(4)的再生处理。本发明可同时完成循环冷却水的杀菌除硬,杀菌除硬的效率更高,且阴极再生不伤害电极,既能保证阳极、阴极的长时间使用,延长了电极的使用寿命,绿色环保。

标签:
废水处理
山东 - 淄博 来源:北方有色网 2023-03-19
一体化废水处理设备
一体化废水处理设备 865     
 0

本实用新型涉及一种一体化废水处理设备,其特征在于包括:沉降池、料泵、结晶釜、过滤器、富马酸储罐、一级冷凝器、气液分离器、二级冷凝器和洗涤水槽,沉淀池出料口通过管道连接料泵,料泵连接结晶釜的进料口,结晶釜下端通过管道连接过滤器,过滤器下端连接富马酸储罐,结晶釜上端气相出口、一级冷凝器、气液分离器和二级冷凝器通过管路依次连接,二级冷凝器下端连接洗涤水槽。该设备有效解决了尾气塔堵塞问题;减压蒸馏处理后得到大量蒸馏水可作为尾气吸收用水和顺酐精制洗釜用水,达到循环利用的目的;增加了工业富马酸回收量;并且达到了苯酐和顺酐生产过程中废水零排放。

标签:
废水处理
山东 - 淄博 来源:北方有色网 2023-03-19
用于聚合物多元醇生产过程中的废水废气处理装置

本实用新型涉及一种用于聚合物多元醇生产过程中的废水废气处理装置,包括有往复式真空泵、脱臭装置、真空冷却缓冲罐、循环水泵和生产装置,采用往复式真空泵代替水环真空泵,在POP生产管线上增加一个真空冷却缓冲罐,将排出的水进行循环利用,不再有废水,利用活性炭对废气处理,节约了水资源,改善了空气,质量产品质量也因此得到提高和改进。

标签:
废水处理
山东 - 淄博 来源:北方有色网 2023-03-19
从多巴类生产废水中回收制备L(+)-2,3-二羟基丁二酸的方法

本发明属于废水处理领域,具体涉及一种多巴类生产过程中,含L(+)‑2,3‑二羟基丁二酸钠的废水中,回收制备L(+)‑2,3‑二羟基丁二酸的方法。本发明操作简单,易于控制,所得产品纯度高,回收率高,实现了生产废液的综合回收利用,实现了循环经济,降低了生产成本,该工艺稳定,适合工业化生产要求。

标签:
废水处理
山东 - 淄博 来源:北方有色网 2023-03-19
高浓度含酚废水处理装置

本实用新型属于污水处理装置领域,具体涉及一种处理工业、企业生产过程中所产生的含酚废水的高浓度含酚废水处理装置。其特征在于包括好氧反应器,好氧反应器分别与进水管、沉淀池、营养液储罐、氢氧化钠储罐、鼓风机连接。本实用新型具有处理量相对较大、处理流程简单合理,运行操作方便,处理效果好,处理成本低、无二次污染,且其硬件设施和工艺流程均成熟可靠的优点。

标签:
废水处理
山东 - 淄博 来源:北方有色网 2023-03-19
工业反渗透浓水中难降解有机物深度处理的工艺

本发明属于废水处理领域,提供了一种针对工业反渗透浓水中难降解有机物处理的工艺。其工艺装置包括依次连接的储水池、隔膜泵、pH调节池、加药池、光催化氧化装置、斜板过滤沉降池、中和池、微生物活性炭吸附装置、消毒池。本发明装置结构简单,设计合理,经本发明的工艺系统处理的反渗透浓水出水可实现工业反渗透废水的达标排放或进一步深度处理,减轻对城市污水处理厂的负荷和对环境的危害。

标签:
废水处理
山东 - 淄博 来源:北方有色网 2023-03-19
含溴废水中提取溴素的装置

本实用新型属于工业废水处理技术领域,具体的涉及一种含溴废水中提取溴素的装置。包括提溴塔和水洗精馏塔,提溴塔中上部设置进料口,提溴塔塔釜的中上部一侧设置氯气进料管线,提溴塔上部出料口通过管路与分溴瓶连接,分溴瓶底部通过管路与粗品溴素收集槽连接,粗品溴素收集槽底部通过管路与水洗精馏塔下部连接,水洗精馏塔上部通过管路与精品溴素收集槽连接,精品溴素收集槽底部通过管路与浓硫酸搅拌釜连接。本实用新型所用装置简便,不需要特殊提取设备,只需要两套普通精馏塔和一套吸收塔及一套搅拌釜,易于取材组装,有较强的实用性,且设置了吸收塔防止氯气的逸出,放空管路有稀碱液吸收,安全性好。

标签:
废水处理
山东 - 淄博 来源:北方有色网 2023-03-19
废水降温装置
废水降温装置 925     
 0

本实用新型涉及一种废水降温装置,属于工业热交换工艺领域,包括换热器,其特征在于换热器依次串联设置三组,各换热器的循环冷却水管依次通过管路构成密闭的联通循环腔,其中第一组换热器的换热腔进水口联通高温废水管路,出口联通污水处理场;第二组换热器的换热腔进水口联通除盐水管路,出口联通热力装置;第三组换热器的换热腔进水口联通生产水管路,出口联通化水装置,循环冷却水管路上串装循环水泵。本实用新型具有易于对现有设备进行改造实施,改造后的设备能够消除高温废水中有机物的挥发,且设备运行后显著提高企业生产效率,设备运行稳定可靠的优点。

标签:
废水处理
山东 - 淄博 来源:北方有色网 2023-03-19
电解催化氧化废水的处理装置

本实用新型涉及一种废水处理装置,具体涉及一种电解催化氧化废水的处理装置,其特征在于包括方型电解催化氧化反应池,电解催化氧化反应池左端设有进水口,右端设有连通口与沉淀池相通,沉淀池上部设有导流板和出水口,底部连通有催化剂回流管并与电解催化氧化反应池左端相通连,电解催化氧化反应池内平行交错设置有电极板,电极板与电解催化氧化反应池外的直流电源的正负极输出交替相连,电极板之间填充有催化剂填料。该装置采用电解催化氧化反应、催化剂沉淀、催化剂回流的结构形式对废水进行连续电解催化氧化处理,不仅可以使催化剂与废水的传质更为均匀,提高处理效果,而且有效避免催化剂填料堆积和堵塞出水口的问题,有利于工业应用。

标签:
废水处理
山东 - 淄博 来源:北方有色网 2023-03-19
冷轧油乳化液废水处理装置

本实用新型涉及一种冷轧油乳化液废水处理装置,包括储液装置、喷淋装置:储液装置包括储液槽,储液槽上设有出液口,储液槽的槽壁上设有垂板、挡板,垂板上设有穿料槽、滑道,储液槽内设有支撑台、加热带、液位计,支撑台上架设有隔板,隔板上设有通孔、穿槽;喷淋装置包括支撑机构,支撑机构包括支撑座,支撑座上设有滑槽、转轴座,转轴座两侧部分设有进液口、机封;支撑机构上设有喷淋机构,喷淋机构包括含多个分头的集管座,每个分头设有分液管,分液管的另一端设有连管,连管上设有喷液头。本实用新型的一种冷轧油乳化液废水处理装置,将进入废液处理设备的冷轧油乳化液废水进行处理,降低废液处理设备的负荷,避免对废液处理设备造成损坏。

标签:
废水处理
山东 - 淄博 来源:北方有色网 2023-03-19
基于特戊酸副产废酸和环氧氯丙烷废水制备硫酸钙和氯化氢的方法

本发明涉及化工技术领域,具体涉及一种基于特戊酸副产废酸和环氧氯丙烷废水制备硫酸钙和氯化氢的方法。环氧氯丙烷废水加水稀释后,加入反应助剂,预热后加入特戊酸副产废酸,反应,过滤,滤饼洗涤、烘干得到硫酸钙,滤液解析后得到氯化氢气体。本发明实现了特戊酸副产废酸和环氧氯丙烷废水再利用,提高了资源利用率;工艺要求极低,易于工业化生产;减少了三废的产生,减轻了企业的环保压力,防止环境污染的同时降低了产品的生产成本,经济效益高。

标签:
废水处理
山东 - 淄博 来源:北方有色网 2023-03-19
含溴废水中提取溴素的方法及装置

本发明属于工业废水处理技术领域,具体的涉及一种含溴废水中提取溴素的方法及装置。含溴废水与氯气在提溴塔内发生反应,生成溴素粗品;溴素粗品自提溴塔上部采出,经分溴瓶分离去除水相后进入水洗精馏塔,溴素粗品上部覆盖水层,升温,溴素气相穿过水层自水洗精馏塔上部采出;采出的溴素经过硫酸洗涤,得到成品溴素,溴素含量在99.5%以上。本发明所述的方法适用于各种浓度,各种成分的含溴废水的溴素提取,适用性广,成品溴素含量高;本发明所用装置简便,不需要特殊提取设备,只需要两套普通精馏塔和一套吸收塔及一套搅拌釜,易于取材组装,有较强的实用性,且设置了吸收塔防止氯气的逸出,放空管路有稀碱液吸收,安全性好。

标签:
废水处理
山东 - 淄博 来源:北方有色网 2023-03-19
喷水织机废水处理循环利用系统

本实用新型涉及一种喷水织机废水处理循环利用系统,为工业废水处理设备,依次包括织机废水过滤隔栅、药剂处理集水池、废渣机械过滤器,其药剂处理集水池后连接气浮池,气浮池通过溶气泵与溶气罐连接,溶气罐上还连接气压泵,溶气罐有连接气浮池的回路,气浮池与废渣机械过滤器连接,过滤器的过滤净化水管路连通至喷水织机用水处。本实用新型喷水织机废水处理循环利用系统,使织机废水净化处理后得到循环利用,既节约了水资源,又保护了环境,还降低了生产成本,具有显著的经济效益和社会效益。

标签:
废水处理
山东 - 淄博 来源:北方有色网 2023-03-19
利用人发漂白废水进行人发脱鳞处理的方法

本发明属于人发制品的加工领域,具体涉及一种利用人发漂白废水进行人发脱鳞处理的方法。所述的人发脱鳞处理的方法包括以下步骤:首先,用人发漂白废水对人发纤维预氧化处理,然后用过氧化氢酶处理,最后用蛋白酶处理。本发明人发脱鳞处理的方法实现了漂白废水的回收再利用;实现了对人发纤维鳞片层的有限破坏,进而提高了纤维的强力性能;工艺简单、适于工业化生产。

标签:
废水处理
山东 - 淄博 来源:北方有色网 2023-03-19
ABS树脂工业生产废气处理装置

本实用新型公开了一种ABS树脂工业生产废气处理装置,包括:壳体为装置的外部框架,对装置起到固定支撑的作用,所述壳体内部设置有分流板;隔板,其安装在所述壳体内部,且隔板下端连接有第一密封板;第二密封板,其设置在所述壳体内部,且第二密封板下端设置有第一排气管;内筒,其安装在所述壳体内部,且内筒外表面安装有出料管。该ABS树脂工业生产废气处理装置,该装置在使用时,当冲洗完的气体与冲洗过程中产生的废水进入到第一密封板内部,由于液体与气体的质量之间存在一定的差异,气体可通过气体通道进入到第二密封板内部,第一密封板内部的废水可通过其外表面的排水管排向外界进行收纳,满足了使用者的使用需求。

标签:
废水处理
山东 - 淄博 来源:北方有色网 2023-03-19
丙烯腈装置副产氢氰酸工业规模制备苯胺基乙酸钾的方法

本发明属涉及一种利用丙烯腈装置副产氢氰酸工业规模制备苯胺基乙酸钾的方法。其特征是,利用丙烯腈厂副产氢氰酸作起始原料;反应物料摩尔比:氢氰酸∶苯胺∶甲醛∶氢氧化钾=1∶1~1.3∶1~1.3∶1~1.5;苯胺、甲醛和氢氰酸进行合成反应,得到苯胺基乙腈,苯胺基乙腈加氢氧化钾水溶液碱解,获得苯胺基乙酸钾成品;其中,丙烯腈副产的氢氰酸含量应≥98.5%;苯胺基乙腈合成的条件是,搅拌下,温度10~90℃,反应1~6H;苯胺基乙腈碱解的条件是,在90~100℃搅拌反应2~6H。优点是综合利用了丙烯腈装置副产废气氢氰酸,生产成本较低,产品含量达98%以上,工艺简捷,没有含氰废水排放。

标签:
废水处理
山东 - 淄博 来源:北方有色网 2023-03-19
电镀废水零排放处理装置

本实用新型涉及工业废水处理领域,具体是一种电镀废水零排放处理装置,包括调节池,调节池通过第一增压泵连接微电解装置,微电解装置连接第一水箱,第一水箱连接第二增压泵,第二增压泵连接除重金属系统,除重金属系统连接第三增压泵,第三增压泵连接生化系统,生化系统连接平板陶瓷膜池,平板陶瓷膜池上部连接抽吸泵,抽吸泵连接反渗透系统,反渗透系统浓水输出端连接反应箱,反应箱内设有碱液,反应箱通过第四增压泵连接管式陶瓷膜池,管式陶瓷膜池输出端连接第二水箱,第二水箱通过第五增压泵连接二次膜浓缩设备,二次膜浓缩设备浓水输出端连接蒸发系统。本实用新型实现了电镀废水的零排放。

标签:
废水处理
山东 - 淄博 来源:北方有色网 2023-03-19
能够进行多层过滤的废水处理设备

本发明公开了一种能够进行多层过滤的废水处理设备,涉及废水处理技术领域,包括过滤罐,过滤罐的上表面固定安装有伺服电机,伺服电机的输出端贯穿过滤罐的一端同轴安装有传动轴,传动轴的输出端固定连接有过滤盘,过滤盘的上表面开设有过滤窗,过滤窗的内侧壁可转动连接有一级过滤机构,过滤罐内侧壁的顶部固定安装有啮合盘,传动轴的底部固定连接有二级过滤机构,二级过滤机构的底部固定连接有三级过滤机构,过滤罐的侧面固定连接有气泵,气泵的输出端连通设置有分流管。该能够进行多层过滤的废水处理设备,四个过滤窗能够相互调节,且在调节时能够随着啮合板转动,进行翻转清理,再配合气泵的气流冲击能够有效的将杂质排出。

标签:
废水处理
山东 - 淄博 来源:北方有色网 2023-03-19
处理聚氯乙烯废水的方法

本发明涉及一种适合处理聚氯乙烯料浆脱出水的方法,通过絮凝、沉降、过滤可将废水浊度降到10mg/l以下,处理后的聚氯乙烯料浆脱出水可以达到工业回用要求。

标签:
废水处理
山东 - 淄博 来源:北方有色网 2023-03-19
含膦酸酯和/或亚膦酸酯废水的处理方法

本发明涉及工业污水处理技术领域,尤其涉及一种含膦酸酯和/或亚膦酸酯废水的处理方法,包括以下步骤:(1)向含膦酸酯和/或亚膦酸酯的废水中加入次氯酸钠,进行预氧化,得到预氧化废水;(2)向所述预氧化废水中加入硫酸亚铁和次氯酸钠,进行催化氧化,得到氧化废水;(3)向所述氧化废水中加入氯化镧铈,进行絮凝,除去絮凝沉淀。采用本发明的方法处理含膦酸酯和/或亚膦酸酯的废水后,可将初始化学需氧量(COD)>6000ppm,总磷(TP)>1000ppm降为COD<20ppm,TP<5ppm,具有良好的处理效果。

标签:
废水处理
山东 - 淄博 来源:北方有色网 2023-03-19
从L-甲基多巴生产废水中回收制备L(+)-2,3-二羟基丁二酸的方法

本发明属于废水处理领域,具体涉及一种从L-甲基多巴生产废水中回收制备L(+)-2,3-二羟基丁二酸的方法。向L-甲基多巴生产废水中加入钙的无机酸盐反应,得到L(+)-2,3-二羟基丁二酸钙(Ⅱ)的沉淀,沉淀用水悬浮,再与无机酸作用,得到L(+)-2,3-二羟基丁二酸(Ⅰ)的水溶液,再经活性碳脱色、热滤、减压浓缩、结晶、离心制得L(+)-2,3-二羟基丁二酸(Ⅰ)的粗品,精制后制得L(+)-2,3-二羟基丁二酸(Ⅰ)的精品。本发明操作简单,反应条件温和,易于控制,所得产品纯度高,收率高,彻底的解决了L-甲基多巴生产废水中L(+)-2,3-二羟基丁二酸钠对环境的污染,实现了循环经济,降低了生产成本,工艺稳定,适合工业化生产。

标签:
废水处理
山东 - 淄博 来源:北方有色网 2023-03-19
有机高盐废水的处理回收系统

本实用新型公开了一种有机高盐废水的处理回收系统,包括振动式膜过滤单元、与所述振动式膜过滤单元的出水相连的振动式膜浓缩单元、以及与所述振动式膜浓缩单元的出水相连的MVR蒸发单元。其处理步骤包括:1)对有机高盐废水进行振动式膜过滤处理,以去除废水中的重质COD组分;2)对振动式膜过滤处理后的出水进行振动式膜浓缩处理;3)振动式膜浓缩处理后的浓缩液进入到MVR蒸发单元进行蒸发结晶处理,分离产生的盐回收,分离产生的水可直接外排或回用。本实用新型的系统可根据废水中COD组分的分子量及总量分布,来采取不同的废水过滤及浓缩模式,在机械和超声波两种振动形式的协同作用下实现有机高盐废水的有效处理,并能显著提高膜组件的使用寿命。

标签:
废水处理
山东 - 淄博 来源:北方有色网 2023-03-19
电镀废水零排放处理工艺及其装置

本发明涉及工业废水处理领域,具体是一种电镀废水零排放处理工艺及其装置,处理工艺包括以下步骤:1)电镀废水首先进入微电解系统,进行铁碳微电解处理;2)经过上一步处理后,进行除重金属处理;3)经过上一步处理后,进入生化系统,进行微生物分解处理;4)经过上一步处理后,进入平板陶瓷膜池进行过滤;5)经过上一步过滤后,进入反渗透系统进行过滤;6)经过上一步过滤后,淡水回用于生产,浓水加碱软化后进入管式陶瓷膜过滤;7)经过上一步过滤后的产水进入二次膜浓缩设备进一步浓缩,淡水回用,浓水进入蒸发设备蒸发,最后结晶成固体盐。本发明实现了电镀废水的零排放。

标签:
废水处理
山东 - 淄博 来源:北方有色网 2023-03-19
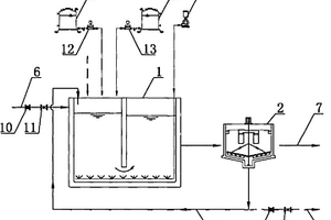
丙烯酸废水处理系统
丙烯酸废水处理系统 1182     
 0

丙烯酸废水处理系统,属于丙烯酸废水处理技术领域。其特征在于:包括换热器(1)、反应釜(5)、板框压滤机(8)以及蒸发结晶装置(9),换热器(1)的壳程入口连接有蒸汽输入管(2),换热器(1)的壳程出口连接有蒸汽输出管(3),换热器(1)的管程入口连接有废水输入管(4),换热器(1)的管程出口与反应釜(5)的进液口相连通,反应釜(5)的出渣口与板框压滤机(8)的进料口相连通,反应釜(5)的出液口与蒸发结晶装置(9)相连通。本丙烯酸废水处理系统与现有的丙烯酸废水处理相比,大大降低了处理成本,而且处理后的乙酸钙晶体经深加工后可得到纯度较高的工业乙酸钙。

标签:
废水处理
山东 - 淄博 来源:北方有色网 2023-03-19
染色废水中活性染料重复利用的方法

本发明涉及一种染色废水中活性染料重复利用的方法,属于纺织工业染色技术领域。该方法包括以下步骤:1)染色废水收集;2)前处理;3)染色废水回流染色;4)后处理。本发明通过对染色废水进行收集,回流后用于阳离子改性棉纱线的筒子纱或经轴染色,染色后排液水洗,皂洗;该项技术可以将染色废水中的水解活性染料进行重复利用,染后纱线得色深度及牢度水平与用正常活性染料对阳离子改性棉纱线染色水平相当,满足色纱质量要求的同时不但减少染料及元明粉、纯碱等染色助剂的投入,同时能够降低染色废水的色度等指标,节能环保。

标签:
废水处理
山东 - 淄博 来源:北方有色网 2023-03-19
功能化二维层状MXene膜处理废水中有毒离子的方法

本发明属于工业废水处理技术领域,具体涉及一种功能化二维层状MXene膜处理废水中有毒离子的方法。将氨基化二维层状MXene膜与羟基化二维层状MXene膜置于废水中,利用外加压力促进废水传输,在外加电压的驱动下废水中阴阳离子定向移动,有毒阴阳离子分别被羟基化二维层状MXene膜与氨基化二维层状MXene膜拦截,从而实现废水中有毒阴阳离子的脱除。本发明功能化MXene二维层状膜具有很强的实用性和长时间的稳定性,同时具有良好的选择性能和渗透性能;将该功能化二维层状MXene膜应用在处理废水中有毒离子方面具有广阔的应用前景,取材方便、工艺操作简单,节能,是一种低能耗、高效率的水处理技术。

标签:
废水处理
山东 - 淄博 来源:北方有色网 2023-03-19
煤矿废水过滤装置
煤矿废水过滤装置 839     
 0

本发明涉及一种煤矿废水过滤装置,属于工业废水处理技术领域。所述的煤矿废水过滤装置包括微孔陶瓷过滤机,微孔陶瓷过滤机底部通过进料泵与废水储槽相连,还通过回流阀与废水储槽相连,进料泵与微孔陶瓷过滤机之间设有进料阀;微孔陶瓷过滤机的顶部通过反吹阀与空压机相连,还通过反洗阀与水泵相连,水泵与储水槽相连。本发明具有能耗低,投资少,出水水质质量高的特点,结构简单,易于操作,处理效率高,节约了水资源。

标签:
废水处理
山东 - 淄博 来源:北方有色网 2023-03-19
赤泥基非均相芬顿催化剂深度处理废水的应用方法

本发明公开了一种赤泥基非均相芬顿催化剂深度处理废水的应用方法,是将原状赤泥研磨过筛、水洗后加入硫酸中和,在马弗炉中煅烧1h,煅烧温度100‑300℃,在空气中冷却至室温后转移至样品袋密封贮存备用;每次循环使用后,结果表明,不同煅烧温度的赤泥催化剂对制药废水的CODcr去除率均可达90%以上,其中100℃煅烧赤泥降解效果最佳;本发明拓宽了废水处理的pH适用范围,在3‑9区间取得了良好的处理效果,本发明可用于工业废水中难降解有机污染物的深度处理,大幅降低COD的排放量,能解决赤泥的环境问题,降低环境修复的生产成本和使用成本,实现了以废治污的途径,具有良好的环境效益、经济效益和社会效益。

标签:
废水处理
山东 - 淄博 来源:北方有色网 2023-03-19
上一页 15 16 17 18 19 下一页
共19页    到第

北方有色为您提供最新的山东淄博有色金属废水处理技术理论与应用信息,涵盖发明专利、权利要求、说明书、技术领域、背景技术、实用新型内容及具体实施方式等有色技术内容。打造最具专业性的有色金属技术理论与应用平台!

全国热门有色金属设备推荐
展开更多 +
全国热门有色金属技术推荐
展开更多 +

 

江西省隆恩特环保设备有限公司
宣传

报名参会
更多+

报告下载

有色专家
更多+

矿冶科技集团
副所长/研究员
有研资源环境技术研究院(北京)有限公司
副总经理/教授级高工
长沙矿冶院检测技术有限责任公司
总经理
北京工业大学、中国工程院
中国工程院 院士
中国铝业股份有限公司
总裁 党委副书记
赤泥综合利用研究报告2025
推广

热门技术
更多+

推荐企业
更多+

福建省金龙稀土股份有限公司
宣传

发布

在线客服

公众号

电话

顶部
咨询电话:
010-88793500-807