青岛垚鑫智能科技有限公司
宣传

位置:中冶有色 >

有色技术频道 >

> 复合材料技术

分类:
全部
矿山技术
冶金技术
材料制备及加工技术
环境保护技术
分析检测技术
 
全部
功能材料技术
复合材料技术
新能源材料技术
合金材料技术
加工技术
地区:
全部
北京
天津
上海
重庆
河北
山西
辽宁
吉林
黑龙江
江苏
浙江
安徽
福建
江西
山东
河南
湖北
湖南
广东
海南
四川
贵州
云南
陕西
甘肃
青海
内蒙
广西
西藏
宁夏
新疆
其他
其他
展开
 
全部
长春
吉林
四平
辽源
通化
白山
松原
白城
延边朝鲜族自治州

吉林长春有色金属复合材料技术理论与应用

免费发布技术信息>>
玻璃钢复合材料
玻璃钢复合材料 1082     
 0

本实用新型涉及附属装置的技术领域,特别是涉及一种玻璃钢复合材料;包括两组玻璃钢面板和碳纤维布,碳纤维布铺设连接在两组玻璃钢面板之间。

标签:
复合材料
吉林 - 长春 来源:中冶有色网 2023-03-18
硫化铜的应用、硫化铜纳米复合材料及其制备方法与应用

本申请公开了一种硫化铜的应用、硫化铜纳米复合材料及其制备方法与应用。所述一种硫化铜作为白血病药物的应用,硫化铜纳米药物可以通过抑制酪氨酸激酶信号通路和激活铁死亡通路,抑制小鼠的白血病生长和复发。

标签:
复合材料
吉林 - 长春 来源:中冶有色网 2023-03-18
碳纤维复合材料低膨胀桁架圆杆的制备方法

本发明提供一种碳纤维复合材料低膨胀桁架圆杆的制备方法,包括以下步骤:步骤S1、桁架圆杆缠绕成型工装的准备;步骤S2、制作预浸料;步骤S3、按照铺层角度裁剪预浸料制备预浸带;步骤S4、在桁架圆杆缠绕成型工装上按照铺层顺序缠绕预浸带;步骤S5、进行表面封装;步骤S6、入炉进行中温固化;步骤7、出炉并进行脱模;步骤S8、对初产品进行端面的细加工。采用本发明提供的制备方法能够制备出空隙率低、热胀系数近低膨胀的碳纤维桁架圆杆,确保了空间用桁架结构的尺寸稳定性,所制作的桁架杆系质量稳定、性能满足设计要求。

标签:
复合材料
吉林 - 长春 来源:中冶有色网 2023-03-18
钢铝梯度复合材料钻杆及其制备方法

本发明公开了一种钢铝梯度复合材料钻杆及其制备方法,钻杆被设计为内外双层结构,钻杆外层和接头部分采用钢材,内层部分采用铝合金,钢和铝合金界面之间通过其二者本身按比例梯度变化的过渡层而实现结合。该钻杆结合了钢材的强度、耐磨性、耐高温、抗腐蚀和铝合金材料轻质的优点,从而满足深部勘探装备发展的需要。钻杆的接头部分采用钢材料,解决了常规铝合金钻杆和钢接头间异种金属组装困难的问题,同时,既可以采用独立接头设计,也可以直接在钻杆上车出接头,缩短制造流程,节约成本;采用钢和铝二者本身按比例梯度变化的过渡层而实现钢铝界面之间结合,替代常规的钢铝机械式连接方法,节约材料并增强了钢铝之间的结合强度。

标签:
复合材料
吉林 - 长春 来源:中冶有色网 2023-03-18
碳纤维复合材料望远镜

本发明公开了一种碳纤维复合材料望远镜,属于光学望远镜技术领域,本发明设置的主返射镜、主镜支撑芯轴、主镜支撑背板、镜筒、支撑装置、折返镜、折返镜支撑芯轴、目镜连接筒、望远镜安装机构均采用碳纤维材料,主返射镜通过主镜支撑芯轴固连在主镜支撑背板中部,折返镜通过折返镜支撑芯轴固连在支撑装置一端,支撑单通过目镜连接筒固连有目镜组件,镜筒一端与主镜支撑背板固连,镜筒另一端与支撑装置固连,镜筒中部通过多个望远镜安装机构与望远镜支撑架固连,本发明实现了重量轻、热稳定性高、结构简单的特点。

标签:
复合材料
吉林 - 长春 来源:中冶有色网 2023-03-18
集成酶气凝胶复合材料及其制备方法以及葡萄糖含量的检测方法

本发明提供了一种集成酶气凝胶复合材料,由双亲气凝胶通过吸附法将天然酶和模拟酶同时固定在三维网状结构中制备得到,所述天然酶是能够催化目标物分解产生过氧化氢的酶;所述模拟酶是具有类过氧化物酶活性的物质。本发明利用聚乙烯醇为主要原料、顺丁烯二酸为辅助交联剂,同时加入少量多壁碳纳米管以改善产物机械性能,最终合成出具备双亲性质的气凝胶,可同时吸附水相和有机溶剂相。根据这一性质,将溶于有机相和水相的氯化血红素和葡萄糖氧化酶,分别吸附于气凝胶胶体内部,实现对级联反应的催化。气凝胶作为天然酶固定化的载体,提高了酶的稳定性,防止酶在催化过程中的泄漏,简化了催化反应的步骤,缩短了反应时间,更利于葡萄糖含量检测。

标签:
复合材料
吉林 - 长春 来源:中冶有色网 2023-03-18
金刚石超硬复合材料的制备方法

一种金刚石超硬复合材料的制备方法,属于材料制造技术领域,向钛铜合金加入铌粉和铝粉,将金属粘结剂压成片状体,片状体金属粘结剂放入石墨材料制成的筒状加热块底部,向筒状加热块内注入金刚石粉末,再注入铁粉和金属粘结剂粉末混合而成的基层粉末,将加热块放入高温高压装置内,加压升温,制成钻具或刃具。本发明生产出的钻具或刃具使用寿命度,加工精度高。

标签:
复合材料
吉林 - 长春 来源:中冶有色网 2023-03-18
主链含咔唑的聚芳醚、制备方法及纳米碳改性材料和复合材料

一种主链含咔唑的聚芳醚、制备方法及由该主链含咔唑的聚芳醚修饰的纳米碳改性材料和复合材料,属于高分子材料技术领域。本发明通过设计开发一种新型的主链含咔唑的聚芳醚材料,将其用于纳米碳材料的改性,不但解决了纳米碳材料在有机溶剂中不能溶解、分散、易于团聚的关键难题,而且使纳米碳材料的分散能力大大超过类似的文献报道,应用也更为广泛。除此之外,本发明所述的主链含咔唑的聚芳醚材料制备方法简单,利于大规模批量化生产。这种新型、可溶的主链含咔唑的聚芳醚聚合物材料将在进一步的复合加工中扮演增溶、改性剂的角色,并因其具有良好的热稳定性、出色的机械性能,能够解决碳纳米材料复合加工中的遇到的困难,具有极大地应用前景。

标签:
复合材料
吉林 - 长春 来源:中冶有色网 2023-03-18
有序介孔多金属氧酸盐-二氧化钛复合材料及制备方法

一种有序介孔多金属氧酸盐-二氧化钛复合材料及制备方法,属 于化工领域,具有以下化学式组成,H3PW12O40/TiO2。其制备方法 结合溶胶-凝胶化学、模板自组装及程序升温水热处理等技术组合。 以H3PW12O40为无机前驱体,四异丙氧基钛(TTIP)和四氯化钛(TiCl4) 的混合物为钛源,非离子型表面活性剂(Pluronic P123,其结构为 HO(CH2CH2O)20(CH2CH(CH3)O)70(CH2CH2O)20H)为结构导向剂。本 产品催化性能的增加效果非常明显,并提高了催化剂的寿命。

标签:
复合材料
吉林 - 长春 来源:中冶有色网 2023-03-18
复相TiC-Cr7C3陶瓷颗粒梯度增强钢基复合材料的制备方法

本发明涉及TiC-Cr7C3复相陶瓷颗粒梯度增强钢基复合材料的制备方法。具体工艺包括反应物压坯的制备和铸型型腔内的燃烧合成反应两个阶段:1)采用Cr、Ti和C粉作为反应物,按照一定比例混合均匀,压制成坯;2)将经过预处理后的反应物压坯放置于铸型内铸件需要增强的特定位置或区域,浇铸高温金属钢液诱发压坯的燃烧合成反应,原位形成TiC和Cr7C3复相混杂陶瓷增强颗粒。从而既保证了金属基体本身的韧性,又提高了服役区域的高硬度和耐磨损性能。陶瓷颗粒通过化学反应原位形成,热力学稳定,与基体结合好;此外,Cr还可以固溶于TiC形成(Ti,Cr)C或者固溶于钢基体,起到固溶强化作用。

标签:
复合材料
吉林 - 长春 来源:中冶有色网 2023-03-18
复合材料的承力筒的制备方法

本发明提供一种复合材料的承力筒的制备方法,包括以下步骤;S1、模具设计:具体为外形设计、尺寸缩放设计、功能设计和结构设计;S2、模具调试及处理基准:在模具上焊接配重块用以调节模具重心;在模具上刻画加工基准线和象限线;S3、铺放及成型:将预浸料铺放在模具上后,通过压力容器对模具进行固化;S4、脱膜;S5、测量与加工:测量产品毛坯后并进行精加工至产品。使用本发明的制备方法制作的模具提高了承力筒的精度。

标签:
复合材料
吉林 - 长春 来源:中冶有色网 2023-03-18
偏心Au NPs@TiO2纳米复合材料的制备方法

一种偏心Au NPs@TiO2纳米复合材料的制备方法,涉及到Au NPs上配体的竞争配位导致的Au NPs表面的功能分区驱动了TiO2的选择性沉积。本发明选择的配体是4‑巯基苯基乙酸(4‑MPAA)和聚丙烯酸(PAA),利用二者和Au NPs结合强弱的不同的特点使二者在与Au NPs共同存在时通过改变二者的加入量而产生不同程度的竞争结合,进而驱动不同程度的TiO2的沉积。本发明与传统方法相比合成步骤简单,反应所需时间短,产量也较大。仅通过调节所需配体的加入量就可以制备出偏心核壳结构的复合纳米粒子。该结构可用于光催化产氢,光催化降解等各个领域。

标签:
复合材料
吉林 - 长春 来源:中冶有色网 2023-03-18
聚酰亚胺树脂、其制备方法及聚酰亚胺复合材料

本发明提供一种聚酰亚胺树脂,由包括芳香族二酐和芳香族二胺的混合物制备得到;所述芳香族二酐包括双酚A型二醚二酐;所述芳香族二胺包括苯膦酸双(氨基苯)酯。本发明将双酚A型二醚二酐和含磷元素的苯膦酸双(氨基苯)酯引入聚酰亚胺结构中,使聚酰亚胺树脂的加工性能显著提高。在本发明的实施例中,本发明中的聚酰亚胺树脂最低熔体黏度在50Pa·s~5000Pa·s之间,加工温度范围在300℃~380℃之间。同时该树脂具有优异机械性能,拉伸强度大于70MPa,弯曲强度大于100MPa。本发明还提供了一种聚酰亚胺的制备方法和一种聚酰亚胺复合材料。

标签:
复合材料
吉林 - 长春 来源:中冶有色网 2023-03-18
新型复合材料转向横拉杆总成

本实用新型公开了一种新型复合材料转向横拉杆总成,属于汽车转向系统技术领域,包括横拉杆、左金属套管、右金属套管、左锁紧螺母、右锁紧螺母、左拉杆球头总成及右拉杆球头总成;所述横拉杆的两端分别与左金属套管及右金属套管的一端连接,所述左金属套管及右金属套管的另一端分别与左拉杆球头总成及右拉杆球头总成螺接。本实用新型提供的横拉杆总成,在保证整车对转向横拉杆总成的性能要求如稳定性、抗拉压强度和运动空间等的前提下,尽可能减小成本涨幅,优化转向横拉杆总成的结构,实现转向横拉杆总成降重,从而实现整车降重,油耗降低,提高车辆动力性和经济性;减轻整车底盘簧下质量,提高车辆乘坐的舒适性。

标签:
复合材料
吉林 - 长春 来源:中冶有色网 2023-03-18
粉煤灰基复合材料处理废水光催化反应釜

本实用新型涉及废水处理容器技术领域,尤其涉及一种粉煤灰基复合材料处理废水光催化反应釜。其技术方案包括:反应箱,反应箱的顶部安装有电机,电机的输出轴固定连接有转轴,转轴的两侧沿其高度方向焊接有多个搅拌叶片,所述反应箱的内部转动连接有转动杆,转动杆的外围固定套设有固定套和外齿盘,固定套的外壁固定连接有折射镜片,所述反应箱的内壁固定连接有横板,横板和反应箱的顶部内壁之间转动连接有往复丝杆,且往复丝杆和转轴通过传动机构传动连接,往复丝杆的外围转动连接有丝杆套,丝杆套的外壁固定连接有齿板,且齿板和外齿盘啮合传动。本实用新型解决了现有粉煤灰废水处理设备处理不彻底的问题。

标签:
复合材料
吉林 - 长春 来源:中冶有色网 2023-03-18
酚醛碳纤维复合材料加热地板

本实用新型提供一种酚醛碳纤维复合材料加热地板,加热地板包括上层酚醛树脂层、碳纤维发热层、轻型钢竖排芯层、灰体铝板屏蔽层、下层酚醛树脂层和高密度封边层,碳纤维发热层复合在轻型钢竖排芯层上端面上,通过温控系统控制其发热,其中碳纤维发热层包括上层绝缘层、上层固化层、远红外发热层、下层固化层、下层绝缘层,利用远红外发热层通电碳纤维中的碳离子在封闭的远红外发热层里做布朗运动发热并释放红外线,经过热传导和热辐射对地板进行加热,加热方式环保并高效,能够有效的维持车厢内整体的温度恒定。

标签:
复合材料
吉林 - 长春 来源:中冶有色网 2023-03-18
热塑性碳纤维复合材料与铝合金的摩擦铆接装置

本实用新型公开了一种热塑性碳纤维复合材料与铝合金的摩擦铆接装置,包括:凹模,其下部为实心圆柱形结构,上部中心设置有圆形凹槽,所述圆形凹槽底面向上凸起呈圆锥状;压边圈,其为圆柱形结构且中心设置有圆柱形中心孔,所述压边圈设置在所述凹模上方并与其同轴设置;驱动杆,其同轴设置在所述中心孔内部,能够沿所述中心孔进行旋转运动和轴向进给运动;铆钉,其包括依次连接的钉帽、钉颈和钉脚,所述钉帽与所述驱动杆相互卡合;连接件,其设置在所述凹模与压边圈之间;真空隔热管,其过盈设置在所述中心孔内部;铆钉套,其套设在所述钉帽、钉颈和驱动杆的外侧,且所述铆钉套与所述真空隔热管间隙配合。本实用新型具有提高接头成形效果的特点。

标签:
复合材料
吉林 - 长春 来源:中冶有色网 2023-03-18
越野车复合材料拖曳臂

本实用新型属于汽车技术领域,具体的说是一种越野车复合材料拖曳臂。该拖曳臂包括支撑框架层;所述支撑框架层的外侧铺有胶膜层和碳纤维材料层。所述支撑框架由轻木材料、铝材料和强力胶组成。本实用新型在保证良好力学性能的同时,有效减小了拖曳臂的质量,而且具有良好的抗冲击性能,不易断裂破碎,在恶劣行驶工况下,依旧有着较高的安全系数,保证驾驶员的安全。另外本实用新型提供了一种针对本结构的新的结构连接形式,将铝材料部分预埋与碳纤维材料层中,部分外加工成安装孔,取消了传统拖曳臂结构的焊接误差。

标签:
复合材料
吉林 - 长春 来源:中冶有色网 2023-03-18
加纵向加强筋、环框复合材料壳体

本实用新型涉及一种加纵向加强筋、环框复合材料壳体,该壳体包括环向加强框、纵向加强筋、蒙皮;其中,所述环向加强框的截面为“几”字型结构,包括凹槽及设置在凹槽两侧向外延伸的连接边,环向加强框沿着壳体的长度方向间隔设置,环向加强框内填充闭孔泡沫,环向加强框的高度高于纵向加强筋的高度,在铺设纵向加强筋的位置开设纵向加强筋避让豁口;所述纵向加强筋穿过环向加强框的纵向加强筋避让豁口沿壳体的长度方向铺设;所述蒙皮铺设在环向加强框的连接边及纵向加强筋上。该壳体结构简单,强度高,有利于一体化成型,解决传统加纵环筋壳结构中纵环筋交点处筋包处理工艺难度大,蒙皮质量不可控等缺点。

标签:
复合材料
吉林 - 长春 来源:中冶有色网 2023-03-18
铝材与复合材料搭配的仪表板横梁

本实用新型涉及一种铝材与复合材料搭配的仪表板横梁,属于汽车零部件。包括管梁主体、铝压铸件一、铝压铸件二、汽车仪表板安装支架、手套箱安装支架、转向柱安装支架一、转向柱安装支架二、压铆衬套一、压铆衬套二和电器盒支架。优点是结构新颖,采用铝管与非金属注塑材料相结合,工装投入少,产品尺寸稳定,相比于传统金属冲压焊接仪表板横梁、在满足等同性能前提下,可大幅减轻产品重量,尺寸精度更高、性能符合要求,优势突出。更适用于现代及未来乘用车的应用和发展。

标签:
复合材料
吉林 - 长春 来源:中冶有色网 2023-03-18
汽车内饰用复合材料纤维毡

本实用新型公开了一种汽车内饰用复合材料纤维毡,由复合内层、粘连层和复合外层组成,复合内层为复合化学增强纤维层,复合化学纤维层中的复合化学增强纤维由纤维和纤维混合组成,复合内层和复合外层之间通过粘连层模压加热粘接固定;所述复合外层为PET毯绒面料层;所述粘连层为颗粒热熔胶层。本实用新型不仅能够使汽车内饰零部件在轻量化、力学性能及尺寸稳定性方面均有显著提升,还能有效避免长时间使用因吸潮、变霉而产生异味,延长使用寿命。

标签:
复合材料
吉林 - 长春 来源:中冶有色网 2023-03-18
玻璃纤维复合材料水渠
玻璃纤维复合材料水渠 1135     
 0

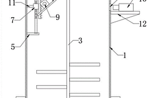
本实用新型公开了水渠领域的一种玻璃纤维复合材料水渠,包括地面本体,地面本体的内部固定连接有固定座,固定座的内部固定连接有水渠本体,水渠本体的顶部活动连接有盖板本体,盖板本体的一侧设置有拆卸机构,盖板本体底部的两侧均固定连接有卡板,卡板的底部固定连接有过滤网,地面本体的顶部分别固定连接有电机和支撑柱,电机的顶部固定连接有第一螺纹杆,第一螺纹杆的表面螺纹连接有承重板,承重板的顶部固定连接有处理箱,处理箱的一侧连通有出液管,出液管的一端连通有水泵,水泵的一侧连通有抽液管。本实用新型解决了无法对水渠内部的淤泥进行处理,且无法对盖板进行拆卸,不利于人们使用的问题。

标签:
复合材料
吉林 - 长春 来源:中冶有色网 2023-03-18
多孔炭负载超小PbSO<Sub>4</Sub>纳米粒子复合材料及其制备以及在铅炭电池正极的应用

本发明提出了一种多孔炭负载超小PbSO4纳米粒子复合材、料制备方法及其应用。在这种结构中,超小粒子PbSO4直接锚定在多孔炭上,从而使得在正极放电时作为沉积位点得以有效沉积PbSO4。制备的主要过程为:首先将多孔炭进行羧基化处理,然后溶于一定浓度的硝酸铅水溶液中,经一定温度下的搅拌,用水过滤,然后再用硫酸过滤,即可得到多孔炭负载的超小PbSO4粒子。本发明所提出的制备工艺简单,在进行大规模生产并用于商业化电池推广等方面具有非常大的潜力。将本发明所得到的材料用作铅炭电池正极添加剂,可以明显的提升电池的循环性能。

标签:
复合材料
吉林 - 长春 来源:中冶有色网 2023-03-18
基于生物材料向日葵花花粉和碳化钛复合材料的柔性压力传感器及其制备方法

本发明属于柔性压力传感器技术领域,具体涉及一种基于生物材料向日葵花花粉和碳化钛复合材料的柔性压力传感器及其制备方法。该方法制作出的器件依次由下柔性衬底、下金属电极、20~40μm厚的向日葵花花粉/碳化钛复合薄膜传感层、上金属电极和上柔性衬底组成。本发明所述器件受到外力会引起传感层发生形变,厚度减小,进而引起材料电阻减小,相应的输出电流信号增加。与传统的压力传感器相比,本发明制备的压力传感器,不仅具有良好的柔性、高稳定性、高灵敏度和较快的响应恢复时间,而且具有生物相容性,更可以大规模大面积制作传感器阵列,适合用于可穿戴电子皮肤、医疗健康和智能机器人等领域。

标签:
复合材料
吉林 - 长春 来源:中冶有色网 2023-03-18
越野车复合材料拖曳臂及其制作方法

本发明属于汽车技术领域,具体的说是一种越野车复合材料拖曳臂及其制作方法。该拖曳臂包括支撑框架层;所述支撑框架层的外侧铺有胶膜层和碳纤维材料层。所述支撑框架由轻木材料、铝材料和强力胶组成。本发明在保证良好力学性能的同时,有效减小了拖曳臂的质量,而且具有良好的抗冲击性能,不易断裂破碎,在恶劣行驶工况下,依旧有着较高的安全系数,保证驾驶员的安全。另外本发明提供了一种针对本结构的新的结构连接形式,将铝材料部分预埋与碳纤维材料层中,部分外加工成安装孔,取消了传统拖曳臂结构的焊接误差。

标签:
复合材料
吉林 - 长春 来源:中冶有色网 2023-03-18
低聚DNA和无机纳米晶复合材料构建方阵形网状纳米结构

本发明属于低聚DNA和无机纳米晶复合材料构建方阵形网状纳米结构的制备技术。利用经化学修饰的低聚单链DNA与无机纳米晶偶联,然后利用DNA的复性过程将纳米晶构建成具有自修复能力的可逆的方阵形网状纳米结构。纳米晶间的距离和相互作用可通过低聚DNA的长度加以调节。

标签:
复合材料
吉林 - 长春 来源:中冶有色网 2023-03-18
带有内压自紧式活动盖的玻璃钢复合材料沼气罐

本实用新型涉及一种带有内压自紧式活动盖的玻璃钢复合材料沼气罐,属于一种沼气罐。在该玻璃钢沼气罐上半球储气段顶端有内锥式塞口,该内锥式塞口大端直径位于罐内,小端直径位于罐外,外锥式塞盖的锥度与塞口的锥度一致,形成一对塞副,塞口挡板与塞盖上的螺杆穿接,螺副与该螺杆在塞口挡板外螺纹连接,外锥式塞盖与内锥式塞口密封连接。优点在于:结构新颖,操作简便,密封效果好,当沼气罐内压力提高时亦对塞副轴向楔面产生轴向密封力,即所谓:内压力越大,密封力越大,密封性越好。保证了沼气罐安全正常运行,提高了产气率。

标签:
复合材料
吉林 - 长春 来源:中冶有色网 2023-03-18
碳纤维复合材料控制臂及其制备方法

本发明公开了一种碳纤维复合材料控制臂及其制备方法,属于汽车技术领域,包括第一衬套、第二衬套和球销,还包括扣合连接的第一壳体和第二壳体,第一壳体内具有第一加强体,第二壳体内具有第二加强体,第一壳体和第二壳体均由碳纤维预浸料制成,第一加强体和所述第二加强体均由短切碳纤维增强片状模塑料制成,第一衬套和第二衬套均镶嵌于第一加强体上,球销镶嵌于第二加强体上。相比现有的金属材料的控制臂,大幅度降低了控制臂的重量,实现控制臂的轻量化,同时避免了局部受力不均的情况的出现,使得控制臂具有较好的刚度和强度。

标签:
复合材料
吉林 - 长春 来源:中冶有色网 2023-03-18
聚乳酸/二氧化碳聚合物降解型复合材料

本发明涉及一种聚乳酸/二氧化碳聚合物降解型复合材料,其由10~90份(重量)的二氧化碳聚合物、10~90份的聚乳酸、10~20份的乙酰柠檬酸三正丁酯增塑剂、1~5份的马来酸酐封端剂组成。本发明具有良好力学性能,可降解,热稳定性好,加工和成型容易,光泽度、透明性良好,适用于医用敷料、包装材料等方面的生产。

标签:
复合材料
吉林 - 长春 来源:中冶有色网 2023-03-18
掺杂高岭土的共轭微孔聚合物复合材料的制备方法

本发明属于材料制备领域,提供了一种掺杂高岭土的共轭微孔聚合物复合材料的制备方法。通过将共轭微孔聚合物材料和天然矿物结合起来,可以实现对原多孔芳香骨架材料性质的优化和改进,使得新制备的材料对于芳香类有机污染物的吸附性能以及光催化性能有着较大的提升。该方法的提出不仅可以有效控制优化共轭微孔聚合物材料的成本,同时对于当今社会关注的有机污染物治理,尤有着积极意义。

标签:
复合材料
吉林 - 长春 来源:中冶有色网 2023-03-18
上一页 14 15 16 17 18 ... 54 下一页
共54页    到第

中冶有色为您提供最新的吉林长春有色金属复合材料技术理论与应用信息,涵盖发明专利、权利要求、说明书、技术领域、背景技术、实用新型内容及具体实施方式等有色技术内容。打造最具专业性的有色金属技术理论与应用平台!

全国热门有色金属设备推荐
展开更多 +
全国热门有色金属技术推荐
展开更多 +

 

江西省隆恩特环保设备有限公司
宣传

报名参会
更多+

报告下载

有色专家
更多+

江西理工大学
副校长/教授
江西理工大学
教授
中国矿业大学(北京)
教授
北京航空航天大学、中国工程院
院士
中国铝业股份有限公司
总裁 党委副书记
赤泥综合利用研究报告2025
推广

热门技术
更多+

推荐企业
更多+

福建省金龙稀土股份有限公司
宣传

发布

在线客服

公众号

电话

顶部
咨询电话:
010-88793500-807