青岛垚鑫智能科技有限公司
宣传

位置:中冶有色 >

有色技术频道 >

> 废水处理技术

分类:
全部
矿山技术
冶金技术
材料制备及加工技术
环境保护技术
分析检测技术
 
全部
废水处理技术
大气治理技术
固/危废处置技术
土壤修复技术
地区:
全部
北京
天津
上海
重庆
河北
山西
辽宁
吉林
黑龙江
江苏
浙江
安徽
福建
江西
山东
河南
湖北
湖南
广东
海南
四川
贵州
云南
陕西
甘肃
青海
内蒙
广西
西藏
宁夏
新疆
其他
其他
展开
 
全部
广州
韶关
深圳
珠海
汕头
佛山
江门
湛江
茂名
肇庆
惠州
梅州
汕尾
河源
阳江
清远
东莞
中山
潮州
揭阳
云浮

广东广州有色金属废水处理技术理论与应用

免费发布技术信息>>
光催化剂、其制备方法及其应用

本发明提供了一种光催化剂、其制备方法及其应用,属于光催化技术领域。本发明光催化剂的制备方法通过将2,4‑二氨基喹啉、双氰胺和氯化铵混合均匀后,经两阶段煅烧,制得了一系列极性诱导氮化碳光催化剂,这些光催化剂在氮化碳阵列的边缘地方引入苯环,达到了最大的离域化,这不仅能调控氮化碳表面的电子结构,还能抑制光生载流子的复合,提高光生载流子的分离效率,从而提高氮化碳的光催化性能;本发明光催化剂的制备方法工艺简单,所合成的光催化剂结构新颖,能利用废水资源中的有机物作为牺牲剂实现同时产氢和有机物降解双功能,极大地提高了氮化碳光催化剂的实际应用前景。

标签:
废水处理
广东 - 广州 来源:中冶有色网 2023-03-19
用含氯化铜废蚀刻液制取高纯铜粉和回收结晶氯化铝的制备方法

本发明公开了一种用含氯化铜废蚀刻液制取高纯铜粉和回收结晶氯化铝的制备方法,它依次包含以下步骤:S101、预处理:将收集的酸性含氯化铜废蚀刻液输入反应槽,加入双氧水、氢氧化铝搅拌进行中和反应,控制pH3~3.8并加入适量PAM,经过预处理;S102、絮凝除杂;S103、置换:将除杂处理后的沉淀余液泵入特制反应罐内,加入铝片进行置换反应;S104、产品制备,包括铜粉纯化干燥和结晶氯化铝的回收生产两个过程。本发明生产工艺流程简单,不增加液体量,铜金属回收率高>99.9%,余液废水经蒸发浓缩后用于生产价值较高的结晶氯化铝产品,物耗少,效率高,经济效益极好,达到危险废物含铜废液资源化、无害化环保处理效果。

标签:
废水处理
广东 - 广州 来源:中冶有色网 2023-03-19
压滤机滤布清洗装置
压滤机滤布清洗装置 730     
 0

本实用新型公开了一种压滤机滤布清洗装置,包括底座,底座内部卡接有挡板,底座顶部连接有支撑杆,电机侧面螺纹连接有螺杆,螺杆正面螺纹连接有螺纹套,螺纹套底部连接有电推杆,电推杆底部连接有第二电机,第二电机底部连接有伸缩杆,废水箱正面开设有出水口,废水箱顶部开设有进水管,第一外壳内部连接有加热器,第二外壳顶部连接有蒸汽烘干机,第二外壳顶部开设有出气孔。该压滤机滤布清洗装置,将滤布放在下方夹板上,启动电推杆,控制伸缩杆向下移动,直到滤布进入浸泡液,开启喷头,对滤布进行冲洗,利用风扇吹出的热风进行烘干,清除部分未被完全清除的小颗粒,最后移至蒸汽烘干机的上方,通过出风孔将送出的热蒸汽送至滤布表面。

标签:
废水处理
广东 - 广州 来源:中冶有色网 2023-03-19
高效氨吹脱塔
高效氨吹脱塔 780     
 0

本实用新型是一种高效氨吹脱塔。本实用新型的高效氨吹脱塔,包括有塔体、喷淋水箱、格网、进气口、出气口、除雾折板,其中进气口设置在塔体的下部,与塔体切向相接,出气口设置在塔体的顶部,格网设置在塔体的中空腔体内,多面空心球填料设置在塔体的中空腔体内,且由格网承载,塔体的中空腔体在多面空心球填料的上方设置有膨胀区,进气口的上方安装有下螺旋喷头,膨胀区的上方安装有上螺旋喷头,上螺旋喷头的上方装有除雾折板,塔体的底部、进气口的下方设置喷淋水箱,含氨废水从进水管间歇性地注入到喷淋水箱,喷淋水箱内的废水从循环水出水管进入到下螺旋喷头及上螺旋喷头,形成多层水膜。本实用新型提高了吹脱塔容积利用率和水质处理效果。

标签:
废水处理
广东 - 广州 来源:中冶有色网 2023-03-19
含碳素纤维组合填料的厌氧生物反应池

本实用新型提供一种含碳素纤维组合填料的厌氧生物反应池,包括池体、碳素纤维组合填料及填料支架、液下推流器。池体顶部密封加盖,池内装填球状碳素纤维组合填料,组合填料由填料支架固定,并按一定的水平间距均匀布满整个池子,池内装配液下推流器,使废水与污泥及填料充分接触。本实用新型具有启动快、污泥不易流失、不堵塞、不存在短流、废水与污泥混合程度好,且整体结构简单等优点。

标签:
废水处理
广东 - 广州 来源:中冶有色网 2023-03-19
用于污水净化处理的反渗透膜装置

本实用新型公开一种用于污水净化处理的反渗透膜装置,包括:筒体;净水管,安装于筒体内,净水管下端穿过筒体底板延伸至筒体外,净水管下端为净水出口,净水管侧壁上间隔设置有若干净水入口;反渗透膜件,环设于净水管外周,反渗透膜件外周通过第一挡水隔板与筒体顶盖密封连接,反渗透膜件下端设有第二挡水隔板,第二挡水隔板设置有供净水管穿过的通孔,第二挡水隔板与净水管密封连接,第二挡水隔板外周与反渗透膜件外周平齐;反渗透膜件与筒体的侧壁之间具有原水腔室,反渗透膜件的上端与筒体的顶盖之间具有废水腔室,顶盖上设置有原水进水管和废水出水管;反渗透膜件与净水管之间具有间隙。本实用新型提高净水水质的同时可以提高净水产水速率。

标签:
废水处理
广东 - 广州 来源:中冶有色网 2023-03-19
具备冰敷和洗漱功能的展示柜

本实用新型公开了一种具备冰敷和洗漱功能的展示柜,包括展示柜主体,展示柜主体左侧设置有多个展示格,展示柜主体左侧下部设置有开关门,开关门内设置有洗漱池,洗漱池上端设置有水龙头,洗漱池下端通过橡胶管连接废水箱内,废水箱放置在检修门内,水龙头连接展示柜主体背部的中转水箱,中转水箱连接上水箱,上水箱设置在放置架上,展示柜主体右侧设置有保鲜展示室,展示柜主体右侧下端设置有冷藏室,冷藏室下端设置有制冷机柜,本实用新型结构新颖,功能多样,不但能够实现展示功能,还能实现洗漱和冰敷体验功能,解决了商场内难以洗漱的问题,满足了现在的使用要求。

标签:
废水处理
广东 - 广州 来源:中冶有色网 2023-03-19
串列式水样预处理装置

一种串列式水样预处理装置,主要包括旋流沉沙器,过滤装置,流通池,搅拌粉碎机,水样输出管,留样取样管,电机,热水器,自来水管,源水样进水管,废水管;旋流沉沙器左侧连接源水样进水管,旋流沉沙器下端与废水管连接;旋流沉沙器上端水样出口装有过滤装置;旋流沉沙器上端水样出口与流通池水样输入口连接,搅拌粉碎机沉于流通池内并与装在流通池顶部的电机主轴连接;流通池右侧内腔中部位置连接水样输出管;留样取样管从流通池顶部右侧插入到流通池;流通池顶部左侧通过管路与热水器出水口连接,热水器入水口与自来水管连接;本实用新型能有效的对源水样实现除泥沙分离沉降、絮状物过滤、小物质粉碎、混合进行预处理。

标签:
废水处理
广东 - 广州 来源:中冶有色网 2023-03-19
印染污水过滤器
印染污水过滤器 1031     
 0

本实用新型公开了一种印染污水过滤器,包括底板,底板顶部的两侧均通过支撑板固定连接有过滤箱,过滤箱内部的一侧通过卡块卡接有网板,网板的一侧贯穿过滤箱并延伸至过滤箱的外部,网板的一侧固定连接有拉板,且网板的顶部固定连接有固定块,所述固定块的顶部固定连接有锥形圈,所述固定块的顶部固定连接有导柱,所述导柱的外表面转动连接有转动杆,所述转动杆设置有多个,两个所述转动杆的外表面之间固定连接有第一网罩,本实用新型涉及印染技术领域。该印染污水过滤器,利用固定块、转动杆、第一网罩和弹簧之间的配合可将印染产生的废水在过滤之前提前进行预处理,将印染废水里面的杂质过滤掉,方便下一步进行过滤。

标签:
废水处理
广东 - 广州 来源:中冶有色网 2023-03-19
废气处理器洗气装置
废气处理器洗气装置 1141     
 0

本实用新型公开了一种废气处理器洗气装置,包括罐体和支架,所述罐体的下方设有支架,所述罐体的左侧设有进气孔,所述喷头贯穿罐体与所述第一垫片的上表面设有第二螺栓,所述第二螺栓贯穿第一垫片和第二垫片与螺母相连,所述第二螺栓与螺母螺纹相连,所述圆筒的内部设有卡槽,所述罐体的右侧设有排气孔。该废气处理器洗气装置,当废水聚集在罐体的底部,当水量聚集的更多时推动泡沫板向上进行运动,通过泡沫板向上进行运动可以带动滑杆向上进行运动,此时橡胶垫块向下进行运动与卡槽进行配合,通过橡胶垫块与卡槽配合可以将圆筒封闭,避免废气通过圆筒排出罐体的内部,从而可以避免废气跟随废水一同排出的问题。

标签:
废水处理
广东 - 广州 来源:中冶有色网 2023-03-19
3D打印机的清理装置
3D打印机的清理装置 1200     
 0

本实用新型公开了一种3D打印机的清理装置,包括打印机底座,所述打印机底座的上端面设有废水槽,所述废水槽内部的四个端脚均设有电动伸缩杆,四个所述电动伸缩杆的上方固定设有打印平台,所述打印机底座上端面的两侧均设有滑槽,所述打印机底座的一侧设有电机仓,所述电机仓的内部设有步进电机,所述步进电机的一侧设有位于打印机底座内部的蜗杆,所述打印机底座内部的两侧均设有丝杠,所述丝杠的一端套设有位于蜗杆上方的涡轮,所述涡轮与所述蜗杆啮合连接,两个所述丝杠的外部均套设有外滑套,两个所述外滑套的上端面均固定设有滑块,两个所述滑块之间连接有第二横板。本实用新型自动的清洁装置,省时省力且清洁效果好。

标签:
废水处理
广东 - 广州 来源:中冶有色网 2023-03-19
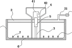
生物同步降碳脱氮除硫处理系统

本实用新型公开了一种生物同步降碳脱氮除硫处理系统,包括收集池,沉淀池,曝气池,流化床反应器,氨氮吸收塔,活性碳滤池,二级沉淀池;所述收集池出口连接所述沉淀池的入口,所述沉淀池的出口连接所述曝气池的入口,所述曝气池的出口连接所述流化床反应器的下端的污水入口,所述气体收集装置连接所述氨氮吸收塔的废气入口,所述氨氮吸收塔的吸收液出口通过水管连接所述曝气池的入口,所述流化床反应器的液体出口连接所述活性碳滤池,所述活性碳滤池的出口连接所述二级沉淀池的入口,所述二级沉淀池设有污泥排放口和污水排放口;本实用新型节能高效,可以除去废水中的SO42-、H2S、有机物和硝态氮,使废水达到排放标准。

标签:
废水处理
广东 - 广州 来源:中冶有色网 2023-03-19
多级的流动球面水膜式废气处理装置

本实用新型公开一种多级的流动球面水膜式废气处理装置,其包括空气处理管和输液管,所述设置有至少一个向下弯曲部,所述向下弯曲部的两侧管腔内设置有喷淋管,所述喷淋管与所述输液管连接相通,所述喷淋管在所述管腔内形成水膜。所述空气处理管下设置有废水池,所述向下弯曲部的最底端设置有排液口正对着废水池。本实用新型具有如下优点:结构简单,生产制造、使用和维护的成本低,且风阻小,过滤效率高;没有过滤网,所以生产制造、使用和维护的成本很低;耗电量低。

标签:
废水处理
广东 - 广州 来源:中冶有色网 2023-03-19
用于非牛顿流体的换热器

本实用新型公开了一种用于非牛顿流体的换热器,包括封头、壳体、螺旋折流板、传热管、定距管、管板;在管板之间设有螺旋折流板、传热管及定距管,螺旋折流板由定距管固定;传热管为椭圆管;多个传热管按不同排布构成了管束,定距管和管束穿过螺旋折流板,采用螺旋折流板进行支撑,并两端分别与管板相连接;在封头上设有工艺热水的出口和工艺冷水的进口,在壳体上设有高温余热废水的进口和换热后低温余热废水的出口。本实用新型的换热器壳程具有流体流动均匀、压降低、没有死区、不易结垢、传热系数高、流阻低,能实现对高粘度非牛顿流体进行传热强化。

标签:
废水处理
广东 - 广州 来源:中冶有色网 2023-03-19
三相三维电极光催化反应器

本实用新型涉及一种三相三维电极光催化反应 器,及其用于处理有机废水。该光催化反应器由壳体9、三维 粒子电极10、阴电极微孔钛板5、阳电极钛网7以及光源UV 灯2和光催化剂4构成。它将三相三维电极和光催化技术巧妙 结合,不仅能利用阳极地偏压有效地捕获光生电子,提高二氧 化钛的光催化氧化效率,而且能利用三维阴极现场产生强氧化 剂H2O2的间接电化学氧化和此H2O2的光催化氧化。此外,该反应器利用微孔金属钛板将一个馈电极和曝气板合二为一,不仅使反应器结构紧奏和合理,而且此钛板的孔径很小,能产生极为均匀的微小气泡,能增加空气中的氧气在水中的溶解速度,因而提高了光催化去除有机污染物的效率。该光催化反应器特别适用于高效处理有机废水。

标签:
废水处理
广东 - 广州 来源:中冶有色网 2023-03-19
除味空气净化装置
除味空气净化装置 983     
 0

本实用新型涉及空气过滤技术领域,且公开了一种除味空气净化装置,包括箱体和电动百叶窗,所述电动百叶窗固定于箱体的表面,所述箱体内腔的顶部固定有过滤箱,所述过滤箱的下侧设置有净水箱,所述净水箱的下侧设置有喷淋室,所述喷淋室的下侧设置有废水箱,所述过滤箱、净水箱、喷淋室和废水箱均固定于箱体的内腔中,所述过滤箱的内腔活动设置有若干个过滤板,所述过滤板贯穿过滤箱直至箱体的外侧,所述过滤箱的后侧固定有鼓风机;本实用新型在对空气净化过程中,可以采用喷淋机构中的回水结构,使得水资源使用重复利用,并且空气净化后,还可以选择是否对净化的空气后进行干燥,用以达到降低空气中水分含量的效果。

标签:
废水处理
广东 - 广州 来源:中冶有色网 2023-03-19
中水回用处理装置
中水回用处理装置 1235     
 0

本实用新型涉及一种中水回用处理装置,该装置包括电控系统和废水处理单元,所述的废水处理单元包括依次连接的集水池、第一级生化池、沉淀池、第二级生物吸附池和杀菌池;所述第一级生化池和第二级生物吸附池中设有曝气装置;所述第二级生物吸附池与集水池或者第一级生化池经反冲洗泵连通。本实用新型的装置可以广泛用于各类中水回用处理。

标签:
废水处理
广东 - 广州 来源:中冶有色网 2023-03-19
带有紫外脱色功能的曝气生物滤池装置

本实用新型公开了一种带有紫外脱色功能的曝气生物滤池装置,包括滤池,下部进水管和位于滤池外侧壁上部的出水堰;所述滤池内设有通过滤板相连通的化学反应区和曝气生物滤池反应区,所述进水管与所述化学反应区相连通。本实用新型通过将化学反应区与曝气生物滤池反应区相结合的方式,实现废水中有机物的去除和降低色度的目的,为难生物降解的印染废水的深度处理提供了有效的解决方法。

标签:
废水处理
广东 - 广州 来源:中冶有色网 2023-03-19
废酸中金属盐与游离酸树脂吸附分离设备

本实用新型公开了一种废酸中金属盐与游离酸树脂吸附分离设备,包括分离箱、沉降箱、中转箱、环形树脂和清水池,沉降箱一侧的下部固定连接有过滤筒,过滤筒的一端固定连接有精密过滤器,分离箱的内部固定有环架,环架的外侧套设有环形树脂,分离箱的上端固定有气缸,气缸的底端通过连接架与喷管固定连接,喷管的底端固定有旋转喷头,环架内侧的底端放置有底层树脂,含盐废水储箱的一侧放置有含酸废液储箱。本实用新型通过设置过滤板、过滤筒、精密过滤器、环架、环形树脂、底层树脂、气缸、旋转喷头、含盐废水储箱、含酸废液储箱,解决了缺少预处理过滤功能、树脂吸附分离方式不够彻底和无法快速获得分离后的游离酸废液的问题。

标签:
废水处理
广东 - 广州 来源:中冶有色网 2023-03-19
新型内循环芬顿流化床设备

本实用新型公开一种新型内循环芬顿流化床设备,包括塔体、进水管、循环管、高效异相催化反应区、滤板及喷淋装置,进水管前设废水提升泵,进水管与废水提升泵间装亚铁加药管,塔底设置喷淋装置,喷淋装置上部从下至上依次设置滤板、高效异相催化反应区、固液分离区、出流区,塔体外置循环泵及回流管。本实用新型通过设置固液分离区,有效截留反应过程中产生的大量铁氧体,减少了亚铁盐的投加量;同时通过增加循环管喷淋装置,回流液经喷淋装置后产生均匀、大小适中的喷雾,增大其与亚铁的接触面积,缩短反应时间及降低药品消耗,使Fenton高级氧化工艺更适宜大规模推广应用。

标签:
废水处理
广东 - 广州 来源:中冶有色网 2023-03-19
一体化污水处理系统
一体化污水处理系统 761     
 0

本实用新型公开了一种一体化污水处理系统,包括集水池、斜管沉淀池、中间水池、UASB反应器、厌氧池、缺氧池、好氧池和MBR膜池,所述集水池用于储存化妆品废水,所述集水池通过管道和泵与斜管沉淀池连接,斜管沉淀池、中间水池、UASB反应器、厌氧池、缺氧池、好氧池和MBR膜池依次连接,且所述斜管沉淀池还与烧碱储罐、PAC储罐和PAM储罐保持连通,所述MBR膜池与清水池连接,清水池与监测排放池连接,所述监测排放池上安装有用于对水质进行检测的检测设备,本实用新型的有益效果是:化妆品废水可以经过多层次的处理,可以得到可靠和稳定的高品质产水,同时设计紧凑,节省投资,可以在高容积负荷、低污泥负荷下运行,剩余污泥产量低。

标签:
废水处理
广东 - 广州 来源:中冶有色网 2023-03-19
光电联合催化反应器
光电联合催化反应器 945     
 0

本实用新型公开了一种光电联合催化反应器,包括箱体、蜂窝陶瓷块、光催化部件和电极板,所述箱体左右两端分别设有输送废水的进水管和出水管;所述进水管右侧为光催化反应区,所述光催化反应区内设置了至少两组光催化部件,每一组光催化部件四周均设有固载了催化剂的蜂窝陶瓷块,蜂窝陶瓷块围成正方形,光催化部件到每一块蜂窝陶瓷块的距离都相等;所述光催化反应区右侧为电催化反应区,所述电催化反应区内设置了至少两组的电极板,每组电极板间的间距都相等;本实用新型的反应器将光催化技术与电催化技术联合使用,相当于废水经过了两级处理,同时解决了光催化技术与电催化技术在实际应用中存在的问题。

标签:
废水处理
广东 - 广州 来源:中冶有色网 2023-03-19
臭氧联合改性活性炭催化剂的双催化体系一体化设备

本实用新型公开了一种臭氧联合改性活性炭催化剂的双催化体系一体化设备,包括反应塔体,反应塔体为顶部设有尾气排放管且能够封闭的密闭腔体,反应塔体至少包括自下而上的气水混合层、填料层和出水层,填料层位于所述气水混合层和出水层之间,所述气水混合层连通臭氧发生系统和废水进水系统,所述填料层和所述气水混合层之间由开设有布水孔的承托布水板隔开,所述填料层装填有改性活性炭催化剂,所述出水层连通有回流系统和出水堰,所述回流系统与所述出水层的连接口高度低于所述出水堰的高度,所述回流系统将所述出水层的部分废水与所述臭氧发生系统产生的臭氧混合后送入所述气水混合层,本实用新型提高了臭氧利用率,可达到更高的排放标准。

标签:
废水处理
广东 - 广州 来源:中冶有色网 2023-03-19
废液净化环保设备
废液净化环保设备 748     
 0

本实用新型属于废水处理技术领域,公开了一种废液净化环保设备,包括保护壳,所述保护壳的内壁滑动连接有挡板,所述挡板的下端固定安装有过滤桶,所述保护壳的内壁滑动连接有固定块,所述固定块的下端固安装有连接管,所述过滤桶的右端设置有供连接管活动连接的连接槽,所述保护壳的内壁固定安装有处理槽,所述处理槽的下端固定安装有防水电机,所述防水电机的上端中间固定安装有传动杆,所述传动杆的上端固定安装有转动板,所述转动板的上端固定安装有等距离的加热杆,所述处理槽的表面表面开设有漏水槽,所述保护壳的内壁固定安装有过滤板,所述保护壳的右端上侧固定安装有进水管,该实用装置内部结构,可以加快处理废水的速度。

标签:
废水处理
广东 - 广州 来源:中冶有色网 2023-03-19
自清洁板框压滤机
自清洁板框压滤机 925     
 0

本实用新型公开了一种自清洁板框压滤机,具体涉及压滤机领域,可调接水机构;所述可调接水机构包括固定块,所述固定块两侧均固定设有S形板,所述S形板上贯穿设有第一转杆,所述第一转杆外侧套接设有凹轮,所述凹轮外侧设有传动绳,所述传动绳一端固定设有拉环以及另一端固定设有卷绕轮,所述拉环底部设有接水斗,所述接水斗底部设有排水管以及后侧固定设有横杆,所述横杆端部外侧套接设有轴承,所述卷绕轮一侧设有第一电机。本实用新型可以避免废水直接落入到工作环境中,导致工作环境过于潮湿,不易保持清洁的情况发生,可以防止高盐分的废水对设备组件造成腐蚀,有效延长了设备使用寿命,同时不会对后续的固定料饼收集造成影响。

标签:
废水处理
广东 - 广州 来源:中冶有色网 2023-03-19
余热回收用螺旋折流板支撑双面强化管管束换热器

本实用新型公开了一种余热回收用螺旋折流板支撑双面强化管管束换热器,包括封头、壳体、螺旋折流板、传热管、定距管、管板,在管板之间设有螺旋折流板、传热管及定距管,螺旋折流板由定距管固定;所述传热管为双面强化管,管壁外表面上设有三维翅片,管壁内表面上设有三维凸肋;定距管和传热管穿过螺旋折流板,采用螺旋折流板进行支撑,并两端分别与管板相连接;在封头上设有工艺热水的出口和工艺冷水的进口,在壳体上设有高温余热废水的进口和换热后低温余热废水的出口。本实用新型的换热器具有流体流动均匀、压降低、没有死区、不易结垢、传热系数高、流阻低,能实现余热的高效回收利用。

标签:
废水处理
广东 - 广州 来源:中冶有色网 2023-03-19
脉冲布水式水解酸化系统

本实用新型公开了一种脉冲布水式水解酸化系统,包括厌氧池、布水总管、配水渠和脉冲布水器,配水渠位于所述厌氧池的最上端,且配水渠上设有进水管,脉冲布水器通过虹吸管与布水总管相连,且布水总管的上端设有V型堰口,其下端与分布在厌氧池池底的脉冲布水头相连接;布水总管底部垂直连接布水主管,且其上均匀垂直连接若干布水支管,布水支管与所述脉冲布水头相连通。本实用新型优选实施例提供的脉冲布水式水解酸化系统,使难降解的废水经水解酸化处理后,转化为挥发性中间产物,有效地提高了废水的可生化性;在脉冲布水器中设置虹吸管、钟罩和U型管,对厌氧池内形成周期性的脉冲进水,使有机物与微生物得到充分的接触反应,处理效率高。

标签:
废水处理
广东 - 广州 来源:中冶有色网 2023-03-19
电镀水进气过滤循环利用装置

本实用新型涉及金属电镀领域,尤指一种电镀水进气过滤循环利用装置,包括进气过滤装置,还包括与进气过滤装置通过管路依次连接集水槽、循环抽水泵、废水过滤装置,所述的进气过滤装置包括进水口、蜂窝网的喷淋区、水箱、出水口,所述的进水口设于蜂窝网的喷淋区上方,所述的蜂窝网的喷淋区设于水箱的上方,所述的出水口设于水箱一侧,所述的出水口通过管路与集水槽连接,所述的废水过滤装置包括壳体和壳体内依次设有硅藻土层、氨化大豆秸秆层、丙酮层和微孔膜层。

标签:
废水处理
广东 - 广州 来源:中冶有色网 2023-03-19
托玛琳直饮水机
托玛琳直饮水机 768     
 0

本实用新型涉及饮水机技术领域,特别涉及托玛琳直饮水机。在本实用新型中,从进水管内通入自来水,通过第一过滤器、第二过滤器、第三过滤器、第四过滤器和第五过滤器,经过五层过滤,再从出水管排出过滤后的水,第四过滤器内含有托玛琳粉末的逆渗透膜,具有活化水分子功能和产生负离子,可以调节脏腑功能,增强人体各器官生理功能,排除体内重金属,乳酸,尿酸,自由基等有害物质,激发人体各腺体机能产生各类激素;废水排出管可以从第四过滤器处进行废水排出处理;本实用新型经过五层过滤,过滤水中杂质,过滤效果好,制出干净的纯水。

标签:
废水处理
广东 - 广州 来源:中冶有色网 2023-03-19
染色机的节水保压装置
染色机的节水保压装置 1069     
 0

一种染色机的节水保压装置,包括缸体、主泵、碎毛器、换热器、料桶和循环泵:所述缸体设第一管道与循环泵连接,所述主泵设第二管道与第一管道连接,所述主泵设第三管道与碎毛器连接,所述碎毛器设第四管道与换热器连接,所述碎毛器设第五管道与料桶连接,所述换热器设第六管道与缸体连接,所述料桶设第七管道与缸体连接,所述第七管道上设有单向阀,所述循环泵设第八管道与第七管道连接,所述缸体设有加压阀、减压阀和安全阀,所述缸体还设有封头积水排放阀和溢流阀。本实用新型将原本染色机废水循环提供给染色机作为染色用水,废水加压、再过滤后重新流至喷嘴继续使用,节约染色过程中净水和染色原料的用量,从而达到较好的成本管控。

标签:
废水处理
广东 - 广州 来源:中冶有色网 2023-03-19
上一页 13 14 15 16 17 ... 91 下一页
共91页    到第

中冶有色为您提供最新的广东广州有色金属废水处理技术理论与应用信息,涵盖发明专利、权利要求、说明书、技术领域、背景技术、实用新型内容及具体实施方式等有色技术内容。打造最具专业性的有色金属技术理论与应用平台!

全国热门有色金属设备推荐
展开更多 +
全国热门有色金属技术推荐
展开更多 +

 

江西省隆恩特环保设备有限公司
宣传

报名参会
更多+

报告下载

有色专家
更多+

有研科技集团有限公司
中国工程院 院士
矿冶科技集团有限公司
所长/研究员级高工
矿冶科技集团有限公司工程公司
副总经理
江西理工大学
副处长/教授
西安建筑科技大学
教授
赤泥综合利用研究报告2025
推广

热门技术
更多+

推荐企业
更多+

福建省金龙稀土股份有限公司
宣传

发布

在线客服

公众号

电话

顶部
咨询电话:
010-88793500-807