青岛垚鑫智能科技有限公司
宣传

位置:中冶有色 >

有色技术频道 >

> 复合材料技术

分类:
全部
矿山技术
冶金技术
材料制备及加工技术
环境保护技术
分析检测技术
 
全部
功能材料技术
复合材料技术
新能源材料技术
合金材料技术
加工技术
地区:
全部
北京
天津
上海
重庆
河北
山西
辽宁
吉林
黑龙江
江苏
浙江
安徽
福建
江西
山东
河南
湖北
湖南
广东
海南
四川
贵州
云南
陕西
甘肃
青海
内蒙
广西
西藏
宁夏
新疆
其他
其他
展开
 
全部
杭州
宁波
温州
绍兴
湖州
嘉兴
金华
衢州
台州
丽水
舟山

浙江嘉兴有色金属复合材料技术理论与应用

免费发布技术信息>>
低收缩、抗菌改性聚丙烯复合材料及其制备方法

本发明公开了一种低收缩、抗菌改性聚丙烯复合材料及其制备方法,由以下重量百分比计的原料组成:聚丙烯80~93.9%,氧化锌晶须5~15%,相容剂1~3%,抗氧剂0.1~2%,其他助剂0~3%。本发明利用四针状氧化锌晶须特殊的立体四针状结构,使其在组合物中起到具有完全各向同性的增强、改性作用,保证了材料和制品的力学性能、尺寸均匀性,尖端纳米活性;同时其非严格化学配比的半导体特性,使其具有释放活性氧的作用,宏观表现为高效、广谱、持久的抗菌和环境净化作用。将四针状氧化锌晶须加入聚丙烯中,所制备的改性聚丙烯材料具有收缩率低,尺寸稳定性好,同时赋予了聚丙烯材料抗菌净化性能。可用于制作对产品尺寸要求高的汽车零部件。

标签:
复合材料
浙江 - 嘉兴 来源:中冶有色网 2023-03-18
复合材料大巴车外壳覆盖件静置架

本实用新型公开了一种复合材料大巴车外壳覆盖件静置架。本实用新型包括:静置架本体。静置架本体包括静置架框架和静置架底板;静置架底板包括底板本体和木块;静置架底板上设有静置平台;静置平台远离静置架底板一侧的外表面设有与大巴车外壳覆盖件相匹配的凸起。静置架的静置平台主要由凝固后的发泡胶制作而成,且表面由标准的大巴车外壳覆盖件压制成型而成,因而其与大巴车外壳覆盖件能够紧密配合、不会再有悬空现象,这样在放置大巴车外壳覆盖件时,其整个覆盖件的面都能受到均匀地支撑,不会再有不均匀应力产生的变形现象,最大限度的保障产品质量。本实用新型的大巴车外壳覆盖件静置架制作简单,造价便宜,可适用于类似产品。

标签:
复合材料
浙江 - 嘉兴 来源:中冶有色网 2023-03-18
碳纤维缠绕复合材料气瓶缺陷的微波检测方法

本发明公开了一种碳纤维缠绕复合材料气瓶缺陷的微波检测方法,包括如下步骤,S1:气瓶的准备,制作瓶身无缺陷和有缺陷的气瓶试样;S2:确定最佳检测频率,采用频率扫描的方法对无缺陷瓶身扫描测定气瓶瓶身材料的特征频率,并将此频率作为对气瓶瓶身缺陷检测的最佳检测频率;S3:在最佳检测频率下,使用波导探头对含有缺陷的气瓶扫描检测,根据检测结果建立常规缺陷特征反射系数数据库;S4:缺陷种类的确定,在最佳检测频率下,使用波导探头对待检测的气瓶瓶身进行扫描检测,根据检测结果确定缺陷的种类;S5:缺陷位置的确定,在检测到存在缺陷时,记录此时波导探头的位置信息为缺陷位置,本发明能够准确的确定缺陷种类、尺寸。

标签:
复合材料
浙江 - 嘉兴 来源:中冶有色网 2023-03-18
复合材料的轻型膜结构

本实用新型涉及一种复合材料的轻型膜结构,主要包括涤纶丝编织物制成的基布,基布上通过PVC涂层剂涂覆有氟树脂层。本实用新型所述的基布正反二面均涂覆有氟树脂层,所述的基布正面均涂覆有氟树脂层,反面涂覆有丙烯酸酯层。本实用新型有益的效果是:本实用新型以聚酯(涤纶长丝)编织物为基布,以PVC涂层剂作涂层,顶层涂氟树脂,可以双面涂覆,也可以正面涂氟树脂,反面涂丙烯酸,所制膜材料具有明显的性价比优势,在国内受到普遍青睐。

标签:
复合材料
浙江 - 嘉兴 来源:中冶有色网 2023-03-18
应用复合材料的金属纽扣及其生产工艺

本发明公开了一种应用复合材料的金属纽扣,涉及金属材料技术领域,其技术要点是:包括如下重量份数的组分:复合层:6~10份;不锈钢层:80~92份;所述复合层包括铜;所述复合层的厚度为0.16~0.32mm,所述不锈钢层的厚度为1.84~3.68mm。不锈钢层作为主体,铜材料作为复合层,既降低生产成本,又使得金属纽扣具有高强度、高硬度和抗蠕变性能优异的特点。

标签:
复合材料
浙江 - 嘉兴 来源:中冶有色网 2023-03-18
网格布芯材复合材料
网格布芯材复合材料 784     
 0

本实用新型提供一种网格布芯材复合材料,包括芯材,芯材的至少一面设有加固层和开槽,加固层为网格布,网格布上分布有多个网格孔,网格孔的孔径大小相同或不同,网格布采用多根纤维丝编织而成,纤维丝为复合皮芯结构,纤维丝包括芯层,芯层外包裹有外层,多根纤维丝包括第一经线、第二经线,第一经线和第二经线平行设置,纬线设置在第一经线和第二经线之间,第一经线和第二经线呈S形分别绕纬线曲回设置。芯材的至少一面设有加固层和开槽,开槽使芯材最大限度的促进真空灌注过程中树脂的流动,提高整体强度,为防止开槽之后的板断裂或散块,使用加固层进行固定,增强结合力,粘结力强,提高了整体的强度,即保证强度和粘结性,实用性较强。

标签:
复合材料
浙江 - 嘉兴 来源:中冶有色网 2023-03-18
复合材料制备过程中预浸料铺贴预压实工装

本实用新型公开一种复合材料制备过程中预浸料铺贴预压实工装,包括箱体、压板、钢化玻璃和辅助材料,所述箱体的顶部安装有支撑座,所述支撑座的顶部安装有钢化玻璃,所述箱体内部的底壁四角安装有呈矩形布置的伸缩杆,所述伸缩杆的顶部安装有压板,所述压板的底部通过合页安装有盛放架,所述盛放架的顶部放置有辅助材料,所述盛放架远离合页的一侧安装有插销,所述压板的底部设置有插孔,且插孔与插销相连接。本实用新型通过将辅助材料铺放在盛放架上,预浸料胚料铺放在钢化玻璃上,通过伸缩杆带动压板向下压预浸料胚料,同时盛放架与密封槽组成封闭结构由真空泵抽真空处理,压实结束后,盛放架上的辅助材料可直接循环使用,并且方便更换。

标签:
复合材料
浙江 - 嘉兴 来源:中冶有色网 2023-03-18
高导热碳纤维复合材料的制备装置

本实用新型涉及一种高导热碳纤维复合材料的制备装置。它解决了现有技术中碳纤维布置预浸料制成复合碳纤维的过程中浸料效果不佳的问题。它包括热压平台,热压平台上设有定位框体,热压平台上端面设有预浸料定位结构,且定位框体与热压平台两侧通过滑动机构设有用于刮平预浸料且可沿热压平台进行轴向移动的刮料组件,刮料组件两端与滑动机构相连,且定位框体上设有与热压平台上端面呈对应设置的模压组件,模压组件上端连接有能够驱动定位框体进行升降运动从而与热压平台相互贴合或分离的驱动气缸。本实用新型的优点在于:能够对预浸料进行有效定位和刮平,提高浸料效果。

标签:
复合材料
浙江 - 嘉兴 来源:中冶有色网 2023-03-18
五面体复合材料盒型肋零件成型工装

本实用新型公开了一种五面体复合材料盒型肋零件成型工装,包括平台、连接杆和调节握把,所述平台的一侧外壁安装有对称布置的连接杆,所述平台的正面安装有调节握把,所述调节握把包括有支撑杆、凸块、齿轮、齿条、挡板和连接板,所述平台的顶部嵌合安装有凸块,且凸块的一端延伸进入平台的内部,所述凸块的底端安装有连接板,所述连接板的一侧外壁安装有齿条,所述连接板的底部连接有挡板,所述调节握把的背面安装有支撑杆,且支撑杆贯穿平台的内部,所述支撑杆的表面环绕安装有对称布置的齿轮,且齿轮和齿条啮合连接。本实用新型通过在使用过程中将盒型肋固定在平台上,避免了在压力等因素的干扰下,盒型肋发生偏移后造成的精度不准确的问题。

标签:
复合材料
浙江 - 嘉兴 来源:中冶有色网 2023-03-18
纤维增强高性能热塑性复合材料的制备装置

本实用新型涉及一种纤维增强高性能热塑性复合材料的制备装置,包括机器手及固定在机器手上的视觉定位系统;所述视觉定位系统下方设置有负压吸盘,负压吸盘底部设置有多轴加工中心;所述多轴加工中心在水平面沿X、Y、Z轴方向上往复移动,所述多轴加工中心上设置有用于放置样品的试样台;所述试样台正上方设置真空吸嘴,真空吸嘴位于负压吸盘底部,真空吸嘴上方通过密封管路与真空泵相连;装置通过多轴加工中心协调工作,结合视觉定位系统,可实现高精度地将样品贴装于试样台上准确的位置;且真空吸嘴可实现高真空。所以适于各种大小、形状的样品;结构合理,操作简单。

标签:
复合材料
浙江 - 嘉兴 来源:中冶有色网 2023-03-18
复合材料扶手固定件
复合材料扶手固定件 761     
 0

本实用新型提出一种复合材料扶手固定件,包含由酚醛玻璃钢模压成型的固定件本体,该固定件本体上具有用于连接扶手杆的套环,以及用于与墙体固接的连接板,固定件本体上还具有支撑片,支撑片将套环与连接板相连,套环与支撑片以及连接板模压成型;套环上设有定位孔,该定位孔使套环内外相通,扶手杆从套环内穿过,由紧定螺钉旋入定位孔中将扶手杆固定;套环外壁具有弧形凸起面,使套环呈鼓形,以便与手部贴合,提升持握舒适感;套环的端部边缘具有倒角,以避免棱边将衣物或身体划伤;该固定件采用酚醛玻璃钢一体成型,具有防腐蚀、防火等特性,并且使结构稳定性大为提升,其套环外壁采用弧形结构,可有效改善使用者的手感,避免对衣物及身体造成伤害。

标签:
复合材料
浙江 - 嘉兴 来源:中冶有色网 2023-03-18
复合材料振膜结构
复合材料振膜结构 714     
 0

本发明涉及扬声器技术领域,尤其是一种复合材料振膜结构,包括与扬声器支架连接的外边部分和与中心部球顶连接的折环圆弧形结构部分,所述外边部分与折环圆弧形结构部分为一体设计,所述的振膜至少包括一层基材层,所述基材层为尼龙基体硅橡胶共聚合金高分子材料,本发明的振膜具有韧性好,有较高的抗拉抗压强度,耐疲劳性,耐热,更好的耐磨性,易成型,更适合扬声器振膜设计。

标签:
复合材料
浙江 - 嘉兴 来源:中冶有色网 2023-03-18
具有永久亲水性的含氟聚合物复合材料及其制备方法

本发明公开一种具有永久亲水性的含氟聚合物复合材料及其制备方法。将土耳其红油与含氟聚合物熔融共混,然后经电子束辐照后,土耳其红油的双键打开接枝到含氟聚合物分子链上,进而实现土耳其红油与含氟聚合物通过化学键实现连接,使得材料具有永久亲水的特性。本发明通过化学键实现亲水改性剂和聚合物分子的连接,避免土耳其红油(亲水改性剂)在长期使用过程中因迁移等原因造成的流失,使材料能够保持永久的亲水特性。

标签:
复合材料
浙江 - 嘉兴 来源:中冶有色网 2023-03-18
采用复合材料的纤维自动切割装置

一种采用复合材料的纤维自动切割装置,它包括一能够带动相连的从动轮转动、并继而带动啮合出丝滚轮旋转的切割驱动总成,还包括一用于纤维丝进入的穿丝管,所述穿丝管的内端部位于从动轮和出丝滚轮的啮合处,并通过从动轮和出丝滚轮的旋转将纤维丝抽拉送至从动轮与切割刀片处,并在经过从动轮与切割刀片时被切割刀片切断;所述的从动轮上配置有能够检测从动轮转速的转速传感器,且所述转速传感器连接控制系统PLC;所述的从动轮安装在从动轮支架上,而所述切割刀片被安装在刀片架上,而所述切割驱动总成安装在切割器架上面;它具有可大大提高稳定性和使用寿命,且更换维护便捷,有利于纤维封层技术推广和应用等特点。

标签:
复合材料
浙江 - 嘉兴 来源:中冶有色网 2023-03-18
能作为先进复合材料增强基材的玻璃纤维

本发明公开了一种能作为先进复合材料增强基材的玻璃纤维,该玻璃纤维含有下述组分,各组分的含量以重量百分比表示如下:SIO2?57~65%,AL2O3?14~20%,CAO?8~13%,MGO?7~12%,CAO+MGO<23%,NA2O+K2O?0.05~2%,FE2O3?0.05~1%。本发明通过对组分的优选和组合,在保持玻璃纤维的成型温度、液相线温度及澄清温度相对较低的同时,其机械性能相比于传统E玻璃纤维有了很大提高,单丝强度的提高幅度可高达26%,且总体成本尽可能接近或低于传统E玻璃纤维的成本,易于实现大规模工业化生产。

标签:
复合材料
浙江 - 嘉兴 来源:中冶有色网 2023-03-18
金属基材及加工线、复合材料及加工线

本实用新型涉及一种金属基材及加工线、复合材料及加工线。它解决了现有技术设计不合理等缺陷。本金属基材加工线包括激光雕刻单元,用于在金属基材的一表面雕刻形成纵横交错的网格结构;化学粗化单元,用于对经过激光雕刻单元加工后的金属基材的金属表面以及纵横交错的网格结构进行化学粗化;浸泡单元,用于对经过化学粗化单元处理后的金属基材进行蚀刻浸泡;干燥单元,用于对浸泡单元处理后的金属板材进行干燥。本申请优点:结合三维激光雕刻和化学粗化结合的表面处理方式,最后在增设胺类化合物,形成偶联层,通过以上处理的金属在和塑胶结合时,能够表现出超强和超稳定的结合力。

标签:
复合材料
浙江 - 嘉兴 来源:中冶有色网 2023-03-18
复合材料试样加工辅助工装

本发明公开了一种复合材料试样加工辅助工装,包括底板,底板底壁的四角上固接支撑腿,将材料卷嵌装在定板中,电机二将丝杠轴进行转动,丝杠轴的转动在螺纹环的作用下将滑片和滑块进行在内嵌槽中进行位移,滑块进行位移,从而将已通过齿块夹持的材料片进行拉动,在滑片位移的同时伸缩杆将刮片伸出至材料片的顶壁对材料片顶部通过漏孔涂覆的胶水进行展开,通过旋动螺栓将定位块压制在展开后的材料片的侧边,对材料片进行定位,当材料片展开到适合长度时,手动将材料片进行裁断;将压块放置在材料片上,这时即可操作下压部将压紧结构进行下降,这时即可通过压紧结构对压块进行按压,实施胶水固化操作。

标签:
复合材料
浙江 - 嘉兴 来源:中冶有色网 2023-03-18
全生物基高降解复合材料及其制备方法

本发明属于高分子聚合物改性领域,具体涉及一种可注塑可全降解的材料改性方案。本发明提供的全生物基高降解复合材料,包括以下重量份的原料:聚乳酸50‑80份、生物基聚酰胺510 1‑20份、滑石粉1‑20份、增韧剂1‑10份、硅烷偶联剂0.1‑0.5份、抗氧剂0.1‑0.5份、表面处理剂0.1‑0.5份。本发明通过以聚乳酸、生物基聚酰胺510、滑石粉为原料实现生物降解,通过以增韧剂、硅烷偶联剂、抗氧剂和表面处理剂为复合助剂进行材料改性,改善了材料体系的注塑加工性能,提高了力学强度,具有优良的生物降解性,并可回收再使用,本发明能够实现快速高程度生物降解,并可以应用在更多的注塑类产品上,可循环再利用,减少对环境的污染,制备方法简单。

标签:
复合材料
浙江 - 嘉兴 来源:中冶有色网 2023-03-18
高铁密封件用高强橡胶复合材料及其制备方法

本发明公开了一种高铁密封件用高强橡胶复合材料及其制备方法,包括下列步骤:S1:原料准备;S2:将天然橡胶送入密炼机,在温度为140~150℃的条件下进行素炼10~15min,出料;S3:将丁腈橡胶、经步骤1)素炼后的天然橡胶、苯醚撑硅橡胶、马来酸酐接枝聚乙烯在开炼机进行开炼混合,混炼均匀后,得到混合硅橡胶;S4:将混合硅橡胶送入密炼机中,加入白炭黑、三氧化二铝、氧化锌、抗老化剂、热稳定剂,混炼;继续混炼;然后降温加入二异氰酸甲苯酯、交联剂,继续混炼;然后排胶,经开炼机翻炼后下片、冷却;S5:压延成型;S6:将压延成型后的半成品裁切加工形成规则形状的橡胶颗粒;S7:将橡胶颗粒送入到模具的模腔内,然后经由硫化机硫化后获得密封圈成品。

标签:
复合材料
浙江 - 嘉兴 来源:中冶有色网 2023-03-18
六分瓣碳纤维复合材料天线结构

本实用新型提供了一种六分瓣碳纤维复合材料天线结构,属于天线技术领域。它包括中心反射面板以及若干沿周向设置的扇瓣反射面板,所述的扇瓣反射面板可拆卸的固定设置在中心反射面板上,且相邻的两块扇瓣反射面板侧壁互相抵靠,若干扇瓣反射面板组合形成呈环形的外反射面板,所述的中心反射面板上还设有用于固定扇瓣反射面板的可拆卸骨架结构。扇瓣反射面板通过可拆卸骨架结构固定在中心反射面板上,可拆卸骨架结构能将若干扇瓣反射面板合围形成外反射面板,且可拆卸骨架结构能便于扇瓣反射面板的拆装,方便运输,且不同的扇瓣反射面板能够相互替换,当扇瓣反射面板损坏时也能方便用替换件进行替换。

标签:
复合材料
浙江 - 嘉兴 来源:中冶有色网 2023-03-18
采用复合材料的纤维自动切割装置

一种采用复合材料的纤维自动切割装置,它包括一能够带动相连的从动轮转动、并继而带动啮合出丝滚轮旋转的切割驱动总成,还包括一用于纤维丝进入的穿丝管,所述穿丝管的内端部位于从动轮和出丝滚轮的啮合处,并通过从动轮和出丝滚轮的旋转将纤维丝抽拉送至从动轮与切割刀片处,并在经过从动轮与切割刀片时被切割刀片切断;所述的从动轮上配置有能够检测从动轮转速的转速传感器,且所述转速传感器连接控制系统PLC;所述的从动轮安装在从动轮支架上,而所述切割刀片被安装在刀片架上,而所述切割驱动总成安装在切割器架上面;它具有可大大提高稳定性和使用寿命,且更换维护便捷,有利于纤维封层技术推广和应用等特点。

标签:
复合材料
浙江 - 嘉兴 来源:中冶有色网 2023-03-18
卫生用复合材料芯层的超声波复合装置

本申请公开了一种卫生用复合材料芯层的超声波复合装置,其包括用于烘干芯层的烘缸、用于传递芯层的传递机构和给芯层与烘缸外表面喷洒能使得芯层蓬松化的药剂的喷淋机构,传递机构包括压辊、导辊和张紧在压辊与导辊上的传送带,传送带和烘缸反向转动;喷淋机构设置在导辊、压辊和烘缸之间,喷淋机构包括超声波雾化器和数个喷淋管,喷淋管可以向未传递到烘缸表面上的芯层和烘缸外侧壁上喷洒药剂,喷淋管与超声波雾化器之间相接通。本申请具有改善吸水芯层蓬松性的效果。

标签:
复合材料
浙江 - 嘉兴 来源:中冶有色网 2023-03-18
玻璃纤维组合物及其玻璃纤维和复合材料

本发明提供一种玻璃纤维组合物及其玻璃纤维和复合材料。其中,玻璃纤维组合物各组分的含量以重量百分比表示如下:SiO2为57.4‑60.9%,Al2O3为大于17%且小于等于19.8%,MgO为大于9%且小于等于12.8%,CaO为6.4‑11.8%,SrO为0‑1.6%,Na2O+K2O为0.1‑1.1%,Fe2O3为0.05‑1%,TiO2为小于0.8%,SiO2+Al2O3为小于等于79.4%,并且上述组分的合计含量大于99%,重量百分比的比值C1=(Al2O3+MgO)/SiO2的范围为0.43‑0.56,重量百分比的比值C2=(CaO+MgO)/(SiO2+Al2O3)的范围为大于0.205。该玻璃纤维组合物能提高玻璃纤维的模量,能有效降低玻璃的析晶速率,并获得理想的玻纤成型范围△T值,还有利于改善玻璃的澄清效果,特别适合用于池窑化生产高性能玻璃纤维。

标签:
复合材料
浙江 - 嘉兴 来源:中冶有色网 2023-03-18
缓冲吸能摩托车头盔复合材料及制备方法

本发明涉及摩托车头盔技术领域,且公开了一种缓冲吸能摩托车头盔复合材料,包括高密度聚乙烯20‑50份、复合发泡剂3‑6份、交联剂0.1‑0.5份、增塑剂3‑4.5份、高强度碳纤维30‑40份、胶黏剂5‑10份、丙烯酸26‑30份、丙烯酰胺10‑15份、过硫化钾0.2‑0.4份、泡沫镍板2‑3份。增塑剂为环氧大豆油。本发明通过对现有摩托车头盔的材料进行改进,通过对现有工艺进行改进,使得摩托车头盔内部的材料缓冲性能和吸能性能进一步的提升,更加保障了使用者的安全。

标签:
复合材料
浙江 - 嘉兴 来源:中冶有色网 2023-03-18
碳钢与奥氏体不锈钢复合材料显微组织腐蚀剂及腐蚀方法

本发明提供一种碳钢与奥氏体不锈钢复合材料显微组织腐蚀剂及腐蚀方法,其安全可操作性好、侵蚀效果好、腐蚀后的试样组织显示效果好、污染少、腐蚀反应稳定。先配置成第一腐蚀剂或第二腐蚀剂,第一腐蚀剂各组分含量为:0.1~0.2g的硫酸铜、5~25ml的硝酸、5~20ml的无水乙醇、150~200ml的去离子水;第二腐蚀剂各组分含量为:0.2~0.5的硫酸铜、5~25ml的盐酸、5~15ml的双氧水、150~200ml的去离子水;将试样制成待测试样;将待测试样充分浸入第一腐蚀剂或第二腐蚀剂中,腐蚀15~120秒,得到粗腐蚀试样;将粗腐蚀试样冲洗,清洗后用酒精清洗,然后用冷风吹干,完成金相腐蚀。

标签:
复合材料
浙江 - 嘉兴 来源:中冶有色网 2023-03-18
以多孔聚合物微球为模板原位合成的多孔硅/碳复合材料及制备方法和锂离子电池

本发明涉及一种以多孔聚合物微球为模板原位合成的多孔硅/碳复合负极材料及制备方法和锂离子电池,制备过程包括:将多孔聚合物微球加入水中加热搅拌,得到悬浮溶液;向悬浮溶液中加入硅源,得到混合溶液;将混合溶液依次经过滤、去离子水洗涤、干燥,然后加入还原剂后研磨混合得到中间产物A;通过热还原过程处理中间产物A,得到中间产物B;将中间产物B进行酸洗,之后经去离子水洗涤、过滤、烘干,得到最终产物。与现有技术相比,本发明通过原位复合的得到的碳层能更好的改善硅负极的导电性、循环稳定性、充放电效率以及倍率性能等电化学性能,其独特的微纳米孔隙为硅预留了嵌锂膨胀空间,减小了该复合材料在充放电过程中的绝对体积变化。

标签:
复合材料
浙江 - 嘉兴 来源:中冶有色网 2023-03-18
装配式复合材料模板
装配式复合材料模板 778     
 0

本实用新型公开了一种装配式复合材料模板,包括模板主体、固定夹、限位杆、限位孔,所述模板主体由基板和侧板组成,基板呈矩形,基板的四个边上均设有侧板,四个侧板围成一个矩形框,侧板上设有若干个限位孔,相连的两个模板主体有两个侧板贴合在一起,两个贴合的侧板上的限位孔一一对应,两个贴合的侧板间通过若干个固定夹所固定,所述固定夹呈槽钢状,固定架的各个内壁均与两个相贴合的侧板所组成的组合体所贴合,所述固定夹上横穿有一根限位杆,限位杆穿过两个贴合的侧板上的相对应的两个限位孔。本实用新型通过将固定夹、限位杆、限位孔相配合,使得模板主体便于进行连接,模板主体便于装配,且装配后不易松动,有效的保证了后续的浇注效果。

标签:
复合材料
浙江 - 嘉兴 来源:中冶有色网 2023-03-18
钛镁铝复合材料生产装置

本实用新型公开了钛镁铝复合材料生产装置,包括搅拌筒,所述搅拌筒水平两侧均固定安装有连接座,所述连接座下端固定安装有支撑柱,所述支撑柱下端固定安装有减震装置,所述搅拌筒上端固定安装有进料斗与固定座,所述固定座侧壁固定安装有搅拌装置,所述搅拌筒下端固定安装有出料管,所述出料管侧壁固定安装有阀门与连接柱,所述连接柱远离出料管的一侧固定连接有防堵装置。本实用新型,通过设置防堵装置,可以在下料的过程中,进行定期操作,使得气筒内的气体通过出气管和送气管进入出料管内,对堵塞的混合料进行疏通,保证了搅拌筒内的混合料能顺利排干净。

标签:
复合材料
浙江 - 嘉兴 来源:中冶有色网 2023-03-18
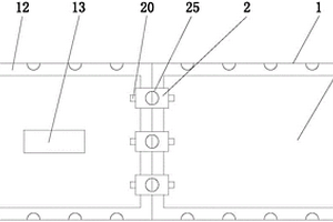
复合材料剪切测试样条应变片粘贴定位工装

本实用新型公开了一种复合材料剪切测试样条应变片粘贴定位工装,包括样条载台以及用于安装样条载台的底座;调节机构以及设置在调节机构上的划线机构;划线机构通过调节机构与底座滑动连接;本实用新型通过样条载台、调节机构以及划线机构相互配合,缩短确定测试样条定位线的时间,且通过调节机构控制划线机构,提高了测试样条绘制的精准度。

标签:
复合材料
浙江 - 嘉兴 来源:中冶有色网 2023-03-18
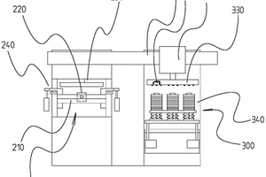
用于复合材料力学性能测试设备的夹具

本实用新型提供了一种复合材料测试设备夹具包括底板、固定板、一号内夹板、一号外夹板、导杆、顶板、二号内夹板和二号外夹板,固定板固定在底板上,一号内夹板安装在固定板上,一号外夹板与一号内夹板配合,导杆有固定端和升降端,固定端固定在底板上,顶板与升降端活动连接,二号内夹板安装于顶板,二号外夹板与二号内夹板配合,一号内夹板与一号外夹板都设置有卡槽,二号内夹板与二号外夹板都设置有卡槽。该夹具有效消除震动、结构简单、组装方便。

标签:
复合材料
浙江 - 嘉兴 来源:中冶有色网 2023-03-18
上一页 13 14 15 16 17 ... 31 下一页
共31页    到第

中冶有色为您提供最新的浙江嘉兴有色金属复合材料技术理论与应用信息,涵盖发明专利、权利要求、说明书、技术领域、背景技术、实用新型内容及具体实施方式等有色技术内容。打造最具专业性的有色金属技术理论与应用平台!

全国热门有色金属设备推荐
展开更多 +
全国热门有色金属技术推荐
展开更多 +

 

江西省隆恩特环保设备有限公司
宣传

报名参会
更多+

报告下载

有色专家
更多+

昆明理工大学
副校长
武汉科技大学
校学术委员会主任 / 教授
江西铜业集团有限公司
党委书记、董事长
西安建筑科技大学
院长/教授
中国工程院 / 中南大学
中国工程院 院士
赤泥综合利用研究报告2025
推广

热门技术
更多+

推荐企业
更多+

福建省金龙稀土股份有限公司
宣传

发布

在线客服

公众号

电话

顶部
咨询电话:
010-88793500-807