青岛垚鑫智能科技有限公司
宣传

位置:中冶有色 >

有色技术频道 >

> 复合材料技术

分类:
全部
矿山技术
冶金技术
材料制备及加工技术
环境保护技术
分析检测技术
 
全部
功能材料技术
复合材料技术
新能源材料技术
合金材料技术
加工技术
地区:
全部
北京
天津
上海
重庆
河北
山西
辽宁
吉林
黑龙江
江苏
浙江
安徽
福建
江西
山东
河南
湖北
湖南
广东
海南
四川
贵州
云南
陕西
甘肃
青海
内蒙
广西
西藏
宁夏
新疆
其他
其他
展开
 
全部
合肥
芜湖
蚌埠
淮南
马鞍山
淮北
铜陵
安庆
黄山
阜阳
宿州
滁州
六安
宣城
池州
亳州

安徽芜湖有色金属复合材料技术理论与应用

免费发布技术信息>>
力学性能优的耐热型环氧树脂复合材料及其制作方法

本发明公开了一种力学性能优的耐热型环氧树脂复合材料,其特征在于,由下列重量份的原料制成:TDE-85环氧树脂50-56、工业煤渣1-2、硅油5-7、四硼酸钾1-3、醋酸铅1-2、二乙基甲苯二胺3-5、烯丙基缩水甘油醚11-14、三羟甲基丙烷7-9、直链烷基苯磺酸6-8、十六烷基三甲基溴化铵1.2-2.3、对苯二甲酸二甲酯4-7、乙酰柠檬酸三乙酯8-10、助剂3-6;本发明添加工业煤渣并对其进行表面处理,同时添加其他有效成分加以混合后添加到原料中,制得的环氧树脂力学性能优越、韧性大、玻璃化转变温度及抗冲击性能高,同时本发明还实现了废物再利用解决固废处理难的难题。

标签:
复合材料
安徽 - 芜湖 来源:中冶有色网 2023-03-18
氧还原催化剂过渡金属氧化物/氮掺杂的碳复合材料的制备方法

本发明公开了一种氧还原催化剂过渡金属氧化物/氮掺杂的碳复合材料的制备方法,所述的方法包含以下步骤:(1)将盐酸多巴胺,氨水,甲醇和去离子水混合,得到棕色粉末的PDAs;(2)将步骤(1)得到的PDAs在惰性气体气流下进行煅烧;3)将步骤(2)中得到的碳球CPDAs与氯化钴、三氯化铁和水搅拌混合,得到混合液;(4)制备混合碱液;5)将步骤(4)得到的混合碱液加入步骤(3)所述的混合液中,进行水热反应,得到碳球;(6)将步骤(5)中得到的碳球置于管式炉中,在惰性气体气流,恒温煅烧,冷却到室温。本发明提供的制备方法操作简单;在制备过程中无需N掺杂的繁琐步骤,材料具有优异的ORR催化性能。

标签:
复合材料
安徽 - 芜湖 来源:中冶有色网 2023-03-18
笔记本电脑外壳的碳纳米纤维PC复合材料及其制造工艺

本发明涉及笔记本电脑外壳的碳纳米纤维PC复合材料,其特征在于,其组分按质量百分比配比为:PC树脂75%‑90%、碳纳米纤维10%‑15%、PET塑料2%‑6%、耐水解剂2%‑4%、抗氧化剂1%‑2%、增韧剂2%‑3%、着色剂0.5%‑1%,本发明的有益效果为:与现有技术相比,本发明制成的笔记本电脑外壳的碳纳米纤维有机硅功能化,有利于与PC复合,且复合后具有高比强度、高比模量、高结晶取向度等性能,且结构致密,成本低廉。

标签:
复合材料
安徽 - 芜湖 来源:中冶有色网 2023-03-18
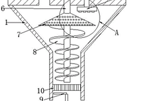
复合材料加工用电加热处理装置

本发明公开了一种复合材料加工用电加热处理装置,包括底座,底座的内部设置有驱动电机,驱动电机的输出轴固定连接有第一齿轮,第一齿轮通过啮合的方式连接有第二齿轮,第二齿轮固定连接有旋转轴,旋转轴的正下方设置有支撑杆,支撑杆的顶部设置有圆形凹槽,旋转轴的底部插设在圆形凹槽内,且旋转轴的顶部固定连接有熔炼炉,熔炼炉内设置有电加热器,熔炼炉顶部设置有进料口,熔炼炉的内壁上设置有导热板,导热板整体呈螺旋式结构,导热板内部为空心结构,且导热板顶部和底部分别设置有进水口和出水口,该装置能够实现均匀加热,且保证各材料混合均匀,另外实现了冷却时溶液内外部分同时冷却,值得推广。

标签:
复合材料
安徽 - 芜湖 来源:中冶有色网 2023-03-18
PA66碳纤维复合材料的制备方法

本发明涉及一种PA66碳纤维复合材料的制备方法,降低其吸湿性,其特征在于,包括如下步骤:(1)取其重量份比为PA66 50‑75,碳纤维20‑40,抗氧剂1‑2,润滑剂1‑2,成核剂1‑2,相容剂2‑4的材料;(2)将(1)中PA66 50‑75,抗氧剂1‑2,润滑剂1‑2,成核剂1‑2,相容剂2‑4混合均匀,加入双螺杆挤出机中塑化获得高温混合物,挤出机模头处连接浸渍装置,挤出机温度为240℃;(3)将(2)中获得的高温混合物输送到模头,模头温度为250℃,将碳纤维输送到模头进行浸渍获得浸渍物;(4)将充分浸渍的浸渍物牵引拉出,冷却定型获得半成品;(5)将(4)中获得的半成品切粒加入注塑机中注塑成型。

标签:
复合材料
安徽 - 芜湖 来源:中冶有色网 2023-03-18
膨胀石墨改性环氧树脂复合材料及其制作方法

本发明公开了一种膨胀石墨改性环氧树脂复合材料,其特征在于,由下列重量份的原料制成:E-42环氧树脂40-50、膨胀石墨2-3、稻草浆3-5、磷酸一铵1.2-2.3、三乙胺1-2、二聚酸2-5、邻苯二甲酸酐3.4-5.3、双苯乙基酚聚氧乙烯醚4-7、肌醇六磷酸酯6-9、邻苯二甲酸二辛酯5-8、松节油4-6、苯胺甲基三乙氧基硅烷0.5-0.9、助剂3-6;本发明不仅提高了传统环氧树脂导热性能,而且在合成工艺过程中添加改性后的膨胀石墨来调整环氧树脂的吸附性能,使得本发明制得的产品具有良好的吸附、导热性能,同时还能还能掩盖传统环氧树脂的臭味,用于涂料更环保健康。

标签:
复合材料
安徽 - 芜湖 来源:中冶有色网 2023-03-18
金属陶瓷复合材料
金属陶瓷复合材料 766     
 0

本发明提供一种金属陶瓷复合材料,各组分的重量份为:三氧化二铝40?50份、铝粉20?30份、铜粉15?25份、碳化钛10?20份、钨10?20份、铁10?20份。本发明对原料进行合理配置,通过一复合后经过烧结,制备出成本低,具有良好的热稳定性,高的红硬性及优异的耐磨性,又具备优良的抗急冷急热和抗高温氧化的符合材料。

标签:
复合材料
安徽 - 芜湖 来源:中冶有色网 2023-03-18
耐低温尼龙PA66复合材料及其制备方法及在汽车上的应用

本发明公开了一种耐低温尼龙PA66复合材料,由改性的尼龙PA66的A料和B料混合后挤出造粒而得,本发明还公开了所得的改性的尼龙PA66粒子料在汽车零部件上的应用,其主要是将干燥后的改性料加入到已经升温的注塑机里,通过设定注塑机不同段的注射压力、速度、注射时间及注射胶量,同时设定好最后的保压压力及保压速度已达到最佳的注塑工艺,得到最终合格产品。用本发明的改性的尼龙PA66粒子料注塑成型的用于汽车的塑料连接器,具有冲击强度高,韧性好,阻燃性好,具有很强的耐低温性能,同时注塑工艺稳定,产品质量稳定,合格率高,提高了生产效率,降低了生产成本。

标签:
复合材料
安徽 - 芜湖 来源:中冶有色网 2023-03-18
TPU复合材料绝缘和护套台车用软电缆

本实用新型公开了电缆技术领域的一种TPU复合材料绝缘和护套台车用软电缆,包括:钢芯组件;多个导芯组件,多个所述导芯组件绞合在所述钢芯组件的外壁上;复合护套,所述复合护套包覆在多个所述导芯组件的外壁上,所述钢芯组件包括:钢芯本体;钢芯护套,所述钢芯护套包覆在所述钢芯本体的外壁上,所述导芯组件包括:铜导体;复合绝缘套,所述复合绝缘套包覆在所述铜导体的外壁上,所述复合护套为热塑性聚氨酯弹性体复合护套,所述复合护套的壁厚为1.5‑2mm,所述钢芯本体的直径为1‑3mm,所述复合绝缘套的壁厚为0.7‑1mm,本实用新型提高电缆的性能,适宜台车使用。

标签:
复合材料
安徽 - 芜湖 来源:中冶有色网 2023-03-18
二氧化锰-四氧化三锰复合材料、制备方法及其应用

本发明提供了一种二氧化锰‑四氧化三锰复合材料、制备方法及其应用,利用高锰酸钾溶液和硫酸锰溶液,加入CTAB和氨水,在水和多元醇的环境下,氧化还原得到均匀的纳米尺寸的纳米棒结构,纳米棒直径5‑80nm,长度50‑1000nm。与现有技术相比,本发明生产的纳米级棒状结构可以防止充放电过程中粉化或团聚,而且,纳米尺寸有利于提高比容量,棒状结构增加电极的电子传导性,因此容量衰减慢,具有优异的循环性能。在电流密度100mA/g时恒电流充放电,首次放电比容量为851mAh/g,100次循环后仍大于750mAh/g。

标签:
复合材料
安徽 - 芜湖 来源:中冶有色网 2023-03-18
金属基复合材料穿孔顶头

本发明公开了一种金属基复合材料穿孔顶头,包括顶头本体,所述顶头本体的外表面设置有熔覆层。本发明采用激光熔覆的增材制造技术在顶头本体外表面熔覆金属粉末,形成一层表面光滑且与顶头本体牢固冶金结合的熔覆层,大大提高了顶头的耐磨、耐高温、耐冲击、耐腐蚀等性能,使得本发明的顶头的使用寿命是铸造顶头的3倍以上,热作模具钢顶头的2倍以上,可以穿制400多支合金钢管,提高了顶头使用寿命,提高了管内壁质量,管件废品率降低50%,具有很高的综合效益,能够实现综合降本的目的。

标签:
复合材料
安徽 - 芜湖 来源:中冶有色网 2023-03-18
耐化学腐蚀环氧树脂复合材料及其制作方法

本发明公开了一种耐化学腐蚀环氧树脂复合材料,其特征在于,由下列重量份的原料制成:E-12环氧树脂52-58、异辛酸锌1-3、植物果皮粉末2-4、三丁基氯化锡1.1-2.6、柠檬酸三丁酯8-10、6-己二醇二丙烯酸酯7-9、N-2-(氨乙基)-3-氨丙基三甲氧基硅烷0.8-1.3、1,4-丁二醇二缩水甘油醚20-26、聚己二酸9-11、丁二烯5-8、二甲基甲酰胺4-6、偏苯三酸酐7-9、助剂3-5;本发明制备的环氧树脂,具有耐化学腐蚀、力学强度大、韧性高、耐磨抗老化等优点,能够满足作为涂料的各项要求。

标签:
复合材料
安徽 - 芜湖 来源:中冶有色网 2023-03-18
适用于特高压工程的新型软磁复合材料金属片

本实用新型提供了一种适用于特高压工程的新型软磁复合材料金属片,包括复合金属片本体,所述复合金属片本体包括软磁材料层,所述软磁材料层上表面设置有金属导体层,所述金属导体层上表面设置有第一导流抗压层,所述第一导流抗压层上表面设置有第一防击穿缓冲层,所述软磁材料层下表面设置有第二导流抗压层,所述第二导流抗压层下表面设置有第二防击穿缓冲层,通过本实用新型,实现了可以在特高压情况下正常使用的复合金属片,提高了复合金属片的抗压耐压能力,扩展了使用的范围,延长了使用寿命,并且成本较低,十分的实用。

标签:
复合材料
安徽 - 芜湖 来源:中冶有色网 2023-03-18
新型复合材料穿管顶头
新型复合材料穿管顶头 1122     
 0

本实用新型公开了一种新型复合材料穿管顶头,包括基体和镶套,镶套的中部开设有安装孔,基体固定安装在安装孔内,基体和安装孔均呈“子弹头”形,基体的中部开设有盲孔,镶套包括鼻部、锥部和平整部,锥部的两端分别与鼻部和平整部连接,基体采用H13钢制成,镶套采用钴基合金制成。本实用新型针对现有技术中穿管顶头都是采用合金钢进行整体成型,穿管顶头在刚度和强度方面存在一些不足,在使用过程容易出现掉块、开大裂口、粘钢等问题而不能继续使用,降低了无缝钢管的加工质量并提高无缝钢管的生产成本等问题进行改进。本实用新型在基体外嵌套有钴基合金制成的镶套,具有结构强度高、不掉块、不易开裂、不粘钢、降低无缝钢管生产成本等优点。

标签:
复合材料
安徽 - 芜湖 来源:中冶有色网 2023-03-18
复合材料的托盘及其制备方法

本发明公开了一种复合材料的托盘,其原料按重量份重量计如下:聚烯烃树脂20‑80份、改性棉杆粉60‑80份、高密度聚乙烯45‑60份、CPE增塑剂2‑5份、硬脂酸0.5‑2份、塑料基料30‑40份、偶氮二异丁腈0.5‑1份、白云母3‑7份、二苯胺0.2‑1份、颜料1‑2份、复合阻燃剂9‑13份、润滑剂1‑8份、抗氧剂0.1‑1份、相容剂2‑8份和混合纤维2‑8份。本发明利用混合纤维、改性棉杆粉与聚烯烃树脂、高密度聚乙烯、塑料基料等充分混合,改善相容性,提高托盘的力学性能,起到增强托盘韧性、稳定性和耐热性,生产效率高。

标签:
复合材料
安徽 - 芜湖 来源:中冶有色网 2023-03-18
低介电环氧树脂组合物及其制备方法、复合材料

本发明提供了一种低介电环氧树脂组合物及其制备方法、复合材料。该制备方法包括以下步骤:将第一基体环氧树脂与固化剂混合均匀,获得第一组分;将第二基体环氧树脂与第一介电改性剂混合、熔炼,获得第二组分;将第三基体环氧树脂与第二介电改性剂混合均匀,获得第三组分;在加热的条件下,将第四基体环氧树脂与增韧改性剂进行混合,直至增韧改性剂完全溶解,获得第四组分;在加热的条件下,将第一组分、第二组分、第三组分加入第四组分中,混合均匀,获得低介电环氧树脂组合物。本发明通过添加一定的介电改性剂,并改进增韧剂种类,及特定顺序制得的介电改性树脂体系具有较低的介电性能,同时具有较高的力学性能,能满足电子设备的低介电、高强度的要求。

标签:
复合材料
安徽 - 芜湖 来源:中冶有色网 2023-03-18
热塑性碳纤维复合材料鞋中底及其制备方法

本发明涉及一种制鞋工艺,特别涉及一种热塑性碳纤维复合材料鞋中底及其制备方法。所述鞋中底由以下重量份的原料制成:PA66 50‑70%、碳纤维束15‑30%、增韧剂1‑5%、分散剂1‑3%、共聚物1‑3%、活性锌氧粉1‑3%、硬脂酸锌1‑3%、导电粒子1‑5%、热稳定剂0.1‑1%,阻燃剂5‑8%;本发明提供了一种轻便、硬度、耐用性和功能性好的鞋中底材料及鞋中底的制备方法。

标签:
复合材料
安徽 - 芜湖 来源:中冶有色网 2023-03-18
用于复合材料加工的棘轮结构整体铣刀

本发明涉及一种用于复合材料加工的棘轮结构整体铣刀,由刀柄、刀体、切削齿以及金刚砂四部分组成,刀柄与刀体固连;刀体外形为圆环形,刀柄外形为圆柱形,切削齿为棘爪形,切削齿装配于刀体上,金刚砂镀覆与切削齿上。本发明不仅能保证了切削刃的锋利度以及强度;还能够提高刀具的耐磨性,进而能够保证刀具的使用寿命。

标签:
复合材料
安徽 - 芜湖 来源:中冶有色网 2023-03-18
易清洁木塑复合材料造粒模头

本实用新型公开了一种易清洁木塑复合材料造粒模头,涉及机械模头领域技术领域,包括下料管,所述下料管的顶部连接有第一密封盖,所述第一密封盖的顶部一侧贯穿设置有进料口,所述第一密封盖的顶部中间设置有挤压组件,所述下料管内侧壁位于转动轴的下方连接有造粒网,所述下料管的下方设置有接料盒,所述接料盒的底部设置有切割组件,所述第一密封盖的顶部一侧设置有清洗组件本实用新型结构合理,通过在转动轴的外侧设置离心盘,使得通过进料口下落的物料经过离心盘进行打散,使其围绕下料管的内侧壁均匀下落,避免了物料垂直下落对下料管的底部造成较大冲击,延长了造粒网的使用寿命。

标签:
复合材料
安徽 - 芜湖 来源:中冶有色网 2023-03-18
导电可降解聚氨酯弹性体复合材料的制备方法

本发明公开了一种导电可降解聚氨酯弹性体复合材料的制备方法,将纳米二氧化硅高温处理‑液氮冷却,在甘油及水中分散,与乙酸银、氧化石墨烯反应后,离心分离烘干至恒重,将蚕丝蛋白进行脱胶‑溶解‑浓缩后透析,加入叠氮化钠,冻干成粉,将导电纳米二氧化硅无机物与蚕丝蛋白进行复合后,干燥聚乙二醇,加入复合物进行聚合反应,固化后密炼既得。本发明将聚氨酯、蚕丝蛋白、纳米二氧化硅进行复合,制备的复合物可形成互穿网络结构,稳定性增加,且具有导电可降解性,绿色环保。

标签:
复合材料
安徽 - 芜湖 来源:中冶有色网 2023-03-18
汽车内饰用添加改性木粉麦秸秆的绿色复合材料及其制备方法

本发明公开了一种汽车内饰用添加改性木粉麦秸秆的绿色复合材料,由下列重量份的原料制备制成:聚乳酸100-103、纳米三氧化二锑3.5-4、十溴二苯乙烷10-11、SEBS25-27、红麻纤维60-62、氨基硅油2-3、木粉4-5、麦秸秆12-13、钛酸酯偶联剂TCF0.8-0.9、浓度为2%的氢氧化钠12-13、浓度为10%的双氧水13-14、羧甲基纤维素5-6、水适量。本发明将麦秸秆、木粉等植物成分进行偶联改性后添加到浸渍浆料的制备中,处理后的混合纤维与浸渍浆料具有良好的相容性,从而使得制成的材料具有良好的韧性、弯曲强度、冲击韧性大,适合制造汽车仪表盘、台面、座椅等内饰件等。

标签:
复合材料
安徽 - 芜湖 来源:中冶有色网 2023-03-18
LED灯灯罩用复合材料
LED灯灯罩用复合材料 754     
 0

本发明公开了一种LED灯灯罩用复合材料,属于新材料技术领域。其主要组成成分及质量配比为:聚甲基丙烯酸甲酯70‑120份、聚对苯二甲酸乙二醇酯50‑80份、纳米滑石粉1.5‑3份、硅铝酸盐1‑1.2份、有机硅光扩散剂0.5‑1.2份、抗氧剂0.3‑1.2份,光稳定剂0.3‑1.2份。本发明的优点在于:工艺简单,易于控制,适合大批量生产,并且该制备方法可以保证各种助剂和填料在聚甲基丙烯酸甲酯基体中分散均匀,保持良好的相容性,以保证制备的灯罩材料的分散性能明显改善,透光率和雾度明显提升,力学性能和表面硬度有明显改善。

标签:
复合材料
安徽 - 芜湖 来源:中冶有色网 2023-03-18
汽车内饰用具有良好耐磨性能的复合材料及其制备方法

本发明公开了一种汽车内饰用具有良好耐磨性能的复合材料,由下列重量份的原料制备制成:聚乳酸100-103、纳米三氧化二锑3.5-4、十溴二苯乙烷10-11、SEBS25-27、红麻纤维60-62、水溶性酚醛树脂3-4、单硬脂酸甘油酯1-1.2、石墨粉4-5、二硫化钼3-4、陶瓷粉5.5-7、硅溶胶7-8、水适量。本发明将水溶性酚醛树脂、硅溶胶等通过工艺改性添加到浸渍浆料中,内含石墨粉、二硫化钼、陶瓷粉,三者协同作用,润滑减磨的同时增强纤维的耐磨度,从而使得制备的材料不仅秉承了聚乳酸的可降解的优点,还改善了力学性能,抗冲耐磨,这种材料耐火阻燃、轻质环保、柔韧紧致,是一种新型实用的车用吸音材料。

标签:
复合材料
安徽 - 芜湖 来源:中冶有色网 2023-03-18
耐磨环氧树脂玻璃钢复合材料及其制备方法

本发明公开了一种耐磨环氧树脂玻璃钢复合材料,其特征在于,由下列重量份的原料制成:E-44环氧树脂38-43、氨基树脂9-11、水杨酸苯酯1-2、焦磷酸钠1-2、环已酮6-9、硅烷偶联剂KH-5501-2、二氧化硅2-3、甘油三醋酸酯5-8、交联剂TAC2-3、乙二醇单丁醚3-5、过氧化苯甲酰叔丁酯4-6、氟化锆1-2、轻烧氧化镁1-2、短切玻璃纤维25-28、甲基氢醌3-5、氧化二丁基锡1-2、助剂1-2;本发明添加助剂,使材料具有良好的物理性能以及机械性能,起到补强的作用以及增加耐磨性;本发明生产工艺简单,强度大,有韧性耐磨,易于大批量生产以及推广应用。

标签:
复合材料
安徽 - 芜湖 来源:中冶有色网 2023-03-18
绢云母改性的具有耐酸碱功能的环氧树脂复合材料及其制作方法

本发明公开了一种绢云母改性的具有耐酸碱功能的环氧树脂复合材料,其特征在于,由下列重量份的原料制成:联苯环氧树脂55-60、聚酰亚胺树脂10-15、绢云母1-3、木质纤维2-4、二氧化钼0.7-1.3、异戊二烯2.1-4.5、对苯二酚4-7、六亚甲基四胺1.1-2.3、油酸酰胺2-3、甘油5-7、甘油聚氧丙烯醚6-8、咪唑1.3-2.6、磷酸三甲苯酯7-9、乙二醇丁醚醋酸酯8-10、助剂3-6;本发明操作工艺简单,一方面可以保证材料的耐酸碱性能,另一方面可以降低成本;添加绢云母、木质纤维等填料,添加量少,制得的产品稳定性好,可用于电器、电子散热等方面。

标签:
复合材料
安徽 - 芜湖 来源:中冶有色网 2023-03-18
具有导电和抗菌的电缆用凹凸棒土复合材料的制备方法

本发明公开了一种具有导电和抗菌的电缆用凹凸棒土复合材料的制备方法。本发明先用NaCl溶液对凹凸棒土进行钠化处理,然后分别采用AgNO3溶液和C12‑14‑烷基二甲基乙基苄基氯化铵通过离子交换法对凹凸棒土进行载银和季铵化插层处理,使得凹凸棒土具有优良的杀菌、灭藻、抗菌、防腐、抗静电等性能;最后通过化学键结合法,在凹凸棒土的表面上包覆一层碳纳米管,显著提高凹凸棒土的导电性能。本发明制得的改性凹凸棒土不仅具有极强的广谱抗菌能力,且抗菌率均达到 99.9%以上,还具有优异的导电性,极大地拓展了凹凸棒土在电缆材料中的应用领域。

标签:
复合材料
安徽 - 芜湖 来源:中冶有色网 2023-03-18
添加改性碳纳米管-碳纤维-复合型阻燃剂制备阻燃环氧树脂复合材料的方法

本发明公开了一种添加改性碳纳米管‑碳纤维‑复合型阻燃剂制备阻燃环氧树脂复合材料的方法,其特征在于,向羟基化多壁碳纳米管中加表面活性剂、无水乙醇,机械搅拌,超声分散,得到初步分散的羟基化多壁碳纳米管;向未剪切的碳纤维中加浓硝酸,置于恒温水浴箱中处理后,取出反复清洗至中性,再放入鼓风干燥箱中烘干至恒重,剪切备用;向液相氧化处理过的碳纤维中加硅烷偶联剂、分散剂、乙酸乙酯,搅匀,超声分散后,加环氧树脂、复合型阻燃剂及预处理羟基化多壁碳纳米管,搅匀后超声分散,放入电热恒温水浴锅中煮沸,再放入真空干燥箱中脱泡,倒入固化剂缓慢搅匀,浇注到涂好脱模剂的聚四氟乙烯模具中,放入鼓风干燥箱中干燥脱模,再加热固化。

标签:
复合材料
安徽 - 芜湖 来源:中冶有色网 2023-03-18
高铁用复合材料标准板材的自动化切割装置

本发明公开了一种高铁用复合材料标准板材的自动化切割装置,涉及板材裁切技术领域,包括裁切架和裁切机构,所述裁切架包括四根结构相同的液压杆,本发明结构简单,操作便捷,通过设置裁切机构,可以实现自动裁切功能,提高了工作效率,同时,根据工作人员身高或者其他设备高度配合需求,启动液压杆可以调节工作台面的高度,实用性高,维护方便、成本低、质量稳定。

标签:
复合材料
安徽 - 芜湖 来源:中冶有色网 2023-03-18
装修复合材料及制备方法

本发明公开了一种装修复合材料及制备方法,其主要由憎水乳胶粉:1‑3份,CMC纤维素:0.3‑0.8份,木质纤维素:0.2‑0.7份,丙纶:0.2‑0.5份,黑水泥:50‑60份,灰钙:2‑5份,二水石膏:0.3‑0.5份,重钙:20‑25份,沉淀碳酸钙:5‑10份,滑石粉:3‑5份,硅藻土:2‑6份,羧甲基淀粉:0.05‑0.1份,高岭土:0.3‑0.5份,触媒级纳米氧化锌:0.3‑0.5份,抗菌剂:0.1‑0.5份按照重量比例组成,上述配方结合制备方法能使改善施工性能,增强粘结能力,提升墙体抗裂性能。

标签:
复合材料
安徽 - 芜湖 来源:中冶有色网 2023-03-18
环保芳香型环氧树脂复合材料及其制作方法

本发明公开了一种环保芳香型环氧树脂复合材料,其特征在于,由下列重量份的原料制成:830环氧树脂56-65、氢氧化钠1.1-2.4、开孔膨胀珍珠岩2-4、碳纳米管1-3、迷迭香香精3-5、间苯二甲胺4.1-6.5、二甲基乙酰胺9-13、邻苯二甲酸酐7-9、丁基缩水甘油醚8-10、丙三醇5-8、对羟基苯磺酸3-4、乙酰化二淀粉磷酸酯2.4-3.5、助剂4-7;本发明制备工艺简单操作简便,有效解决了现有传统环氧树脂性能单一的问题,本发明的环氧树脂具有芳香无刺激性气味、低粘度,触变性好、强度高、韧性大及优异的恶劣环境下的耐久性能等优点。

标签:
复合材料
安徽 - 芜湖 来源:中冶有色网 2023-03-18
上一页 11 12 13 14 15 ... 39 下一页
共39页    到第

中冶有色为您提供最新的安徽芜湖有色金属复合材料技术理论与应用信息,涵盖发明专利、权利要求、说明书、技术领域、背景技术、实用新型内容及具体实施方式等有色技术内容。打造最具专业性的有色金属技术理论与应用平台!

全国热门有色金属设备推荐
展开更多 +
全国热门有色金属技术推荐
展开更多 +

 

江西省隆恩特环保设备有限公司
宣传

报名参会
更多+

报告下载

有色专家
更多+

矿冶科技集团有限公司
中国工程院院士
北京科技大学
教授
北京科技大学
主任/教授
紫金矿业信息化研发中心
副总经理
中南大学
教授
赤泥综合利用研究报告2025
推广

热门技术
更多+

推荐企业
更多+

福建省金龙稀土股份有限公司
宣传

发布

在线客服

公众号

电话

顶部
咨询电话:
010-88793500-807