青岛垚鑫智能科技有限公司
宣传

位置:中冶有色 >

有色技术频道 >

> 复合材料技术

分类:
全部
矿山技术
冶金技术
材料制备及加工技术
环境保护技术
分析检测技术
 
全部
功能材料技术
复合材料技术
新能源材料技术
合金材料技术
加工技术
地区:
全部
北京
天津
上海
重庆
河北
山西
辽宁
吉林
黑龙江
江苏
浙江
安徽
福建
江西
山东
河南
湖北
湖南
广东
海南
四川
贵州
云南
陕西
甘肃
青海
内蒙
广西
西藏
宁夏
新疆
其他
其他
展开
 
全部
广州
韶关
深圳
珠海
汕头
佛山
江门
湛江
茂名
肇庆
惠州
梅州
汕尾
河源
阳江
清远
东莞
中山
潮州
揭阳
云浮

广东东莞有色金属复合材料技术理论与应用

免费发布技术信息>>
LED球泡灯
LED球泡灯 878     
 0

本实用新型公开了一种LED球泡灯,包括LED灯板、电源、灯头、扩散罩和灯体,所述灯体为陶瓷复合材料灯体,所述电源和LED灯板安装于灯体内,所述灯头安装于灯体底端,而所述扩散罩安装于灯体顶端,所述电源为直流电源或交流电源。选用陶瓷复合材料作为灯体,使得灯体耐高温,具有高强度和刚度,且重量较轻,其散热能力和压铸铝不相上下,且容易成型成独特的外形结构;灯体绝缘,不仅安全可靠,可通过各种安规测试,同时使得LED球泡灯可直接采用交流电方案,降低了产品成本。

标签:
复合材料
广东 - 东莞 来源:中冶有色网 2023-03-18
下水道防鼠、防虫盒
下水道防鼠、防虫盒 868     
 0

本实用新型下水道防鼠、防虫盒主要涉及城市下水道水口的防臭、防虫、防鼠装置。包括一类似方形漏斗的盒周体1、在盒周体1的一底边上固定有一枢轴11,盒底盖2的一边可绕枢轴11旋转,封盖盒周体1的下口3,其特征在于盒周体1和盒底盖2均采用高分子复合材料,盒底盖2的周边上有磁性物体3,与磁性物体3所对应的盒周体1的底边上有吸磁物质12。采用以上的结构,由于利用磁体的吸力,可以长时间保证底盖扣合严密,从而延长了使用寿命,并且采用高分子复合材料成本低,不易被盗。

标签:
复合材料
广东 - 东莞 来源:中冶有色网 2023-03-18
配网馈线终端底盖
配网馈线终端底盖 1152     
 0

本实用新型公开了一种配网馈线终端底盖,包括圆形盖体,所述圆形盖体上环形排列有五个U形缺口,所述盖体内侧面环形排列有五个与外罩配合的弧形圈,所述盖体上设置有通信模块盒,且盖体上设置有SPS接口、TA接口、电源接口、告警接口、BATT接口、COM接口和LS接口。该配网馈线终端底盖上的盖体采用使用CMC复合材料制造,CMC复合材料中含有30%玻璃纤维,不易损坏和变形,盖体和外罩配合使用,防水性能好,耐候性好,不易断裂。

标签:
复合材料
广东 - 东莞 来源:中冶有色网 2023-03-18
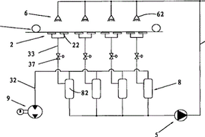
吸附式预浸装置
吸附式预浸装置 774     
 0

一种吸附式预浸装置,包括:吸附装置、设于吸附装置两侧的用于传送增强材料的传动辊、设于吸附装置上方的用于喷洒基体材料的喷洒装置、与吸附装置及喷洒装置相连通的用于储存基体材料的排液分离装置、与排液分离装置相连接的用于为吸附装置提供负压的真空泵,真空泵通过排液分离器将负压传递到吸附盘并作用于基体材料,使其能大量地透过增强材料。本实用新型的吸附式预浸装置利用吸附盘的“吸附力”和胶液本身重力加速度将基体材料从增强材料的一侧吸到另一侧,彻底排除增强材料中的气泡,提高基体材料对增强材料的浸润性,能保证增强材料被基体材料充分浸润,使得复合材料性能得到明显提高,提升了复合材料在高端产品中的应用前景。

标签:
复合材料
广东 - 东莞 来源:中冶有色网 2023-03-18
组合式集装箱
组合式集装箱 1056     
 0

本实用新型提供了一种组合式集装箱,包括总体框架、底板和复合材料板。总体框架由钢材料制成,且包括分别位于组合式集装箱的前端和门端的一对前端角柱和一对门端角柱;两端分别与前端角柱的上端部连接的前顶梁;两端分别与门端角柱的上端部连接的门顶梁;两端分别与位于同一侧的前端角柱和门端角柱的上端部连接的侧顶梁;四个角部分别与前端角柱和门端角柱的下端部连接的底架,以及连接至门端角柱的门框架;底板设置在底架上,且由钢材料制成;复合材料板连接至总体框架,且构成组合式集装箱的顶板、门板、前板和侧板中的至少一部分。根据本实用新型的组合式集装箱,重量轻,制造工艺流程简单,生产周期短,绿色环保,环境及经济效益显著。

标签:
复合材料
广东 - 东莞 来源:中冶有色网 2023-03-18
内嵌式导轨模组
内嵌式导轨模组 819     
 0

本实用新型公开一种内嵌式导轨模组,其包括由碳纤维复合材料制成的碳纤型材以及镶嵌于碳纤型材的凹槽内壁处的导轨,其中,所述导轨与碳纤型材通过模内成型的方式固为一体。本实用新型采用碳纤维复合材料制作形成碳纤型材,以替代铝合金型材,其成本更低,加工制作更加方便,还可减轻导轨模组整体重量,便于安装使用;另外,所述导轨与碳纤型材通过模内成型的方式固为一体,此固定方式能够保证导轨与碳纤型材形成一个整体,其抗变形强度高,且其之间的装配精度高,而无需后期校准,并且可预先对导轨加工成最终形态,且无需采用胶水粘固,加工起来更加方便,并可减少加工工序,还可保证产品质量,令本实用新型具有极强的市场竞争力。

标签:
复合材料
广东 - 东莞 来源:中冶有色网 2023-03-18
轻质型汽车侧裙
轻质型汽车侧裙 935     
 0

本实用新型公开一种轻质型汽车侧裙,包括有侧裙主体和粘贴胶;所述侧裙主体由碳纤维复合材料围构而成,该侧裙主体中间具有一空腔,该侧裙主体包括有左主体和右主体,该左主体和右主体的连接处凸设有折弯凸部,该侧裙主体的内侧面凹设有一凹槽,所述粘贴胶设置在侧裙主体的凹槽中;通过在侧裙主体的中间设有空腔,并且,该侧裙主体包括有左主体和右主体,该左主体和右主体的连接处凸设有折弯凸部,能够在不降低侧裙主体强度的前提下,使其实现轻量化,还能够节省用料成本;同时,侧裙主体由碳纤维复合材料围构而成,能够更进一步的实现轻量化,而且提升侧裙主体的防撞强度。

标签:
复合材料
广东 - 东莞 来源:中冶有色网 2023-03-18
PUR胶涂布复合机
PUR胶涂布复合机 848     
 0

本实用新型涉及涂布复合机技术领域,尤其涉及PUR胶涂布复合机,其包括有海绵供料装置、布料放卷装置、涂胶装置、复合装置、收卷装置,海绵供料装置包括有海绵放卷装置、海绵传送带、海绵自动张力调节装置,本实用新型利用海绵传送带输送海绵,海绵放置在海绵传送带的上,由海绵传送带支撑并托着海绵向涂胶装置输送,使得海绵能够在无张力的状态下输送,防止海绵在输送过程中受张力拉断,能够自动复合海绵和布料,提高加工效率,降低成本,复合材料平整,提高复合材料品质差,并且能够用PUR胶来进行复合,可通过冷压的方式将海绵和布料压合,环保节能。

标签:
复合材料
广东 - 东莞 来源:中冶有色网 2023-03-18
水管式扶手
水管式扶手 768     
 0

本实用新型涉及浴室饰件技术领域,具体涉及一种水管式扶手,包括扶手和用于安装扶手的安装装置,安装装置包括底板、卡接块和面板,第一卡槽上端设有第一固定孔,第二卡槽下端设有第二固定孔,第一卡边与第二卡边之间设有第一安装孔,面板凹设有用于放置卡接块的滑槽,滑槽设有与第一安装孔配合的第二安装孔,扶手包括一体管和与一体管固定连接的固定端,固定端设有与第二安装孔卡接的倒卡块,一体管的一端设有水龙头。本实用新型的一种水管式扶手,能够兼具扶手与水管的功能,节省空间,水管表面涂覆有金属复合层,金属复合层由金属复合材料制成,金属复合材料密度低,而且能够承受较大的机械强度,使水管式扶手结构更稳定。

标签:
复合材料
广东 - 东莞 来源:中冶有色网 2023-03-18
新型记忆性尼龙球囊导管

本实用新型涉及经皮冠状动脉腔内成形术(PTCA)用的球囊导管,特别是一种新型记忆性尼龙球囊导管。它是由近端管、远端管、灵活尖端和尼龙球囊组成,所述球囊的材料选择经特殊处理的尼龙复合材料,该尼龙复合材料是在普通的双螺杆挤出机中加入在高速搅拌机上混合均匀的尼龙6、扩链剂或功能化的聚合物以及稀土氧化物的混合物,在一定温度和转速下进行反应性共混,挤出粒即得具备良好记忆性能的尼龙球囊材料,然后运用球囊精密吹塑成型技术制备成型,最后运用迷你折叠技术制备成二折叠、三折叠或五折叠的新型记忆性尼龙球囊导管。本实用新型记忆性尼龙球囊导管具有成本低,记忆性良好,能经受反复冲压,手术过程中方便更换等优点。

标签:
复合材料
广东 - 东莞 来源:中冶有色网 2023-03-18
导轨型材一体式模组
导轨型材一体式模组 720     
 0

本实用新型公开一种导轨型材一体式模组,该导轨型材一体式模组包括由碳纤维复合材料制成的碳纤型材及两条设于碳纤型材上端面两侧的导轨,且导轨凸出于碳纤型材上端面外,碳纤型材与导轨通过模内成型的方式固为一体。本实用新型采用碳纤维复合材料制作形成碳纤型材以替代铝合金型材,其成本更低,加工方便,还可减轻模组整体重量,便于安装使用;由于导轨与碳纤型材固为一体,其抗变形强度高,并且无需采用螺丝锁固,节省机加工时间,并且能够使导轨与碳纤型材之间的装配精度高,并且可预先对导轨加工成最终形态,以致无需后期校表,且平行度可以达到校表装配精度的两到三倍,且导轨加工方便,并可减少加工工序,还可保证产品质量。

标签:
复合材料
广东 - 东莞 来源:中冶有色网 2023-03-18
智慧型开放空间大气修复方法

本发明涉及生态修复技术领域,具体涉及一种智慧型开放空间大气修复方法,包括如下步骤:a、选择一块面积为1000m2以上的地块,在地块上按照外矮内高、外疏内密、多常绿少落叶的原则种植植物;b、在地块内每隔5-8m布设高度不低于6m的喷淋管,喷淋管的顶端设置喷淋扇面角度为90-150°的喷头;c、在地块的表面铺设具有高效吸附、催化分解空气中污染物功能的负载有催化剂的复合材料;d、在地块的表面喷洒具有净化空气功能的生物酶制剂,以及在地块的表面种植大型真菌,完成整个大气修复工程的建设。本发明的大气修复方法修复效果好,具有减少人工喷水施肥养护、操作简便、营造优美景观等优点。

标签:
复合材料
广东 - 东莞 来源:中冶有色网 2023-03-18
锰基正极材料及其在锂电池中的应用

本发明公开了一种锰基正极材料及其在锂电池中的应用,属于电极材料技术领域。本发明主要包括以下步骤:S1制备Ti3C2粉末;S2制备碳量子点;S3制备复合材料;S4制备正极材料。本发明还提供了所述锰基正极材料在锂电池中的应用,其方法为:将所述锰基正极材料和粘结剂、导电剂混合浆化,并涂覆在集流体上,固化得到所述锂离子电池正极,再将其用于锂电池的制备。本发明采用湿法制备Ti3C2‑碳量子点复合材料,采用喷雾干燥法制备了中空球形的Li2MnPO4F微纳米材料,热处理将两者结合构建导电网络,得到正极材料,碳量子点解决了Ti3C2易塌陷问题,从而改善了夹层间距,并与Ti3C2配合提高了结构稳定性和Li2MnPO4F的电化学性能,从而提高了电子电导率。

标签:
复合材料
广东 - 东莞 来源:中冶有色网 2023-03-18
苯并噁嗪中间体及其制备方法

本发明涉及一种苯并噁嗪中间体及其制备方法,该苯并噁嗪中间体结构式如下:式中R1为O、C=O、S、SO2、碳原子数3~20的脂环烃及其衍生物、碳原子数1~20的脂肪烃及其衍生物、或碳原子数2~20的不饱和脂肪烃及其衍生物;R2为碳原子数3~20的脂环烃及其衍生物、碳原子数1~20的脂肪烃及其衍生物、或碳原子数2~20的不饱和脂肪烃及其衍生物。本发明的苯并噁嗪中间体含有萘环结构片段,具有优良的耐高温性能和阻燃性能,可广泛应用于复合材料中。

标签:
复合材料
广东 - 东莞 来源:中冶有色网 2023-03-18
婚礼礼品包装盒
婚礼礼品包装盒 807     
 0

本发明涉及一种礼品包装盒,特别涉及一种婚礼用的礼品包装盒。由盒盖、底盒组成,盒盖与底盒内或外或内及外表面包有婚纱。盒内有内衬和内枕或手表安放架或珠宝安置板,盒盖和底盒主要为心形状,盒盖和底盒成天地盖形或由铰链连接。盒盖和底盒的基体由塑料薄板或纸板制成,基体外包有皮革或纸或复合材料。内枕可套手表对或项链或插婚戒对。本发明结构新颖,开创了婚礼礼品包装盒的先河,壮重温馨,易受新婚双方喜爱。

标签:
复合材料
广东 - 东莞 来源:中冶有色网 2023-03-18
含磷双酚A酚醛环氧树脂及其制备方法

本发明涉及酚醛环氧树脂技术领域,特别涉及一种含磷双酚A酚醛环氧树脂及其制备方法,结构式如下,式中N值为0~7,由甲醛或多聚甲醛与双酚A在酸催化剂存在下进行缩合反应,得到酚醛树脂化合物,然后在相转移催化剂存在下与环氧氯丙烷进行醚化反应,再在碱性催化剂作用下生成双酚A酚醛环氧树脂,最后将所得双酚A酚醛环氧树脂在催化剂存在下与有机磷化合物反应得到含磷双酚A酚醛环氧树脂,固化物具有优良的耐热性、阻燃性能、机械性能,广泛用于层压板、绝缘材料、半导体封装、复合材料等领域。

标签:
复合材料
广东 - 东莞 来源:中冶有色网 2023-03-18
介孔吸附材料及其制备方法和用途

本发明提供了一种介孔吸附材料及其制备方法和用途,(a)将填料、粘结剂、造孔剂混合后进行湿法研磨,待研磨介质挥发后,加入偏硅酸钠溶液,混合均匀后制成颗粒状,并在表面喷洒偏硅酸钠溶液,待表面干燥后,得到复合材料;(b)、将步骤(a)得到的复合材料在500‑700℃热处理,冷却后得到所述介孔吸附材料。所制备的材料的孔径主要分布在2‑3nm之间,对废水中Zn(Ⅱ)、Cu(Ⅱ)、Mn(Ⅱ)等金属离子具有很好的吸附作用。

标签:
复合材料
广东 - 东莞 来源:中冶有色网 2023-03-18
POSS接枝含氟苯丙复合乳液的合成方法及应用

本发明属于涂层制备技术领域领域,公开了一种POSS接枝含氟苯丙复合乳液的合成方法及应用包括:步骤一,以乙烯基三氯硅烷为前驱体,直接水解法合成八乙烯基倍半硅氧烷(OvPOSS);步骤二,通过预乳化乳液聚合工艺,制备具有核壳结构的OvPOSS接枝含氟苯丙聚合物复合材料(OvPOSS/FPSA);步骤三,取定量的(OvPOSS/FPSA)复合材料,在磁力搅拌的情况下,加入一定比例的纳米溶胶和乙醇共溶剂,室温下搅拌2h后,过200目筛出料,得到复合乳液。本发明通过简单的物理共混方法制备疏水涂层,制备方法简单、可控,易于大面积使用。

标签:
复合材料
广东 - 东莞 来源:中冶有色网 2023-03-18
高倍率非对称型超级电容器的制备方法

本发明公开了一种高倍率非对称型超级电容器的制备方法,包括以下步骤:首先采用激光烧蚀的方法对锰板表面烧蚀处理制得MnO2/Mn复合材料作为正极,采用气相沉积法在锰表面沉积碳纳米管作为负极,然后将正极、隔膜、负极依次叠加成电池包放入封装壳体,电解液灌入封装壳体内部,制得非对称型超级电容器。该电容器倍率性能好,充放电稳定性能优异,循环性能好,且制备方法简单,成本低。

标签:
复合材料
广东 - 东莞 来源:中冶有色网 2023-03-18
可降解抗噪纱线的制备方法及制品

本发明公开了一种可降解抗噪纱线的制备方法,其包括:(1)制备亚麻纤维复合材料;(2)制备可降解竹纤维复合纤维;(3)将可降解竹纤维复合纤维,在罗拉速度为15r/min,罗拉温度为70℃条件下,进行开清棉工序处理;(4)经开清棉处理后,在刺辊转速为700r/min,锡林转速为250r/min,道夫转速19.9r/min,条件下进行梳棉工序处理;(5)将经梳棉工序处理后的可降解竹纤维复合纤维进行并条和粗纱工序处理;(6)将亚麻纤维复合材料为芯线,经处理后的可降解竹纤维复合纤维作为面线,进行细纱工序处理,制得包芯纱;(7)将包芯纱进行络筒,得到可降解抗噪纱线。本发明还公开了该方法制备的制品。

标签:
复合材料
广东 - 东莞 来源:中冶有色网 2023-03-18
MCOB LED封装结构
MCOB LED封装结构 766     
 0

一种MCOB?LED封装结构包括基板和若干个LED芯片。所述基板包括第一面及与第一面相背的第二面。第一面开设有若干个杯碗,第二面设有若干个散热鳍片。基板为金属材料、陶瓷材料或高分子复合材料一体化成型结构。杯碗为光学仿真制作而成。LED芯片固定杯碗内,第一面设有电子线路和若干个不同的电源接口,LED芯片与电子线路连接,电子线路与电源接口连接。上述的MCOB?LED封装结构,采用金属材料、陶瓷材料或者高分子复合材料一体化成型结构的基板,增加基板的热传递能力。基板上直接开设杯碗,将LED芯片安装在杯碗中,缩短传热距离,而且设置散热鳍片进一步提高散热速率,从而提高LED封装结构的散热效果。

标签:
复合材料
广东 - 东莞 来源:中冶有色网 2023-03-18
碳刷及制备碳刷的方法

本发明提供了一种制备碳刷的方法,其原料包括石墨粉、铜粉、沥青、碳纤维/环氧树脂复合材料废弃物,其包括步骤一,使用球磨机将碳纤维/环氧树脂复合材料废弃物球磨并过筛,得到短性碳纤维以及环氧树脂粉末;步骤二,将短性碳纤维、环氧树脂粉末、铜粉、石墨粉以及沥青置于密炼机中混炼均匀,冷却后使用颚式破碎机破碎成1‑5mm的注射料,混炼温度为150‑200℃,时间为1‑4h,转速为20‑60r/min;步骤三,将注射料置于料仓中,启动注射成型机,设置注射参数后开始注射,得到注射成型坯体,注射温度为130‑180℃,注射压力为30‑70MPa,保压压力为15‑20MPa;步骤四,将注射坯体埋于刚玉中后置于真空烧结炉中进行烧结得到碳刷,真空度为30‑40Pa,烧结温度为900‑1200℃。本发明制备的碳刷耐磨性高。

标签:
复合材料
广东 - 东莞 来源:中冶有色网 2023-03-18
印染废水的高效处理方法

本发明提供了一种印染废水的高效处理方法,该方法包括以下步骤:调节印染废水pH值;向印染废水中加入纳米Fe3O4/Mn3O4复合材料和过氧化氢,进行氧化处理,氧化处理后的印染废水加入聚丙烯酰胺,进行混凝沉淀,沉淀后的上清液加入粉煤灰进行吸附,静置沉淀后的清液用碱液调节成中性,然后排放。本发明提供的方法可以有效去除印染废水中的有机污染物,且该方法工艺简单,处理成本低。

标签:
复合材料
广东 - 东莞 来源:中冶有色网 2023-03-18
纸团状石墨烯改性的光固化蚕丝蛋白三维打印材料及其制备方法

本发明提供一种纸团状石墨烯改性的光固化蚕丝蛋白三维打印材料及其制备方法,该材料包括纸团状石墨烯、蚕丝蛋白水凝胶、光引发剂和助剂,具体制备方法为:将氧化石墨烯溶液在喷雾干燥机上进行喷雾干燥,高温还原得到纸团状石墨烯微球;将纸团状石墨烯微球加入到稀浓度蚕丝蛋白溶液中,混合,蒸发浓缩,微波处理,得到含纸团状石墨烯微球的蚕丝蛋白复合水凝胶;将含纸团状石墨烯微球的蚕丝蛋白复合水凝胶中加入光引发剂和助剂,转移至三维打印装置中,在紫外光的照射下,逐层打印得到纸团状石墨烯改性的蚕丝蛋白复合材料。本发明制备的蚕丝蛋白复合材料为纤维状、无规则无纺布状或者规则十字交叉织物状,具有优异的亲肤、力学性能、生物相容性和导电性能。

标签:
复合材料
广东 - 东莞 来源:中冶有色网 2023-03-18
电子设备、壳体及其表面加工方法

本发明实施例提供一种电子设备、壳体及其表面加工方法,电子设备的壳体表面加工方法包括:在壳体型材的其中一个表面形成紫外光固化胶层,壳体型材为复合材料件;将带有紫外光固化胶层的壳体型材放入热弯模具中进行热弯处理;在壳体型材的另一个表面形成硬化层。因此通过本发明实施例方法形成的壳体具有硬度高、体感好的优点,还能够提高壳体的硬度和耐划伤的性能,壳体型材采用复合材料不存在手机信号的屏蔽问题。

标签:
复合材料
广东 - 东莞 来源:中冶有色网 2023-03-18
钠离子电池负极材料的制备方法及负极材料,钠离子电池

本发明提供了一种钠离子电池负极材料的制备方法及负极材料,及钠离子电池。其中,钠离子电池负极材料的制备方法,包括:(1)水热反应将苯二胺、单宁酸和氧化石墨烯于水中搅拌均匀后,转入反应釜中进行水热反应得复合物;(2)碳化反应将复合物于400~700℃的碳化炉中进行碳化。本发明的制备方法中,苯二胺和单宁酸经碳化后可于石墨烯的基础上形成硬碳材料,提供更多的离子扩散通道,提升大倍率充放电性能。苯二胺和单宁酸可对形成的石墨烯复合材料进行杂元素掺杂,以增加材料的部分活性位点,提高整体材料容量。而且,掺杂N和O且碳化的石墨烯复合材料也具有较高的导电性,于制备成负极片时,可减少导电剂的加入,从而降低电池制造成本。

标签:
复合材料
广东 - 东莞 来源:中冶有色网 2023-03-18
含磷的反应型阻燃剂环氧树脂组合物、覆铜板及阻燃剂的制备方法

本发明提供了一种含磷的反应型阻燃剂环氧树脂组合物、覆铜板及阻燃剂的制备方法,所述含磷的反应型阻燃剂由带有‑P‑H反应基团的化合物与含有碳氮不饱和键的化合物通过加成反应得到;本发明提供的含磷的反应型阻燃剂结构新颖,应用范围广,结构中含有活性氨基,能够参与到复合材料的反应中,使得复合材料的稳定性增强,阻燃性提高,并且不会受到水等因素的影响,同时具有良好的物理性能和强度,应用前景良好。

标签:
复合材料
广东 - 东莞 来源:中冶有色网 2023-03-18
注塑成型鞋面材料及其制备方法

本发明提供了一种注塑成型鞋面材料及其制备方法,所述鞋面材料包括如下质量份数的原料组分:100份TPU颗粒、40‑70份EVA树脂、5‑20份超支化树脂、5‑30份填料和0.5‑3份交联剂。所述制备方法包括如下步骤:(1)将配方量的各组分加入螺杆挤出机中熔融塑化,得到TPU复合材料;(2)将所述TPU复合材料通过注塑机注射入模具中,冷却后得到所述注塑成型鞋面材料。本发明提供的注塑成型鞋面材料具有较高的拉伸强度、良好的弹性以及较低的收缩率,能有效减少产品在注塑过程中的收缩和翘曲。

标签:
复合材料
广东 - 东莞 来源:中冶有色网 2023-03-18
负极材料及其制造方法、锂离子电池及其负极片

本发明公开了一种负极材料,所述材料包含石墨烯片的堆叠层和锡金属颗粒,所述锡金属颗粒嵌入所述石墨烯片中或分布所述石墨烯片之间;本发明还公开了一种负极材料的制造方法,采用一步共热还原法,使锡氢氧化物在石墨烯片上直接还原得到锡金属颗粒,并焙烧得到锡-石墨烯复合材料;本发明还公开了一种锂离子电池,其负极采用上述锂离子电池负极材料制成。本发明的锂离子电池负极材料高比容量,首次放电容量可达到600-900mAh/g,稳定后容量可达到550-820mAh/g;长循环寿命,循环次数可达1000次以上;制备工艺简单,适合工业化生产。

标签:
复合材料
广东 - 东莞 来源:中冶有色网 2023-03-18
带有氨基的含磷化合物、环氧树脂组合物、制备方法及应用

本发明提供了一种带有氨基的含磷化合物、环氧树脂组合物、制备方法及应用,所述带有氨基的含磷化合物具有如下式I所示;本发明提供的带有氨基的含磷化合物可以参与反应,在复合材料中形成分子链片段,相比于添加型阻燃剂容易产生析出的现象,本发明的带有氨基的含磷化合物在复合材料中更稳定,玻璃化温度最高可达到180℃以上,阻燃性能优良,物理性能优良,层间剥离强度也可达到1N/mm以上,烘烤后仍能保持较高的稳定性,具有良好的应用前景和较高的应用价值。

标签:
复合材料
广东 - 东莞 来源:中冶有色网 2023-03-18
上一页 9 10 11 12 13 ... 52 下一页
共52页    到第

中冶有色为您提供最新的广东东莞有色金属复合材料技术理论与应用信息,涵盖发明专利、权利要求、说明书、技术领域、背景技术、实用新型内容及具体实施方式等有色技术内容。打造最具专业性的有色金属技术理论与应用平台!

全国热门有色金属设备推荐
展开更多 +
全国热门有色金属技术推荐
展开更多 +

 

江西省隆恩特环保设备有限公司
宣传

报名参会
更多+

报告下载

有色专家
更多+

有研科技集团有限公司
首席科学家
矿冶科技集团有限公司
中国工程院院士
中国矿业大学(北京)
院长/教授
赣州江钨钨合金有限公司
副总经理
石家庄铁道大学
团委书记/副教授
赤泥综合利用研究报告2025
推广

热门技术
更多+

推荐企业
更多+

福建省金龙稀土股份有限公司
宣传

发布

在线客服

公众号

电话

顶部
咨询电话:
010-88793500-807