青岛垚鑫智能科技有限公司
宣传

位置:中冶有色 >

有色技术频道 >

> 复合材料技术

分类:
全部
矿山技术
冶金技术
材料制备及加工技术
环境保护技术
分析检测技术
 
全部
功能材料技术
复合材料技术
新能源材料技术
合金材料技术
加工技术
地区:
全部
北京
天津
上海
重庆
河北
山西
辽宁
吉林
黑龙江
江苏
浙江
安徽
福建
江西
山东
河南
湖北
湖南
广东
海南
四川
贵州
云南
陕西
甘肃
青海
内蒙
广西
西藏
宁夏
新疆
其他
其他
展开
 
全部
南京
无锡
徐州
常州
苏州
南通
连云港
淮安
盐城
扬州
镇江
泰州
宿迁

江苏无锡有色金属复合材料技术理论与应用

免费发布技术信息>>
新型行星式不锈钢切管机

本发明公开了一种新型行星式不锈钢切管机,包括总电机柜(1),在总电机柜(1)下设置支架(2),在总电机柜(1)上设置移动电机(3),在移动电机(3)下设置固定轴承(4),在固定轴承(4)上设置智能显示屏(5),在工作台上设置旋转把手(6),在旋转把手(6)上设置汽缸(7)。本发明的有益效果是:本发明设计合理,结构简单。该新型行星式不锈钢切管机在工作时,将达到预期效果,大多切管机都需要有稳定使用时间长的要求配置,而此发明从材料上达到了要求,采用加强复合材料,使其加固提高使用安全性。

标签:
复合材料
江苏 - 无锡 来源:中冶有色网 2023-03-18
新型可控全自动切管机
新型可控全自动切管机 1120     
 0

本发明公开了一种新型可控全自动切管机,包括总电机柜(1),在总电机柜(1)上设置分线柜(2),在分线柜(2)旁设置智能控制器(3)和主轴(4),在主轴(4)下设置基座(5),在总电机柜(1)旁设置固定架(6)和支撑架(7),在支撑架(7)下设置轮子(8),在轮子(8)旁设置刹车(9)。本发明的有益效果是:本发明设计合理,结构简单。该新型可控全自动切管机在工作时,将达到预期效果,大多切管机都需要有稳定使用时间长的要求配置,而此发明从材料上达到了要求,采用加强复合材料,使其加固提高使用安全性。

标签:
复合材料
江苏 - 无锡 来源:中冶有色网 2023-03-18
电冰箱隔热板用复合包装膜

本发明属于包装复合材料技术领域,具体地说是一种电冰箱隔热板用复合包装膜,包括由外到内依次通过胶粘剂粘合在一起的聚酰胺膜、镀铝聚酯膜、铝箔、聚乙烯膜。本发明电冰箱隔热板用复合包装膜抗拉伸强度高,在使用过程中不易断裂,并且由于采用性能优良的镀铝聚酯膜及铝箔可以保证将冰箱外的热量反射回去,从而有效阻止外界的热量向内的传递,这种组合的薄膜导热系数大幅降低。

标签:
复合材料
江苏 - 无锡 来源:中冶有色网 2023-03-18
防尘光伏箱
防尘光伏箱 1123     
 0

本发明公开了一种防尘光伏箱,该光伏箱的内外壁均涂刷有防尘涂料层,所述的防尘涂料层由以下重量含量的组分制成:PBA/PMMA型核壳弹性粒子增韧环氧树脂35~50份、三聚氰胺‑尿素‑甲醛共缩聚树脂27~38份、甲基苯基二乙氧基硅烷12~23份、硅酸盐纳米纤维增强橡胶复合材料45~55份、丁腈橡胶/酚醛树脂/受阻酚AO80三元阻尼橡胶32~45份和1,5‑二氮环辛烷7~20份。通过上述方式,本发明不易积灰,容易清理,不会影响光伏发电站的正常运行。

标签:
复合材料
江苏 - 无锡 来源:中冶有色网 2023-03-18
带有储液罐的电炉烟气余热发电节能除尘方法

带有储液罐的电炉烟气余热发电节能除尘方法,其特征在于:电炉烟气由炉内排出,经水冷烟道混入冷风后进入沉降室,经过沉降室的烟气进入高温除尘器,所述高温除尘器为耐高温碳铜复合材料滤芯除尘器,再进入蓄热均温器,经过蓄热均温的烟气进集气室放出热量,由主风机压入排气筒入大气,同时,循环水进入换热器吸收烟气的热量,形成汽水混合物进蒸发器,放出热量,有机工质通过工质泵,在蒸发器中吸收热量,变成蒸汽,进入汽包,在汽轮机内膨胀做功,带动发电机发电,其特征在于:采用R227ea为循环有机工质。本发明采用工质储液罐,可确保工质循环泵连续加压,通过有机朗肯循环余热发电将热能转化为高品位电能,装置投资低、运行能耗低。

标签:
复合材料
江苏 - 无锡 来源:中冶有色网 2023-03-18
带有光纤的三维五向预制体

一种带有光纤的三维五向预制体,在纤维预制体的第五向轴向纱中包覆有至少一条光纤。本发明利用第五向纱是轴向竖直不动的特点,把光纤预埋在第五向纱线内,编织纱围绕第五向纱交织成三维五向预制体。该三维五向预制体面内和层间性能都得到了增强,克服了传统层合复合材料容易分层破坏的缺点,整体性好且力学性能优异。

标签:
复合材料
江苏 - 无锡 来源:中冶有色网 2023-03-18
热镀铝锌合金钢板及其制造方法

本发明涉及一种热镀铝锌合金钢板及其制造方法,用于建筑行业钢结构及汽车零部件等,属于钢卷板涂层复合材料技术领域。其主要采用冷轧钢板经电化脱脂、热处理后,将铝锌溶液热镀在冷轧钢板正反面上,再经风机冷却、光整、烘干、液压剪切为成品。本发明制造成本低,材料来源方便,设备采用常规镀锌机组;制造工艺简单,使用寿命比热镀锌薄钢板可提高4-5倍;能在高温和有腐蚀的条件下使用,安全性能可靠;能防止金属基体脆化,能避免折弯和拉伸应变造成的损伤;复配稳定,在快速移动(热浸)中,扩散系数,扩散时间,扩散厚度具有最佳比值;表面光亮,应用领域广泛。

标签:
复合材料
江苏 - 无锡 来源:中冶有色网 2023-03-18
织编竹织物及成型方法

本发明公开了织编竹织物及成型方法,它是把竹径条与柔性纤维纬纱配合织编成经向竹织编物,这些经向竹织编物可被广泛应用于生产各种夹竹复合材料产品,特别是生产竹质蜂窝芯,竹质蜂窝板等材料。

标签:
复合材料
江苏 - 无锡 来源:中冶有色网 2023-03-18
耐火环保木塑板的制备方法

本发明公开了一种耐火环保木塑板的制备方法,该方法将塑料废料先经过破碎机破碎后与辅料投放到混合机中,得到预混料;将预混料进行挤出机造粒,再与其它原料混合后挤出造粒,得到塑木粒料,将塑木粒料放入挤出机中,经模具挤出成型,挤出的型材经模压成型处理后即可。本发明所述的耐火环保木塑板的制备方法利用废旧塑料填充塑木型材,不但提高废旧塑料的资源利用率,同时所制备的耐火环保木塑板仍具有良好的力学性能和阻燃性,并极大降低塑木型材的生产成本,可以直接作为室内装潢材料使用,大大扩展了塑木复合材料的应用范围,市场前景广阔,经济效益明显。

标签:
复合材料
江苏 - 无锡 来源:中冶有色网 2023-03-18
含有潜伏性咪唑类固化促进剂的单组份环氧树脂组合物及其制备方法和应用

本发明公开了一种含有潜伏性咪唑类固化促进剂的单组份环氧树脂组合物及其制备方法和应用,属于环氧树脂的改性及应用技术领域。本发明的单组份环氧树脂组合物包括环氧基体树脂、固化剂及固化促进剂;所述固化促进剂是一种邻苯二甲酸酐咪唑衍生物,可以有效提高单组份环氧树脂组合物的室温存储稳定性,且在高温下可以使体系快速发生固化反应,此外,该固化促进剂使得本发明的单组份环氧树脂组合物的固化物具有较高的玻璃化转变温度,从而使得本发明的单组份环氧树脂组合物在环氧树脂胶粘剂、涂料、覆铜板、复合材料、电子封装材料等领域具有良好的应用前景;同时,本发明的制备方法简单安全,可广泛推广应用。

标签:
复合材料
江苏 - 无锡 来源:中冶有色网 2023-03-18
防滑移动传送机
防滑移动传送机 737     
 0

本发明公开了一种防滑移动传送机,其特征在于,包括主轴(1),在主轴(1)上设置皮带(2),通过传动杆(3)连接控制线(4),控制线(4)连接电机(5),在主轴(1)外设置护栏(6),在护栏(6)的一端设置从动轮(7),在电机(5)底部设置支架(8),在支架(8)上设置主动轮(9),在皮带(2)上设置加强筋(10),在支架(8)上设置伸缩装置(11),在从动轮(7)和主动轮(9)上设置防滑橡胶(12),本发明的有益效果是:本发明设计合理,结构简单。该防滑移动传送机在工作时,将达到预期效果,大多主轴都需要有耐高温要求配置,而此发明从材料上达到了要求,主轴采用加强复合材料,使其加固提高使用安全性。

标签:
复合材料
江苏 - 无锡 来源:中冶有色网 2023-03-18
新型减震自动包装机
新型减震自动包装机 685     
 0

本发明公开了一种新型减震自动包装机,其特征在于,包括机体(1),在机体(1)上设置传送导轨(2),在传送导轨(2)上设置压力板(3),在压力板(3)上设置把手(4),传送导轨(2)旁设置包装执行板(5),在包装执行板(5)上设置定位轴(7),在包装执行板(5)旁设置智能显示器(6),在机体(1)一侧设置输入固定轴(8),在机体(1)底部设置轮子(9),在轮子(9)上设置减震孔(10),本发明的有益效果是:本发明设计合理,结构简单。该新型减震自动包装机在工作时,将达到预期效果,大多传送导轨都需要有耐高温要求配置,而此发明从材料上达到了要求,传送导轨采用加强复合材料,使其加固提高使用安全性。

标签:
复合材料
江苏 - 无锡 来源:中冶有色网 2023-03-18
新型电动冲床
新型电动冲床 1013     
 0

本发明公开了一种新型电动冲床,其特征在于,包括底座(1),在底座(1)上设置滑柱(2),在滑柱(2)上设置冲头(3),在滑柱(2)顶部设置固定键(4),在滑柱(2)一侧设置电机(5),另一侧设置转子(6),在转子(6)上设置摇柄(7),本发明的有益效果是:本发明设计合理,结构简单。该新型电动冲床在工作时,将达到预期效果,大多滑柱都需要有耐高温要求配置,而此发明从材料上达到了要求,滑柱采用加强复合材料,使其加固提高使用安全性。

标签:
复合材料
江苏 - 无锡 来源:中冶有色网 2023-03-18
导电高分子材料包覆钴酸锂的正极材料及其制备方法

本发明适用于锂离子电池正极材料领域,提供一种导电高分子材料包覆钴酸锂的正极材料及其制备方法,所述方法首先通过钴源、掺杂物、锂源进行一次烧结获得钴酸锂基体,经过球磨,然后在钴酸锂基体上面沉积一层聚吡咯‑氧化铝复合膜,烘干处理后获得最终的改性导电高分子包覆高电压钴酸锂材料。导电高分子聚合物聚吡咯‑氧化铝复合材料,是一种导电性好且韧性较佳的纳米高分子改性材料,既有良好的机械强度和韧性又有优异的导电性和电化学可逆性,从而在不影响锂离子传输的情况下提高了钴酸锂颗粒耐滚压能力,最终达到提高循环性能和倍率性能的目的。同时材料的使用极片压实密度可以进一步提高。

标签:
复合材料
江苏 - 无锡 来源:中冶有色网 2023-03-18
新型可控封口机
新型可控封口机 883     
 0

本发明公开了一种新型可控封口机,其特征在于,包括底座(1),在底座(1)上设置转轴(2),在转轴(2)上设置传送带(3),在底座(1)上设置固定螺母(4),在固定螺母(4)两侧方便设置齿轮(5),在齿轮(5)上设置皮带(6),在皮带(6)上侧设置调整螺母(8),在齿轮(5)右侧设置控制面板(7),在底座(1)下设置轮子(9),在轮子(9)上设置消音三角带(10),在轮子(9)旁设置刹车(11),本发明的有益效果是:本发明设计合理,结构简单。该新型可控封口机在工作时,将达到预期效果,大多齿轮都需要有耐高温要求配置,而此发明从材料上达到了要求,齿轮采用加强复合材料,使其加固提高使用安全性。

标签:
复合材料
江苏 - 无锡 来源:中冶有色网 2023-03-18
新型高效降噪旋转离心泵

本发明公开了一种新型高效降噪旋转离心泵,其特征在于,包括泵体(1),在泵体(1)内设置转轴(2),在转轴(2)上设置叶片(3),在泵体(1)两侧设置输入口(4)和输出口(5),在输入口(4)和输出口(5)上设置联轴器(6),在泵体(1)下设置基座(7),在转轴(2)上设置降噪三角带(8),本发明的有益效果是:本发明设计合理,结构简单。该新型高效降噪旋转离心泵在工作时,将达到预期效果,大多泵都需要有防爆要求配置,而此发明从材料上达到了要求,采用加强复合材料材料,使其加固提高使用安全性。

标签:
复合材料
江苏 - 无锡 来源:中冶有色网 2023-03-18
新型防漏电点胶机
新型防漏电点胶机 763     
 0

本发明公开了一种新型防漏电点胶机,其特征在于,包括机架(1),在机架(1)上设置按钮(2),在机架(1)顶部设置滑轨(3),在滑轨(3)上设置支架(4),在支架(4)上设置点胶器(5),在机架(1)旁设置电箱(6),在电箱(6)上设置开关(7),在机架(1)底部设置轮子(8),在轮子(8)上设置消音三角带(9),在轮子(9)旁设置刹车(10),在开关(7)上设置绝缘橡胶(11),本发明的有益效果是:本发明设计合理,结构简单。该新型防漏电点胶机在工作时,将达到预期效果,大多支架都需要有耐高温要求配置,而此发明从材料上达到了要求,支架采用加强复合材料,使其加固提高使用安全性。

标签:
复合材料
江苏 - 无锡 来源:中冶有色网 2023-03-18
新型保护混流泵
新型保护混流泵 1029     
 0

本发明公开了一种新型保护混流泵,包括泵体(1),在泵体(1)上设置进料口(2),在泵体(1)旁设置挡水圈(3),挡水圈(3)连接联轴器(4),联轴器(4)连接电机(5),在泵体(1)与电机(5)下设置基座(6),在泵体(1)另一侧设置出料口(7),在电机(5)外设置保护层(8)。本发明的有益效果是:本发明设计合理,结构简单。该新型保护混流泵在工作时,将达到预期效果,大多泵都需要有防爆要求配置,而此发明从材料上达到了要求,采用加强复合材料,使其加固提高使用安全性。

标签:
复合材料
江苏 - 无锡 来源:中冶有色网 2023-03-18
新型改进减震活塞泵
新型改进减震活塞泵 906     
 0

本发明公开了一种新型改进减震活塞泵,包括泵体(1),在泵体(1)顶部设置进油口(2)和出油口(3),在进油口(2)旁设置配油盘(4),在泵体(1)内设有缸体(5),缸体(5)连接活塞(6),活塞(6)与泵体(1)间设置柱塞(7),在活塞(6)上设置减震孔(8)。本发明的有益效果是:本发明设计合理,结构简单。该新型改进减震活塞泵在工作时,将达到预期效果,大多泵都需要有防爆要求配置,而此发明从材料上达到了要求,采用加强复合材料,使其加固提高使用安全性。

标签:
复合材料
江苏 - 无锡 来源:中冶有色网 2023-03-18
新型快捷吸附式干燥机
新型快捷吸附式干燥机 1083     
 0

本发明公开了一种新型快捷吸附式干燥机,其特征在于,包括底座(1),在底座(1)上设置支架(6),通过支架(6)连接储气罐(2),在储气罐(2)之间设置控制器(3),在储气罐(2)顶部设置压力表(4),在控制器(3)上方设置过滤器(5),在控制器(3)上设置绝缘橡胶(7),在支架(6)上设置伸缩装置(8),在储气罐(2)上设置阀门(9),本发明的有益效果是:本发明设计合理,结构简单。该新型快捷吸附式干燥机在工作时,将达到预期效果,大多储气罐都需要有耐高温要求配置,而此发明从材料上达到了要求,储气罐采用加强复合材料,使其加固提高使用安全性。

标签:
复合材料
江苏 - 无锡 来源:中冶有色网 2023-03-18
新型消音风干机
新型消音风干机 1169     
 0

本发明公开了一种新型消音风干机,其特征在于,包括机体(1),在机体(1)上设置控制器(2),在机体(1)另一侧设置电动机(3),在机体(1)顶部设置导轨(5),在导轨(5)两侧设置滚轴(4),在导轨(5)上设置过滤层(6),在机体(1)底部设置轮子(7),在轮子(7)上设置消音三角带(8),本发明的有益效果是:本发明设计合理,结构简单。该新型消音风干机在工作时,将达到预期效果,大多滚轴都需要有耐高温要求配置,而此发明从材料上达到了要求,滚轴采用加强复合材料,使其加固提高使用安全性。

标签:
复合材料
江苏 - 无锡 来源:中冶有色网 2023-03-18
含有分子内氢键型咪唑固化促进剂的单组份环氧树脂组合物及其制备方法

本发明公开了一种含有分子内氢键型咪唑固化促进剂的单组份环氧树脂组合物及其制备方法,属于环氧树脂潜伏性固化促进剂技术领域。所述单组份环氧树脂组合物包括环氧基体树脂、固化剂及固化促进剂,所述固化促进剂是一种具有分子内氢键的苯并咪唑衍生物。所述苯并咪唑衍生物使得单组份环氧树脂组合物具有良好的室温存储稳定性;在高温下,所述苯并咪唑衍生物的分子内氢键断裂,碱催化活性被瞬间释放,固化放热峰更窄,快速催化环氧树脂组合物体系交联固化并在高温下快速发生固化交联反应,所得环氧固化物具有较高的玻璃化转变温度及热稳定性。本发明的环氧树脂组合物在环氧胶粘剂、涂料、复合材料、覆铜板、电子封装材料等领域具有良好的应用前景。

标签:
复合材料
江苏 - 无锡 来源:中冶有色网 2023-03-18
新型减震钻孔机
新型减震钻孔机 820     
 0

本发明公开了一种新型减震钻孔机,其特征在于,包括底座(1),在底座(1)上主件(2),在主件(2)上设置把手(3),在主件(2)一侧设置开关(4),在主键(2)下设置钻头(5),在底座(1)上设置工作台(6),在底座(1)下设置轮子(7),在轮子(7)上设置减震孔(8),本发明的有益效果是:本发明设计合理,结构简单。该新型减震钻孔机在工作时,将达到预期效果,大多钻头都需要有耐高温要求配置,而此发明从材料上达到了要求,钻头采用加强复合材料,使其加固提高使用安全性。

标签:
复合材料
江苏 - 无锡 来源:中冶有色网 2023-03-18
消音塑焊机
消音塑焊机 1175     
 0

本发明公开了一种消音塑焊机,其特征在于,包括机体(1),在机体(1)内设置控制器(2),在机体(1)上设置工作台(3),在工作台(3)上方设置超声波发生器(4),在超声波发生器(4)下设置工具头(5),在工作台(3)旁设置换能器(6),在超声波发生器(4)一侧设置升降装置(7),在机体(1)底部设置轮子(8),在轮子(8)上设置消音三角带(9),本发明的有益效果是:本发明设计合理,结构简单。该消音塑焊机在工作时,将达到预期效果,大多工具头都需要有耐高温要求配置,而此发明从材料上达到了要求,工具头采用加强复合材料,使其加固提高使用安全性。

标签:
复合材料
江苏 - 无锡 来源:中冶有色网 2023-03-18
散热板材冷压机
散热板材冷压机 1169     
 0

本发明公开了一种散热板材冷压机,包括机架,在机架上设置下压板,通过连接件连接下压板和压轴,在机架一侧设置开关,在下压板下设置伸缩架,在开关上设置散热扇,本发明的有益效果是:本发明设计合理,结构简单,该散热板材冷压机在工作时,将达到预期效果,大多压轴都需要有耐高温要求配置,而此发明从材料上达到了要求,压轴采用加强复合材料,使其加固提高使用安全性,伸缩架的设置是为了根据工作需求来调整下压板的高度,散热扇的设置是为了在开关使用时起到散热保护作用。

标签:
复合材料
江苏 - 无锡 来源:中冶有色网 2023-03-18
新型散热低温冷冻箱
新型散热低温冷冻箱 1016     
 0

本发明公开了一种新型散热低温冷冻箱,其特征在于,包括箱体(1),在箱体(1)上设置箱门(2),在箱门(2)上设置把手(3),在箱体(1)底部设置支撑架(4),在箱体(1)一侧设置电机(5),在电机(5)上设置智能显示器(6),在智能显示器(6)下设置开关(7),在电机(5)上设置散热扇(8),本发明的有益效果是:本发明设计合理,结构简单。该新型散热低温冷冻箱在工作时,将达到预期效果,大多低温冷冻箱体都需要有高保温要求配置,而此发明从材料上达到了要求,箱体采用加强复合材料,使其加固提高使用安全性。

标签:
复合材料
江苏 - 无锡 来源:中冶有色网 2023-03-18
温控热压机
温控热压机 1132     
 0

本发明公开了一种温控热压机,其特征在于,包括支架(1),在支架(1)内设置热压板(2),在热压板(2)底部设置升降台(10),在升降台(10)下设置液压缸(3),在液压缸(3)旁设置输油口(4),通过输油管道(5)连接油箱(6),在油箱(6)下设置电机(7),在液压缸(3)下设置基座(8),在支架(1)一侧设置控制电箱(9),在支架(1)上设置温度检测器(11),通过传感器(12)连接报警器(13),本发明的有益效果是:本发明设计合理,结构简单。该温控热压机在工作时,将达到预期效果,大多热压板都需要有耐高温要求配置,而此发明从材料上达到了要求,热压板采用加强复合材料,使其加固提高使用安全性。

标签:
复合材料
江苏 - 无锡 来源:中冶有色网 2023-03-18
新型可控电动冲床
新型可控电动冲床 840     
 0

本发明公开了一种新型可控电动冲床,其特征在于,包括底座(1),在底座(1)上设置滑柱(2),在滑柱(2)上设置冲头(3),在滑柱(2)顶部设置固定键(4),在滑柱(2)一侧设置电机(5),另一侧设置转子(6),在转子(6)上设置摇柄(7),在底座(1)下设置轮子(8),在轮子(8)上设置降噪三角带(9),在轮子(8)旁设置刹车(10),本发明的有益效果是:本发明设计合理,结构简单。该新型可控电动冲床在工作时,将达到预期效果,大多滑柱都需要有耐高温要求配置,而此发明从材料上达到了要求,滑柱采用加强复合材料,使其加固提高使用安全性。

标签:
复合材料
江苏 - 无锡 来源:中冶有色网 2023-03-18
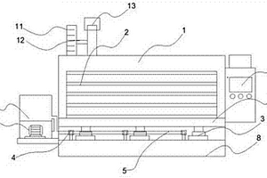
新型减震全自动切管机

本发明公开了一种新型减震全自动切管机,包括总电机柜(1),在总电机柜(1)上设置分线柜(2),在分线柜(2)旁设置智能控制器(3)和主轴(4),在主轴(4)下设置基座(5),在总电机柜(1)旁设置固定架(6)和支撑架(7),在主轴(4)上设置减震孔(8)。本发明的有益效果是:本发明设计合理,结构简单。该新型减震全自动切管机在工作时,将达到预期效果,大多切管机都需要有稳定使用时间长的要求配置,而此发明从材料上达到了要求,采用加强复合材料,使其加固提高使用安全性。

标签:
复合材料
江苏 - 无锡 来源:中冶有色网 2023-03-18
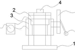
机械加工表面精整设备
机械加工表面精整设备 1140     
 0

一种机械加工表面精整设备,包括:外框(10),外框上设置液体出口通道(12),可移动平台(14)位于外框内,由孔状聚合物复合材料制成的表层(16)位于转动板(14)之上,表层(16)为复合层,由基层和顶层组成,基层厚度为0.5-1.5mm,顶层为0.1-0.5mm,通过传动杆(18)的旋转带动板(14)转动;待处理基材(25)通过夹紧装置(20)夹紧,并与板14相对设置,夹紧装置(20)上设有一条板(22),通过条板22固定于外框(10)上,条板22与夹紧装置之间设有轴承(26),夹紧装置20通过杆28被施加向下的压力,压力为200-300Kpa,通过泵(34)将精整液经由管32输送到表层(16)上,平台除可作旋转运动外,还可做垂直升降运动,设计独特,利于操作,简单实用。

标签:
复合材料
江苏 - 无锡 来源:中冶有色网 2023-03-18
上一页 6 7 8 9 10 ... 500 ... 573 下一页
共573页    到第

中冶有色为您提供最新的江苏无锡有色金属复合材料技术理论与应用信息,涵盖发明专利、权利要求、说明书、技术领域、背景技术、实用新型内容及具体实施方式等有色技术内容。打造最具专业性的有色金属技术理论与应用平台!

全国热门有色金属设备推荐
展开更多 +
全国热门有色金属技术推荐
展开更多 +

 

江西省隆恩特环保设备有限公司
宣传

报名参会
更多+

报告下载

有色专家
更多+

矿冶科技集团江苏北矿金属循环利用科技有限公司
书记 / 总经理
江西铜业集团有限公司
党委书记、董事长
昆明理工大学
校长
中国瑞林工程技术有限公司
中国工程院院士
矿冶科技集团有限公司工程公司
副总经理
赤泥综合利用研究报告2025
推广

热门技术
更多+

推荐企业
更多+

福建省金龙稀土股份有限公司
宣传

发布

在线客服

公众号

电话

顶部
咨询电话:
010-88793500-807