青岛垚鑫智能科技有限公司
宣传

位置:中冶有色 >

有色技术频道 >

> 复合材料技术

分类:
全部
矿山技术
冶金技术
材料制备及加工技术
环境保护技术
分析检测技术
 
全部
功能材料技术
复合材料技术
新能源材料技术
合金材料技术
加工技术
地区:
全部
北京
天津
上海
重庆
河北
山西
辽宁
吉林
黑龙江
江苏
浙江
安徽
福建
江西
山东
河南
湖北
湖南
广东
海南
四川
贵州
云南
陕西
甘肃
青海
内蒙
广西
西藏
宁夏
新疆
其他
其他
展开
 
全部
南京
无锡
徐州
常州
苏州
南通
连云港
淮安
盐城
扬州
镇江
泰州
宿迁

江苏无锡有色金属复合材料技术理论与应用

免费发布技术信息>>
二次合金化电镀镍锡钢板、带

本实用新型涉及一种二次合金化电镀镍锡钢板、带,具体地说是用于化工、食品、电子、建筑装潢、光纤光缆、包装等行业,属于钢卷板镀层复合材料技术领域。其主要采用在冷轧钢基板、带正反面与电镀锡层之间电镀镍层,在电镀锡层上均匀涂油层。电镀镍层厚度控制在:2~10g/m2。电镀锡层厚度控制在:4~16.8g/m2。涂油层厚度控制在:1~4g/m2。本实用新型不含有对环境保护不利的铬,同时镀层密合性、抗黄变性及抗锈性优良;制作工艺具有连续性,便于操作,表面更加光亮、光滑,使用寿命长;制造成本低,材料来源方便,使用范围广。

标签:
复合材料
江苏 - 无锡 来源:中冶有色网 2023-03-18
新型计算机用多对屏蔽控制电缆

本实用新型公开了一种新型计算机用多对屏蔽控制电缆,属于电缆技术领域。一种新型计算机用多对屏蔽控制电缆,包括绝缘线缆相互绞合成的缆芯,在所述缆芯外依次设置无纺布层、总屏蔽层、内护套层、铠装层和外护套层,在所述缆芯和无纺布层之间设置填充料,所述的绝缘线缆包括两根导体,在所述导体外依次设置绝缘层、分屏蔽层、箔聚酯膜层,在所述绝缘层和分屏蔽层之间设置填充料。本实用新型设置了多屏蔽层,在分屏蔽层外增设箔聚酯膜,可以加强屏蔽效果,填充层采用碳化硅复合材料、增设铠装层,有效提高了产品的强度,外护套层采用阻燃聚乙烯外护套层或氟塑料外护套层,提高了产品的阻燃性和耐高温性,可以应用于一些特殊场合。

标签:
复合材料
江苏 - 无锡 来源:中冶有色网 2023-03-18
铝箔双面一次成型无溶剂复合机

本实用新型公开了一种铝箔双面一次成型无溶剂复合机,包括顶架、第一工位、第二工位和第三工位,第一工位、第二工位和第三工位从前往后一次设置在顶架下方,第一工位和第三工位两侧分别设置有第一混胶装置和第二混胶装置,第一工位上设置第一上胶装置和第一放卷装置,第二工位上设置第三方娟装置和收卷装置,第三工位上设置第二放卷装置和第二上胶装置,第一工位上方设置铝箔放料架。本实用新型结构设计合理巧妙,利用分设在三个工位上的放卷装置和上胶装置,实现三层材料或两层材料的复合,材料走膜长度短,机械占用空间小,具有多用性,可降低生产成本。

标签:
复合材料
江苏 - 无锡 来源:中冶有色网 2023-03-18
抗静电铝塑复合带
抗静电铝塑复合带 945     
 0

本实用新型提供了一种抗静电铝塑复合带。本实用新型的抗静电铝塑复合带,包括由上至下依次设置的铝箔层、复合胶水层、PET层和抗静电复合层,抗静电复合层由烷基磷酸酯盐类表面活性剂层与导电炭黑高分子复合材料层交替层叠;抗静电复合层不仅减少了湿度对烷基磷酸酯盐类表面活性剂抗静电性能的影响,降低了炭黑粒子易脱落现象,而且显著提高铝塑复合带的抗静电性能,本实用新型通过合理控制各层的厚度及组成,显著提高了铝塑复合带的抗静电性能,同时具有良好的力学性能,其表面电阻为(7.71~8.73)×107Ω,抗张强度高,为136~161MPa,伸长率为71~90%。

标签:
复合材料
江苏 - 无锡 来源:中冶有色网 2023-03-18
船体金属用涂层结构
船体金属用涂层结构 764     
 0

本实用新型公开了一种船体金属用涂层结构。该涂层结构包括金属基底和涂布于所述基底上的有机硅树脂复合材料涂层,所述涂层包括有机硅树脂、固化剂和无机填料。本实用新型的涂层材料在金属表面具有良好的粘接性,解决了有机硅树脂在金属材料表面附着力不好、容易脱落的问题,并且该涂层具有较好的耐酸碱腐蚀、防水防锈、耐温性和耐候性。

标签:
复合材料
江苏 - 无锡 来源:中冶有色网 2023-03-18
用于废旧轧辊修复的镶套

本实用新型公布了一种用于废旧轧辊修复的镶套,包括轧辊主体和镶套在轧辊主体外侧的镶套;轧辊主体又分为辊身、辊颈和接头三部分;辊身位于所述的轧辊主体的中心部位,其表面设有菱形纹路结构;辊颈位于辊身和接头之间,用于固定连接辊身和接头;镶套整体呈空心圆柱体状,其材质为32CrNIMoV;镶套的外表面设有一层高分子复合材料涂层。本实用新型采用镶套的方法来修复废旧轧辊,更有利于提高生产效率,真正的将精益化生产思想落到实处;以此同时,经修复镶套后的成品锟其寿命可以达到正常新的轧辊同等寿命,修复成本与购买新的轧辊相比减少了三分之一的费用,并且适用大小轧辊,运用广泛。

标签:
复合材料
江苏 - 无锡 来源:中冶有色网 2023-03-18
浓密机盖板
浓密机盖板 1073     
 0

浓密机盖板,涉及净化分离领域中一种用于湿法冶炼固液分离设备装置,由玻璃钢内层、夹芯保温层、玻璃钢外层组成,夹芯保温层由若干蜂窝填料拼组,所述的蜂窝孔中充填有聚氨酯泡沫塑料,通过本身的粘结力结合成为一个复合材料整体,强度大大提高,比相同强度的全玻璃钢盖板重量减轻约20%,成本降低35%,盖板设计承重达180公斤/M2。?

标签:
复合材料
江苏 - 无锡 来源:中冶有色网 2023-03-18
高隔热超低导热系数的复合保温材料

本实用新型公开了一种高隔热超低导热系数的复合保温材料,包括复合保温材料和抗紫外线隔离层,所述复合保温材料的上方表面设置有聚四氟乙烯涂层,且聚四氟乙烯涂层的上方表面覆盖有防水保护层,所述防水保护层的上方设置有透明疏水层,所述抗紫外线隔离层覆盖于透明疏水层的上方,所述复合保温材料包括隔热填料、第一密封线框、编织连接线、第二密封线框和交织带。该高隔热超低导热系数的复合保温材料玻璃棉、纳米级气凝胶和难燃材料层之间采用纳米复合材料进行支撑,在满足高隔热超低导热系数的同时提升了隔热填料的承载能力,同时通过增设的难燃材料层,能够使复合保温材料的阻燃性能提升,避免靠近火源周围时引起安全事故。

标签:
复合材料
江苏 - 无锡 来源:中冶有色网 2023-03-18
功率模块用底板及功率模块

本实用新型涉及一种功率模块用底板及功率模块,包括底板基体,在底板基体的一面设有用于焊接覆铜陶瓷基板或功率元器件及其裸芯片的接合层;其特征是:所述接合层通过冷喷涂法形成;所述接合层的材质为热膨胀系数在覆铜陶瓷基板或功率元器件及其裸芯片和功率模块用底板之间的金属基复合材料或纯金属。本实用新型能够有效地降低功率模块工作时由于底板与覆铜陶瓷基板或功率元器件及其裸芯片之间热膨胀系统差异产生的热应力,提高功率模块的可靠性。

标签:
复合材料
江苏 - 无锡 来源:中冶有色网 2023-03-18
能有效判定使用寿命的绝缘横担

本实用新型涉及的一种能有效判定使用寿命的绝缘横担,其特征在于它包括内层的玻纤增强复合材料的结构层,结构层的截面为矩形管截面,所述结构层内部设置有填充层,所述结构层的外部设置有防护层;其中结构层的颜色为暗色,防护层的颜色为亮色,结构层的老化速度比防护层的老化速度慢。本实用新型由于一种能有效判定使用寿命的绝缘横担上的结构层比防护层的老化速度略慢,当肉眼观察到防护层的颜色褪去,露出内部的结构层的颜色时,则判定该绝缘横担达到使用年限应该予以更换。本实用新型不但具有重量轻、强度好、抗冲击性、介电性能优良、耐腐蚀性、耐热性能好等优点,还能便于用肉眼判定使用寿命,实现及时更换,保障电力系统的安全运行。

标签:
复合材料
江苏 - 无锡 来源:中冶有色网 2023-03-18
带有缓冲连接结构的水面漂浮式密集型光伏发电装置

本实用新型涉及一种光伏发电装置,具体的说是一种带有缓冲连接结构的水面漂浮式密集型光伏发电装置,属于光伏发电设备技术领域。其包括多个水面漂浮光伏发电单元,多个水面漂浮光伏发电单元通过若干个缓冲连接器连接成一体,水面漂浮光伏发电单元包括漂浮管件、水平梁、立柱、光伏组件安装梁和光伏组件,在多个漂浮管件上连接多个水平梁,水平梁上通过夹板连接立柱。本实用新型的泡在水体中的漂浮管件采用FRP复合材料制作,在各种水质的水面均可使用,且大幅提高支架使用年限;水平梁、立柱、光伏组件安装梁均设置在水面上,水体对水面上的钢结构腐蚀较小;在各个水面漂浮光伏发电单元之间为线缆铺高及检修提供了检修通道。

标签:
复合材料
江苏 - 无锡 来源:中冶有色网 2023-03-18
小型多功能节能炉灶
小型多功能节能炉灶 990     
 0

一种小型节能炉灶,属于附有热水装置的炉灶领 域(IPC:F24B1/00)。本炉灶包括带有保温层的 炉体、由氧化铝纤维复合材料制成的薄壁炉胆、炉胆 下方的灰渣钢管、磁性炉封、烟囱、及调风圈,并在炉 体内层和炉胆之间形成余热水箱。该炉灶具有热效 率高,多功能、结构紧固、操作简便等优点,可用来烹 调、烧开水、洗澡、洗涤、取暖等,是一种家用小型节能 炉灶。

标签:
复合材料
江苏 - 无锡 来源:中冶有色网 2023-03-18
三维编织物
三维编织物 1200     
 0

一种三维编织物。涉及对采用矩形编织和圆形编织方式加工的三维编织物结构的改进。所有编织纱线在编织物中以一排一空的跳棋式行列方式分布排列,所述各编织纱线在所述编织物的纵向上呈螺旋向行走,行走中与且只与其周围紧邻的编织纱线相交绕。本实用新型的有益效果是,可以在构成整体结构的三维编织物的同时,减少编织纱线在编织物中的分布的曲折程度,提高编织纱线拉伸模量的利用率,增强编织物的抵抗损伤能力。尤其是能减少每根编织纱线在编织物中的弯曲程度和曲折分布范围来提高编织纱线拉伸模量利用率的三维编织物,该三维编织物用作复合材料增强体。

标签:
复合材料
江苏 - 无锡 来源:中冶有色网 2023-03-18
无纱疵碳纤维短压掌悬锭锭翼

本实用新型涉及一种无纱疵碳纤维短压掌悬锭锭翼,具体地说是用于使积聚在粗纱通道出口处外侧的短绒尘杂能连续排出而消除积花纱疵,属纺织机械设备技术领域。其主要采用粗纱通道、定位套与锭翼体结合为一体,短压掌通过压掌定位块联结为一体悬挂在定位套上。本实用新型结构简单、紧凑,合理;能使积聚在粗纱通道出口处外侧的短绒尘杂能连续排出而消除积花纱疵;由于短压掌采用碳纤维复合材料制成,质轻、耐磨、使用寿命长、定位准确、装拆方便,也不会造成压掌失效,性能安全可靠;整个锭翼转动惯量小,有利于降低粗纱机能耗。

标签:
复合材料
江苏 - 无锡 来源:中冶有色网 2023-03-18
具有防爆功能的电池包箱体

本实用新型公开了一种具有防爆功能的电池包箱体,所述箱体由外而内依次为外部覆板、中间安装内部模组用筋和内部阻燃内衬,所述外部覆板采用SMC复合材料,所述外部覆板四周设置吊耳。本实用新型的有益效果是:结构简单,轻便满足电池包使用要求,同时考虑了电池包受到外力作用,受损较大情况下的吸能情况,有效保护了电池组。

标签:
复合材料
江苏 - 无锡 来源:中冶有色网 2023-03-18
变电站电力调试装置
变电站电力调试装置 724     
 0

本实用新型公开了一种变电站电力调试装置,具体涉及电网施工设备领域,包括固定座,固定座的两侧安装有固定耳、膨胀螺栓,固定座的内侧贴附有绝缘层,绝缘层的内部卡接有绝缘座,绝缘座的上表面开设有通孔并活动安装有板体,板体的内部设置有减震空腔,减震空腔的内部填充有减震阻尼,伸缩杆的表面活动套接有减震弹簧,板体顶面的两端开设有调试槽并卡接有螺栓。本实用新型通过在固定座内部设置绝缘层和绝缘座,利用陶瓷复合材料制成的绝缘层和绝缘座,兼具高强度与绝缘性,能够有效阻绝电力设备与变电站箱体的连接通路,避免电力设备调试时由于操作不规范导致电路错误搭接引发的安全问题,进一步提高该调试安装设备的安全可靠性。

标签:
复合材料
江苏 - 无锡 来源:中冶有色网 2023-03-18
防水阻燃针织毛呢面料
防水阻燃针织毛呢面料 1177     
 0

本实用新型公开了一种防水阻燃针织毛呢面料,包括基布层,所述基布层的一侧复合摇粒绒层,另一侧依次复合功能层和毛呢层,所述基布层由经纱和纬纱交织通过平纹组织交织而成,所述经纱为复合纤维纱,所述纬纱为混纺纱,所述功能层由透气膜和阻燃层复合而成,所述透气膜由聚氨酯复合材料构成,所述透气膜表面设有微孔,所述微孔尺径大于汗水分子尺径,小于水分子尺径;所述透气膜与基布层复合连接,所述阻燃层与毛呢层复合连接。本实用新型的基布层两侧的摇粒绒层和功能层的复合,一方面提高了面料的保暖性能,另一方面增加了面料的阻燃性,从而提高面料的安全性,功能层的透气膜上设有微孔,有利于汗气分子排出,保证服装穿着时的舒适性。

标签:
复合材料
江苏 - 无锡 来源:中冶有色网 2023-03-18
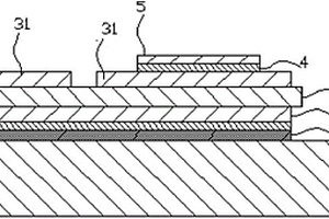
耐高温低损耗复合绝缘同轴电缆

一种耐高温低损耗复合绝缘同轴电缆,其特征是从内到外依次为:沿电缆的中心轴线纵向延伸的实心或绞合的金属内导体(1)、聚四氟乙烯微孔复合绝缘层(2)、金属编织的或附加内屏蔽层的外导体(3)、全氟乙烯丙烯共聚物或低烟无卤阻燃聚烯烃材质的护套层(4),其中聚四氟乙烯微孔复合绝缘层(2)将金属内导体(1)和外导体(3)隔开;所述聚四氟乙烯微孔复合绝缘层(2)的材料为纳米多面体笼型倍半硅氧烷(POSS)填充改性的聚四氟乙烯有机-无机纳米复合材料。本同轴电缆降低了电缆绝缘层的介电常数。由传统实心聚四氟乙烯绝缘介电常数2.1降低到1.2~1.6,下降了约24%~43%,降低了电缆高频通信的信号衰减。

标签:
复合材料
江苏 - 无锡 来源:中冶有色网 2023-03-18
带开口的框架条
带开口的框架条 1191     
 0

本实用新型公开了一种带开口的框架条,所述框架条包括底板(1)、第一挡板(2)、第二挡板(3)、第三挡板(4),第一挡板(2)设置在底板(1)一侧,第三挡板(4)设置在底板(1)的另一侧,第二挡板(3)设置在第一挡板(2)和第三挡板(4)之间的底板(1)上,第一挡板(2)、第二挡板(3)、第三挡板(4)相互平行且依次增高,在第二挡板(3)和第三挡板(4)内侧一端对称设有一对凸块(5),所有部件都是一体化设置,框架条两端分别设有一个45度斜面;框架条以新型复合材料制作;本实用新型可以起到绝缘的效果,而且价格便宜,结构更加合理。

标签:
复合材料
江苏 - 无锡 来源:中冶有色网 2023-03-18
用于电气化铁路接触网的智能绞线

本实用新型涉及的一种用于电气化铁路接触网的智能绞线,它包括智能绞线本体(1),所述智能绞线本体(1)为由外围多根单丝围绕中心单丝绞合而成的单芯式多层绞线,所述外围单丝包括铜合金单丝(4)和碳纤维复合材料单丝(6),所述中心单丝包括橡胶材料(3)和光纤(2),所述橡胶材料(3)的中心设置一根光纤(2)。本实用新型具有灵敏度高、稳定性好、测试距离长以及结构简单等优点,实现对接触网的智能化监测,可显著提高高速电气化铁路接触网安全可靠性,减少人工巡线工作强度,大幅降低运行维护成本。

标签:
复合材料
江苏 - 无锡 来源:中冶有色网 2023-03-18
氧化锌量子点包覆物、包覆策略、制品及应用

本发明提供一种氧化锌量子点包覆物、包覆策略、制品及应用,属于功能纳米复合材料技术领域。氧化锌量子点包覆物由生物大分子自交联包覆而成,氧化锌量子点在320‑400nm的UVA波段和280‑320nm的UVB波段具有紫外光光谱吸收特性;生物大分子包括黑色素、类黑色素、壳聚糖、海藻酸钠、环糊精、透明质酸、木质素中的至少一种。包覆策略能够有效限制氧化锌量子点向皮肤真皮层的渗透,使用更加安全;与单一氧化锌量子点的紫外吸收作用相比,用生物大分子包覆复合之后,由于能量转化以及界面相互作用,氧化锌量子点包覆物显示出更好的紫外吸收效果;另外,生物大分子对于改善无机粒子防晒剂的外观、肤感都具有积极意义。

标签:
复合材料
江苏 - 无锡 来源:中冶有色网 2023-03-18
基于砂浆快速置换的砌体结构低干预加固方法

本发明公开了一种基于砂浆快速置换的砌体结构低干预加固方法,包括步骤为:测量灰缝原有砂浆的强度和饱满度;根据测得的灰缝原有砂浆强度确定合适的水射流器水压,根据测得的砂浆饱满度及需要剔除的深度确定合适的水射流器移动速度,根据剔除顺序及原则确定水射流器移动路径;水射流器对准灰缝原有砂浆;使用水射流剔除灰缝原有砂浆;3D打印头伸入灰缝砂浆剔除后的空隙,“Z”字形填充水泥水凝胶复合材料;灰缝砂浆剔除、嵌补结束,工作设备向前行进。本发明能降低对结构的扰动;被加固构件无需设置支撑体系,简化施工工序,减小人力、物力投入;在不损伤块材的前提下,高效剔除灰缝砂浆;实现基于砂浆快速置换的砌体结构低干预加固。

标签:
复合材料
江苏 - 无锡 来源:中冶有色网 2023-03-18
负载钌单原子电解水催化材料及其制备方法

本发明公开了一种负载钌单原子电解水催化材料及其制备方法,属于复合材料制备领域。所述负载钌单原子电解水催化材料由反应活性物和载体组成,所述反应活性物为钌单原子,所述载体为氮掺杂的碳纳米纤维材料。本发明通过静电纺丝法制备得到含有钌元素的纳米纤维膜,然后在NH3和保护气氛围下多次煅烧,得到负载钌单原子电解水催化材料,制备方法简单,成本低。该电解水催化材料具有高比表面积,有利于电解液的扩散和气体的脱附,同时具有大量活性位点,在碱性条件下具有十分优异的析氢性能,析氢速率远优于商业20%Pt/C,具有良好的应用前景。

标签:
复合材料
江苏 - 无锡 来源:中冶有色网 2023-03-18
应用于炉体内壁的高温耐磨材料及其制备方法

本发明公开了一种应用于炉体内壁的高温耐磨材料,包括主料和辅料,所述主料和辅料的重量配比为10:2‑3;主料包括如下重量份的原料:锆刚玉细粉19‑25份、碳化硅细粉16‑20份、改性电熔莫来石12‑18份、复合微粉6‑9份、结合剂18‑24份;辅料包括如下重量份的原料:磷酸二氢铝水溶液15‑20份、氢氧化铝6‑9份、石墨烯4‑5份、硼砂0.5‑1份、烧结剂1.5‑2份、减水剂4‑6份;本发明还公开了该高温耐磨材料的制备方法。本发明得到一种高温耐磨复合材料,具有很好的耐磨性、抗侵蚀性和耐冲刷性、热震稳定性以及高导热性,适用于循环流化床锅炉的耐磨层,能够延长耐磨层的使用寿命,减少复杂的修补次数、维护周期及成本。

标签:
复合材料
江苏 - 无锡 来源:中冶有色网 2023-03-18
新型快捷表面曝气机
新型快捷表面曝气机 879     
 0

本发明公开了一种新型快捷表面曝气机,其特征在于,包括转轴(1),在转轴(1)下设置倒伞型叶轮(2),在转轴(1)上设置控制器(3),在控制器(3)上设置升降装置(4),在升降装置(4)旁设置减速器(5),通过联轴器(6)连接三相异步电动机(7),在转轴(1)旁设置LED灯(8),本发明的有益效果是:本发明设计合理,结构简单。该新型快捷表面曝气机在工作时,将达到预期效果,大多转轴都需要有耐高温要求配置,而此发明从材料上达到了要求,转轴采用加强复合材料,使其加固提高使用安全性。

标签:
复合材料
江苏 - 无锡 来源:中冶有色网 2023-03-18
新型固定吸附式干燥机

本发明公开了一种新型固定吸附式干燥机,其特征在于,包括底座(1),在底座(1)上设置支架(6),通过支架(6)连接储气罐(2),在储气罐(2)之间设置控制器(3),在储气罐(2)顶部设置压力表(4),在控制器(3)上方设置过滤器(5),在控制器(3)上设置温度计(7),在温度计(7)旁设置报警器(8),在底座(1)下设置固定垫块(9),本发明的有益效果是:本发明设计合理,结构简单。该新型固定吸附式干燥机在工作时,将达到预期效果,大多储气罐都需要有耐高温要求配置,而此发明从材料上达到了要求,储气罐采用加强复合材料,使其加固提高使用安全性。

标签:
复合材料
江苏 - 无锡 来源:中冶有色网 2023-03-18
新型散热格栅除渣机
新型散热格栅除渣机 1003     
 0

本发明公开了一种新型散热格栅除渣机,其特征在于,包括支架(1),在支架(1)上设置机架(2),在机架(2)内设置传动齿轮(3),在传动齿轮(3)上设置传动格栅(4),在机架(2)顶部设置电机(5)连接传动齿轮(3),在支架(1)上设置伸缩装置(6),在电机(5)上设置排风扇(7),本发明的有益效果是:本发明设计合理,结构简单。该新型散热格栅除渣机在工作时,将达到预期效果,大多支架都需要有高强度高抗屈服要求配置,而此发明从材料上达到了要求,支架采用加强复合材料,使其加固提高使用安全性。

标签:
复合材料
江苏 - 无锡 来源:中冶有色网 2023-03-18
新型温控冷干机
新型温控冷干机 1129     
 0

本发明公开了一种新型温控冷干机,其特征在于,包括机架(1),在机架(1)上设置预冷回热器(2),在预冷回热器(2)旁设置制冷压缩机(3),在预冷回热器(2)上设置控制面板(4),在制冷压缩机(3)旁设置风冷式冷凝器(5),在风冷式冷凝器(5)旁设置蒸发器(6),在机架(1)顶部设置空气进出口(7),在蒸发器(6)上设置消音三角带(8),在机架(1)顶部设置温度检测器(9),在温度检测器(9)旁设置报警器(10),本发明的有益效果是:本发明设计合理,结构简单。该新型温控冷干机在工作时,大多机架都需要有高强度高抗屈服要求配置,机架采用加强复合材料,使其加固提高使用安全性。

标签:
复合材料
江苏 - 无锡 来源:中冶有色网 2023-03-18
新型高效稳定焊锡机
新型高效稳定焊锡机 832     
 0

本发明公开了一种新型高效稳定焊锡机,其特征在于,包括机架(1),在机架(1)上设置开关(2),在机架(1)底部设置工作台(3),在机架(1)一侧设置电箱(4),在机架(1)顶部设置送锡机构(5),送锡机构(5)旁设置分机(7),在送锡机构(5)下设置发热体(6),在送锡机构(5)上设置消音三角带(8),在发热体(6)上设置加强筋(9),在机架(1)底部设置固定垫块(10),本发明的有益效果是:本发明设计合理,结构简单。该新型高效稳定焊锡机在工作时,将达到预期效果,大多机架都需要有耐高温要求配置,而此发明从材料上达到了要求,机架采用加强复合材料,使其加固提高使用安全性。

标签:
复合材料
江苏 - 无锡 来源:中冶有色网 2023-03-18
新型改进减震吸附式干燥机

本发明公开了一种新型改进减震吸附式干燥机,其特征在于,包括底座(1),在底座(1)上设置支架(6),通过支架(6)连接储气罐(2),在储气罐(2)之间设置控制器(3),在储气罐(2)顶部设置压力表(4),在控制器(3)上方设置过滤器(5),在底座(1)上设置减震孔(7),本发明的有益效果是:本发明设计合理,结构简单。该新型改进减震吸附式干燥机在工作时,将达到预期效果,大多储气罐都需要有耐高温要求配置,而此发明从材料上达到了要求,储气罐采用加强复合材料,使其加固提高使用安全性。

标签:
复合材料
江苏 - 无锡 来源:中冶有色网 2023-03-18
上一页 4 5 6 7 8 ... 500 ... 573 下一页
共573页    到第

中冶有色为您提供最新的江苏无锡有色金属复合材料技术理论与应用信息,涵盖发明专利、权利要求、说明书、技术领域、背景技术、实用新型内容及具体实施方式等有色技术内容。打造最具专业性的有色金属技术理论与应用平台!

全国热门有色金属设备推荐
展开更多 +
全国热门有色金属技术推荐
展开更多 +

 

江西省隆恩特环保设备有限公司
宣传

报名参会
更多+

报告下载

有色专家
更多+

昆明理工大学
副校长
长沙矿冶院检测技术有限责任公司
总经理
国家钨与稀土产品质量检验检测中心
主任
北京科技大学、中国科学院
院士
长沙有色冶金设计研究院有限公司
正高级工程师/中国铝业首席工程师/全国有色金属行业设计大师/国家注册采矿工程师
赤泥综合利用研究报告2025
推广

热门技术
更多+

推荐企业
更多+

福建省金龙稀土股份有限公司
宣传

发布

在线客服

公众号

电话

顶部
咨询电话:
010-88793500-807