青岛垚鑫智能科技有限公司
宣传

位置:北方有色 >

有色技术频道 >

> 复合材料技术

分类:
全部
矿山技术
冶金技术
材料制备及加工技术
环境保护技术
分析检测技术
 
全部
功能材料技术
复合材料技术
新能源材料技术
合金材料技术
加工技术
地区:
全部
北京
天津
上海
重庆
河北
山西
辽宁
吉林
黑龙江
江苏
浙江
安徽
福建
江西
山东
河南
湖北
湖南
广东
海南
四川
贵州
云南
陕西
甘肃
青海
内蒙
广西
西藏
宁夏
新疆
其他
其他
展开
 
全部
南京
无锡
徐州
常州
苏州
南通
连云港
淮安
盐城
扬州
镇江
泰州
宿迁

江苏镇江有色金属复合材料技术理论与应用

免费发布技术信息>>
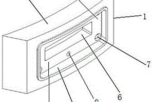
异形薄壁复合材料管道模具

本发明公开了一种异形薄壁复合材料管道模具,包括:上模、下模和芯模;芯模置于上模和下模合模后的腔内,芯模和上模、下模之间的间隙构成模腔;芯模包括主体、内衬及通过榫卯结构设于主体两侧的若干支腿。其采用芯模和外模组合的方式,利用硅橡胶芯模热膨胀系数大的特点,固化时为制件成型提供足够的压力,采取芯模和外模分别铺贴,最后组装的方式,错开铺层剪口,实现了异形复合材料管道内外表面光滑并充分发挥了复合材料强度优势,同时利用了硅橡胶易于变形的特点,解决了异形薄壁复合材料管道脱模困难问题,其模具可重复性差、价格昂贵,无法保证异形薄壁复合材料管道质量及内外形面光滑度的问题,具有很强的实用性和广泛的适用性。

标签:
复合材料
江苏 - 镇江 来源:北方有色网 2023-03-18
磷化钴生物质碳复合材料及其制备方法和应用

本发明公开了一种磷化钴生物质碳复合材料的制备方法。本发明还公开了该磷化钴生物质碳复合材料及其应用,本发明通过采用电化学沉积将磷化钴与生物质碳膜复合,得到无需粘结剂的磷化钴/生物质碳集成电极,方法简单,操作方便,材料制备成本低廉;本发明首次将磷化钴与生物质碳材料复合得并应用于钠离子电池负极材料,复合材料电极的储钠性能优异,结构稳定。本发明制备的磷化钴/生物质碳复合材料可直接作为钠离子电池的负极材料无需另外添加粘结剂和活性碳,并能够显著提高钠离子电池的循环寿命。

标签:
复合材料
江苏 - 镇江 来源:北方有色网 2023-03-18
具有CO特异吸附能力的亚铜离子基MOFs-凝胶复合材料及其应用于卷烟滤棒

本发明属于复合材料技术领域,涉及一种具有CO特异吸附能力的亚铜离子基MOFs‑凝胶复合材料,由亚铜离子基MOFs材料和相变凝胶按照质量比为60~99:1~40混合而成,其中,所述亚铜离子基MOFs为网状金属有机物骨架材料,即Cu(I)‑MOFs;所述相变凝胶由相变凝脂、固化剂和润滑剂组成,按质量比,相变凝脂:固化剂:润滑剂为70~90:15~30:10~15。本发明的另外一个目的在于,将具有CO特异吸附的亚铜离子基MOFs‑凝胶复合材料应用于卷烟滤棒。本发明所公开的复合材料,可以高效吸附CO,不影响烟气品质。使用此种材料制成的复合滤棒,对于CO的特异性吸附率可以达到15%以上,显著降低烟气中CO含量。同时,相变凝胶吸收烟气中的热量软化、融化,能降低烟气温度,改善消费者的抽吸体验。

标签:
复合材料
江苏 - 镇江 来源:北方有色网 2023-03-18
水热法合成泡沫镍基负载ZnCo<sub>2</sub>O<sub>4</sub>/ZnWO<sub>4</sub>复合材料及其应用

本发明属于金属氧化物复合材料制备技术领域,涉及泡沫镍基复合材料的制备,尤其涉及水热法合成泡沫镍基ZnCo2O4/ZnWO4复合材料及其应用。包括:将六水合硝酸锌、六水合硝酸钴、氟化氨、尿素溶解,浸入泡沫镍,110~130℃水热反应4~6h,煅烧得到负载在泡沫镍上的ZnCo2O4;再置于六水合硝酸锌、二水钨酸钠和氟化氨的混合溶液中,160~200℃水热反应5~7h,煅烧后即得。本发明工艺简单,重复性好,原料价廉低毒,生产周期短,从而减少了能耗与成本,便于规模生产。所制得的复合电极材料表现出优异的电化学性能,有着较高的能量密度和功率密度。利用所制得的泡沫镍基ZnCo2O4/ZnWO4复合材料制备非对称超级电容器,充放电循环5000次后依然能保持98.5%的比容量,符合环境友好的要求。

标签:
复合材料
江苏 - 镇江 来源:北方有色网 2023-03-18
碳纤复合材料增强块及制备方法

本发明提供一种碳纤复合材料增强块及制备方法,所述制备方法包括如下步骤:1)下料2)手工铺层3)热压罐固化4)脱模5)加工。所述碳纤复合材料增强块,是独立整体结构。本发明提供一种适用于特殊条件下(高压力、高载荷)的高强、耐疲劳、耐化学腐蚀的复合材料增强块;采用分批次真空压实,使厚壁的碳纤复合材料无需采用分层固化,减少能耗、提高生产效率;制件一体成型后加工,降低制备难度,重量较同类型铝制件减重30%。

标签:
复合材料
江苏 - 镇江 来源:北方有色网 2023-03-18
高阻燃开关柜面板复合材料及其制备方法

本发明公开了一种高阻燃开关柜面板复合材料及其制备方法,所述复合材料由聚醚多元醇1、聚醚多元醇2、植物油聚醚多元醇1、植物油聚醚多元醇2、聚氨酯硅油、催化剂1、催化剂2、磷酸三(1-氯-2-丙基)酯、水和异氰酸酯组成,所述复合材料的阻燃性能高,遇火不易燃烧,从而保障了开关柜的安全性和人们的财产安全。同时由于所述复合材料的使用原料均为环保原料,因而不会释放出有毒有害物质,对周围环境环保无危害。

标签:
复合材料
江苏 - 镇江 来源:北方有色网 2023-03-18
颗粒增强铝基复合材料等离子弧原位焊接技术

本发明涉及颗粒增强铝基复合材料等离子弧原 位焊接方法,其采取对颗粒增强铝基复合材料母材进行常规表 面处理,去除表面氧化膜和附着物,根据母材尺寸调节焊接电 流和离子气流量,在一定的焊接速度下对颗粒增强铝基复合材 料实现等离子弧焊接,其特征在于:在焊接过程中,添加Ti、 Zr、B、Si等元素,其能够在高温下与铝、氮或增强颗粒反应 形成增强相,并抑制有害相如 Al4C3的生成,实现颗粒增强铝基复合材料焊接接头的原位合 成。其利用等离子弧焊接过程形成的高温熔池,使加入的金属 元素生成新的增强相,弥补了原有增强相烧损引起的增强作用 损失,有效地改善了焊接接头的性能,保证了接头有很高的强 度和弹性模量。

标签:
复合材料
江苏 - 镇江 来源:北方有色网 2023-03-18
混杂纤维增强树脂基复合材料铰链及其制造方法

本发明公开了一种混杂纤维增强树脂基复合材料铰链,包括铰链孔壁、外包圈和捻条,所述铰链孔壁的外壁与捻条相连接,所述铰链孔壁和捻条外部包裹外包圈。本发明还公开了一种混杂纤维增强树脂基复合材料铰链的制造方法,包括:在芯模上铺贴铰链孔壁预制体,在下模上铺贴外包圈预制体,并制作捻条;将铰链孔壁预制体和捻条放置在外包圈预制体的铰链孔处,将外包圈预制体翻折包裹铰链孔壁预制体和捻条;将上模合到下模上,经制袋、固化、脱模后,得到混杂纤维增强树脂基复合材料铰链。本发明铰链孔壁与外包圈一体成型,还可以与其他复合材料结构件实现共固化一体成型,无需装配连接。

标签:
复合材料
江苏 - 镇江 来源:北方有色网 2023-03-18
制备铁纳米颗粒/大直径碳纳米管复合材料的方法

本发明涉及一种制备铁纳米颗粒/大直径碳纳米管复合材料的方法,将二茂铁加入不锈钢高压釜中,并充入2~5atm的氮气,并加热至480~720 oC,反应6‑8小时,产物用乙醇和水洗涤,离心分离和干燥,即获得铁纳米颗粒/大直径碳纳米管Fe‑NP/LD‑CNTs复合材料。本发明的优点在于:本发明采用惰性气体辅助催化分解技术, 在密闭系统中, 在氮气的保护和调控下, 将二茂铁宏量转化为Fe‑NP/LD‑CNTs复合材料, 反应温度较现有技术低,反应过程简单易控,所得产物具有磁性、形貌好、无污染、产率为95%以上;且通过本发明方法获得的Fe‑NP/LD‑CNTs复合材料,碳纳米管长度约为几十微米,直径约为400纳米,铁纳米颗粒的大小约为250纳米。

标签:
复合材料
江苏 - 镇江 来源:北方有色网 2023-03-18
异面π型碳纤维复合材料接头成型方法

本发明提供一种异面π型碳纤维复合材料接头的成型方法,按照铺层设计在4个芯块上分别进行铺贴,两个L型、一个U型和一个凸型;四个芯块分别进行热预压;组装一体预压实后,铺放辅助材料,一定温度和压力固化成型得到π型制品。该工艺解决了开口宽度较小的π型制品无法铺层的问题,解决了碳纤维复合材料制造复杂π型制品难题,降低了各环节的难度系数,保证复合材料制品内外表面的平整度。此成型方法为制造π型碳纤维复合材料结构件提供了新的思路。

标签:
复合材料
江苏 - 镇江 来源:北方有色网 2023-03-18
高体积分数颗粒增强铝基复合材料的制备装置和方法

本发明涉及铝基复合材料,特指一种高体积分数颗粒增强铝基复合材料的制备装置和方法。本发明通过高速搅拌产生的虹吸通道实现增强体的引入,借助非均匀搅拌和高频振动对复合熔体产生冲击破碎和炉内高速传质,实现增强体的充分浸润和均匀分散,并通过真空除气作用显著降低复合材料的含气量,提高最终复合材料的综合性能。

标签:
复合材料
江苏 - 镇江 来源:北方有色网 2023-03-18
原位反应制备炭/炭复合材料高温抗氧化涂层的方法

本发明公开了一种原位反应制备炭/炭复合材料高温抗氧化涂层的方法,属于材料制备技术领域。其方法包括原材料组成设计、粉末混合球磨、干燥、炭/炭复合材料基底清洗和超高速激光熔覆法原位反应制备含有MAX相高温抗氧化涂层,制得炭/炭复合材料高温抗氧化涂层。本发明采用原材料粉末利用超高速激光熔覆技术对炭/炭复合材料表面原位反应形成界面MAX相层。借助MAX相本身的韧性,克服了涂层在高温下开裂、剥落的问题,同时,基体炭参与表面的原位反应,涂层与基体呈化学结合,增强了涂层与基体的结合力。

标签:
复合材料
江苏 - 镇江 来源:北方有色网 2023-03-18
环保高阻燃汽车内饰壁板复合材料及其制备方法

本发明公开了一种环保高阻燃汽车内饰壁板复合材料及其制备方法,所述复合材料由聚醚多元醇1、聚醚多元醇2、植物油聚醚多元醇1、植物油聚醚多元醇2、聚氨酯硅油、催化剂1、催化剂2、磷酸三(1-氯-2-丙基)酯、水和异氰酸酯组成,所述复合材料的阻燃性能高,遇火不易燃烧,从而保障了车辆的安全性和乘客的人身安全。同时由于所述复合材料的使用原料均为环保原料,因而不会释放出对人体有毒有害的物质,对人体健康无危害。

标签:
复合材料
江苏 - 镇江 来源:北方有色网 2023-03-18
液晶超高分子聚乙烯改性复合材料

本发明涉及一种液晶超高分子聚乙烯改性复合材料,属于高分子材料技术领域,本发明液晶超高分子聚乙烯改性复合材料,由质量比为70.5%~88.5%超高分子量聚乙烯,8%~26%液晶高分子聚合物,2.5%超细石墨,1%硬脂酸钙组成。将以上比例配方原材料投入混料机进行搅拌50~60分钟,再将粉料放入模具中进行280℃~300℃模压烧结,即可制得液晶超高分子聚乙烯改性复合材料,通过上述配方制得的本发明液晶超高分子聚乙烯改性复合材料,在保持超高分子聚乙烯产品本身原有优异性能的情况下,其综合性能得到提高,软化温度达到110℃,拉伸强度35MPa,磨损量0.08mg,邵氏硬度68-72克力。

标签:
复合材料
江苏 - 镇江 来源:北方有色网 2023-03-18
高铁用尼龙复合材料及其制备方法

本发明公开了一种高铁用尼龙复合材料,其由以下组份制成:尼龙66、玻璃纤维、抗水解剂、超细氢氧化镁、碳酸钙、增韧剂。本发明还提出了上述高铁用尼龙复合材料的制备方法,包括干燥尼龙66、混合物料、双螺杆挤出机挤出造粒。本发明的高铁用尼龙复合材料通过加入超细氢氧化镁,在提高尼龙材料耐刮擦性和表面光泽度的同时,还改善了其阻燃性,具有高强度、高耐久性的特点。本发明的尼龙复合材料易于成型,且生产成本低廉。

标签:
复合材料
江苏 - 镇江 来源:北方有色网 2023-03-18
复合材料壳体结构及其制作方法

本发明公开了一种复合材料壳体结构及其制作方法,采用一体式结构或组合式结构,其中,当采用一体式结构时,包括由复合材料一体成型制作而成的壳体蒙皮、端口法兰、加强筋、开孔凸台和凸台加厚区;当采用组合式结构时,包括:作为内层的金属内衬,由复合材料制作而成的壳体蒙皮包覆在金属内衬的外表面作为外层,由复合材料制作而成的端口法兰设置在壳体蒙皮和金属内衬的两端;所述金属内衬上设置有加强筋、开孔凸台和凸台加厚区,凸台加厚区位于开孔凸台与金属内衬之间。本发明能够在降低壳体重量的同时,提高壳体的强度及抗海水腐蚀性能。

标签:
复合材料
江苏 - 镇江 来源:北方有色网 2023-03-18
原位Al<Sub>2</Sub>O<Sub>3</Sub>颗粒增强铝基复合材料的制备方法

本发明属铝基复合材料技术领域,具体涉及一种原位Al2O3颗粒增强铝基复合材料的制备方法。本发明将干燥后的纳米ZnO粉与铝粉进行混合,将混合粉料在球磨罐内的氩气保护下进行球磨。然后对球磨后的混合粉末进行干燥处理,再将经干燥后的球磨混粉加入到机械搅拌条件下的7085铝合金半固态熔体中,加入完毕后升温保温,再降温至一定温度施加相应的超声处理,静置除渣后浇铸获得原位Al2O3颗粒增强铝基复合材料。本发明利用预制混粉加入铝熔体,反应物粉末利于率较高且增加了界面润湿性较易反应,制备工艺简单、绿色环保可控性好,制备出的铝基复合材料增强颗粒分布均匀,增强颗粒与基体界面干净,性能优异,适合大规模化生产。

标签:
复合材料
江苏 - 镇江 来源:北方有色网 2023-03-18
硫化钴铁纳米管负载的碳海绵柔性复合材料的制备方法

本发明属于功能化多孔纳米材料领域,涉及一种硫化钴铁纳米管负载的碳海绵柔性复合材料的制备方法;具体步骤为:将商用三聚氰胺海绵进行裁剪,然后用蒸馏水和无水乙醇清洗,干燥后,在氮气或氩气氛围下,通过程序升温煅烧三聚氰胺海绵,进行碳化处理,冷却后得到碳海绵;配制含有铁盐和钴盐的混合溶液,将碳海绵浸入混合溶液中,并加入pH助剂,进行水热反应,得到钴铁氧前驱体‑碳海绵复合材料,然后浸入硫化剂溶液中,进行二次水热反应,得到硫化钴铁纳米管负载的碳海绵复合材料;本发明以柔性、多孔、自支撑的碳海绵为生长模板,成功解决了纳米材料易团聚的难题;并且得到的复合材料具有大量暴露的活性位点、丰富的孔隙和良好的导电性能。

标签:
复合材料
江苏 - 镇江 来源:北方有色网 2023-03-18
耐磨金属基复合材料及其制备方法

本发明公开了一种耐磨金属基复合材料及其制备方法,解决了传统金属基复合材料中,金属与塑料结合力弱,耐磨性差的问题,该复合材料由上到下依次由塑料工作层、中间结合层以及金属基体组成,所述塑料工作层材料各成分质量百分含量为:PA(聚酰胺)65%~75%,PES(聚醚砜)15%~25%,LCP(液晶聚合物)4%~8%,石墨5%~7%,二硫化钼1%;所述中间结合层的各成分质量百分含量为PES(聚醚砜)40%~50%,PPS(聚苯硫醚)50%~60%,进一步的,所述金属基体的材料为45#钢、铝合金或铜合金中的一种,本发明所述的耐磨金属基复合材料具有优异的耐磨性,抗冲击性,自润滑性,对环境无毒无污染,节能且噪音低,可以适用于工作温度高、粉尘大、载荷重等特殊工况下机械设备部件的自润滑。

标签:
复合材料
江苏 - 镇江 来源:北方有色网 2023-03-18
还原氧化石墨烯/氧化亚铜纳米复合材料的制备方法

本发明涉及一种还原氧化石墨烯/氧化亚铜纳米复合材料的制备方法,属于纳米复合材料制备领域。主要步骤是以天然鳞片石墨为原料,用Hummers法将其氧化得到氧化石墨;将氧化石墨超声分散于三乙二醇中,加入乙酰丙酮铜后,将混合体系于170~190℃搅拌回流反应20~40min;自然冷却后,收集沉淀、洗涤并干燥得到还原氧化石墨烯/氧化亚铜纳米复合材料。本发明制备的还原氧化石墨烯/氧化亚铜纳米复合材料中氧化亚铜紧密的附着于还原氧化石墨烯的表面,且氧化亚铜为空心立方块结构。本发明操作工艺简单易行,反应时间短,易于工业化实施。

标签:
复合材料
江苏 - 镇江 来源:北方有色网 2023-03-18
功能化碳纳米纤维多尺度增强复合材料及其制备方法

本发明为一种功能化碳纳米纤维多尺度增强复合材料及其制备方法,是将碳纳米管经过纯化,得到表面接有羧基的碳纳米管,再将碳纳米管均匀分散在有机溶剂中与玻璃纤维反应,得到玻璃纤维表面接枝有碳纳米管,再将表面接枝有碳纳米管的玻璃纤维浸入偶联剂溶液中处理,得到碳纳米管接枝改性功能化玻璃纤维的多尺度增强体;然后利用此多尺度增强体与聚酰亚胺、环氧树脂、石墨进行加成反应,生成多尺度增强体增强的复合材料。本发明提供的制备方法简单易行,所得的功能化碳纤维增强复合材料,显著提高基体树脂与碳纤维之间的界面强度,使复合材料具有很好的层间剪切强度和优良的耐磨性。

标签:
复合材料
江苏 - 镇江 来源:北方有色网 2023-03-18
中空Pt/Ni合金与石墨烯气凝胶复合材料的制备方法

本发明涉及一种中空Pt/Ni合金与石墨烯气凝胶复合材料的制备方法,属于纳米材料应用以及催化技术领域。其特征在于:首先利用超声波化学还原法和回流法连续还原反应获得具有中空结构的Pt/Ni合金纳米颗粒,该纳米颗粒平均尺寸为11~13nm,然后采用自组装工艺将该纳米颗粒组装到氧化石墨烯片层上,并形成三维多孔气凝胶结构的复合材料;相对常规采用置换或腐蚀方法来说,该方法步骤简单,成本低,所获得的合金颗粒尺寸小,尺寸分布均匀,结构独特。

标签:
复合材料
江苏 - 镇江 来源:北方有色网 2023-03-18
活性粉末水泥基复合材料及其制备方法

本发明公开了活性粉末水泥基复合材料,包括以下组分且各组分的重量份数比为:硅酸盐水泥:900-1000份;石英砂:500-1000份;石英粉:350-450份;矿物掺合料:200-250份;钢纤维:150-200份;减水剂:10-15份;水:150-200份。本发明同时公开了活性粉末水泥基复合材料的制备方法。本发明通过对水泥基复合材料中的原料组分、原料组分的重量份数以及制备方法进行调整,大大提高了水泥基复合材料的抗折、抗压强度、降低了弹性模量,对侵蚀离子的侵蚀具有更高的抵抗性,因此具有更好的耐久性。

标签:
复合材料
江苏 - 镇江 来源:北方有色网 2023-03-18
碳包覆钛酸锂复合材料的制备方法及负极材料

本发明公开了一种碳包覆钛酸锂复合材料的制备方法及负极材料,所述方法包括以下步骤:以钛箔为材料,通过阳极氧化法制备二氧化钛;将制备得到的二氧化钛置于水热釜中,加入含有锂离子和有机溶剂的溶剂热试剂,将水热釜加热至110℃~130℃,反应5h~7h,反应结束后,去除试剂,水洗、烘干后得到钛酸锂@高分子前驱体复合材料;将钛酸锂@高分子前驱体复合材料置于管式炉中,通入惰性气体,于600℃~900℃退火1h~3h,冷却后得到碳包覆钛酸锂复合材料。本发明提供的碳包覆钛酸锂复合材料的制备方法,所述制备方法通过在钛箔表面原位合成具有纳米空心管状阵列结构的钛酸锂,并且表面包覆有碳,具有优异的导电性能,能满足大电流充放电的要求。

标签:
复合材料
江苏 - 镇江 来源:北方有色网 2023-03-18
复合材料制件成型过程中软性工装的定位方法

本发明公开了一种复合材料制件成型过程中软性工装的定位方法,包括以下步骤:在软性工装成型模具的两侧分别设置2个以上燕尾形的定位槽;在软性工装成型模具表面放置金属假件,在金属假件表面铺贴软性工装时,在燕尾槽内填充橡胶并与软性工装相连,之后在软性工装外部用真空袋真空密封,进入热压罐成型软性工装;橡胶软模成型后,去除真空袋,取出金属假件,在定型的软性工装填充入复合材料,再在外层用真空袋真空密封,进入热压罐成型,即获得复合材料制件。通过燕尾形定位槽结构,完成了软性工装与成型模具之间的定位,确保了在复合材料制件成型过程中,软性工装的位置固定不发生偏移,从而保证了复合材料制件的表面成型质量。

标签:
复合材料
江苏 - 镇江 来源:北方有色网 2023-03-18
环保高阻燃空调外壳复合材料及其制备方法

本发明公开了一种环保高阻燃空调外壳复合材料及其制备方法,所述复合材料由聚酯多元醇1、聚酯多元醇2、聚酯多元醇3、聚氨酯硅油、磷酸三(1-氯-2-丙基)酯、水、异氰酸酯A和异氰酸酯B组成,所述复合材料的阻燃性能高,遇火不易燃烧,从而保护了空调内部构件,保障了财产安全。本发明所述复合材料具有不易变形性,即使长期使用也不会发生变形,另外由于所述复合材料的使用原料均为环保原料,因而环保无毒对人体无伤害。

标签:
复合材料
江苏 - 镇江 来源:北方有色网 2023-03-18
工字梁复合材料制件成型用的软模制作方法及其应用

本发明公开了一种工字梁复合材料制件成型用的软模制作方法及其应用,通过制作开敞式橡胶软模,并用于完成工字梁复合材料结构件的制造过程。本发明软模制造流程简单,周期短和原材料成本低。用本发明软膜成型工字梁复合材料制件可以均匀、精确地传递热压罐施加的压力,避免复合材料制件出现厚度超差的现象,保证制件的成型质量,提高生产的合格率和效率和制件成型后型面和尺寸精度。另外,本发明软膜相较于传统的气嘴结构,气密性要求降低,具有较长的使用寿命和较高的可靠性,并且在现场使用和后期维护保养等方面都较为简便,具有良好的使用价值。

标签:
复合材料
江苏 - 镇江 来源:北方有色网 2023-03-18
磁场与振动协同作用下合成颗粒增强复合材料的方法

本发明提供了一种利用磁场与振动协同作用下合成颗粒增强铝基复合材料的方法,属于金属基复合材料制备技术领域。该方法是在金属基复合材料的熔体反应合成阶段对其同时施加电磁场与机械振动,利用电磁场的电磁搅拌作用及机械振动的分散作用促进合成反应进行,并促进颗粒相在熔体的分散,提高颗粒增强复合材料制备的效率和质量。本发明在不直接接触熔体的情况下改善合成反应的动力学条件,促进反应盐与熔体的混合以及颗粒相的均匀分散,比单一的电磁搅拌和其他搅拌方式效果改善,且不污染金属。

标签:
复合材料
江苏 - 镇江 来源:北方有色网 2023-03-18
用于高速列车车厢的轻质高强阻燃复合材料及其制备方法

本发明公开了一种用于高速列车车厢的轻质高强阻燃复合材料及其制备方法,以重量份数计,所述用于高速列车车厢的轻质高强阻燃复合材料由以下组分组成:玻璃纤维30-45、均聚PP树脂50-65、碳纤维10-15、硅烷偶联剂1-3、马来酸酐接枝PP3-5、苯氧基四溴双酚A聚碳酸酯齐聚物3-5、刚玉5-8、亚磷酸酯类抗氧剂1680.2-1.5、硬脂酸盐1-3、氧化铈0.2-0.5、受阻胺类光稳定剂0.2-0.3。本发明具有相容性好、表面没有浮纤和成本低廉的优势,制备过程简单,生产工艺可控。

标签:
复合材料
江苏 - 镇江 来源:北方有色网 2023-03-18
导热阻燃聚氯乙烯复合材料及其制备方法

本发明公开了一种导热阻燃聚氯乙烯复合材料及其制备方法,该复合材料的原料包括:聚氯乙烯、交联聚乙烯、复合改性填料、增塑剂、硬脂酸铅、增韧剂、聚乙烯蜡、复合铅盐稳定剂。其制备方法是先采用马来酸酐对可膨胀石墨、纳米氮化铝和氮化硼进行接枝改性制得复合改性填料,然后将各原料混合,混合物送入双辊筒炼塑机中开炼,得到复合材料。本发明所制得的氯乙烯复合材料不仅具有较高的强度和韧性,还具有优良的耐热性和导热性能,可广泛应用于各类电气领域。

标签:
复合材料
江苏 - 镇江 来源:北方有色网 2023-03-18
上一页 57 58 59 60 61 ... 71 下一页
共71页    到第

北方有色为您提供最新的江苏镇江有色金属复合材料技术理论与应用信息,涵盖发明专利、权利要求、说明书、技术领域、背景技术、实用新型内容及具体实施方式等有色技术内容。打造最具专业性的有色金属技术理论与应用平台!

全国热门有色金属设备推荐
展开更多 +
全国热门有色金属技术推荐
展开更多 +

 

江西省隆恩特环保设备有限公司
宣传

报名参会
更多+

报告下载

有色专家
更多+

赣州江钨钨合金有限公司
副总经理
任灵宝金源矿业股份有限公司
技术发展部经理
中国矿业大学(北京)
教授
江西省科学院应用化学研究所
副主任/副研究员
有研资源环境技术研究院(北京)有限公司
副总经理/教授级高工
赤泥综合利用研究报告2025
推广

热门技术
更多+

推荐企业
更多+

福建省金龙稀土股份有限公司
宣传

发布

在线客服

公众号

电话

顶部
咨询电话:
010-88793500-807