青岛垚鑫智能科技有限公司
宣传

位置:中冶有色 >

有色技术频道 >

分类:
全部
矿山技术
冶金技术
材料制备及加工技术
环境保护技术
分析检测技术
 
全部
功能材料技术
复合材料技术
新能源材料技术
合金材料技术
加工技术
地区:
全部
北京
天津
上海
重庆
河北
山西
辽宁
吉林
黑龙江
江苏
浙江
安徽
福建
江西
山东
河南
湖北
湖南
广东
海南
四川
贵州
云南
陕西
甘肃
青海
内蒙
广西
西藏
宁夏
新疆
其他
其他
展开
 
全部
广州
韶关
深圳
珠海
汕头
佛山
江门
湛江
茂名
肇庆
惠州
梅州
汕尾
河源
阳江
清远
东莞
中山
潮州
揭阳
云浮

广东深圳有色金属材料制备及加工技术理论与应用

免费发布技术信息>>
车用锂离子电池组及车用锂离子电池模块

本实用新型涉及一种车用锂离子电池组及车用锂离子电池模块,属于锂离子电池技术领域。车用锂离子电池组包括两个以上的方形锂离子电池以及用来连接锂离子电池的连接机构,所述车用锂离子电池组包括用来对锂离子电池进行固定的电池架,所述锂离子电池沿厚度/宽度方向依次固定设置在电池架上;所述连接机构包括用来与对应的锂离子电池的极柱导电连接的连接带;所述电池架包括与连接带固定连接的连接带固定臂;所述连接带固定臂沿所述锂离子电池厚度/宽度方向延伸并设置在所述锂离子电池沿宽度/厚度方向的一侧,所述连接带固定臂的高度小于锂离子电池的高度。该车用锂离子电池组能保证连接带与极柱之间良好的连接关系,大大提高了连接可靠性。

标签:
加工技术
广东 - 深圳 来源:中冶有色网 2023-03-18
锂硫电池隔膜及其制备方法、锂硫电池和电子装置

本发明提供了一种锂硫电池隔膜及其制备方法、锂硫电池和电子装置,涉及锂硫电池技术领域。该锂硫电池隔膜包括隔膜基材和形成在隔膜基材表面的掺硼金刚石复合材料层,其中,掺硼金刚石复合材料层表面活性位点多且具有导电性,一方面能够吸附锂硫电池电极反应的中间产物多硫化物,阻止其溶于电解液,从而使得硫释放更多的能量,另一方面能够导通电子,使得吸附其上的中间产物进一步转化为终产物,故该锂硫电池隔膜可有效提高锂硫电池的质量比容量和循环特性。本发明还提供了锂硫电池隔膜的制备方法,该方法工艺简单,操作便利,适合工业化生产。本发明还提供了包含上述锂硫电池隔膜的锂硫电池,该锂硫电池具有较高的质量比容量和优良的循环特性。

标签:
加工技术
广东 - 深圳 来源:中冶有色网 2023-03-18
锂离子电池正极补锂添加剂及其制备方法和应用

本申请公开了一种锂离子电池正极补锂添加剂及其制备方法和应用。本申请的锂离子电池正极补锂添加剂,为化学式一所示的富锂氟氧化物材料,化学式一:Li2VO2F。本申请的锂离子电池正极补锂添加剂Li2VO2F,理论上能够释放出2个锂离子,容量高达462mAh/g,并且,具有较好的导电性,可以很好的对正极进行补锂。本申请的补锂添加剂安全、环保、无毒性,为制备高容量的锂离子电池奠定了基础。

标签:
加工技术
广东 - 深圳 来源:中冶有色网 2023-03-18
改性钛酸锂复合材料及其制备方法与锂离子电池

本发明公开一种改性钛酸锂复合材料及其制备方法与锂离子电池。本发明先将钛酸锂进行氮化处理,然后将氮化处理过的钛酸锂和氧化石墨烯混合均匀,在惰性气氛或还原性气氛中700~1100℃下煅烧3~10min,即得到改性钛酸锂复合材料。本发明与现有技术相比,采用了电子导电率极大的石墨烯与氮化钛酸锂复合制备改性钛酸锂复合材料,制备工序简单灵活,所用钛酸锂可以是通过任何方法合成而不会影响复合材料性能,且可以适用于对现有钛酸锂材料的改性生产。制备的石墨烯基钛酸锂复合材料大倍率性能良好,并具有较高比容量,可广泛应用于各种便携式电子设备和各种电动车所需的锂离子电池。

标签:
加工技术
广东 - 深圳 来源:中冶有色网 2023-03-18
锂电池复合金属锂型负极片及其制造工艺

本发明公开了一种锂电池复合金属锂型负极片及其制造工艺,一种锂电池复合金属锂型负极片,包括导流层、集流体、中间物质层和金属锂层,其中,金属锂层附着在中间物质层上,集流体在中间物质层下,导流层附着在集流体的底面上;中间物质层按照质量份数由75~90份活性物质、5~20份导电剂和5~10份粘结剂,活性物质为多孔结构炭材质材料或可吸附炭材质材料;本发明的锂电池的负极片金属锂含量多、与活性物质之间结合力高、金属锂分布均匀,并通过物锂辊压的方法实现;极片厚度薄,其厚度为150um以内,同时保持了锂电池负极片的电学性能,综合性能极佳。

标签:
加工技术
广东 - 深圳 来源:中冶有色网 2023-03-18
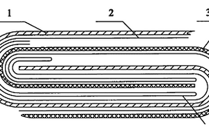
锂离子电池的电极片芯及含有该电极片芯的锂离子电池

一种锂离子电池的电极片芯及包括该片芯的锂离子电池,该电极片芯包括卷绕而成的负极极片(1),正极极片(3)和位于负极极片(1)和正极极片(3)之间的1层隔膜(2);在正极极片(3)的内侧,在正极极片(3)卷绕首端和第一弯折处,还另外设置有至少1层隔膜(2),其中,在正极极片(3)和/或负极极片(1)的外侧的卷绕首端和第一弯折处,还另外设置有至少1层隔膜(2)。采用该电极片芯大大减少了因极片毛刺所引发的电池短路率。

标签:
加工技术
广东 - 深圳 来源:中冶有色网 2023-03-18
磷酸亚铁锂高功率锂离子电池电解液的组成物

一种磷酸亚铁锂锂离子电池电解液的组成物,包含碳酸乙烯酯(EC)、碳酸丙烯酯(PC)、碳酸二甲酯(DMC)、碳酸二乙酯(DEC)、碳酸亚乙烯酯(VC)、1,3-丙烷磺酸内酯(1,3-PS)以及六氟磷酸锂(LIPF6)。本发明采用具有较高电导率的基体溶剂与较低粘度溶剂相溶,在保证其具有较高电导率的同时,仍能保持适当粘度,可以更好的支持高功率锂离子电池进行大电流充放电。且进行倍率放电时,电池温度升高较快,很容易使电池发生气胀,为了避免电池发生气胀,在电解液中包含防气胀添加剂,可有效防止电池发生气胀。

标签:
加工技术
广东 - 深圳 来源:中冶有色网 2023-03-18
附着能力好的锂离子电池集流体及锂离子电池

本实用新型公开了一种附着能力好的锂离子电池集流体及包含该集流体的锂离子电池,该集流体包括集流体本体,集流体本体的阳面设有第一条纹区,集流体本体的阴面设有第二条纹区,第一条纹区与第二条纹区的纹路不同。本实用新型的附着能力好的锂离子电池集流体及包含该集流体的锂离子电池具有附着力强、延展性好和电性能优异的特点。

标签:
加工技术
广东 - 深圳 来源:中冶有色网 2023-03-18
用于锂离子电池的隔膜及锂离子电池

本实用新型提出了一种用于锂离子电池的隔膜,设置于所述的锂离子电池正极和负极之间,所述的隔膜具有聚烯烃多孔隔膜基层及设置于所述的聚烯烃多孔隔膜基层上的抗高温的混合涂层。本实用新型还提出了一种锂离子电池,本实用新型的锂离子电池隔膜及电池通过一层含有无机陶瓷与芳纶(间对苯二甲酰间苯二胺)以及PVDF(聚偏氟乙烯)三种成分的耐高温层,电池充电高电压状态下耐氧化能力远远优于现有的单纯聚烯烃(PP或PE)隔膜。

标签:
加工技术
广东 - 深圳 来源:中冶有色网 2023-03-18
新型锂电池以及锂电池组

本实用新型属于锂电池技术领域,具体公开了一种新型锂电池以及锂电池组。本实用新型采用塑胶外壳替换传统锂电池与电池组的金属外壳,在电池内压或内部温度意外增大超过电池塑胶组件所承受的压力或温度时,电池塑胶外壳可以在较低的压力、温度条件下首先裂开、变形或熔化,从而在可靠安全的范围内释放电池内部压力,保障生命和财产的安全。本实用新型可通过塑胶注塑成型等简单方便的方法生产出来,而且重量更轻、成本更低。

标签:
加工技术
广东 - 深圳 来源:中冶有色网 2023-03-18
锂离子电池正极材料和含有该材料的正极和锂离子电池

一种锂离子电池正极活性材料,该正极活性材料含有组分A、组分B和粘结剂,所述组分A为锂金属磷酸盐,所述组分B选自锂过渡金属氧化物、乙炔黑、超导碳黑、导电石墨、导电碳纤维中的一种或几种,其中,组分A的D50粒径为1-6微米,组分B的D50粒径为4-20微米,并且组分B的D50粒径大于组分A的D50粒径。包括本发明提供的正极活性物质的电池,电池的容量大、大电流放电性能强,循环性能性毫和内阻小,电池的整体性能具有大幅度的提高。

标签:
加工技术
广东 - 深圳 来源:中冶有色网 2023-03-18
锂电池集流体及锂亚硫酰氯电池

本实用新型公开了一种锂电池集流体及锂亚硫酰氯电池,涉及锂电池技术领域。该锂电池集流体用于插入锂电池的正极包内,集流体包括柱状的集流本体,集流本体的外壁设有若干集流触点,集流触点为一体连接于集流本体的外壁的凸起或凹槽。该锂电池集流体结构设计合理精巧,通过设置若干集流触点以增大集流体与正极包活性物质的接触面积,从而提高集流效果和放电性能及提高电池的质量;集流环由于与正极碳环接触面大,接触更紧,因此对碳正极来说,正极利用率也会越高,即碳正极的比容量会更高,因此在装配电芯时可以使用更少量的碳正极,由此节约出来的空间,可以注入更多的电解液。

标签:
加工技术
广东 - 深圳 来源:中冶有色网 2023-03-18
锂离子电池顶盖组件和锂离子电池

本发明涉及锂离子电池技术领域,具体提供一种锂离子电池顶盖组件和锂离子电池。所述锂离子电池顶盖组件包括顶盖本体、密封圈、若干极柱,所述顶盖本体上设置有贯穿于所述顶盖本体的注液孔和若干极柱孔,所述密封圈放置于所述极柱孔中,若干所述极柱贯穿安装于所述密封圈、极柱孔中,所述顶盖本体至少由导电基体层、层叠叠设于所述导电基体层至少一表面的绝缘相变材料层以及镀覆于所述顶盖本体表面的可与锂离子电池外壳焊接的镀层组成;所述导电基体层具有贯穿所述导电基体层的若干孔隙;至少一所述极柱表面具有绝缘相变材料涂层。本发明具有结构简单、不需防爆阀等特点,可有效提高锂离子电池急剧产气、热失控的安全性能。

标签:
加工技术
广东 - 深圳 来源:中冶有色网 2023-03-18
锂空气电池非碳正极的制备方法、锂空气电池

本发明适用于电化学能源领域,尤其涉及一种锂空气电池非碳正极的制备方法、锂空气电池。所述制备方法包括以下步骤:利用水热反应在泡沫镍基底上生长Co3O4前驱体;在空气中进行煅烧,将Co3O4前驱体转化为Co3O4,形成Co3O4@Ni非碳正极;先将Ni负载Co3O4浸泡于RuCl3溶液中,然后在氩气保护下进行高温处理,获得RuO2/Co3O4@Ni非碳正极。本发明提供的锂空气电池非碳正极的制备方法,通过水热过程与低温煅烧使得Co3O4纳米线直接生长于泡沫镍基底上,并用RuO2修饰纳米线电极来改善过渡金属氧化物的导电性,制得的Co3O4@Ni纳米线阵列具有较大的比表面积。

标签:
加工技术
广东 - 深圳 来源:中冶有色网 2023-03-18
改善锰酸锂锂离子电池性能的电解液

本发明涉及锂电池领域,公开了一种改善锰酸锂锂离子电池性能的电解液,包括:碳酸乙烯酯、碳酸甲乙酯、碳酸二乙酯、碳酸丙烯酯、1,3-丙烷磺酸内酯、六氟磷酸锂,双草酸硼酸酯锂。在电池化成时,成膜添加剂在电极表面形成稳定的耐高温钝化膜(SEI膜),能够有效地抑制电池正极(主要材料为锰酸锂)与电解液的反应,减少锰离子的溶解,减缓电池在循环过程中容量的衰减。

标签:
加工技术
广东 - 深圳 来源:中冶有色网 2023-03-18
补锂材料及其制备方法、负极和锂离子电池

本公开涉及一种补锂材料及其制备方法、负极和锂离子电池,该补锂材料包括金属锂颗粒和导电材料,所述导电材料包括埋入所述金属锂颗粒中的内置段和位于所述金属锂颗粒外部的外露段;所述导电材料的电子导电率大于100s/cm。本公开的补锂材料可以透过导电材料实现锂金属颗粒与负极活性材料的电子传导,增加了电子传导的通道,同时有助于锂离子的传输,实现锂离子的快速嵌入过程,使补锂效率显著提升,从而有效地抑制死锂的形成,避免形成枝晶刺穿隔膜而造成安全隐患。

标签:
加工技术
广东 - 深圳 来源:中冶有色网 2023-03-18
磷酸铁锂电池与锂离子电容器并联模组装置

本实用新型公开了一种磷酸铁锂电池与锂离子电容器并联模组装置,包括通过PCB连接板依次串连且并排设置的多个模组单元;模组单元包括外壳、磷酸铁锂电池和锂离子电容器;外壳为顶部开口的方形腔体结构,PCB连接板盖合在外壳上,磷酸铁锂电池和锂离子电容器并联且均安装在外壳内,磷酸铁锂电池和锂离子电容器同极的极耳穿过PCB连接板,同极穿出的极耳分别向两边翻折后焊接在PCB连接板上。本实用新型提供的并联模组装置,组合方式灵活,简单,模组兼具磷酸铁锂电池与锂离子电容器优点,在使用时可缓解模组使用过程中大电流对磷酸铁锂电池冲击,使模组装置使用寿命显著提高;同时串联过程中并联焊接点无需进行二次焊接,不良及报废率显著下降。

标签:
加工技术
广东 - 深圳 来源:中冶有色网 2023-03-18
从废旧锂电池中回收磷酸铁锂的方法

本发明提供一种从废旧锂电池中回收磷酸铁锂的方法。该方法包括的步骤有:获取废旧磷酸铁锂电池正极片、采用超声辅助对正极片的集流体和活性层材料分离收集和将收集的所述膏体经过洗涤、干燥、球磨处理后进行煅烧处理,获得磷酸铁锂等步骤。本发明从废旧锂电池中回收磷酸铁锂的方法采用超声辅助有机溶剂使磷酸铁锂从电池正极片上分离,直接获得磷酸铁锂材料,从而避免了大量酸碱溶剂的使用,而且避免了锂的损失,提高了回收率,能耗较低,对环境友好,不产生二次污染物。

标签:
加工技术
广东 - 深圳 来源:中冶有色网 2023-03-18
锂离子电池阴极、其制备方法及采用该阴极的锂离子电池

本发明提供一种锂离子电池阴极,其包括多个纳米颗粒,该纳米颗粒是由纳米碳材及包覆在其表面的氧化物组成。制备该阴极的纳米颗粒包括如下步骤:将含所需氧化物的水溶液加入一密闭容器内,将纳米碳材加入该水溶液内,加热。本发明还提供一种锂离子电池,包括一阴极、一阳极与一渗透隔离膜,该渗透隔离膜连接阴极与阳极并将其分隔开,该锂离子电池阴极包括多个纳米颗粒,该纳米颗粒是以氧化物包覆纳米碳材而形成。

标签:
加工技术
广东 - 深圳 来源:中冶有色网 2023-03-18
快速检测磷酸铁锂锂离子电池自放电率的方法

本发明涉及锂离子电池领域,公开了一种快速检测磷酸铁锂锂离子电池自放电率的方法,该方法针对目前磷酸铁锂锂离子电池由于开路电压与电池荷电状态无关,从而导致电池在使用过程中无法判断电池自放电程度的问题,提出了一种快速检测磷酸铁锂锂离子电池自放电率的方法,通过分别测量充满电状态和放完电状态并搁置一定时间后的电压值,判断该锂离子电池的自放电率,测量迅速准确,有利于大大提高生产效率和产品质量,有利于锂离子单体电池一致性的筛选,同时不需要复杂的设备和工序,可以有效降低生产成本。

标签:
加工技术
广东 - 深圳 来源:中冶有色网 2023-03-18
提高锰酸锂二次锂离子电池稳定性的方法

本发明公开了一种提高锰酸锂二次锂离子电池稳定性的方法,所述方法包括将锰酸锂二次锂离子电池在50%SOC-70%SOC的充电深度条件下,或者在3.95-4.05V的储存电压条件下存储。本发明通过选用特定条件对锰酸锂二次锂离子电池进行存储,能够提高锰酸锂二次锂离子电池的稳定性、在一定程度上抑制锰酸锂电池容量衰减。

标签:
加工技术
广东 - 深圳 来源:中冶有色网 2023-03-18
扣式锂电池的防腐处理方法及扣式锂电池

本发明公开了一种扣式锂电池的防腐处理方法及扣式锂电池,扣式锂电池的防腐处理方法包括以下步骤:S1、通过夹具将扣式锂电池进行夹持固定,所述扣式锂电池的正极端和负极端分别露出所述夹具外;S2、在所述正极端和负极端的表面分别设置导电复合涂料;S3、加热固化,所述导电复合涂料形成导电涂层。本发明通过在扣式锂电池的正极端和负极端上设置导电涂层,导体涂层同时具备优异的导电性能和防腐性能,在扣式锂电池上形成保护结构层,避免扣式锂电池的正极端和负极端被汗液、水蒸气腐蚀,并且不影响电池的装配效果。

标签:
加工技术
广东 - 深圳 来源:中冶有色网 2023-03-18
自支撑锂硫电池正极片、其制备方法以及锂硫电池

一种自支撑锂硫电池正极片,所述自支撑锂硫电池正极片包括碳载体、硫化锂以及过渡金属硫化物,所述硫化锂以及所述过渡金属硫化物位于所述碳载体的表面和/或所述碳载体的内部;所述硫化锂与所述过渡金属硫化物在微观结构上接触。本申请还提供一种自支撑锂硫电池正极片的制备方法,以及包括所述自支撑锂硫电池正极片的锂硫电池。

标签:
加工技术
广东 - 深圳 来源:中冶有色网 2023-03-18
富锂锰基层状固溶体的制备方法及其制备的富锂锰基层状固溶体

本发明提供了一种富锂锰基层状固溶体的制备方法及其制备的富锂锰基层状固溶体,其制备方法步骤包括:A、将锂源、锰源、镍源在溶剂中混合分散得均匀的混合液;B、将混合液雾化干燥,得前驱体;C、将前驱体于空气气氛下100~550℃下预烧2~15h得预烧产品;D、将步骤C所得预烧产品于空气气氛下500~1100℃下煅烧5~20h得富锂锰基层状固溶体;所述富锂锰基层状固溶体为?(1-2y)[xLi2MnO3·(1–x)LiNi0.5Mn0.5O2]·yLiNi1-xMn1+xO4,其中,0<x<1,0≤y<1;所述锂源的实际投锂量为设计分子式含锂量的50%~200%;该制备方法所用工艺具有原创性和独一性,且适合大批量工业化生产,且材料的电化学性能优异。

标签:
加工技术
广东 - 深圳 来源:中冶有色网 2023-03-18
镍钴锰酸锂高功率锂离子电池

本发明公开一种镍钴锰酸锂高功率锂离子电池,由钢壳、 盖帽、钢壳内的正极片与负极片、隔膜、电解质溶液组成;正 极是将活性材料、导电剂和粘结剂组成的混合物均匀涂布在金 属铝箔两面而制成,负极是将活性材料、导电剂和粘结剂组成 的混合物均匀涂布在金属铜箔两面而制成,其中:所述正极涂 布混合物中活性材料镍钴锰酸锂、导电剂、粘结剂的质量百分 比分别为85~95%、1~10%、2~10%;所述负极涂布混合物 中活性材料、导电剂、粘结剂的质量百分比分别为85~97%、 0~7%、2~8%。此电池可以大电流放电,具有较低表面温 度,从而能显著提高电池的放电倍率,改善电动工具用锂离子 电池安全性能。

标签:
加工技术
广东 - 深圳 来源:中冶有色网 2023-03-18
锂电池阻燃保护壳以及高安全的锂电池

本实用新型属于锂电池技术领域,公开了一种锂电池阻燃保护壳以及高安全的锂电池,所述阻燃保护壳包括壳体和盖板;所述壳体内开设有容纳腔,且容纳腔的相邻两个侧壁为开口状;所述盖板为L型结构,且盖板密封连接于容纳腔的两个开口侧壁处;所述容纳腔的一个开口处设有限位卡条,所述盖板上设有卡槽,且卡槽与限位卡条相配合;所述限位卡条包括延伸部和固定部,所述卡槽包括第一限位槽和第二限位槽,并分别与延伸部和固定部配合;综上,基于壳体与盖板相互配合,实现对锂电池池芯的封闭防护,有效避免锂电池出现爆炸问题,从而提高了锂电池的使用安全性;并且,本实用新型中,壳体与盖板配合方便,结构稳定、密封性好。

标签:
加工技术
广东 - 深圳 来源:中冶有色网 2023-03-18
锂离子电池非水电解液及包含该电解液的锂离子电池

本申请提供一种锂离子电池非水电解液,包含非水有机溶剂和锂盐,还包含选自式1所示的化合物中的一种或多种化合物和式2所示的化合物,其中R1、R2、R3、R4各自独立地选自取代或未取代的1‑5个碳原子的烷基、醚基、不饱和烃基,R1、R2、R3、R4中的至少一个为所述取代或未取代的2‑5个碳原子的不饱和烃基,R5选自取代或未取代的1‑5个碳原子的亚烷基、醚基;R6、R7、R8各自独立地选自取代或未取代的1‑5个碳原子的烷基、醚基、不饱和烃基,但条件是R6、R7、R8中的至少一个为所述取代或未取代的2‑5个碳原子的不饱和烃基。本发明还提供包含该非水电解液的锂离子电池。本发明的非水电解液能够兼顾电池高温储存性能及循环性能。

标签:
加工技术
广东 - 深圳 来源:中冶有色网 2023-03-18
锂离子电池负极材料、制备方法及减少低温析锂的方法

本发明通过将天然石墨和人造石墨按照特定比例混合后作为锂离子电池的负极材料,天然石墨在两者中所占体积比为61%~69%,能够很好地减少负极材料低温析锂现象,改善锂离子电池的低温性能。本发明的方法简单,易于工业推广应用。

标签:
加工技术
广东 - 深圳 来源:中冶有色网 2023-03-18
碳包覆磷酸铁锂正极材料、其制备方法及锂离子电池

本发明提供了一种碳包覆磷酸铁锂正极材料、其制备方法及锂离子电池。该碳包覆磷酸铁锂正极材料的制备方法包括:在第一惰性气氛下,使锂源和亚铁源及第一溶剂进行第一次混合,得到第一原料液;在第二惰性气氛下,使磷源、辅助剂及第二溶剂进行第二次混合,得到第二原料液,辅助剂选自龙胆二糖和/或龙胆三糖;使第一原料液和第二原料液进行水热合成反应,得到含碳非晶包覆层的磷酸铁锂;及在第三惰性气氛下,使含碳非晶包覆层的磷酸铁锂进行烧结,得到碳包覆磷酸铁锂正极材料。采用上述方法能够大大提高正极材料中碳包覆层均匀性,从而能够大幅提高其导电性能及能量密度。

标签:
加工技术
广东 - 深圳 来源:中冶有色网 2023-03-18
电池电解液用添加剂、锂离子电池电解液、锂离子电池

本申请属于锂离子电池技术领域,涉及一种电池电解液用添加剂、锂离子电池电解液、锂离子电池。本申请提供了一种电池电解液用添加剂,至少包括如下结构式Ⅰ和式Ⅱ所示化合物中的至少一种,其中,X、Y各自独立地选自甲基、碳原子数为2~6的含亚甲基或次甲基的有机基团、碳原子数为6~20的含苯基的有机基团;Z选自碳原子数为2~6的含亚甲基或次甲基的有机基团。本发明提供的电池电解液用添加剂,可以在电极表面形成保护膜,抑制电极和电解液的副反应,降低界面阻抗,兼顾高低温性能,提升锂离子电池的整体输出性能。

标签:
加工技术
广东 - 深圳 来源:中冶有色网 2023-03-18
上一页 508 509 510 511 512 ... 771 下一页
共771页    到第

中冶有色为您提供最新的广东深圳有色金属材料制备及加工技术理论与应用信息,涵盖发明专利、权利要求、说明书、技术领域、背景技术、实用新型内容及具体实施方式等有色技术内容。打造最具专业性的有色金属技术理论与应用平台!

全国热门有色金属设备推荐
展开更多 +
全国热门有色金属技术推荐
展开更多 +

 

江西省隆恩特环保设备有限公司
宣传

报名参会
更多+

报告下载

有色专家
更多+

武汉理工大学
副主任/研究员
有研科技集团有限公司
中国工程院 院士
江西理工大学
副校长/教授
矿冶科技集团有限公司工程公司
副总经理
洛阳有色矿业集团有限公司
生产技术部经理
赤泥综合利用研究报告2025
推广

热门技术
更多+

推荐企业
更多+

福建省金龙稀土股份有限公司
宣传

发布

在线客服

公众号

电话

顶部
咨询电话:
010-88793500-807