青岛垚鑫智能科技有限公司
宣传

位置:中冶有色 >

有色技术频道 >

> 复合材料技术

分类:
全部
矿山技术
冶金技术
材料制备及加工技术
环境保护技术
分析检测技术
 
全部
功能材料技术
复合材料技术
新能源材料技术
合金材料技术
加工技术
地区:
全部
北京
天津
上海
重庆
河北
山西
辽宁
吉林
黑龙江
江苏
浙江
安徽
福建
江西
山东
河南
湖北
湖南
广东
海南
四川
贵州
云南
陕西
甘肃
青海
内蒙
广西
西藏
宁夏
新疆
其他
其他
展开
 
全部
南京
无锡
徐州
常州
苏州
南通
连云港
淮安
盐城
扬州
镇江
泰州
宿迁

江苏有色金属复合材料技术理论与应用

免费发布技术信息>>
抗形变PPS过滤材料、制备工艺及过滤袋

本发明属于过滤毡技术领域,尤其是一种抗形变PPS过滤材料、制备工艺及过滤袋,S1、制备先驱体溶液A和先驱体溶液B;所述先驱体溶液A包含碳纤维、PPS粉末和防静电液。该抗形变PPS过滤材料、制备工艺及过滤袋,通过设置先驱体溶液A和先驱体溶液B,能够PPS材料以及其他附带有间隙的材料和第一面层、第二面层和第三面层本身存在的孔径缝隙进行填充,不仅能够阻止极小的灰尘进入,还能够增强PPS材料的性能,用先驱体溶液或熔液浸渍纤维预制件,在一定条件下干燥或固化,然后高温裂解,重复浸渍—裂解过程数次即得纤维增强复合材料,使得PPS材料的强度、耐热性以及耐腐蚀性都能够得到有效保证。

标签:
复合材料
江苏 - 无锡 来源:中冶有色网 2023-03-18
废岩棉再生矿渣粉料及其制备方法

本发明公开了一种废岩棉再生矿渣粉料及其制备方法。由如下重量份数的原料制成:废岩棉100‑150份、多孔氧化铝3‑8份、蛭石5‑20份。本发明的废岩棉再生矿渣粉料,采用多孔氧化铝和蛭石复合材料,提高了再生矿渣粉料的保温性能,多孔氧化铝和膨胀后的蛭石组合使用协同增效。利用再生矿渣粉料,施胶制备保温棉板,胶水采用聚乙烯醇水溶液和硅酸钠水溶液的复合溶液,并加入渗透剂,提高了制备的保温棉板的力学性能。

标签:
复合材料
江苏 - 无锡 来源:中冶有色网 2023-03-18
城市建筑群外墙用废气光触媒降解涂料及其制造方法

本发明公开了一种城市建筑群外墙用废气光触媒降解涂料及其制造方法,该涂料由底至外具体由环保底层、中间基体和光触媒表层三层组成,其中环保底层为中空陶瓷微珠‑中空玻璃微珠‑丙烯酸乳液复合隔热层;中间基体为红外反射粉体、烧结彩砂、中空陶瓷微珠、丙烯酸乳液的复合材料;光触媒表层具体为聚合物硅树脂乳液和核壳结构改性苯丙乳液、钛白粉和中空玻璃微珠进行复配获得的膜层。本发明保温效果好、长效降解、对应多种大气污染、抗老化、装饰效果好。

标签:
复合材料
江苏 - 无锡 来源:中冶有色网 2023-03-18
具有光催化自清洁性能的聚偏氟乙烯混合基质膜及其制备方法与应用

本发明涉及一种具有光催化自清洁性能的聚偏氟乙烯混合基质膜及其制备方法与应用,制备方法包括:将SnO2‑Cu2O纳米复合材料与聚偏氟乙烯混合并配制得到铸膜液,之后通过非溶剂致相分离法制得聚偏氟乙烯混合基质膜;该混合基质膜可用于提高催化膜反应器装置的抗有机污染物性能。与现有技术相比,本发明将SnO2‑Cu2O以添加剂的形式加入聚偏氟乙烯铸膜液,通过引入无机纳米粒子共混法和NIPS法改性PVDF膜,不仅使得复合膜机械强度提高,同时亲水性也得到大幅增强,并具有更好的抗污染能力和截留性能。

标签:
复合材料
江苏 - 无锡 来源:中冶有色网 2023-03-18
肿瘤细胞的荧光成像方法

一种肿瘤细胞的荧光成像方法。透明质酸酶HAase与许多恶性肿瘤密切相关。研究表明,HAase的表达水平在癌细胞中大大增加。本发明提出了一种HAase的肿瘤细胞荧光成像方法,该方法采用空心金纳米材料构建基于HAase‑HA生物识别作用的纳米复合材料进行自催化循环放大反应用于肿瘤细胞内HAase的荧光成像。该方法不但使细胞成像体系得到优化和改进,而且,最大程度地提高了灵敏度、简化了成像过程、降低了成本、拓宽了应用领域,解决了活体、细胞成像技术复杂、价格居高、灵敏度不足等难题,尤为重要的是,本发明无需采用任何工具酶就能获得信号的循环放大效果,为体内外检测、活体及细胞成像等领域提供新的技术和方法。

标签:
复合材料
江苏 - 无锡 来源:中冶有色网 2023-03-18
轻卡80L压缩天然气常温高压气瓶的制造方法

一种轻卡80L压缩天然气常温高压气瓶的制造方法,该方法先对无缝钢管按工艺尺寸进行等离子切割,再对其进行旋压一次封口、旋压二次封口以得到气瓶内胆半成品,随后对气瓶内胆半成品进行淬火和回火处理,接着在瓶口处加工螺纹,然后对气瓶进行探伤以及壁厚检测,并清除气瓶内外表面氧化皮和污物,再对气瓶外表面喷涂塑粉,之后在筒体外部缠绕玻纤环氧复合材料以得到气瓶成品,最后进行成品检测。本设计不仅保证了产品质量能够满足相关要求,而且适用于流水化生产。

标签:
复合材料
江苏 - 无锡 来源:中冶有色网 2023-03-18
用于高结温功率模块芯片正面连接的封装材料结构层及其制作方法

本发明公开了一种用于高结温功率模块芯片正面连接的封装材料结构层制作方法,包括以下步骤:S01,制作预成型平面型铜片或者铜排,其宽度小于芯片正面金属Pad宽度;S02,将铜片或者铜排表面通过印刷工艺将烧结银浆印刷在表面形成一层银膜;S03,将印刷后的铜片或者铜排在烘箱中固化,形成铜片银膜复合材料。本发明还提供的一种用于高结温功率模块芯片正面连接的封装材料结构层,由上述用于高结温功率模块芯片正面连接的封装材料结构层制作方法制作得到。本发明提供的一种用于高结温功率模块芯片正面连接的封装材料结构层及其制作方法,利于实现批量化生产,用于高结温功率模块芯片正面键合,实现在400摄氏度以上的高结温芯片的应用环境中。

标签:
复合材料
江苏 - 无锡 来源:中冶有色网 2023-03-18
绝对运动中单边极重另边极轻承重受力机主体主件装置

一种绝对运动中单边极重另边极轻承重受力机主体主件装置,巨型地基巨型特种钢板支架、变速控制做功齿轮箱、复合材料巨形卧式热气球形传动带、磁性磁力重物交换仓斗、两级分化重轻悬殊巨形卧式热气球形传动带重力物体、很长杆子旋转支座平台、很长杆子旋转仓斗上空重物输送转换交换仓斗、自动旋转巨形卧式热气球形传动带单边极重另边极轻巨差中传动带、自动旋转巨形卧式热气球形传动带巨形用超轻物质制造承压力轮圈能够产生出巨大巨大的能量的重轻巨差的重力物体。

标签:
复合材料
江苏 - 无锡 来源:中冶有色网 2023-03-18
Ni掺杂BaTiO<Sub>3</Sub>-BaFe<Sub>12</Sub>O<Sub>19</Sub>-聚苯胺三元复合电磁屏蔽材料

本发明涉及电磁屏蔽技术领域,且公开了一种Ni掺杂BaTiO3‑BaFe12O19‑聚苯胺三元复合电磁屏蔽材料,以醋酸钡、硝酸镍为原料,得到Ni掺杂BaTiO3,镍离子与钛离子半径接近,可取代钛离子实现掺杂,多余的镍离子以氧化镍的形式残留在BaTiO3晶界层,形成低温玻璃相,导致BaTiO3晶粒减小,优化相对介电常数,再加入硝酸铁、硝酸钡、柠檬酸,得到Ni掺杂BaTiO3‑蜂窝状BaFe12O19空心微球二元纳米复合材料,其同时具有多孔性和介孔蜂窝状,实现轻质化,在过硫酸钾的作用下,苯胺形成聚苯胺,与Ni掺杂BaTiO3‑蜂窝状BaFe12O19空心微球复合,拓宽电磁屏蔽的范围,聚苯胺分子间构建出良好的导电网络,加大电磁波的损耗,使得Ni掺杂BaTiO3‑BaFe12O19‑聚苯胺三元复合电磁屏蔽材料具有优异的电磁屏蔽性能。

标签:
复合材料
江苏 - 无锡 来源:中冶有色网 2023-03-18
含等离子体的气相沉积装置及其应用

本发明涉及一种含等离子体的气相沉积装置及其应用,包括依次连接的进气系统、反应系统和废气处理系统;所述的进气系统向反应腔原位供应反应气体,进行气相沉积;所述反应系统中的反应腔内设有等离子体发生器和反应腔加热器,通过等离子控制器和温度控制显示器分别控制和实时监控等离子体发生器和反应腔内温度,对基底进行等离子体处理和气相沉积过程。与现有技术相比,本发明在较为简单的条件下利用等离子体技术对材料表面处理,并进行可控的气相沉积反应过程,满足了多层次制备新复合材料的技术需求;操作简单、反应条件温和、装置结构简单并且绿色环保。

标签:
复合材料
江苏 - 无锡 来源:中冶有色网 2023-03-18
抗菌计算机鼠标壳体及其注塑工艺

本发明公开一种抗菌计算机鼠标壳体,包括上表面壳体和位于上表面壳体上的按键,上表面壳体两侧设有限位板。注塑工艺,步骤:步骤1:原料干燥,造粒,干燥后的原料投入螺杆式注塑机的料筒中进行塑化,使原料成为熔融状态的导热复合材料熔体,塑化背压;步骤2:根据鼠标壳体形状,步骤1中的浆料注入到模盒中;步骤3:步骤2中的模盒制品放入烘箱中静置;步骤4:将注塑成型的金属加固型塑料壳体在常温下冷却,冷却过程中,金属内衬的上凸部位在冷缩的原理下将会向相反方向收缩变形,直至呈水平状;步骤5:脱模,对步骤4中的鼠标壳体进行打磨修边。本发明结构简单,有效在使用的过程中起到方便抓握的作用,耐用程度进行大幅度的提升。

标签:
复合材料
江苏 - 无锡 来源:中冶有色网 2023-03-18
Fe<Sub>3</Sub>O<Sub>4</Sub>-聚乙烯亚胺-聚丙烯酸-聚偏氟乙烯的复合吸附材料

本发明涉及吸附材料技术领域,且公开了一种Fe3O4‑聚乙烯亚胺‑聚丙烯酸‑聚偏氟乙烯的复合吸附材料,在碱性环境中,得到碱化聚偏氟乙烯,纳米Fe3O4与硅烷偶联剂脱水缩合,与聚乙烯亚胺反应后,再与丙烯酸反应,得到丙烯酰化纳米Fe3O4‑聚乙烯亚胺复合材料,其和丙烯酸一起与碱化聚偏氟乙烯发生聚合,通过静电纺丝制备Fe3O4‑聚乙烯亚胺‑聚丙烯酸‑聚偏氟乙烯纤维膜,具有优良的网状结构,增大了比表面积,接枝聚丙烯酸提高聚偏氟乙烯的亲水性,接枝聚乙烯亚胺引入大量胺基,纤维膜表面含有大量羧基、胺基等吸附活性位点,使得Fe3O4‑聚乙烯亚胺‑聚丙烯酸‑聚偏氟乙烯纤维膜具有优异的亲水性、化学稳定性、吸附性能。

标签:
复合材料
江苏 - 无锡 来源:中冶有色网 2023-03-18
聚离子液体功能化MOFs材料的制备及其在合成异胡薄荷醇中的应用

本发明涉及一种聚离子液体功能化MOFs材料(UiO‑66)的制备及其在合成异胡薄荷醇中的应用,属于复合材料技术领域。本发明利用含羧酸基团的咪唑为聚离子液体单体,采用热溶剂法将其与UiO‑66结合后聚合再离子交换,成功合成了聚咪唑离子液体功能化MOFs材料(UiO‑PIL)。该材料在香茅醛合成异胡薄荷醇反应中,在绿色温和的条件下,表现出优异的催化性能,与UiO‑66相比催化性能大幅度提升。

标签:
复合材料
江苏 - 无锡 来源:中冶有色网 2023-03-18
具有高流动性的PC材料及其产品

本发明涉及高分子材料技术领域,具体地说是一种具有高流动性的PC材料及其产品,该一种具有高流动性的PC材料按重量份数表示,其包括:PC树脂95‑99.9份;超支化聚合物0.1‑2份;丙烯酸酯低聚物0.1‑3份;润滑剂0.1‑0.5份;所述产品为经一种具有高流动性的PC材料成型后产生的产品。本发明的一种具有高流动性的PC材料,能够极大程度地提高复合材料的流动指数以及冲击强度。

标签:
复合材料
江苏 - 无锡 来源:中冶有色网 2023-03-18
石墨烯导电面料
石墨烯导电面料 1077     
 0

本发明公开了一种石墨烯导电面料,包括基材面料层、与基材面料复合的薄膜层、石墨烯涂覆层,所述的石墨烯涂覆层由聚苯胺接枝石墨烯复合材料、分散剂、防水剂、粘合剂、增稠剂和水组成的涂层剂形成。制备面料时,先配置石墨烯涂层剂,在基材面料表面涂覆涂层剂,烘干、焙烘形成涂覆层,再于基材面料的另一侧,复合聚氨酯薄膜。先将基材面料、聚氨酯薄膜涂覆胶点,平整地叠加在一起,再移至压烫机中,然后设定热压时间和热压温度,待温度达到后,进行压烫,完成热压复膜。本发明采用在基材面料一面设置导电涂层、另一面复导电膜的方法,实现了面料的防水、透湿、导电的功能。

标签:
复合材料
江苏 - 无锡 来源:中冶有色网 2023-03-18
复合除汞材料及其制备方法与应用

本发明属于污水处理材料技术领域,具体涉及一种复合除汞材料及其制备方法与应用。本发明所述复合除汞材料的制备方法,通过制备层间结构可调控的水滑石和聚吡咯改性的蒙脱土为原料,通过N,N‑二甲基甲酰胺对水滑石进行剥层分离,使之形成分散的片层结构,并通过对蒙脱土进行酸化、钠化和三氯化铁插层处理以及采用聚吡咯对插层蒙脱土进行改性处理,形成立体多层次空间位阻,提高了改性过程的交换容量;再利用对水滑石和蒙脱土进行复合插层的方式,进一步形成具有空间构域效应的多羟基层状结构复合材料,随后利用该材料特有的多羟基层状结构进行巯基改性,制得可应用于吸附含汞废水中的Hg2+的改性吸附材料,具有较好的吸附效率和吸附容量。

标签:
复合材料
江苏 - 无锡 来源:中冶有色网 2023-03-18
具有热交换流道的电芯
具有热交换流道的电芯 1058     
 0

本专利提供一种具有热交换流道的电芯,它能够快速与外界进行热交换,且结构简单,容易生产。该具有热交换流道的电芯,所述电芯至少具有一种集流体以及复合材料,集流体具有向侧部延伸超出电芯主体的集流体延长部;具有内部流道的热交换构件与集流体延长部相接触。

标签:
复合材料
江苏 - 无锡 来源:中冶有色网 2023-03-18
低收缩无卤阻燃聚乙烯组合物及其制备方法和应用

本发明提供一种低收缩无卤阻燃聚乙烯组合物及其制备方法和应用。本发明的低收缩无卤阻燃聚乙烯组合物,包括如下按重量份计算的组分:LLDPE15~20份;EVA15~20份;POE5~10份;无卤阻燃剂60~70份;相容剂3~10份;分散剂3~5份;抗氧剂1~2份;炭黑母粒1~3份;其中,LLDPE在190℃,2.16kg条件下熔融指数为0.5~5g/10min;EVA在190℃,2.16kg条件下熔融指数为0.5~5g/10min;EVA中VA的含量为18~28wt%。通过LLDPE、EVA和POE三者协同作用,使得复合材料在具有较低的成型收缩率的同时,还具有较好的力学性能。

标签:
复合材料
江苏 - 无锡 来源:中冶有色网 2023-03-18
预留弯折点的FRP筋材及制作方法

本发明公开了一种预留弯折点的FRP筋材及制作方法,本发明采用波纹管,并对波纹管内部进行加固,解决了现有FRP筋不能弯折的缺点,同时解决了FRP筋弯折处钢弯头的锈蚀造成的耐久性问题,且能够用统一的材料,更好的发挥FRP复合材料筋的强度,使模拟出来的结果与实验结果更加接近,使得试验结果更加准确。

标签:
复合材料
江苏 - 无锡 来源:中冶有色网 2023-03-18
颗粒型加热卷烟用纳微胶囊及其制备方法

本发明公开了一种颗粒型加热卷烟用纳微胶囊及其制备方法,属于新型烟草制品技术领域,该纳微胶囊由芯材和壁材组成,芯材包括雾化剂及烟用香精香料,壁材为结冷胶与纳米无机物的复合材料。将本发明所提供的纳微胶囊用于加热卷烟烟芯颗粒制备时,具有良好的耐加工性,可有效防止烟草颗粒的吸潮,防止加工、贮存过程中雾化剂及香精香料的挥发和氧化变质,使得在抽吸过程中香味成分最大程度的释放,提高颗粒型加热卷烟产品的质量稳定性及感官品质。

标签:
复合材料
江苏 - 无锡 来源:中冶有色网 2023-03-18
星型聚酰胺及其用途
星型聚酰胺及其用途 716     
 0

本发明涉及一种星型聚酰胺及其用途,将二酸酐作为引发剂或酰胺交换剂加入到聚酰胺的聚合过程,通过引发单体聚合或酰胺交换,得到星型聚酰胺,二酸酐的加入量为聚合单体重量的0.5~10%。星型聚酰胺的用途是制备荧光材料、聚酰胺改性剂或碳材料增溶剂。聚酰胺改性剂作为润滑剂,降低聚酰胺黏度,使聚酰胺具有较高的流动性。碳材料增溶剂改善了碳材料与聚酰胺基体界面的相容性。本发明在加入二酸酐作引发剂或酰胺交换剂,通过引发单体聚合或酰胺交换,得到星型聚酰胺,改善了聚酰胺的性能,制备出性能优异的复合材料,扩大了聚酰胺产品的用途。

标签:
复合材料
江苏 - 无锡 来源:中冶有色网 2023-03-18
聚L-苯丙氨酸/纳米金/希瓦氏菌MR-1/多壁碳纳米管修饰电极、制备方法和应用

本发明提出了聚L‑苯丙氨酸/纳米金/希瓦氏菌MR‑1/多壁碳纳米管修饰电极、制备方法和应用,属于玻碳电极技术领域,包括:将玻碳电极表面打磨后洗净,表面滴加希瓦氏菌MR‑1/多壁碳纳米管复合材料溶液,干燥后该电极为工作电极,置于氯金酸水溶液中,采用计时电流法恒电位沉积纳米金,再以该电极为工作电极,在L‑苯丙氨酸溶液中进行循环伏安扫描,洗净,干燥,得到聚L‑苯丙氨酸/纳米金/希瓦氏菌MR‑1/多壁碳纳米管修饰电极。本发明制备的电极对黄岑素具有良好的催化作用,灵敏度高、检测速度快等特点。将该电极与循环伏安扫描和差分脉冲伏安法结合,对黄岑素的定量检测,具有灵敏度高、响应速度快、响应信号强等优点。

标签:
复合材料
江苏 - 无锡 来源:中冶有色网 2023-03-18
基于3D打印工艺的超材料吸波结构及其制备方法与应用

本申请公开了基于3D打印工艺的超材料吸波结构及其制备方法与应用,涉及吸波复合材料领域;所述基于3D打印工艺的超材料吸波结构的制备方法,包括以下步骤:将聚醚醚酮树脂溶于羰基铁溶剂后,通过3D打印,获得超材料吸波结构。旨在解决现有技术所制造的超材料吸波结构吸波性能不稳定的技术问题。本申请还公开了一种如上所述方法制备而得的超材料吸波结构及其应用。

标签:
复合材料
江苏 - 无锡 来源:中冶有色网 2023-03-18
膨胀石墨热界面材料及其制备方法

本发明公开了一种膨胀石墨热界面材料及其制备方法,制备方法包括以下步骤:1)以石墨膜为原料采用氧化插层法制备膨胀石墨;2)使用硅烷偶联剂对膨胀石墨进行表面处理得到改性膨胀石墨;3)将聚烯烃以真空浸润的方式充分浸润改性膨胀石墨得到所述膨胀石墨热界面材料。首先,膨胀石墨是由石墨膜膨胀制得,本身内部网络连通较好,有利于热传导,且在制备复合材料的过程中由于整体浸润聚烯烃,不存在分散性能不好的问题。其次,膨胀石墨在制备过程中膨胀倍数可调节,方便实验进行。再次,通过对块状膨胀石墨整体改性,聚烯烃在膨胀石墨表面分布更均匀,达到聚烯烃浸润量可控的目的。

标签:
复合材料
江苏 - 无锡 来源:中冶有色网 2023-03-18
基于改性石墨烯的导热增强型离子液体复合相变储热材料及制备方法

本发明公开了一种基于改性石墨烯的导热增强型离子液体复合相变储热材料及制备方法,首先,利用含有端氨基离子液体对氧化石墨烯进行共价功能化改性,改性后的氧化石墨烯与水合肼反应使其还原,以提高石墨烯填料在离子液体相变材料基体中的分散性及界面相容性,改善复合材料导热特性。进而,将改性石墨烯与咪唑类离子液体相变材料基体混合,并通过旋蒸,干燥等条件控制,得到不同改性石墨烯负载量与离子液体基体相变材料的混合物。该材料具有大的相变潜热以及良好的热稳定性特征,同时热导率较无改性石墨烯添加的离子液体增加4.4%‑127.9%,显著提高了其热能存储以及传导特性。

标签:
复合材料
江苏 - 无锡 来源:中冶有色网 2023-03-18
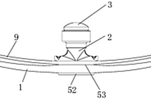
组合式悬挂装置
组合式悬挂装置 620     
 0

本发明公开了一种组合式悬挂装置,包括金属板簧、设于金属板簧下方的至少一片复合材料板簧、刚性支座、以及设于刚性支座上的弹性承载块,所述刚性支座设于所述金属板簧的中部,空车时所述弹性承载块与车架之间具有间隙、且随着车架上载荷的增加弹性承载块可与车架抵接;或所述刚性支座设于车架上,空车时所述弹性承载块与金属板簧之间具有间隙、且随着车架上载荷的增加弹性承载块可与金属板簧中部抵接。本发明结构简单、可靠,兼顾轻量化和承载能力,空车时具备较高的舒适性,重车时具备良好的承载能力。

标签:
复合材料
江苏 - 无锡 来源:中冶有色网 2023-03-18
三明治结构的MnO<Sub>2</Sub>@rGO@MnO<Sub>2</Sub>复合纳米片材料及其制备方法

本发明涉及一种三明治结构的MnO2@rGO@MnO2复合纳米片材料及其制备方法、锌离子电池,属于电池技术领域。本发明的三明治结构的MnO2@rGO@MnO2复合纳米片材料的制备方法,包括如下步骤:将氧化石墨烯、间苯二酚、甲醛混合反应30‑160min;加入草酸,反应200‑260min;固液分离,固体干燥后在700‑850℃碳化2‑5h,即得。本发明的制备方法采用上述制得的复合材料与高锰酸钾反应制备,可以用作锌离子电池正极材料。该方法工艺简单、成本低,适合于规模化生产。

标签:
复合材料
江苏 - 无锡 来源:中冶有色网 2023-03-18
有机无机复合絮凝剂及其制备方法

本发明涉及一种有机无机复合絮凝剂及其制备方法,属于絮凝剂技术领域。以改性后的树枝状纳米二氧化硅为无机复合材料,接枝聚合丙烯酰吗啉与甲基丙烯酰氧乙基二甲基十六烷基溴化铵。改性树枝状纳米二氧化硅作为一种纳米材料,可以改变有机高分子絮凝剂的原有的表面结构,提高絮凝剂的化学稳定性、吸附反应能力、抗老化性和絮凝能力。丙烯酰吗啉、甲基丙烯酰氧乙基二甲基十六烷基溴化铵与二氧化硅通过化学键相连,形成一种无机‑有机杂化聚集体,在稀释状态下更容易发生解离,提高絮凝速率,增强絮凝效果。所制备的有机无机复合絮凝剂具有消毒、杀菌、吸附Cu2+等重金属离子、吸附CrO42‑等有毒阴离子、环保、价廉、抗老化等优良性能。

标签:
复合材料
江苏 - 无锡 来源:中冶有色网 2023-03-18
基于金属纳米粒子的变色材料及其应用

本发明提供了一种基于金属纳米粒子的变色材料及其应用。该变色材料包括羧基络合金属纳米粒子;羧基络合金属纳米粒子包括含羧基化合物和与含羧基化合物络合的金属纳米粒子;基于金属纳米粒子的变色材料随着湿度的变化发生颜色和/或透明度的可逆变化。将高吸湿膨胀率的含羧基的高分子材料与金属纳米粒子络合之后,可作为填料,添加至折射率高度相似而吸湿膨胀率小的高分子复合材料中,能够实现湿气响应的颜色与透明度的共同可逆调谐。本发明提供的变色材料可制备成膜、凝胶、纤维等多种形态,也可作为湿气响应的颜色演化的填料,有望实现低能源消耗的光学响应窗户、湿度解码纸等智能材料领域的应用。

标签:
复合材料
江苏 - 无锡 来源:中冶有色网 2023-03-18
复合降噪材料及其制备方法、设备壳体和设备

本发明提供了一种复合降噪材料及其制备方法、设备壳体和设备,涉及复合材料技术领域。该复合降噪材料通过聚烯烃和具有多角针状结构的含钴镍物质等组分制成,该复合降噪材料在受到周期性的外力的作用时,其中所含有的具有多角针状结构含钴镍物质可使交联的高分子链之间稳定性增加,从而提高其抗形变性能,进而降低振动噪声;同时,含钴镍物质在聚烯烃基底材料中几乎不会变形,可以在其中充当骨架,有效增加复合降噪材料本身的邵氏硬度和抗压强度,并且能够有效降低其断裂伸长率。本发明还提供了上述复合降噪材料的制备方法。

标签:
复合材料
江苏 - 无锡 来源:中冶有色网 2023-03-18
上一页 502 503 504 505 506 ... 1207 下一页
共1207页    到第

中冶有色为您提供最新的江苏有色金属复合材料技术理论与应用信息,涵盖发明专利、权利要求、说明书、技术领域、背景技术、实用新型内容及具体实施方式等有色技术内容。打造最具专业性的有色金属技术理论与应用平台!

全国热门有色金属设备推荐
展开更多 +
全国热门有色金属技术推荐
展开更多 +

 

江西省隆恩特环保设备有限公司
宣传

报名参会
更多+

报告下载

有色专家
更多+

蒙纳士苏州校区
中国工程院外籍院士/校长
北京科技大学
主任/教授
紫金矿业信息化研发中心
副总经理
北京科技大学
副院长/教授
矿冶科技集团
中国工程院院士
赤泥综合利用研究报告2025
推广

热门技术
更多+

推荐企业
更多+

福建省金龙稀土股份有限公司
宣传

发布

在线客服

公众号

电话

顶部
咨询电话:
010-88793500-807