青岛垚鑫智能科技有限公司
宣传

位置:中冶有色 >

有色技术频道 >

> 复合材料技术

分类:
全部
矿山技术
冶金技术
材料制备及加工技术
环境保护技术
分析检测技术
 
全部
功能材料技术
复合材料技术
新能源材料技术
合金材料技术
加工技术
地区:
全部
北京
天津
上海
重庆
河北
山西
辽宁
吉林
黑龙江
江苏
浙江
安徽
福建
江西
山东
河南
湖北
湖南
广东
海南
四川
贵州
云南
陕西
甘肃
青海
内蒙
广西
西藏
宁夏
新疆
其他
其他
展开
 
全部
南京
无锡
徐州
常州
苏州
南通
连云港
淮安
盐城
扬州
镇江
泰州
宿迁

江苏无锡有色金属复合材料技术理论与应用

免费发布技术信息>>
制备非贵金属磷化物催化剂的方法

本发明涉及一种制备非贵金属磷化物催化剂的方法,包括:在导电材料上化学镀Ni‑P镀层后,在化学镀Ni‑P镀层上制备非贵金属层状氢氧化物,最后将所述材料在还原气氛下煅烧,获得非贵金属磷化物催化剂。本发明将非贵金属氢氧化物和化学镀Ni‑P镀层制成复合材料催化剂,利用还原气氛煅烧,使Ni‑P镀层中的P由于浓度梯度扩散到表面,同时将金属氢氧化物还原,最终实现制备非贵金属磷化物催化剂。此种方法制备的非贵金属磷化物催化剂对电解水过程的析氢反应具有较好的催化性能。与现代技术相比,该非贵金属磷化物催化剂可替代贵金属催化剂,实现制备对电解水制氢过程具有较好催化活性的催化剂的目的。

标签:
复合材料
江苏 - 无锡 来源:中冶有色网 2023-03-18
聚乙烯醇包覆的纳米二氧化钒光热响应微胶囊及其制备方法

本发明提供一种聚乙烯醇包覆的纳米二氧化钒光热响应微胶囊及其制备方法,属于纳米高分子复合材料合成技术领域。制备方法包括以下步骤:(1)将二氧化钒(VO2)纳米颗粒表面改性;(2)内水相的制备;(3)油相的制备;(4)将步骤(2)制备的内水相缓慢加入步骤(3)制备的油相中,加热搅拌得到油包水型初乳;(5)外水相的制备;(6)将步骤(4)制得的油包水型初乳滴加到步骤(5)制得的外水相中,加热搅拌,后处理获得聚乙烯醇包覆的纳米二氧化钒光热响应微胶囊。本发明所提供的制备方法简单,通过将VO2微胶囊化,增强了其耐候性,同时VO2与有机基体的相容性也得到提高;加入光响应有机分子改变了二氧化钒薄膜的颜色。

标签:
复合材料
江苏 - 无锡 来源:中冶有色网 2023-03-18
抗紫外聚合物乳液及其制备方法

本发明公开了一种抗紫外聚合物乳液,包括如下质量份的组分:100份紫外光吸收剂,200‑500份去离子水,10‑50份助溶剂,干基质量为5‑20份的LNBR‑SA树脂乳液;LNBR‑SA树脂乳液的制备:往液体丁腈橡胶乳液中加入接枝单体苯乙烯和丙烯腈,接枝单体用量为液体丁腈橡胶乳液干基量的20%‑80%,然后加入乳化剂、分子量调节剂、去离子水和引发剂,进行接枝反应,即得。本发明的抗紫外聚合物乳液中,紫外光吸收剂与乳液具有良好的相容性,减少了有效组分的流失,同时能够加强有效组分停留在聚合物相,并在后续服役期间缓慢释放,实现对聚合物链段结构的保护,进而提聚合物‑水泥基复合材料的抗紫外老化性能。

标签:
复合材料
江苏 - 无锡 来源:中冶有色网 2023-03-18
SEBS改性的导电聚丙烯纳米复合物的制备方法

一种SEBS改性的导电聚丙烯纳米复合物的制备方法,属于高分子复合材料技术领域,通过双螺杆熔融挤出的工艺,利用纳米CB作为导电填料,PP作为基体,通过填充与PP溶解度参数相近的SEBS,提高了复合物加工时的流动性,改善了复合物的加工性能,改善了导电聚丙烯纳米复合物扁丝的电学性能。

标签:
复合材料
江苏 - 无锡 来源:中冶有色网 2023-03-18
金属亲和性硫化氟橡胶的制备方法

本发明公开了一种金属亲和性硫化氟橡胶的制备方法,它包括以下步骤:一,配制硫化剂分散液:以聚丙烯酸钠为分散剂,配制成重量百分浓度为0.1%的溶液,在溶液中加入三嗪三硫醇四丁基铵盐、氟化钙和氢氧化钙配制成硫化剂分散液;二,共混合:将步骤一中制成的硫化剂分散液与氟橡胶乳液以机械搅拌形成混合液;三,共凝聚:以丁二酸为凝聚助剂,配制成重量百分浓度为3%的溶液;四,热处理:将步骤三中凝聚后的溶液加热至120℃持续60分钟,清洗、干燥得到金属亲和性硫化氟橡胶。本发明不但可以了解决氟橡胶本身的金属亲和性,而且不强影响复合材料粘合效果。

标签:
复合材料
江苏 - 无锡 来源:中冶有色网 2023-03-18
高压实密度磷酸锰铁锂/碳复合正极材料的制备方法

本发明公开了一种高压实密度磷酸锰铁锂/碳复合正极材料的制备方法,其化学通式为:LiMnxFeyPO4/C,0.5≤x≤0.9,x+y=1;制备方法如下:稀释磷酸备用,在一可密封容器内加入锰源、铁源、分散剂和去离子水,通入保护气;将稀释的磷酸加入密封容器内,陈化,使pH值在2.0~5.0,均匀形核;将形成的沉淀清洗,真空干燥,高温第一次烧结,形成球形颗粒A;取一水氢氧化锂配制溶液,将球形颗粒A加入其中,喷雾干燥后,高温第二次烧结,得到球形颗粒B;配制葡萄糖溶液,将球形颗粒B加入其中,喷雾干燥后,高温第三次烧结,得到纳米球形磷酸锰铁锂/碳复合材料。本发明大幅提升了材料电化学性能及材料压实密度。

标签:
复合材料
江苏 - 无锡 来源:中冶有色网 2023-03-18
具有形状记忆功能的水凝胶材料及其制备与应用

本发明涉及水凝胶复合材料技术领域,公开了一种具有形状记忆功能的水凝胶材料及其制备与应用。该水凝胶材料为CNF/CMC/Tb/Ab,Ab和Tb形成的稀土配合物以共价键方式与CNF和CMC形成的纤维素网络骨架相连;其中,所述Ab为对氨基苯甲酸钠盐,Tb为稀土铽离子,CMC为羧甲基纤维素,CNF为纤维素纳米纤维。纤维素纳米纤维通过氢键与羧甲基纤维素结合形成纤维素网络骨架,稀土铽离子与羧甲基纤维素中的羧基官能团配位,从而以共价键方式与纤维素网络骨架稳定相连,对氨基苯甲酸钠盐随后与稀土铽离子进一步配位,形成发光优异的绿色荧光材料,同时表现出优异的形状记忆功能,可以作为一种新型的形状记忆荧光材料。

标签:
复合材料
江苏 - 无锡 来源:中冶有色网 2023-03-18
二硫化钼/还原氧化石墨烯与地质聚合物复合稳定汞污染土的方法

本发明公开了一种二硫化钼/还原氧化石墨烯与地质聚合物复合稳定汞污染土的方法,包括步骤:用水热法制得二硫化钼/还原氧化石墨烯复合纳米粒子,首先由所述二硫化钼/还原氧化石墨烯复合纳米粒子对汞污染土进行预吸附处理得到经二硫化钼/还原氧化石墨烯复合纳米粒子预吸附的汞污染土,然后加入蒸馏水、粉煤灰、高炉矿渣和碱激发剂混合得到浆液,最后将浆液装入模具养护固化脱模得到汞土/二硫化钼/还原氧化石墨烯/地质聚合物复合材料。本发明方法可以有效的固化稳定化汞土污染物,降低了的汞浸出率且提高了材料的抗压强度。

标签:
复合材料
江苏 - 无锡 来源:中冶有色网 2023-03-18
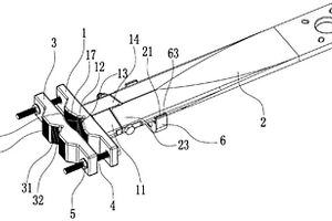
GPS天线支架
GPS天线支架 1023     
 0

本发明涉及一种GPS天线支架,包括第一夹块、第二夹块、撑臂、第一螺栓、第一螺母和线托;撑臂和第二夹块分别设于第一夹块的前后两侧,第一夹块的前侧中部向外形成有连接部,连接部的前端右侧向外形成有第一转接块,对应地,撑臂的后端左侧向外形成有第二转接块,第二转接块可转动的连接在第一转接块的左侧;本发明扩大了适用范围以降低了生产成本;同时,使得GPS天线始终处于垂直状态以保证GPS天线的信号发射效率;此外,第一夹块、第二夹块、撑臂和线托均采用高分子复合材料,既减轻了重量、简化了加工,又避免金属材料与GPS天线中的信号产生无源互调产物以干扰接收系统。

标签:
复合材料
江苏 - 无锡 来源:中冶有色网 2023-03-18
基于3D打印技术的模具制造工艺

本发明属于3D打印用于模具生产技术领域,具体公开了基于3D打印技术的模具制造工艺,包括如下步骤:建立模型:通过三维建模软件对目标零件进行CAD铸造工艺的优化设计,建立目标零件的三维模型;结构分析:利用3D打印机将步骤S1绘制完成的三维模型图纸打印成型,得到所需模具的三维物理实体,并对打印出的三维物理实体模型进行结构分析,分析结构合理性;采用3D打印技术将电脑中设计好的模具结构与型腔一体打印,相比于传统的模具成型方法,省去了成型过程,能够大大缩短模具成型的时间,尤其是面对需求的复合材料制品数量不多、或时间紧迫的情况,本发明的3D打印技术成型模具的方法大大提高了生产效率。

标签:
复合材料
江苏 - 无锡 来源:中冶有色网 2023-03-18
核壳结构NiSe<Sub>2</Sub>@NC电催化材料及其制备方法和用途

本发明提供了一种核壳结构NiSe2@NC电催化材料,其通式为NiSe2@NC。本发明还提供了该催化材料的制备方法和应用,采用水合肼为还原剂,硒粉为硒源,金属有机框架物为前驱物,通过水热反应对混合配体的金属有机框架物进行选择性硒化。再通过一步管式炉煅烧反应,从而制备出一系列具有可调节的氮掺杂的碳包覆的立方相核壳二硒化镍正八面体材料。通过调节金属有机框架物中混合配体的种类,获得了具有不同吡啶氮含量掺杂的碳包覆的二硒化镍复合材料,再经相应的电化学测试以及理论计算证明,电催化活性与吡啶氮的含量具有很强的相关性。

标签:
复合材料
江苏 - 无锡 来源:中冶有色网 2023-03-18
用于锂硫电池功能性隔层的涂覆材料及其制备方法

本发明属于锂硫电池的技术领域,具体的涉及一种用于锂硫电池功能性隔层的涂覆材料及其制备方法。该涂覆材料为海胆状碳包覆硫化钴复合材料。该材料涂覆于锂硫电池功能性隔层可以有效缓解目前锂硫电池中明显的多硫化物“穿梭效应”,保证了电池稳定的电化学性能。

标签:
复合材料
江苏 - 无锡 来源:中冶有色网 2023-03-18
三维多向编织碳纤维承载结构及其制造方法

本发明涉及临近空间浮空器承力结构设备技术领域,公开了一种三维多向编织碳纤维承载结构及其制造方法,其中三维多向编织碳纤维承载结构包括三维多向编织管体以及设置于所述三维多向编织管体的两端的刺辊接头,所述三维多向编织管体由碳纤维复合材料编织固化而成,所述刺辊接头的外表面设有多个尖针,所述尖针嵌设于所述三维多向编织管体的内壁。该三维多向编织碳纤维承载结构具有优异的力学性能,结构减重的同时,大大提高了承载结构的刚度和轴向承载强度,其承载强度是传统连接强度的6倍以上,克服了传统连接技术中的分层损伤弱点,可满足临近空间浮空器重载连接结构应用需求。

标签:
复合材料
江苏 - 无锡 来源:中冶有色网 2023-03-18
矿井阻燃托辊用橡胶插板及其制备方法

本发明公开了一种矿井阻燃托辊用橡胶插板及其制备方法,属于复合材料加工领域。包括托辊,固定在所述托辊外表面上的向外凸起的镂空金属插板或向内凹陷的沟槽金属插板,以及通过粘结连接在所述金属插板上的橡胶层。本发明通过对连接方式做出了改进发明,在金属材料和橡胶材料界面之间添加一层镂空金属层,橡胶材料部分嵌合于镂空空间或网状凹槽中,形成自锁固定,有效的抵消在切向摩擦力的作用;另在常规的粘合剂基础上复合配予一定比例的硅烷偶联剂,让硅烷偶联剂的醇羟基与金属表面的自由基键合成牢固的硅氧键,提高了粘合剂与金属基体表面的结合力,大大减小了温度对粘合剂的影响。

标签:
复合材料
江苏 - 无锡 来源:中冶有色网 2023-03-18
具有良好吸波效果的材料制备方法

本发明公开了一种具有良好吸波效果的材料制备方法,包括下列重量份的原料:环氧树脂90‑110份、塑料微球10‑30份、固化剂4‑10份、促进剂5‑15份、吸波剂50‑150份、气凝胶50‑70份、热塑性树脂10‑30份、磁性金属粉末30‑50份、水60‑80份。通过中和配制,以气凝胶材料为载体,将磁性金属粉末例如铁材料沉积到气凝胶内部,再向内添加热塑性树脂,利用热塑性树脂的绝缘特性,制成的热塑性吸波材料,具有高电阻率的复合性吸波材料基板,再利用环氧树脂和塑料微球的热固性,通过向内添加固化剂和促进剂对环氧树脂的固化反应进行增进,增加了吸波材料整体的吸波性能和耐热性能,同时也降低复合材料的密度提高了抗静电效果,也达到了材料的轻质化,提高了材料的利用率。

标签:
复合材料
江苏 - 无锡 来源:中冶有色网 2023-03-18
石墨烯基气敏材料及其制备方法及其应用

本发明提供了一种石墨烯基气敏材料及其制备方法及其应用,其制备方法包括如下步骤:步骤S1,准备氧化石墨烯;步骤S2,采用水热法制备石墨烯和硫化锡的复合材料,使硫化锡片层在静电吸附作用下,在氧化石墨烯的表面结晶生长,同时,氧化石墨烯在水热作用下还原生成石墨烯。采用本发明技术方案,通过硫化锡和石墨烯的协同作用,在室温下可以快速吸附二氧化氮分子,具有极高的灵敏度,在室温下也可以快速脱附,有利于在短时间内进行多次气敏响应,且对除二氧化氮外其他气体几乎不产生响应;制备方法快速、简便,可重复,易于控制。

标签:
复合材料
江苏 - 无锡 来源:中冶有色网 2023-03-18
聚芳酰胺液晶聚合物及其制备方法和应用

本发明公开了一种聚芳酰胺液晶聚合物及其制备方法和应用,通过二甲酰氯单体与芳香型二醚二胺、对苯二胺共聚得到一系列新型的聚芳酰胺液晶聚合物,分子主链结构中含有柔性醚键,降低分子链刚性和分子链间作用力,从而降低了熔融温度,提高加工流动性,可以形成稳定的液晶态,加工成型性好。本发明的聚芳酰胺液晶聚合物是一种向列型的主链型热致性液晶聚合物,具有优异的力学性能和热稳定性,加工性能好,适用于热塑加工,可作为薄膜材料和树脂基复合材料应用于航天航空、精密机械、石油化工、汽车薄壁耐热制件、超薄壁化电气零部件或食品餐具领域。

标签:
复合材料
江苏 - 无锡 来源:中冶有色网 2023-03-18
壳聚糖基分层多孔碳材料的制备方法和在回收镓中的应用

本发明涉及壳聚糖基分层多孔碳材料制备方法及其在回收镓中的应用。采用的技术方案是:所述的壳聚糖基分层多孔碳材料是以绿色的生物质材料壳聚糖作为碳源,选用氢氧化钾作为活化剂,并将水热碳化和化学活化方法巧妙结合,制备出高比表面积的三维分层多孔碳材料。本发明制备方法快速简便,反应条件温和,绿色无污染,制备出的复合材料不仅保留了原料中丰富的碳含量、结构多样性和表面的大量官能团,而且可以解决其作为吸附剂在酸性条件下易溶解而不适用的问题。由于制备出的壳聚糖基分层多孔碳材料具有较高的比表面积,有效提高对稀散金属镓离子的吸附性能,具有实际应用性。

标签:
复合材料
江苏 - 无锡 来源:中冶有色网 2023-03-18
均质吸波方舱舱板及其制备方法

本发明提供了一种均质吸波方舱舱板及其制备方法,该均质吸波方舱舱板,包括:外蒙皮;吸波保温层,位于外蒙皮一侧面;反射层,位于吸波保温层远离外蒙皮一侧面;内蒙皮,位于反射层远离外蒙皮一侧面;其中,外蒙皮、内蒙皮的材料均为石英或玻璃纤维增加树脂基复合材料。本发明的方舱舱板,外蒙皮、内蒙皮采用相同的材料,两者具有相同的热膨胀系数,因而温度变化时外蒙皮、内蒙皮变形量一致,经升温、降温后不会产品形变;解决了现有技术中由于内外蒙皮材质的不一致,内外蒙皮材料的热膨胀系数不一致,导致升温时内外蒙皮材料的变形量不一致,最终会导致方舱壁板在进行环境试验或交付使用数年后表面形成鼓包、开裂,无法正常使用的技术问题。

标签:
复合材料
江苏 - 无锡 来源:中冶有色网 2023-03-18
软磁合金材料及其制备方法和应用

本发明属于磁材料制备领域,公开了一种软磁合金材料及其制备方法和应用,该软磁合金材料的制备方法包括如下步骤:将复合材料熔炼成金属液,再雾化形成球形颗粒,冷却,得到金属类球形粉末;再进行热还原处理,得到FeSiAlPBCu材料;将铁粉表面喷涂氧化物和磷酸溶液,还原,得到合金颗粒;将合金颗粒与硅溶胶、磷酸盐溶液混合,还原,干燥;将干燥后的合金颗粒与FeSiAlPBCu材料混合,压力成型,再进行热处理,即得。本发明制备的软磁合金材料,磁通密度高,颗粒内部和颗粒间涡流小,功耗得到降低,颗粒间通过表面处理得到的高温粘结层,可使材料达到高耐温,即可满足目前器件对高绝缘、高频化、低功耗和高可靠性的需求。

标签:
复合材料
江苏 - 无锡 来源:中冶有色网 2023-03-18
高强度、具有电磁屏蔽性能、导电性单组分硅烷改性聚氨酯密封胶及其制备方法

本发明公开了一种高强度、具有电磁屏蔽性能、导电性单组分硅烷改性聚氨酯密封胶及其制备方法,属于导电密封胶技术领域,本发明的聚氨酯密封胶采用硅烷改性聚氨酯预聚体、自制石墨烯氧化接枝邻苯二甲酸改性聚苯胺复合材料、导电触变剂、导电填充剂、除水剂、粘接促进剂、紫外线吸收剂、抗氧剂、催化剂等材料进行捏合,制备出了高强度、具有电磁屏蔽性能和导电性单组分硅烷改性聚氨酯密封胶;本发明所制备的导电型单组分硅烷改性聚氨酯密封胶既有良好的导电性,又在较宽的电磁波范围内(100kHZ‑40GHZ)具有优良的电磁屏蔽效能。

标签:
复合材料
江苏 - 无锡 来源:中冶有色网 2023-03-18
仿陶瓷尼龙料及其制备方法

本发明具体涉及一种仿陶瓷尼龙料及其制备方法,属于高分子复合材料技术领域。本发明所述的仿陶瓷尼龙料,由如下质量份数的原料制成:透明尼龙树脂50‑98份,纳米金属氧化物1‑30份,玻璃微珠1‑25份,色母0‑5份,抗氧剂0.1‑6份,润滑剂0.1‑5份,偶联剂0.1‑2份。本发明所述的仿陶瓷尼龙料,原料来源广泛,制备的产品耐冲击、易成型、表面具有高光泽度,既具有陶瓷制品的优良特点,又具有塑料高分子易加工的特性,产品的收缩率大大降低,能够用于制作各种仿陶瓷的产品;同时本发明提供了一种简单易行的制备方法。

标签:
复合材料
江苏 - 无锡 来源:中冶有色网 2023-03-18
可见光响应的复合催化水凝胶及其制备方法

本发明属于高分子复合材料领域,公开了一种硫化镉/硫化钼/蒙脱土‑纤维素纳米晶‑聚丙烯酰胺复合光催化水凝胶及其制备方法和应用。研究将光催化剂——硫化镉/硫化钼/蒙脱土固定在水凝胶中,使水凝胶实现具有优异的力学性能和可见光响应的光催化性能,并且实现纳米级光催化剂在废水处理中的循环利用。

标签:
复合材料
江苏 - 无锡 来源:中冶有色网 2023-03-18
磷酸锰铁锂复合物,其制造方法及锂离子电池正极

公开了磷酸锰铁锂复合物,其制造方法及锂离子电池正极,以重量计所述磷酸锰铁锂复合材料包括:a)50‑90%大颗粒磷酸锰铁锂,其一次粒径为80‑500nm,二次粒径为5‑20μm,按所述磷酸锰铁锂材料中过渡金属元素的总摩尔数计,磷酸锰铁锂材料中锰元素的含量为20‑80%;b)10‑50%小颗粒磷酸锰铁锂,其一次粒径为30‑200nm,二次粒径为0.5‑4μm,按所述磷酸锰铁锂材料中过渡金属元素的总摩尔数计,磷酸锰铁锂材料中锰元素的含量为50‑90%;所述大颗粒磷酸锰铁锂的锰含量要低于所述小颗粒磷酸锰铁锂的锰含量。

标签:
复合材料
江苏 - 无锡 来源:中冶有色网 2023-03-18
防隔热材料及其制备方法

本发明公开了一种防隔热材料及其制备方法,属于防热功能复合材料领域。所述材料包括含有空心小球的热熔型酚醛树脂、有机无机纤维混编织物和气凝胶锥套内隔热层。本发明既具备耐烧蚀、抗冲刷等优势,又具备优异的隔热性能,且材料密度低,实现了材料密度和导热系数可根据设计需求可控选择的特点。

标签:
复合材料
江苏 - 无锡 来源:中冶有色网 2023-03-18
用于高温质子交换膜燃料电池的双极板密封结构

高温燃料电池双极板材料受到使用工况条件的限制,选择的范围较窄。现有的PEEK、PPS、PI等原料均为热固性树脂,使用以上的聚合物材料制备的复合材料双极板的强度较差,石墨板易碎。因此,基于此低强度石墨双极板的密封结构受到诸多限制。本发明通过一种支撑结构,实现了低抗弯强度材料石墨双极板的可靠密封。

标签:
复合材料
江苏 - 无锡 来源:中冶有色网 2023-03-18
硅基负极浆料及其制备方法和应用

本发明提供一种硅基负极浆料,所述硅基负极浆料包括硅基活性物质、PEDOT/PSS分散液和粘结剂的组合;所述PEDOT/PSS分散液中的PEDOT/PSS复合材料可以包覆在硅基活性物质的表面形成包覆层,且包覆层具有良好的柔性和优异的导电性;当硅基活性物质发生体积变化时,包覆层不会发生脱落和变形,进而可以保证利用所述硅基负极浆料制备得到的硅基负极极片具有较低的体积电阻率,且采用所述硅基负极极片制备得到的锂离子电池具有较低的DCR以及较高的循环容量保持率,具有重要的研究价值。

标签:
复合材料
江苏 - 无锡 来源:中冶有色网 2023-03-18
基于行星式球磨的液态金属物料的混合工艺

本发明涉及一种基于行星式球磨的液态金属物料的混合工艺,取液态金属与固体物料置于球磨设备中,在球磨介质的剪切作用下进行球磨处理,即完成均匀分散。与现有技术相比,本发明实现了基于行星式球磨的液态金属物料混合工艺使物料与液态金属之间均匀的分散,实现了在指定的温度、压强、气氛环境下液态金属与待混合物料混合的制备过程,并且此方法突破了一般物料无法与液态金属相互润湿的应用限制,具有广泛的适用范围,可用于金属包覆、复合材料制备、结构设计等多种用途。

标签:
复合材料
江苏 - 无锡 来源:中冶有色网 2023-03-18
水汽阻隔复合膜及其制备方法和应用

本发明提供一种水汽阻隔复合膜,属于复合材料技术领域。所述水汽阻隔复合膜包括聚氯代对二甲苯膜和二维纳米材料膜,以及将所述聚氯代对二甲苯膜和二维纳米材料膜粘接的紫外光固化粘合剂层,所述聚氯代对二甲苯膜采用热裂解化学气相沉积法制得,所述二维纳米材料膜为单层或多层石墨烯膜。本发明还提供所述水汽阻隔复合膜的制备方法和应用。本发明水汽阻隔复合膜固化速度快、强度高、韧性好,对水、氧等气体阻隔性能优异,能防止活性金属因潮气渗入而腐蚀,防止电子器件因潮气进入而引发绝缘性能失效,其制备工艺简单,使用方便,可以用在活性金属腐蚀防护、柔性电子器件封装以及智能穿戴领域。

标签:
复合材料
江苏 - 无锡 来源:中冶有色网 2023-03-18
聚四氟乙烯薄膜及制备方法

本发明属于高分子材料加工技术领域,具体公开了一种聚四氟乙烯薄膜,同时还公开了一种聚四氟乙烯薄膜的制备方法。该聚四氟乙烯薄膜采用分子量300~400万的聚四氟乙烯分散树脂为原料制成。聚四氟乙烯分散树脂先与液体润滑剂混料,之后推压挤出、压延、纵向拉伸、横向拉伸,即制得本发明的聚四氟乙烯薄膜。相比现有的聚四氟乙烯薄膜,本发明提供的聚四氟乙烯薄膜耐水压强度和酒精泡点明显提高,纵向和横向的拉伸强度也显著提升。本发明的聚四氟乙烯薄膜可应用于高端医用药物等要求精度高的过滤行业,还可以制成多层复合材料用于密封要求严格的环境。

标签:
复合材料
江苏 - 无锡 来源:中冶有色网 2023-03-18
上一页 494 495 496 497 498 ... 500 ... 573 下一页
共573页    到第

中冶有色为您提供最新的江苏无锡有色金属复合材料技术理论与应用信息,涵盖发明专利、权利要求、说明书、技术领域、背景技术、实用新型内容及具体实施方式等有色技术内容。打造最具专业性的有色金属技术理论与应用平台!

全国热门有色金属设备推荐
展开更多 +
全国热门有色金属技术推荐
展开更多 +

 

江西省隆恩特环保设备有限公司
宣传

报名参会
更多+

报告下载

有色专家
更多+

矿冶科技集团江苏北矿金属循环利用科技有限公司
书记 / 总经理
矿冶科技集团有限公司工程公司
副总经理
赣州有色冶金研究所有限公司
副主任/高级工程师
中国有色金属工业协会
副会长兼秘书长
北京航空航天大学、中国工程院
院士
赤泥综合利用研究报告2025
推广

热门技术
更多+

推荐企业
更多+

福建省金龙稀土股份有限公司
宣传

发布

在线客服

公众号

电话

顶部
咨询电话:
010-88793500-807