青岛垚鑫智能科技有限公司
宣传

位置:北方有色 >

有色技术频道 >

> 复合材料技术

分类:
全部
矿山技术
冶金技术
材料制备及加工技术
环境保护技术
分析检测技术
 
全部
功能材料技术
复合材料技术
新能源材料技术
合金材料技术
加工技术
地区:
全部
北京
天津
上海
重庆
河北
山西
辽宁
吉林
黑龙江
江苏
浙江
安徽
福建
江西
山东
河南
湖北
湖南
广东
海南
四川
贵州
云南
陕西
甘肃
青海
内蒙
广西
西藏
宁夏
新疆
其他
其他
展开
 
全部
南京
无锡
徐州
常州
苏州
南通
连云港
淮安
盐城
扬州
镇江
泰州
宿迁

江苏无锡有色金属复合材料技术理论与应用

免费发布技术信息>>
多孔聚醚醚酮基涂层材料及其制备方法

本发明公开了一种多孔聚醚醚酮基涂层材料及其制备方法,对聚醚醚酮表面进行处理,在聚醚醚酮表面形成多孔结构,采用冷喷涂技术或真空冷喷涂技术,将可降解材料粉末沉积在聚醚醚酮的多孔结构表面上,得到所述的多孔聚醚醚酮基复合材料;其中,可降解材料粉末采用羟基磷灰石、硅酸钙和β‑磷酸三钙中的一种或多种;本发明通过将聚醚醚酮的表面处理为多孔结构,有效提高了涂层与聚醚醚酮基材的接触面积,采用冷喷涂或真空冷喷涂,能够确保可降解材料进入多孔结构的内部,有效增加涂层和聚醚醚酮基材的结合强度;涂层采用可降解材料,可引导或诱导新生骨组织长入多孔结构内部,能够大大增强骨/植入物界面的骨整合性和稳定性。

标签:
复合材料
江苏 - 无锡 来源:北方有色网 2023-03-18
室内装饰用陶瓷复合板及其制备方法

本发明公开了一种室内装饰用陶瓷复合板及其制备方法,涉及复合材料技术领域。本发明制备的室内装饰用陶瓷复合板,由内到外依次为发泡陶瓷板、聚醚层和丁腈橡胶层;丁腈橡胶层是以改性苎麻纤维为填料作为增强体加入到端羧基丁腈橡胶中制备而成;发泡陶瓷板是由陶瓷粉、碳化硅和脂肪醇聚氧乙烯醚烧制而成;聚醚层为脂肪醇聚氧乙烯醚;本发明制备的室内装饰用陶瓷复合板中,改性苎麻纤维分散分散应力,增强陶瓷复合板的抗冲击性,丁腈橡胶在聚醚层固化成型,固化的同时将丁腈橡胶、聚醚层与发泡陶瓷板紧密连接,增强陶瓷复合板的剥离强度和保温隔热性。

标签:
复合材料
江苏 - 无锡 来源:北方有色网 2023-03-18
功能复合纤维新材料的生产工艺

本发明提供一种功能复合纤维新材料的生产工艺,包括以下步骤:S1、制备超高分子量聚乙烯纤维;S2、制备改性超高分子量聚乙烯纤维;S3、将纳米金属氧化物粉体与分散剂一起加入水中,调节pH至8~9,分散均匀后,升温至60~90℃,调节pH至4~6后,加入硅烷偶联剂A,搅拌均匀后,静置分离固体相,将固体相与乙醇在50~80℃下分散均匀,得到纳米金属氧化物粉体乳液;S4、将改性超高分子量聚乙烯纤维加入纳米金属氧化物粉体乳液中,再加入硅烷偶联剂B,超声分散均匀后,过滤,干燥,得到金属氧化物改性超高分子量聚乙烯纤维复合材料。该复合纤维材料具有更高的耐热性能、强度和耐用性。

标签:
复合材料
江苏 - 无锡 来源:北方有色网 2023-03-18
豆荚状纳米管及其制备方法和应用

本发明公开了一种豆荚状纳米管及其制备方法和应用,属于纳米材料技术领域。所述豆荚状纳米管的结构包括竹节状纳米管和封装在纳米管空腔内的功能性纳米粒子;所述竹节状纳米管的材料包括:普通聚合物、普通聚合物/导电高分子复合材料或碳纳米管;所述功能性纳米粒子包括:纳米金属单质、纳米金属氧化物或纳米非金属氧化物。本发明提供的豆荚状纳米管制备方法简单,具有普适性,可通过选择使用不同的前驱体,控制反应条件来封装不同的功能性纳米粒子,制备出具有不同功能的豆荚状纳米管。

标签:
复合材料
江苏 - 无锡 来源:北方有色网 2023-03-18
高光催化性磷掺杂石墨相氮化碳/钨酸铋异质结的制备方法

本发明公开了高光催化性磷掺杂石墨相氮化碳/钨酸铋异质结的制备方法,包括将铋源和磷掺杂g‑C3N4于溶剂中混合均匀,之后加入钨源,水热反应,得到的固体洗涤、干燥,升温至280~400℃保温处理,保温处理完成后,冷却,研磨得到磷掺杂g‑C3N4/Bi2WO6异质结。该异质结具有丰富的多孔结构,可抑制光致载流子的复合,具有极高光催化活性,有利于加速光生复合材料表面的光生电子‑空穴对的分离,具有较高的稳定性和良好的性能。具有比现有Bi2WO6基光催化剂更佳的性能。

标签:
复合材料
江苏 - 无锡 来源:北方有色网 2023-03-18
锂离子电池所用低膨胀硅碳负极材料及其制备方法

本发明公开一种锂离子电池所用低膨胀硅碳负极材料及其制备方法,其复合材料呈现核壳结构,内核为纳米硅,中间层为包覆在内核表面的多孔碳材料,最外层为硼掺杂石墨烯海绵。本发明利用中间层多孔碳形成三维网络碳结构,一方面束缚充放电过程中内核的硅膨胀;另一方面,多孔碳是通过催化剂相连接提升材料导电率及其振实密度;外层的硼掺杂石墨烯,利用其硼掺杂石墨烯提升其材料储锂活性点及其材料的电子导电性并提升其材料的保液性能,提升其功率及其循环性能。

标签:
复合材料
江苏 - 无锡 来源:北方有色网 2023-03-18
负载缓释涂层的3D打印多孔支架及其制备方法和应用

本申请公开了一种负载缓释涂层的3D打印多孔支架及其制备方法和应用,属于生物医学材料技术领域,该支架包括通过3D打印技术成型的多孔支架以及附着在所述多孔支架上的BMP‑2缓释涂层;其中,所述多孔支架的材料为HA/PA66生物复合材料;所述BMP‑2的缓释载体为PVA水凝胶。该制备方法用于制备上述负载缓释涂层的3D打印多孔支架。该负载缓释涂层的3D打印多孔支架可应用于骨缺陷修复材料。本申请的多孔支架能和骨组织形成生物性骨整合,PVA水凝胶在降解过程中逐步释放BMP‑2,以促进成骨,最终在大的缺损腔体内形成以HA/PA为骨架,由新生骨组织包覆且贯穿支架的愈合形态。

标签:
复合材料
江苏 - 无锡 来源:北方有色网 2023-03-18
用于凹版印刷的抗老化石墨烯导电浆料及其制备方法

本发明提供了一种用于凹版印刷的抗老化石墨烯导电浆料,按质量份数计,该石墨烯导电浆料包括:羧基化石墨烯20~30份、壳聚糖30~40份、水溶型丙烯酸改性聚酯树脂15~25份、聚氧乙烯(20)山梨醇酐单月桂酸酯1~5份、十二烷基硫酸钠1~5份,共计100份,余量为水。本申请所述石墨烯浆料中利用羧基化石墨烯/壳聚糖复合材料,在水溶型丙烯酸改性聚酯树脂的协同作用下,可以使得石墨烯浆料保持良好的稳定状态。本申请中采用聚氧乙烯(20)山梨醇酐单月桂酸酯和十二烷基硫酸钠复配作为分散剂,有效降低石墨烯浆料粘度,解决了凹版印刷过程中的沾辊问题。本申请提供的RFID天线及RFID电子标签还具有抗老化、低电阻特性。

标签:
复合材料
江苏 - 无锡 来源:北方有色网 2023-03-18
三维中空WS2/C复合电极材料及其制备方法和应用

本发明公开了一种三维中空WS2/C复合电极材料及其制备方法和应用,利用硬模板法和ZIF‑8衍生碳构建了一种三维中空碳结构,再通过溶剂热法合成三维中空WS2/C复合材料。该方法可制得的WS2/C复合电极材料相纯度较高,无其他杂相存在;WS2/C复合电极材料表现为三维的中空复合结构,且所制备的WS2/C复合电极材料分散性较好,尺寸分布均匀;将WS2/C复合电极材料应用在钠离子电池中,三维中空结构一方面可以有效改善电极在充放电过程中的体积膨胀,另外,三维中空碳层结构和纳米结构可以保证电荷的高速迁移,从而表现出优异的储钠性能。本发明公开的三维中空WS2/C复合电极材料的制备方法,实验操作过程简单,原料成本低,反应温度也易控制,所用时间短,可在短时间内大规模制备。

标签:
复合材料
江苏 - 无锡 来源:北方有色网 2023-03-18
纳米C-TiO2NBS光催化剂的制备方法

本发明属于光催化剂制备领域,涉及一种纳米C‑TiO2NBS光催化剂的制备方法,将1g的TiO2‑P25纳米颗粒和1g NaCl固体颗粒依次加入到30mL的NaOH水溶液中,室温下磁力搅拌溶解得到A液;将A液置于反应釜中,于烘箱中设定时间48h,180℃恒温加热反应得到Na2TiO3纳米带;取出反应釜冷却,保留上清液以外的部分,用去离子水洗涤至中性,抽滤;将产物置于HCl溶液中浸泡6h得到H2TiO3纳米带;将H2TiO3用去离子水洗至中性,通过抽滤得到中性的钛酸纳米带以10℃/min升温,从室温升至600℃,煅烧2h后,冷却至室温,得到二氧化钛纳米带(TiO2NBS);通过一步水热法制备碳掺杂二氧化钛纳米带(C‑TiO2NBS),探究掺入纳米碳含量对C‑TiO2NBS的影响,通过分析其形貌结构和性能,研究C‑TiO2NBS复合材料纳米碳的最佳掺入量。

标签:
复合材料
江苏 - 无锡 来源:北方有色网 2023-03-18
含有机胺废气催化氧化催化剂及其制备方法和应用

本发明涉及含有机胺废气催化氧化催化剂及其制备方法和应用,包括(1)在蜂窝基体上涂覆活性氧化铝涂层,制得载体;(2)在ZSM‑5多级孔分子筛上负载活性组分,干燥、焙烧获得复合材料,打浆制得复合浆液;(3)将步骤(1)载体浸渍于步骤(2)复合浆液中,干燥、焙烧后获得催化剂。本发明制备的催化剂可以选择性将有机胺分解为CO2、H2O和NH3,避免生成氮氧化物,实现净化废气中挥发性有机物的同时回收氨的目的。

标签:
复合材料
江苏 - 无锡 来源:北方有色网 2023-03-18
SiO2@金属-有机纳米片核壳材料、制备工艺及催化性能检测方法

本发明公开了一种SiO2@金属‑有机纳米片核壳材料、制备工艺及催化性能检测方法,采用如下制备方法:(1)、以二氧化硅球为载体,通过3‑氨基丙基硅烷与丁二酸酐在硅球的表面修饰羧酸官能团;(2)、通过原位合成的方法,在制备基于1,3,5‑三(4‑羧基苯基)苯的锆基纳米片的反应液中加入羧酸硅球,通过羧酸的配位作用实现纳米片在硅球上的负载;其中,所制备的复合材料,其质量百分比为:硅球74.9‑89.5%,MOF纳米片材料10.5%‑25.1%。

标签:
复合材料
江苏 - 无锡 来源:北方有色网 2023-03-18
催化剂载体材料及其制备方法和应用

本发明公开了一种催化剂载体材料及其制备方法和应用,所述催化剂载体材料为石油焦基活性炭修饰的氧化硅‑氧化铝复合材料。所述制备方法包括以下内容:将石油焦、铝源和硅源混合,混合均匀后在水蒸气气氛下进行处理,进一步经洗涤、干燥处理后得到载体材料。同时还提供了以上述载体材料为载体的催化剂及所述催化剂在油品加氢中的应用。本发明提供的催化剂载体材料具有大的比表面积和孔容以及适宜的酸性。

标签:
复合材料
江苏 - 无锡 来源:北方有色网 2023-03-18
液态金属无硅热界面材料及其制备方法

本发明公开了一种液态金属无硅热界面材料及其制备方法,该无硅热界面材料包括:液态金属、表面改性剂、无硅基体材料。本发明采用磁力搅拌与离心剪切混合相结合的方法,将表面处理过的液态金属液滴填充入无硅基体材料中,制成液态金属无硅热界面材料。通过调控金属液滴的尺寸和形状,使得复合材料具有高热导率及低热阻,能够有效解决传统硅基热界面材料硅油挥发等易老化问题,大幅提高热界面材料的稳定性与可靠性。

标签:
复合材料
江苏 - 无锡 来源:北方有色网 2023-03-18
防水的PVA/石墨烯抗静电涂层的制备方法

本发明提供了一种制备石墨烯/聚乙烯醇抗静电涂层的方法,属于复合材料制备的技术领域。利用羧甲基纤维素钠(CMC‑Na)在超声过程中提高石墨烯分散性和分散液的粘度,为提高膜的耐水性加入三官能团氮丙啶交联剂使聚乙烯醇发生化学交联。制备过程是首先将聚乙烯醇通过加热溶于水中,然后加入一定比例的三官能团氮丙啶交联剂搅拌反应使其交联,之后加入羧甲基纤维素钠加热溶解,最后加入石墨烯和适量的氢氧化钠溶液后超声处理一定时间后在基底上流延成膜。本方法不需要对石墨烯进行过多的处理,通过调整添加物质的用量,最终得到一系列不同性能的石墨烯抗静电薄膜。该制备过程具有工艺相对简单,生产成本低,用料环保,适用于多种基体等优点。

标签:
复合材料
江苏 - 无锡 来源:北方有色网 2023-03-18
镍基化学链氧化处理尿素废水的方法

本发明公开了一种镍基化学链氧化处理尿素废水的方法,包括以下步骤:将镍基材料氧化至高价态;将处于氧化态的镍基材料置于尿素溶液中,进行尿素的氧化降解。所述镍基材料包括含有镍元素的一元或者多元氢氧化物、氧化物、磷化物、硒化物、氮化物、硫化物、合金材料、金属有机框架材料、钙钛矿以及负载镍元素的复合材料。本申请以镍基材料为媒介氧化尿素,高选择性的生成氮气和CO2,而不会生成NO3‑等二次污染物;且本申请处理尿素废水的方法不涉及微生物电极,也不需要催化酶,受环境因素影响小。

标签:
复合材料
江苏 - 无锡 来源:北方有色网 2023-03-18
风扇叶片平台及其制备方法

本发明涉及一种风扇叶片平台及其制备方法。该风扇叶片平台包括:流道板,流道板用于安装在风扇盘上的两个相邻风扇叶片之间,沿轴向延伸,其具有径向向外的顶面和径向向内的底面,其还具有分别朝向两个相邻风扇叶片的第一侧缘和第二侧缘;支撑壁,支撑壁设置于流道板的底面,在流道板的底面围合形成一个沿轴向延伸的空腔;和包裹层,风扇叶片平台的至少以下位置的表面上覆有包裹层:第一侧缘、第二侧缘、以及从第一侧缘至第二侧缘途径的全部径向向内表面;包裹层的材质为纤维增强的热塑性弹性体复合材料。

标签:
复合材料
江苏 - 无锡 来源:北方有色网 2023-03-18
艾炭三氧化二铁的制备及应用

本发明提供了一种艾炭三氧化二铁的制备及应用,首先利用艾叶制备出艾碳,再将艾碳与FeSO4和FeCl3反应制备出磁性艾碳复合材料γ‑Fe2O3/MC。基于γ‑Fe2O3的光催化降解能力的考虑,本发明研究了γ‑Fe2O3/MC对罗丹明B的光催化降解能力,结果表明,γ‑Fe2O3/MC对罗丹明B具有很好的光催化降解能力,在最佳条件下,30 min即可降解99%的罗丹明B。因此γ‑Fe2O3/MC为污水中染料的去除提供了一种低成本、高性能的光催化降解材料。

标签:
复合材料
江苏 - 无锡 来源:北方有色网 2023-03-18
在温和条件下无损回收废弃含羰基的热固性树脂中增强体的方法

一种在温和条件下无损回收废弃含羰基的热固性树脂中增强体的方法,属于高分子复合材料降解技术领域,具体方案包括以下步骤:步骤一、将废弃含羰基的热固性树脂与碱性溶液混合并加热,得到液相产物和凝胶态的固相产物;步骤二、通过调控凝胶态的固相产物在不同溶剂中的溶胀,使其具有粘性,干燥后采用物理分离的方式去除增强体表面的树脂得到增强体的前驱体;步骤三、采用高级氧化技术对增强体的前驱体进一步降解,回收得到增强体,本发明反应溶剂绿色,降解温度温和,减少了能源的消耗;降解过程快速高效,树脂移除率高达100%,能够实现碳纤维的无损回收,使高附加值碳纤维资源得到了循环利用,有着十分重要的工业化前景。

标签:
复合材料
江苏 - 无锡 来源:北方有色网 2023-03-18
硅基MEMS单元结合线圈阵列的柔性多模式触觉传感器

本发明公开了一种硅基MEMS单元结合线圈阵列的柔性多模式触觉传感器,包括底板、弹性体、硅基MEMES压力传感器单元、磁体、磁感应线圈阵列;弹性体、硅基MEMES压力传感器单元与磁感应线圈阵列设置于底板;磁体设置于弹性体中。使用硅基MEMS测压单元,无导电复合材料的电阻蠕变和电容式测压单元寄生电容的影响,精度高、稳定性良好;磁感应线圈阵列通过电磁感应产生电信号检测切向力的方向和大小,精度高,响应快,适合于动态力测量和滑动状态的检测。

标签:
复合材料
江苏 - 无锡 来源:北方有色网 2023-03-18
TPU复合生产线
TPU复合生产线 1109     
 0

本发明涉及一种TPU复合生产线,包括:基材供给机组,包括放卷机与位于放卷机下游的基材储料架;第一TPU膜供给机组,包括第一TPU挤出机与位于111第一TPU挤出机下游的第一TPU成膜模具;第一覆层机组,包括第一压合组件与位于第一压合组件下游的第一冷却设备;第二TPU流延膜供给机组,包括第二TPU挤出机与位于第二TPU挤出机下游的第二TPU成膜模具;第二覆层机组,包括第二压合组件与位于第二压合组件下游的第二冷却设备;收卷机组,收卷机组包括位于第一覆层机组下游的第一自动收卷装置与位于第二覆层机组下游的第二自动收卷装置;其中,第一覆层机组通过一过度牵引装置与第二覆层机组连接,第一覆层机组能够向第一自动收卷装置以及向第二覆层机组传送单面TPU复合材料。

标签:
复合材料
江苏 - 无锡 来源:北方有色网 2023-03-18
用于航空发动机风扇的叶盘结构及其制造方法

本公开提供了一种用于航空发动机风扇的叶盘结构及其制造方法,其叶盘结构包括:多个叶片和轮毂;轮毂与多个所述叶片相连;叶片根部设有榫根,且叶片的榫根嵌设于轮毂上;多个所述叶片在所述轮毂外圈均匀分布。本公开能够将树脂基复合材料应用于发动机整体叶盘结构上,既能够实现整体叶盘的有效减重,又能够提升叶片的抗冲击强度,对提高航空发动的推重比与技战术指标有重要意义。

标签:
复合材料
江苏 - 无锡 来源:北方有色网 2023-03-18
新型可移动热压成型机

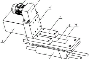
本发明公开了一种新型可移动热压成型机,其特征在于,包括机架(1),在机架(1)上开关(2),在开关(2)上设置下压板(3),上压板(4)通过压轴(5)连接机架(1),在机架(1)顶部设置气缸(6),在机架(1)底部设置轮子(7),本发明的有益效果是:本发明设计合理,结构简单。该新型可移动热压成型机在工作时,将达到预期效果,大多压轴都需要有耐高温要求配置,而此发明从材料上达到了要求,压轴采用加强复合材料,使其加固提高使用安全性。

标签:
复合材料
江苏 - 无锡 来源:北方有色网 2023-03-18
防咬多孔复合电缆保护管

本发明提供了一种防咬多孔复合电缆保护管,包括包裹在波纹管外周形成的圆管状或方管状保护管;所述波纹管的数量为一根或多根,用于形成单孔或多孔管路;所述保护管的内层由方格铁丝网缠绕形成金属铠装,外层由玻璃纤维复合材料缠绕形成玻璃纤维铠装。通过本发明能够有效防止波纹管在使用中被鼠咬、被动物破坏。采用该防咬多孔复合电缆保护管,可以多管路一起施工,省时省工。

标签:
复合材料
江苏 - 无锡 来源:北方有色网 2023-03-18
用于熔凝技术具有功能层的增强相强化的复合粉末及其制备方法和应用

用于熔凝技术具有功能层的增强相强化的复合粉末及其制备方法和应用,本发明属于复合材料领域,它要解决现有纳米粒子混粉的方式容易发生团聚,使其形核效应降低的问题。本发明所述的具有功能层的增强相强化复合粉末是由96wt.%~98wt.%金属基粉末为基体粉,4wt.%~2wt.%具有功能层的石墨烯材料作为掺杂相组成。所述的具有功能层的增强相的制备方法:将非金属纳米粒子加入到含有镍盐的混合溶液中,得到反应溶液,将氯化钯处理后的增强相加入到反应溶液中进行反应。本发明在合金粉中通过增强相的介质作用引入纳米颗粒,非金属纳米颗粒与合金粉具有较好的相容性,能均匀分散在合金粉中。

标签:
复合材料
江苏 - 无锡 来源:北方有色网 2023-03-18
纤维增强塑料片材机专用的加压预浸渍模头

本发明涉及一种纤维增强塑料片材机专用的加压预浸渍模头,包括模头主体,所述模头本体的中部设有一纵向贯通设置的至少一组纤维通道,纤维通道内部输送纤维纱;模头本体包括相互连通的进料口和出料口,所述出料口位于纤维通道外侧并分别向纤维纱两侧铺设熔融状态的热塑性基料;本发明结构设计合理,在热塑性基料挤出的同时即可铺设在纤维纱两侧表面,设备整体生产工作效率高,能胜任大批量高效率的生产任务,复合材料片材及其制品的总体制备成本较低,纤维纱与热塑性基料分布均匀,结合效果好,适用于厚度较大的纤维纱。

标签:
复合材料
江苏 - 无锡 来源:北方有色网 2023-03-18
钢丝绳
钢丝绳 615     
 0

本发明涉及钢丝绳,尤其涉及一种钢丝绳。本发明的有益效果是:在钢丝绳中填入碳纤维复合材料股后,大幅度提高了钢丝绳的破断拉力,并且不增加钢丝绳的自重,能够满足大吨位特殊吊装环境;在钢丝绳捻制生产过程中加入适量的热融性填充材料,使得钢丝绳在后续深加工中,可融材料与橡胶类、聚酯类覆盖层发生化学反应,有效的融为一体,提升钢丝绳与外覆盖材料的粘合力。同时这种钢丝绳的残余应力低,拉出20米测试回转<2转,在制作PU带或同步电缆随行带时保持带子的直线性、无扭转性。

标签:
复合材料
江苏 - 无锡 来源:北方有色网 2023-03-18
低密度阻燃聚合物制品、制备方法及其用途

本发明提供一种低密度阻燃聚合物制品、制备方法及其用途。本发明的低密度阻燃聚合物制品,包括以下组成:聚合物基体,1‑99重量份;气凝胶复合材料,1‑99重量份;其中,所述低密度聚合物制品的表观密度为0.05~0.95g/cm3,UL94阻燃等级为不低于V1,氧指数>27。本发明采用了特定的气凝胶复合多孔材料,最终产物达到UL94阻燃不低于V1级别,并且有良好的机械性能,因此将广泛地应用于诸如汽车部件及内饰材料、包装材料、建筑保温、生活用品或航空航天、国防装备等均需符合行业阻燃标准的领域中。

标签:
复合材料
江苏 - 无锡 来源:北方有色网 2023-03-18
双模板法合成介孔有机硅空心球及其吸附应用

本发明涉及一种双模板法合成介孔有机硅空心球及其吸附应用,属于有机‑无机复合材料应用领域。以纳米碳酸钙和烷基三甲基铵盐类阳离子表面活性剂为双模板,正硅酸四乙酯和有机硅源为混合硅源在碱性条件下共水解缩聚,通过调节两种硅源的比例,实现对介孔有机硅空心球墙壁孔径,吸水性能和结构参数的调控。经过酸性条件下回流去除纳米碳酸钙和烷基三甲基铵盐类阳离子表面活性剂模板后得到介孔有机硅空心球,具有介孔墙壁,较大的比表面积和孔容,优异的疏水性,用于VOCs吸附,吸量大且性能稳定。

标签:
复合材料
江苏 - 无锡 来源:北方有色网 2023-03-18
具备自润滑特性的聚晶金刚石复合片及其制备方法

本发明一种具备自润滑特性的聚晶金刚石复合片及其制备方法,提出了一种具备自润滑特性的聚晶金刚石复合片及其制备方法,主要由硬质合金层,普通金刚石微粉层以及混料金刚石微粉层三个组成部分自下而上阶梯平铺后经过预压制备坯体,而后经过高温高压烧结形成复合结构。所述聚晶金刚石复合片在保证其自身强度的前提下,通过在粉体中添加MAX润滑相,使得聚晶金刚石复合片获得自润滑特性。所述聚晶金刚石复合片克服了聚晶金刚石复合材料在真空下润滑剂选择受限的困难,使得聚晶金刚石复合片在真空条件下的使用更加高效,延长了其在真空环境下的服役寿命。

标签:
复合材料
江苏 - 无锡 来源:北方有色网 2023-03-18
上一页 492 493 494 495 496 ... 500 ... 573 下一页
共573页    到第

北方有色为您提供最新的江苏无锡有色金属复合材料技术理论与应用信息,涵盖发明专利、权利要求、说明书、技术领域、背景技术、实用新型内容及具体实施方式等有色技术内容。打造最具专业性的有色金属技术理论与应用平台!

全国热门有色金属设备推荐
展开更多 +
全国热门有色金属技术推荐
展开更多 +

 

江西省隆恩特环保设备有限公司
宣传

报名参会
更多+

报告下载

有色专家
更多+

矿冶科技集团有限公司
中国工程院院士
中国矿业大学
副院长/教授
中铝检测科技(郑州)有限公司/国家轻金属质量检验检测中心
正高级工程师
中南大学
教授
长沙有色冶金设计研究院有限公司
党委书记、董事长
赤泥综合利用研究报告2025
推广

热门技术
更多+

推荐企业
更多+

福建省金龙稀土股份有限公司
宣传

发布

在线客服

公众号

电话

顶部
咨询电话:
010-88793500-807