青岛垚鑫智能科技有限公司
宣传

位置:中冶有色 >

有色技术频道 >

> 复合材料技术

分类:
全部
矿山技术
冶金技术
材料制备及加工技术
环境保护技术
分析检测技术
 
全部
功能材料技术
复合材料技术
新能源材料技术
合金材料技术
加工技术
地区:
全部
北京
天津
上海
重庆
河北
山西
辽宁
吉林
黑龙江
江苏
浙江
安徽
福建
江西
山东
河南
湖北
湖南
广东
海南
四川
贵州
云南
陕西
甘肃
青海
内蒙
广西
西藏
宁夏
新疆
其他
其他
展开
 
全部
南京
无锡
徐州
常州
苏州
南通
连云港
淮安
盐城
扬州
镇江
泰州
宿迁

江苏有色金属复合材料技术理论与应用

免费发布技术信息>>
基于石墨烯的汽车轮胎胎面胶的制备方法

本发明公开了一种基于石墨烯的汽车轮胎胎面胶的制备方法,包括以下步骤:1)氧化石墨烯的制备,2)石墨烯的制备,3)石墨烯/丁苯橡胶复合材料的制备,4)胎面胶的制备,所述胎面胶包括以下组分:丁苯橡胶、顺丁橡胶、炭黑、石墨烯、环烷油、氧化锌、硬脂酸、防老剂、硫磺、促进剂;所述胎面胶的制备方法如下:按上述配方将胶料放入密炼机中进行混炼加工,得到混炼胶,将制备的混炼胶置于辊筒挤出压出机中进行压延后,通过后口型板压出,得到半成品胎面。本发明所制备的胎面胶与传统胎面胶相比,具有更优异的性能,表现出高耐磨、低滚动阻力的特点,延长了使用寿命,符合绿色轮胎的要求。

标签:
复合材料
江苏 - 无锡 来源:中冶有色网 2023-03-18
新型可移动点焊机
新型可移动点焊机 824     
 0

本发明公开了一种新型可移动点焊机,其特征在于,包括机架,在机架底部设置底座,在机架上设置下工作台,在下工作台上设置下支撑架,在下支撑架上设置下焊枪,在下工作台上设置上工作台,在上工作台上设置上支撑架,在上支撑架上设置上焊枪,在机架顶部设置汽缸,汽缸连接转换器,在机架底部设置轮子,本发明的有益效果是:本发明设计合理,结构简单。该新型可移动点焊机在工作时,将达到预期效果,大多支撑架都需要有耐高温要求配置,而此发明从材料上达到了要求,支撑架采用加强复合材料,使其加固提高使用安全性。

标签:
复合材料
江苏 - 无锡 来源:中冶有色网 2023-03-18
陶瓷微珠复合防爆板制品及其制备方法

本发明公开了一种陶瓷微珠复合防爆板制品及其制备方法,由两层钢板上下包裹陶瓷微珠复合水泥层制成。所述陶瓷微珠复合水泥层由水泥、矿物掺合料、陶瓷微珠、减水剂、钢纤维和水组成。本发明通过陶瓷微珠替代天然骨料,设计双面钢板夹层结构,制备一种高强的水泥基复合材料制品,通过水泥与钢板的复合避免钢板直接被打穿,起到缓冲作用,同时陶瓷微珠能够有效提高混凝土的力学性能和抗冲击性能,还能有效提抑制混凝土的收缩,制备方法简单,性能优异。

标签:
复合材料
江苏 - 无锡 来源:中冶有色网 2023-03-18
全无机钙钛矿复合TiO<sub>2</sub>纳米线及其制备方法

本发明提供了一种全无机钙钛矿复合TiO2纳米线及其制备方法,属于纳米复合新材料技术领域。具体制备方法的步骤为:通过水热法制备钛酸盐纳米线;对所制备的钛酸盐纳米线进行离子交换和晶化处理,得到TiO2纳米线;对所制备的TiO2纳米线进行全无机钙钛矿的复合,制备得到一种全无机钙钛矿复合的TiO2纳米线。该复合材料充分发挥了TiO2一维纳米结构的优势,明显拓宽吸收太阳光的波长范围,有效抑制光生载流子的复合,显著提高其光(电)催化活性。

标签:
复合材料
江苏 - 无锡 来源:中冶有色网 2023-03-18
半月型3D打印PLGA/羟基磷灰石腰部椎间融合器的制备方法及产品和应用

本发明涉及一种半月形3D打印的PLGA/羟基磷灰石腰部椎间融合器的制备方法及产品和应用,包含PLGA/羟基磷灰石复合材料的制备、融合器模型的准备和应用3D plotter生物打印机熔融沉积制备腰椎间融合器。本发明所述腰部椎间融合器植入方便、加快术后器件与腰椎的融合,不易滑出植入部位且生物相容性高。本发明所述腰部椎间融合器植入方便、加快术后器件与腰椎的融合,不易滑出植入部位且生物相容性高。

标签:
复合材料
江苏 - 无锡 来源:中冶有色网 2023-03-18
高摩擦力三层复合产品

本发明涉及一种高摩擦力三层复合产品。该产品首先通过湿法成网工艺将浆粕纤维层和纺粘布层复合,然后再将磨擦层复合在纺粘布层,形成一款具有高擦拭性能的复合材料,磨擦层擦拭效果强,浆粕纤维层具有吸水吸油特性,能够有效的将油渍、脏污的去除。该产品在擦拭领域具有较好的应用前景。

标签:
复合材料
江苏 - 无锡 来源:中冶有色网 2023-03-18
抗电磁干扰防断裂数据线

本发明提供了一种抗电磁干扰防断裂数据线,属于数据线技术领域。本发明中,碳纳米管是一种良好的电磁屏蔽材料,具有优越的物理化学和机械性能,其优秀的电磁学性能使其添加在复合材料中时可以使材料表现出良好的电磁屏蔽性能;芳纶纤维具有高的强度和韧性,碳纳米管/芳纶纤维导电纸兼具高强度,高韧性和屏蔽功效,是理想的数据线包覆层材料。实施例的数据表明,本发明制得的抗电磁干扰防断裂数据线在175~1600MHz频段,电磁屏蔽效能达到39~46dB,可承受5000~10000次弯折实验而不发生明显裂纹。

标签:
复合材料
江苏 - 无锡 来源:中冶有色网 2023-03-18
智能自调温材料及其制备方法

本发明公开了一种智能自调温材料及其制备方法,其中含有硬脂酸酯与玻璃轻石,硬脂酸负载于玻璃轻石孔隙内,所述硬脂酸酯为硬脂酸甲酯、硬脂酸乙酯,硬脂酸酯为硬脂酸甲酯:硬脂酸乙酯质量比为1:1。本发明的这种相变储能复合保温材料具有相变潜热大,相变过程形态稳定,经在建筑物外墙附加本发明的保温材料后,可有效地控温调温,在一个采集周期内相变储能复合材料发生相变循环,采用相变材料的房间,其白天最高温度要比普通房间低3‑5℃(在室温最高温度时相差5℃),夜间最低温度比普通房间高1℃左右,具有很好的应用前景。

标签:
复合材料
江苏 - 无锡 来源:中冶有色网 2023-03-18
透气砖用微孔陶瓷棒的制备方法

本发明涉及一种透气砖用微孔陶瓷棒的制备方法。其方案是:以刚玉为主要原料,水合氧化铝为结合剂,水性蜡乳液为微孔形成剂,锆英石微粉为增韧剂,经振动浇注成型、低温养护、脱模、干燥、高温烧成,制成体内均布大量微气孔和氧化锆的陶瓷棒。本发明的优点在于:高温烧成后,微孔陶瓷棒的材质变为氧化锆增韧刚玉莫来石复合材料,具有较高的强度和韧性,对透气砖本体具有增强补韧作用;微孔陶瓷棒中的气孔孔径为纳米级,既可透气,又可防止钢水和钢渣的渗入;微孔陶瓷棒中均布大量的微气孔,用于透气砖可喷出大量小气泡,吸附并携带非金属夹杂上浮的能力较强,特别适合冶炼高洁净钢。

标签:
复合材料
江苏 - 无锡 来源:中冶有色网 2023-03-18
增强结构型SMC的玻纤浸润剂及其在生产无捻粗纱中的应用

本发明公开了一种增强结构型SMC的玻纤浸润剂及其在生产无捻粗纱中的应用。所述浸润剂包含如下组分:偶联剂、成膜剂、润滑剂、pH值调节剂和水,所述的偶联剂为硅烷偶联剂,所述的成膜剂为非交联型双酚A型聚酯乳液、交联型不饱和聚酯乳液、中高分子量双酚A型环氧乳液的混合物。本发明提供了该浸润剂在生产增强结构型SMC片材用无捻玻璃纤维粗纱中的应用,使用该浸润剂生产的无捻玻璃纤维粗纱具有毛羽少、浸穿速度快、短切性好、生产顺畅性好、与增强的树脂相容性好的优点,能大幅提高玻璃纤维增强复合材料制品的机械强度,适用于SMC成型工艺。

标签:
复合材料
江苏 - 无锡 来源:中冶有色网 2023-03-18
复合型导电塑料的制备方法

本发明涉及一种复合型导电塑料的制备方法,属于复合材料技术领域。本发明中多壁碳纳米管是由几个到几十个单壁同轴卷曲构成,采用溅射成膜技术对碳纳米管的表面进行修饰,制取的膜层平整,膜层和基体的附着力强,且膜层的纯度较高,可控性和重复性好;本发明将镀镍碳纳米管浸泡在碳黑悬浮液中,通过静电吸附制得碳黑‑镀镍碳纳米管导电填料,制备的复合型导电塑料中碳黑的填充量较少,且导电性能好,力学性能也有显著提高;碳黑表面通常带负电性,阴离子型聚合物乳液也很容易获得,将碳纳米管经过阳离子表面活性剂吸附改性,并通过复配非离子表面活性剂调节表面正电性强弱,既能充分分散碳纳米管,又能满足电性要求。

标签:
复合材料
江苏 - 无锡 来源:中冶有色网 2023-03-18
用于制作教玩具的改性复合板

一种用于制作教玩具的改性复合板,属于复合材料技术领域。包括表面的防潮层、改性板层、合金层、编织层,所述改性板层由均聚PP、PE以及助剂组成,所述合金层由铝粉、镁粉、铜粉、铁粉、镍粉搅拌均匀后压制、烧结而成,所述编织层由PP材质经纬编织而成;该复合板表面涂覆有防水剂、阻燃剂。本发明的复合板材,采用多层结构,该板材不仅具备抗刮能力,而且改性板层还具有较高的抗冲击能力,能大幅提升板材的物理特性,增强板材的通用性。

标签:
复合材料
江苏 - 无锡 来源:中冶有色网 2023-03-18
双层复合管材及其制备方法

本发明公开一种双层复合管材,包括内层和外层,内层与所述外层之间设有粘合层:内层为由质量百分比为43%~45%的超高分子质量聚乙烯和30%~32%和低密度聚乙烯制成;外层由改性纳米碳酸钙2%‑15%、HDPE62%‑70%、纳米碳酸钙20%‑28%以及润滑剂0.5%‑6%制成;粘合层由涂覆的粘合剂而成,该粘合剂由下列成分组成,生胶、丁苯橡胶、硅溶胶、耐火泥、沥青、松香、二氧化硅、氧化锌、水、二乙烯三胺;该发明的有益效果:本发明具有较好的耐紫外线和核辐射性、柔韧性及优良的耐磨、耐久性,该粘合剂混溶性好,常温自干,无毒无味,附着力强,加入改性纳米碳酸钙以及纳米碳酸钙使得复合材料具有更好的力学性能,相比HDPE双壁波纹管,具有更好的韧性,更好的硬度低以及更强的耐环境应力开裂性。

标签:
复合材料
江苏 - 无锡 来源:中冶有色网 2023-03-18
固体电池阳极制造方法及应用

本发明公开了一种固体电池阳极制造方法及应用。本发明的制造方法不需要加入任何导电剂和粘合剂,通过两步水热法直接将具有核‑壳结构的前驱体纳米片复合材料生长在泡沫镍表面上,形成有序的核‑壳纳米片列阵,随后通过煅烧得到钼酸钴@二氧化锰纳米片列阵/泡沫镍复合电极。将该方法得到的核‑壳结构钼酸钴@二氧化锰纳米片列阵/泡沫镍复合电极作为超级电容器工作电极,电化学性能优异,在大电流密度条件下仍能具有较高的比电容量和循环稳定性。

标签:
复合材料
江苏 - 无锡 来源:中冶有色网 2023-03-18
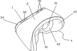
VR一体机
VR一体机 915     
 0

本发明公开一种VR一体机,包括主机复合材料外壳,单根可调节松紧弹性头带,外壳盖,透镜框架,透气海绵面罩,其特征在于:所述透镜框架包括主机、感光器安装腔和透镜支架,所述透镜支架的末端设置凸透镜,所述透镜支架伸入主机外壳的内腔里,所述主机的一侧连接主机外壳的开口、另一侧以外壳盖封闭;所述主机里设置电路板支架,所述电路板支架在靠近透镜支架的一侧设置显示屏幕、在靠近外壳盖的一侧左右布置有电路板、电池;所述主机外壳、外壳盖的外表面设置装饰贴布。本发明通过布艺材料结构替代塑料结构,精简现有VR一体机结构支架,相对VR盒子和其他VR一体机,不但提高了显示屏幕清晰度,减少了眩晕,又增加了节能功能,还减轻了佩戴负重,大大提升了用户使用舒适度,解决了现有VR设备的许多不足,使VR一体机的使用体验更加良好。

标签:
复合材料
江苏 - 无锡 来源:中冶有色网 2023-03-18
液相混合轧制包覆制备泡沫铝夹芯板的方法

本发明属于层状复合材料制备领域,公开了一种液相混合轧制包覆制备泡沫铝夹芯板的方法的制备方法。具体步骤如下:首先,将铝合金熔化并保温;其次,将得到的铝合金熔体温度降温到一定值后,向其中加入稳定剂和发泡剂并搅拌均匀后,以一定的急冷速率急冷一段时间,得到可发泡预制坯;而后,将可发泡预制坯嵌入铝套后进行轧制,得到夹有预制坯的可发泡夹芯结构;最后,将上述可发泡夹芯结构放入红外线发泡炉内进行快速发泡,即可制得具有冶金结合界面的铝/铝复合的泡沫铝夹芯板,极大地提高了泡沫铝材料的力学性能,拓宽泡沫铝材料的应用范围。

标签:
复合材料
江苏 - 无锡 来源:中冶有色网 2023-03-18
稀土掺杂改性四氧化三锰及其制备方法和应用

本发明属于稀土改性复合材料技术领域,尤其涉及一种稀土掺杂改性四氧化三锰及其制备方法和应用,具体为用于超级电容器材料的稀土掺杂改性四氧化三锰。所述的稀土掺杂改性四氧化三锰,化学式为Mn(3‑x)LnxO4,0﹤x﹤2,其中Ln为镧、铈、镨、钕、钷、钐、铕、钆、铽、镝、钬、铒、铥、镱、镥中的一种;本发明有效地解决了现阶段四氧化三锰生产成本高、工艺复杂、产量低等一系列不易控制的实际问题;采用该方法制备得到的稀土掺杂改性四氧化三锰电化学性能优越,能够用于作为超级电容器材料,并能有效的实现工业化生产。

标签:
复合材料
江苏 - 无锡 来源:中冶有色网 2023-03-18
空气净化器用多功能复合滤网材料及制备方法

本发明公开了一种空气净化器用多功能复合滤网材料及制备方法,所述多功能复合滤网材料由以下重量分数的组分组成:质量分数为5‑10%的N‑芳香基‑2‑(苯并异噻唑啉‑3‑酮‑2‑基)甲酰胺有机抗菌剂,质量分数为10‑15%的Ag‑MOFs复合材料,质量分数为25‑30%的铽掺杂介孔TiO2纳米光催化剂,质量分数为50%的活性炭纤维组成。本发明所述的复合滤网材料对大肠杆菌的抑菌率可达98%,对甲醛的去除率高达99%。

标签:
复合材料
江苏 - 无锡 来源:中冶有色网 2023-03-18
新型可控风干机
新型可控风干机 1000     
 0

本发明公开了一种新型可控风干机,其特征在于,包括机体(1),在机体(1)上设置控制器(2),在机体(1)另一侧设置电动机(3),在机体(1)顶部设置导轨(5),在导轨(5)两侧设置滚轴(4),在导轨(5)上设置过滤层(6),在机体(1)底部设置轮子(7),在轮子(7)上设置减震孔(8),在轮子(7)旁设置刹车(9),本发明的有益效果是:本发明设计合理,结构简单。该新型可控风干机在工作时,将达到预期效果,大多滚轴都需要有耐高温要求配置,而此发明从材料上达到了要求,滚轴采用加强复合材料,使其加固提高使用安全性。

标签:
复合材料
江苏 - 无锡 来源:中冶有色网 2023-03-18
座椅背板及其制作方法
座椅背板及其制作方法 1131     
 0

本发明提供一种座椅背板,包括如下组分:1‑80重量份的椰棕纤维;1‑60重量份的阻燃纤维;1‑60重量份的增强纤维。椰棕纤维具有很好的不续燃性,阻燃纤维在低温条件下具有很好的阻燃性,在高温情况下能熔融粘合椰棕纤维和增强纤维;增强纤维在复合中起到增强复合材料强度的作用,使得最后制得的材料强度更高、质量更轻。采用复合纤维材料制作的座椅背板能够做成网状结构,既减轻了质量,同时又能确保强度和刚度,低质量的座椅背板易于移动。

标签:
复合材料
江苏 - 无锡 来源:中冶有色网 2023-03-18
锂硫电池正极材料和使用该正极材料的锂硫电池

本发明公开了一种锂硫电池正极材料和使用该正极材料的锂硫电池。本发明采用原位掺杂法将铁和氮共同引入,同时采用硬模板法来制备铁氮异原子双掺杂的多孔碳材料。本发明所述方法为:制备前驱体、催化剂、硬模板的前期聚合物;将前期聚合物煅烧得到固体;固体经过刻蚀、清洗、干燥得到本发明所述的碳材料。将制备的碳材料与硫粉混合均匀,氩气氛围下加热形成碳硫复合材料并应用于锂硫电池。所得碳材料氮、铁含量较高,比表面积和产率均较高,制备步骤简单易操作。应用于锂硫电池中电化学性能较好,与不含铁碳材料相比性能提高明显,铁催化剂的加入能很好地固定硫以及抑制多硫化物穿梭,加快反应动力学,从而提高了锂硫电池的循环稳定性。

标签:
复合材料
江苏 - 无锡 来源:中冶有色网 2023-03-18
二硫化钼/膨胀石墨析氢电极的制备方法

本发明提供一种二硫化钼/膨胀石墨析氢电极的制备方法,首先采用氧化插层法制得可膨胀石墨,再经高温膨化得到膨胀石墨,其次对其进行压片处理,然后采用水热合成法在其表面负载二硫化钼,最后制得二硫化钼/膨胀石墨析氢电极,通过调节二硫化钼在膨胀石墨基体材料上的生长量来制得一系列电化学析氢材料,本发明每平方厘米的膨胀石墨基体压片对应的钼酸铵的加入量范围为0.071毫摩尔~0.284毫摩尔。本发明制作工艺简单、成本低廉,且应用本发明制备的复合材料电极可以提高二硫化钼的催化析氢效率,能够有效解决二硫化钼导电性差的问题。

标签:
复合材料
江苏 - 无锡 来源:中冶有色网 2023-03-18
用于3D打印的含硼钛基复合粉末及其制备方法

本发明公开了一种用于3D打印的含硼钛基复合粉末,按照质量百分比由以下原料组成:二硼化钛0.5~2wt.%,海绵钛98~99.5wt.%,以上各组分的质量百分比之和为100%。本发明还公开了上述含硼钛基复合粉末的制备方法,通过快速凝固的方法将硼元素加入钛粉中,可大幅度提高合金元素硼在Ti中的固溶度,使部分硼元素过饱和固溶到钛基体中;本发明制备的含硼钛基复合粉末,其增强相TiB的晶粒尺寸可以通过温度或能量密度从纳米级到微米级的精确控制,从而可制备不同尺寸增强相的钛基复合材料,满足不同力学性能的需求。

标签:
复合材料
江苏 - 无锡 来源:中冶有色网 2023-03-18
隔离材料及其制备方法和应用

本发明属于复合材料技术领域,具体涉及一种隔离材料及其制备方法和应用。本发明提供了一种隔离材料,以质量份数计,包括组分:隔离剂60~80份;混合纤维6~15份;乳胶14~20份;絮凝剂0.02~0.1份;消泡剂0.01~0.1份。本发明通过各组分的共同作用,将隔离材料设计为纸基材料,将隔离剂均匀分布于隔离材料中,满足了隔离剂的均匀分布,同时从根本上避免了隔离剂以粉尘的形态造成二次污染。实验结果表明,本发明提供的隔离材料中隔离剂含量可达80wt.%,隔离剂含量高;直接铺张于不锈钢之间时分布均匀且无“爆皮”现象,具有良好的隔离效果。

标签:
复合材料
江苏 - 无锡 来源:中冶有色网 2023-03-18
碳包覆硅和氧化锌复合电极材料的制备方法

本发明的一种碳包覆硅和氧化锌复合电极材料的制备方法属于锂离子电池负极材料的技术领域,主要步骤包括将CTAB、NaOH和EDA的乙醇溶液在搅拌下依次滴入Zn(AC)2·2H2O的乙醇溶液中形成淡黄色沉淀、加入SiO和多孔碳继续搅拌30min并加热8h、将沉淀物用氨水蚀刻洗涤至中性并干燥得到固体粉末、将粉末退火研磨。本发明制备的新型复合材料具有良好的电化学性能,用其制作的锂离子电池负极,具有良好的循环稳定性和较高的容量。

标签:
复合材料
江苏 - 无锡 来源:中冶有色网 2023-03-18
包含抗菌层聚氨酯复合膜及其应用

本发明属于医学多层薄膜材料领域,尤其属于包裹在植入体内医疗器械外起到保护隔离作用的复合材料。提供一种包含抗菌层聚氨酯复合膜及其应用,以其制成袋子、封套、护套等产品,包覆在植入医疗器械装置外,防止植入器械的污染与腐蚀,减少因植入器械不稳定而给患者带来的风险和痛苦。同时防止植入设备与人体组织直接接触,减少对人体刺激,抑制细菌生长,降低感染发生几率。

标签:
复合材料
江苏 - 无锡 来源:中冶有色网 2023-03-18
着弹后防漏油油箱及其制备方法

本发明涉及车用特种油箱领域,具体涉及一种全新结构的着弹后防漏油油箱,油箱的迎弹面和背弹面均为双壁结构,迎弹面由外往内分别为油箱箱体外金属板‑金属格栅和开孔软泡沫‑纤维增强树脂板‑弹性体层‑油箱内金属板;背弹面油箱结构由内到外依此为油箱内金属板‑纤维增强树脂板‑弹性体材料‑隔离层‑油箱外金属板,通过纤维增强树脂复合材料抑制弹穿对金属背面的撕裂,避免弹穿后油箱箱体金属撕裂造成的弹性体无法自收缩,通过弹性体层弹穿后可自收缩特性,封闭弹孔;通过支撑金属板及开孔泡沫储存微量渗漏的燃料,实现油箱着弹后不漏。本发明相对于油箱加挂防弹材料相比,具有明显的减重效果。

标签:
复合材料
江苏 - 无锡 来源:中冶有色网 2023-03-18
陶瓷用修复材料及制备方法

本发明公开了一种陶瓷用修复材料,包括A组分和B组分,其中,A组分和B组分的重量比为40:3‑5;A组分的原料按重量份包括:环氧树脂70‑90份,呋喃树脂15‑25份,复合填料15‑25份,多苯基多亚甲基多异氰酸酯1‑5份,防老剂2‑4份,分散剂2‑4份,稀释剂20‑40份;B组分的原料按重量份包括:2‑乙基‑4‑甲基咪唑6‑9份,对甲苯磺酸1‑2份,稀释剂10‑15份。本发明还公开了所述陶瓷用修复材料的制备方法。本发明通过各物质相互配合使得本发明具有良好的粘结性、耐水性,并且固化后收缩率低,从增加粘结性、降低收缩率两个方面相互作用,避免复合材料容易从陶瓷上脱落。

标签:
复合材料
江苏 - 无锡 来源:中冶有色网 2023-03-18
氮化铝/金刚石聚晶材料的制备方法

本发明属于金刚石复合材料制备加工技术领域,涉及了一种新型氮化铝/金刚石聚晶材料的制备方法。制备方法为将氮化铝粉末、烧结助剂和导电金属粉充分混合,与金刚石/钴复合层分别进行冷压成形,再采用高温高压烧结法制备新型氮化铝/金刚石聚晶材料。制备出的氮化铝/金刚石聚晶材料结合牢固,厚度可控,磨削效率高,耐热性能好,氮化铝基体导热性能远高于传统金刚石聚晶复合片所使用的硬质合金基体,可广泛应用在汽车、航空航天、能源等领域,解决材料的高速精密加工需求。

标签:
复合材料
江苏 - 无锡 来源:中冶有色网 2023-03-18
用于锂-硫电池的碳包覆硫化锂复合电极及其制备方法

本发明提供了一种用于锂‑硫电池的碳包覆硫化锂复合电极及其制备方法,该制备方法包括如下步骤:首先在微米或纳米级的硫酸锂颗粒表面包覆一层聚合物,制备出核壳结构的硫酸锂@聚合物复合材料;然后将其与导电剂和粘结剂混合调浆,涂覆在三维多孔导电基体上,得到硫酸锂@聚合物复合电极;最后对硫酸锂@聚合物复合电极进行热处理,直接制备出碳包覆硫化锂复合电极。本发明的制备方法一步直接实现硫化锂纳米粒子的合成及其可控碳包覆以及碳包覆硫化锂复合电极的制备,从而有效抑制多硫化锂的溶解和穿梭效应,提高硫化锂电极的导电性和稳定性。

标签:
复合材料
江苏 - 无锡 来源:中冶有色网 2023-03-18
上一页 486 487 488 489 490 ... 500 ... 1207 下一页
共1207页    到第

中冶有色为您提供最新的江苏有色金属复合材料技术理论与应用信息,涵盖发明专利、权利要求、说明书、技术领域、背景技术、实用新型内容及具体实施方式等有色技术内容。打造最具专业性的有色金属技术理论与应用平台!

全国热门有色金属设备推荐
展开更多 +
全国热门有色金属技术推荐
展开更多 +

 

江西省隆恩特环保设备有限公司
宣传

报名参会
更多+

报告下载

有色专家
更多+

广东省科学院资源利用与稀土开发研究所
教授
矿冶科技集团
副所长/研究员
赣州江钨钨合金有限公司
工程师
中南大学
院长/教授
西安建筑科技大学
院长/教授
赤泥综合利用研究报告2025
推广

热门技术
更多+

推荐企业
更多+

福建省金龙稀土股份有限公司
宣传

发布

在线客服

公众号

电话

顶部
咨询电话:
010-88793500-807