青岛垚鑫智能科技有限公司
宣传

位置:中冶有色 >

有色技术频道 >

分类:
全部
矿山技术
冶金技术
材料制备及加工技术
环境保护技术
分析检测技术
 
全部
功能材料技术
复合材料技术
新能源材料技术
合金材料技术
加工技术
地区:
全部
北京
天津
上海
重庆
河北
山西
辽宁
吉林
黑龙江
江苏
浙江
安徽
福建
江西
山东
河南
湖北
湖南
广东
海南
四川
贵州
云南
陕西
甘肃
青海
内蒙
广西
西藏
宁夏
新疆
其他
其他
展开
 
全部
济南
青岛
淄博
枣庄
东营
烟台
潍坊
济宁
泰安
威海
日照
滨州
德州
聊城
临沂
菏泽

山东济宁有色金属材料制备及加工技术理论与应用

免费发布技术信息>>
碳/四氧化三铁复合材料的制备方法和应用

本发明提供了一种碳/四氧化三铁复合材料的制备方法,包括以下步骤,将铁源和液相碳源混合后,得到混合物,再在密闭的条件下,对混合物进行热处理后,得到碳/四氧化三铁复合材料。本发明将铁源和碳源,在密封的条件下,进行热解和碳化,从而得到了复合产物,而且本发明制备复合材料采用一步法,复合材料中的碳材料大部分为碳球,其导电性极好,同时大部分氧化物颗粒恰好依附在碳球上,在高倍的电流倍率通过材料时,碳球可以迅速将电子传输到活性氧化物颗粒上。由此电子使用率有极大提高,从而提高了复合材料的导电性和高倍率放电性能。此外,复合产物中的碳材料具有稳定的四氧化三铁颗粒的作用,因此,复合材料的放电比容量具有上升的趋势。

标签:
复合材料
山东 - 济宁 来源:中冶有色网 2023-03-18
MSN-AuNCs纳米复合材料及其制备方法和应用

本发明纳米新材料技术领域,具体涉及一种MSN‑AuNCs纳米复合材料及其制备方法和应用,是以MSNs为载体,在MSNs表面及介孔内通过静电作用负载有AuNCs,相比于AuNCs,所制备的MSN‑AuNCs纳米复合材料有5倍增强的荧光强度,确有聚集诱导发光(AIE)效果。本发明制备方法为:首先制备氨基化的MSNs;然后制备AuNCs水溶液;最后配制氨基化的MSNs的水溶液并投入到所制备的AuNCs水溶液中,室温震荡,即得MSN‑AuNCs纳米复合材料,制备方法简单可行,易于合成,成本低。本发明所制备的MSN‑AuNCs纳米复合材料作为生物传感器应用于肝素(Hep)灵敏检测,简单、灵敏,检测限低,随着Hep浓度的增加,MSN‑AuNCs系统的荧光强度逐渐降低,Hep浓度与荧光差值△F具有线性关系。

标签:
复合材料
山东 - 济宁 来源:中冶有色网 2023-03-18
CdS@GR-CoOOH纳米复合材料的制备方法、光电化学生物传感器及其应用

本发明属于纳米新材料技术领域,涉及一种CdS@GR‑CoOOH纳米复合材料的制备方法、光电化学生物传感器及其应用,本发明成功合成了CdS@GR‑CoOOH纳米复合材料,设计了用于监测ALP活性的简单PEC生物分析平台;本发明在GR(石墨烯)纳米膜表面上沉积CdS量子点和CoOOH纳米片,合成的CdS@GR‑CoOOH纳米复合材料具有强光电性,本发明同时提供一种光电化学生物传感器,即在工作电极上修饰有所制得的CdS@GR‑CoOOH纳米复合材料,光电化学生物传感器应用于碱性磷酸酶(ALP)的检测,实现了ALP的快速检测,检测稳定性好,检测限低。

标签:
复合材料
山东 - 济宁 来源:中冶有色网 2023-03-18
耐蚀玻璃纤维复合材料
耐蚀玻璃纤维复合材料 1081     
 0

本实用新型涉及玻璃纤维复合材料技术领域,且公开了一种耐蚀玻璃纤维复合材料,包括蜂窝板层,所述蜂窝板层的上表面粘接有第一隔音层,所述第一隔音层的上表面粘接有第一玻璃纤维层。该一种耐蚀玻璃纤维复合材料,通过在将玻璃纤维复合板的中心板层设置为蜂窝板层,可在提高其板层硬度同时,也减轻了玻璃纤维复合板的重量,其蜂窝板层的蜂窝孔配合其第一隔音层和第二隔音层,可进一步提高复合板的隔音效果,其第一阻燃层和第二阻燃层的设置可提高了玻璃纤维复合材料的阻燃性,使其使用安全性得到进一步提高,同时其第一耐腐蚀层和第二耐腐蚀层的设置提高了玻璃纤维复合材料的耐腐蚀性,使玻璃纤维复合材料的使用范围更加的广泛,使用寿命更长。

标签:
复合材料
山东 - 济宁 来源:中冶有色网 2023-03-18
石墨烯复合材料加热烘干装置

本实用新型属于石墨烯复合材料加工设备技术领域,尤其为一种石墨烯复合材料加热烘干装置,包括罐体、气体处理箱,所述罐体的外壁固定连接有固定架,所述罐体设有烘干箱和风干箱,且所述烘干箱的下表面外壁和所述风干箱上端固定连接,所述烘干箱的上表面外壁设有进料管,所述烘干箱的上表面外壁固定连接有电机箱A,所述电机箱A的内部设有电机A;本装置通过设置烘干箱和风干箱,烘干箱内的环形加热管和搅拌轴共同作用使得石墨烯复合材料进行充分烘干,对烘干产生的水蒸汽进行干燥处理,在装置内部形成风循环,使得石墨烯复合材料在风干箱内进行二次风干,确保石墨烯复合材料的干燥效果的同时,降低石墨烯复合材料的干燥工作成本,节能高效。

标签:
复合材料
山东 - 济宁 来源:中冶有色网 2023-03-18
采用RhB@MOF-5复合材料测定小鼠脑脊液中AA含量的方法

本发明属于金属‑有机框架复合材料技术领域,具体涉及一种采用RhB@MOF‑5复合材料测定小鼠脑脊液中AA含量的方法。所述方法是向RhB@MOF‑5复合材料水溶液中加入Fe3+,形成RhB@MOF‑5/Fe3+复合材料水溶液,利用Fe3+与RhB@MOF‑5之间的内率效应和光致电子转移作用,会猝灭RhB@MOF‑5复合材料的荧光;而加入AA后,AA会将Fe3+还原为Fe2+,从而使RhB@MOF‑5复合材料的荧光恢复,通过对其荧光光谱变化进行测定。采用本发明方法测定小鼠脑脊液中AA含量具有高选择性、高灵敏性的特点。

标签:
复合材料
山东 - 济宁 来源:中冶有色网 2023-03-18
铜有机框架-氧化硅多孔复合材料及其制备方法和应用

本发明公开了一种铜金属有机框架‑氧化硅复合材料的制备方法,包括:1)将水、乙醇和N,N‑二甲基甲酰胺以一定比例混合制备混合溶剂,然后将适量无机铜盐和均苯三甲酸(H3BTC)溶于上述混合溶剂中,再加入一定量正硅酸乙酯(TEOS)搅拌形成均匀溶液;2)将适量阳离子表面活性剂与和羟基羧酸溶解于乙醇/水混合溶剂中,得到有机溶液;3)将步骤1)得到的均匀溶液与步骤2)得到的有机溶液混合,搅拌均匀后置于100‑140℃环境中反应完全;4)冷却后经纯化处理,即得CuMOF‑氧化硅复合材料。有效的将MOF材料多金属活性中心与氧化硅多孔结构优势相结合,提高复合材料对污水中染料分子的吸附能力。

标签:
复合材料
山东 - 济宁 来源:中冶有色网 2023-03-18
采用MOF@PVP@PVDF复合材料测定亚硝酸盐含量的方法

本发明属于金属有机骨架材料技术领域,具体涉及一种采用MOF@PVP@PVDF复合材料测定亚硝酸盐含量的方法。所述方法包括以下步骤:1)制备MOF@PVP@PVDF复合材料;2)绘制工作曲线;3)检测。在硫酸的作用下,MOF@PVP@PVDF中的氨基与NO2反应,发生重氮化反应,导致MOF的荧光猝灭,而复合材料中的PVP增强了MOF在水中的稳定性,PVDF增强了材料在水中的溶解性,通过对其荧光光谱变化进行测定。采用本发明方法测定NO2含量具有快速响应、高选择性和高灵敏度的特点。

标签:
复合材料
山东 - 济宁 来源:中冶有色网 2023-03-18
负载有Cu<Sub>2</Sub>O-CuO纳米线阵列的复合材料及其制备方法和生物传感器及其应用

本发明属于纳米新材料领域,具体涉及一种负载有Cu2O‑CuO纳米线阵列的复合材料及其制备方法和生物传感器及其应用,本发明以泡沫铜为基底,通过室温溶剂热法制得Cu(OH)2纳米线阵列,然后通过精确控制时间和温度在空气中退火,进而制得三维的负载有Cu2O‑CuO纳米线阵列的复合材料,制备方法简单易操作,复合材料在光照下,CuO会消耗Cu2O导带上的电子,降低了光生电子‑空穴复合率,Cu2O‑CuO纳米线阵列作为一种三维电极,其具有较大的表面积,高活性位点密度,低串联电阻,有利于产生光电信号,所制得复合材料的生物传感器,用于对酪氨酸酶的检测。

标签:
复合材料
山东 - 济宁 来源:中冶有色网 2023-03-18
复合材料床板的制备方法

本发明涉及一种复合材料床板的制备方法,包括以下步骤,步骤一,将预浸料从冷库中取出在室温下解冻,将芯材表面打粗,将解冻的预浸料和打粗的芯材按照床板的尺寸进行裁剪;步骤二,将裁剪后的预浸料和芯材按照预设的层铺方案在钢板模具上进行层铺,形成预制件;步骤三,在预制件的表面依次铺放脱模系统和真空系统;步骤四,在真空系统中,通过脱模系统让环氧树脂浸润整个预制件,并对预制件进行模压固化,形成复合材料床板;步骤五,依次脱去真空系统和脱模系统,并将复合材料床板从钢板模具中取出,即得到复合材料床板。本发明一种复合材料床板的制备方法操作简单、成型周期短、生产成本低。

标签:
复合材料
山东 - 济宁 来源:中冶有色网 2023-03-18
纹路表面复合材料制品模具制作方法

本发明属于复合材料制品模具制作技术领域,是基于手糊成型工艺技术,纹路表面复合材料制品制作。本发明涉及硅胶模具制作技术和手糊成型玻璃钢模具制作技术,适用于部分具有纹路表面的复合材料制品成型所需模具的制作方法,解决了金属模具不宜加工的纹路表面模具难题,打破了常规复合材料制品的模具制作方法。本发明的优点是在其他产品的纹路表面上,通过反复成型,从而制得带有纹路的复合材料制品模具。本发明采用的工艺成型方法易操作、辅材消耗低、成本低、产品性能高。

标签:
复合材料
山东 - 济宁 来源:中冶有色网 2023-03-18
反应挤出法改性聚烯烃-木质素复合材料及制备方法

本发明公开一种反应挤出法改性聚烯烃‑木质素复合材料及其制备方法,该复合材料的组成以质量份数计为:聚烯烃100份,木质素40‑100份,引发剂0.01‑5份,反应单体0.01‑15份,润滑剂3‑10份,抗氧化剂0.1‑1份。该复合材料的制备方法包括:首先按照复合材料的组成进行配料,将上述组成按比例均匀混合,然后将共混物置于反应设备中反应,从而制得聚烯烃‑木质素复合材料。与现有技术相比,本发明可以有效增强聚烯烃‑木质素复合材料的相容性,赋予材料良好的性能,并且降低成本。

标签:
复合材料
山东 - 济宁 来源:中冶有色网 2023-03-18
高性能胎面橡胶复合材料及其制备方法、应用

本发明属于轮胎用胎面橡胶复合材料技术领域,涉及一种高性能胎面橡胶复合材料及其制备方法、应用。制备方法如下:(1)主要原材料包括:混合胶90~100份、炭黑45~55份、六方氮化硼纳米片0~5份、防老体系1~4份、氧化锌3~5份、硫磺1~2份、促进剂0.5~1.5份、增塑剂2~3.5份。(2)制备橡胶复合材料的母炼胶。(3)制备橡胶复合材料的终练胶。(4)橡胶复合材料的硫化。本发明的有益效果:本发明使用一次法将包含大比表面积的六方氮化硼纳米片以及其它原材料进行混炼、硫化,制得了一种高性能胎面橡胶复合材料。该胎面橡胶复合材料同时具备高强度、高定伸、高断裂伸长率、低滚阻、高导热等性能特点,且制备工艺简单、制备方法高效,在实际生产中具有良好的推广意义。

标签:
复合材料
山东 - 济宁 来源:中冶有色网 2023-03-18
石墨烯/环氧树脂阻燃复合材料的制备方法

本发明一种石墨烯/环氧树脂阻燃复合材料的制备方法,属于复合材料制备技术领域,包括以下步骤:先制备氧化石墨烯,将氧化石墨烯的水性分散液与环氧树脂复合,通过机械搅拌去除水,得到氧化石墨烯/环氧树脂复合材料,再向氧化石墨烯/环氧树脂复合材料中加入还原金属粉和盐酸,得到石墨烯/环氧树脂阻燃复合材料。本发明先用氧化石墨烯与环氧树脂复合,再用还原铁粉进行还原,提高了石墨烯在环氧树脂中的分散性,同时在复合材料中引入了具有催化成碳的金属化合物,增强了石墨烯/环氧树脂的阻燃性能;制备过程中使用了水作为氧化石墨烯的分散液,并没使用有毒有害的溶剂,环保且毒副作用小。

标签:
复合材料
山东 - 济宁 来源:中冶有色网 2023-03-18
Pt/Fe3O4-CeO2复合材料及其制备方法和应用

本发明提供一种Pt/Fe3O4-CeO2复合材料,Pt纳米粒子沉积在包覆Fe3O4的CeO2纳米颗粒表面。该复合材料的制备方法包括如下步骤:将纳米CeO2分散到水中,浓度为0.10~0.15mol/L,超声震荡,依次向溶液中加入浓盐酸、可溶性Fe3+盐和Fe2+盐,得混合体系,其中,浓盐酸的质量为CeO2水溶液质量的2%,Fe3+盐和Fe2+盐的摩尔比为2∶1,Fe3+盐在体系中的浓度为0.8~1.0mol/L;向上述混合体系中加入氨水溶液,继续搅拌20~40分钟,获得Fe3O4-CeO2纳米复合材料;将所述Fe3O4-CeO2纳米复合材料配制成质量浓度为2.0mg/mL~2.5mg/mL的分散液,并与H2PtCl4水溶液混合,再加入NaBH4水溶液,即获得所述Pt/Fe3O4-CeO2纳米复合材料。本发明还提供上述Pt/Fe3O4-CeO2纳米复合材料在电活性物质检测中的应用。

标签:
复合材料
山东 - 济宁 来源:中冶有色网 2023-03-18
硫化钼-氧化钛纳米复合材料的制备及其应用

本发明公开了一种硫化钼‑氧化钛纳米复合材料的制备及其应用,属于纳米新材料技术领域,在MoS2纳米片的极性表面上选择性地沉积TiO2纳米棒,合成一种光电化学MoS2‑TiO2复合材料,并将其作为光电化学生物传感器应用到胰蛋白酶的灵敏检测。本发明形成MoS2‑TiO2纳米复合材料,使体系的光催化活性超过了单组分系统,提高了纳米材料的光电特性,本发明所制备的新型的用于快速检测胰蛋白酶的光电化学生物传感器,对胰蛋白酶的检测稳定性好,检测限低,检测下限为8.16ng/mL。

标签:
复合材料
山东 - 济宁 来源:中冶有色网 2023-03-18
ZnO-CdS复合材料及其制备方法和应用

本发明属于纳米新材料技术领域,具体涉及一种ZnO?CdS复合材料及其制备方法和应用。所述的复合材料是将CdS纳米颗粒沉积在ZnO纳米颗粒表面。其制法是将Zn(NO3)2·6H2O的去离子水溶液与NH4F去离子水溶液混合后,向其中滴加NaOH去离子水溶液,滴加至溶液半透明,离心,获得白色沉淀,洗涤,干燥,得到ZnO纳米颗粒;将ZnO纳米颗粒加入到溶解有Cd(NO3)2·4H2O和硫脲的去离子水溶液中,形成悬浮液,沉积,离心,获得ZnO?CdS产物。本发明的复合材料对罗丹明B和亚甲基蓝的光降解能力优异。

标签:
复合材料
山东 - 济宁 来源:中冶有色网 2023-03-18
杨木纤维制备高性能木塑复合材料

一种杨木纤维制备高性能木塑复合材料,包括如下重量份数的物质:PVC树脂粉30‑50份;聚磷酸铵包覆杨木纤维粉15‑30份;活性碳酸钙20‑30份;增塑调节剂5‑10份;环保稳定剂4‑8份;加工助剂1‑4份;发泡剂1‑3份;润滑剂1‑3份。本本发明利用聚磷酸铵包覆杨木纤维,不仅有效提高了木塑复合材料的阻燃性能,而且有利于消除杨木纤维与PVC材料之间的不相容问题,有效提高了木塑复合材料的力学强度;本发明采用杨木纤维,并利用一定长度分布的杨木纤维和超细粒径的杨木粉作为吸附负载聚磷酸铵材料的基底和木塑复合材料的增强相,不仅提高了基底对聚磷酸铵的有效吸附负载量,保证了木塑复合材料的力学强度,同时提高了木塑复合材料的阻燃性能。

标签:
复合材料
山东 - 济宁 来源:中冶有色网 2023-03-18
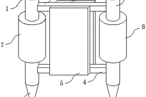
玻纤复合材料制品
玻纤复合材料制品 787     
 0

本实用新型涉及复合材料技术领域,且公开了一种玻纤复合材料制品,包括放置机构、固定机构,所述固定机构连接于放置机构内部,所述放置机构内部连接有玻纤复合材料制品,所述固定机构包括连接板、六角螺栓,所述连接板连接于六角螺栓的左端,所述连接板内部连接有推块,所述连接板内部连接有伸缩杆。该玻纤复合材料制品,通过握住玻纤复合材料制品的前端,推动玻纤复合材料制品进行移动,玻纤复合材料制品的底端表面与滚筒进行连接,玻纤复合材料制品推入框架内部,将玻纤复合材料制品进行收纳,这时,在玻纤复合材料制品之间放入连接板,将玻纤复合材料制品之间进行固定,在运输的时候停止不同,保护玻纤复合材料制品的安全。

标签:
复合材料
山东 - 济宁 来源:中冶有色网 2023-03-18
玻璃纤维及玻璃纤维复合材料

本实用新型涉及玻璃纤维复合材料技术领域,且公开了一种玻璃纤维及玻璃纤维复合材料,包括保护壳,所述保护壳内部活动安装有玻璃纤维复合材料本体,所述玻璃纤维复合材料本体内部中心位置设置有阻燃材料,所述阻燃材料外表面设置有导管,所述保护壳顶部活动安装有活动板。本实用新型通过耐水层、透气层和耐腐蚀层均匀分布于阻燃材料内壁四周,且耐水层、透气层和耐腐蚀层相连通,有效保证在热量从玻璃纤维复合材料本体穿透到阻燃材料内,通过设置的耐水层、透气层和耐腐蚀层可及时将热量从玻璃纤维复合材料本体内部散发出去,保障玻璃纤维复合材料本体的透气性,减少对玻璃纤维复合材料本体自身的伤害。

标签:
复合材料
山东 - 济宁 来源:中冶有色网 2023-03-18
反应挤出法改性聚乳酸-木质素复合材料及制备方法

本发明公开一种反应挤出法改性聚乳酸‑木质素复合材料及其制备方法,该复合材料的组成以质量份数计为:聚乳酸100份,木质素40‑100份,引发剂0.01‑5份,反应单体0.01‑15份,抗氧化剂0.1‑1份。该复合材料的制备方法包括:首先按照复合材料的组成进行配料,将上述组成按比例均匀混合,然后将共混物置于反应设备中反应,从而制得聚乳酸‑木质素复合材料。与现有技术相比,本发明可以有效增强聚乳酸‑木质素复合材料的相容性,赋予材料良好的性能,并且降低成本。

标签:
复合材料
山东 - 济宁 来源:中冶有色网 2023-03-18
SiO2/GQDs–DNA–Au NPs纳米复合材料及其制备方法和应用

本发明属于纳米新材料领域,具体涉及一种SiO2/GQDs–DNA–Au?NPs纳米复合材料及其制备方法和应用。所述SiO2/GQDs–DNA–Au?NPs纳米复合材料中GQDs偶联在氨基化SiO2纳米球表面,并利用DNA两端的-NH2和-COOH使SiO2/GQDs和Au?NPs–DNA连接起来形成SiO2/GQDs–DNA–Au?NPs纳米复合材料。其中,GQDs具有稳定的光学性质,发光强度高,并且均匀分布在SiO2纳米球表面,提高了GQDs的化学生物修饰效率;SiO2球表面氨基化之后,将GQDs偶联在SiO2球表面,GQDs发光性能保持不变,SiO2/GQDs具有良好的生物相容性、合成简便、绿色无污染、表面易于修饰、发光稳定且容易分离,更有利于实际应用;并且SiO2/GQDs作为能量供体,DNA修饰的Au?NPs作为能量受体,使SiO2/GQDs–DNA–Au?NPs纳米复合材料可应用于生物体系。

标签:
复合材料
山东 - 济宁 来源:中冶有色网 2023-03-18
土木工程用复合材料桩

本实用新型公开了一种土木工程用复合材料桩,涉及土木工程技术领域,具体为一种土木工程用复合材料桩,包括第一复合材料桩、第二复合材料桩、第一固定柱、第二固定柱、第一加强板、第二加强板、第一缓冲保护转筒和第二缓冲保护转筒,所述第一加强板和第二加强板之间设置有若干缓冲构件,所述第一复合材料桩的外表面套接有第一缓冲保护转筒,所述第二复合材料桩的外表面套接有第二缓冲保护转筒。该土木工程用复合材料桩,通过加强板的设置,能够加固复合材料桩的稳定性,通过缓冲构件的设置,能够起到缓冲作用,进一步保证复合材料桩的稳定性,通过缓冲保护转筒的设置,能够起到分散冲击力的作用,提高复合材料桩的抗撞击性能。

标签:
复合材料
山东 - 济宁 来源:中冶有色网 2023-03-18
荧光碳点CDs溶液、CDs-MnO2复合材料及其制备方法和应用

本发明属于纳米新材料领域,具体涉及一种荧光碳点CDs溶液、CDs?MnO2复合材料及其制备方法和应用。所述荧光碳点CDs溶液的制备方法,包括如下步骤:(1)将胖大海芯研磨至粉末,超声搅拌使其均匀分散到超纯水中;(2)将分散好的混合溶液移至反应釜中,在100℃~130℃温度下反应1~2小时,所得溶液经离心分离除去大颗粒;(3)用透析袋将上清液置于二次水中透析除去大分子糖和其他物质,其间频繁换水;(4)经滤膜过滤得荧光碳点CDs溶液。荧光碳点CDs具有良好的生物相容性和稳定的光学性质,以及合成简便、绿色无污染、发光强度高且容易分离等特点。

标签:
复合材料
山东 - 济宁 来源:中冶有色网 2023-03-18
氨基化介孔二氧化硅‑葡萄糖‑二氧化锰纳米复合材料及其制备方法和应用

本发明属于纳米材料技术领域,具体涉及一种氨基化介孔二氧化硅‑葡萄糖‑二氧化锰纳米复合材料及其制备方法和应用。所述的纳米复合材料是二氧化锰纳米片包覆在含有葡萄糖的氨基化介孔SiO2纳米球表面,其中,所述氨基化介孔SiO2纳米球的粒径为40~60nm,孔径为2~3nm。其制备方法是制备氨基化介孔SiO2、MnO2纳米片,再将氨基化介孔SiO2分散到葡萄糖水溶液中,最后将MnO2纳米片连接到氨基化的MSN的表面上。本发明采用PGM进行检测,实现了氨基化介孔SiO2‑葡萄糖‑MnO2纳米复合材料定量检测样品中GSH的含量,检测线低,灵敏度高。

标签:
复合材料
山东 - 济宁 来源:中冶有色网 2023-03-18
采用N-P-4-HN@UiO-66-NH<Sub>2</Sub>复合材料测定HCHO含量的方法

本发明属于金属‑有机框架传感器领域,具体涉及一种采用N‑P‑4‑HN@UiO‑66‑NH2复合材料测定HCHO含量的方法。所述方法包括以下步骤:1)制备N‑P‑4‑HN材料;2)制备N‑P‑4‑HN@UiO‑66‑NH2复合材料;3)绘制工作曲线;4)检测。本发明采用的原理如下:N‑P‑4‑HN与HCHO相连接时,HCHO禁止N‑P‑4‑HN分子内能量转移,进而增强N‑P‑4‑HN的在553nm处的荧光,通过内率效应减弱在430nm处的荧光,UiO‑66‑NH2吸附N‑P‑4‑HN使荧光变化更加明显,通过其荧光光谱变化进行测定。本发明的测定方法,具有选择性高、灵敏度高的特点。

标签:
复合材料
山东 - 济宁 来源:中冶有色网 2023-03-18
新型电磁屏蔽复合材料及其制备方法

一种新型电磁屏蔽复合材料,包括有金属层、热固性树脂和碳纤维编织布,金属层为金属泡沫层、金属网层中的一种或两种复合的结构;热固性树脂粘度范围在0.1‑0.5Pa•s,热固性树脂均匀混合有纳米导电填料,构成一树脂混合溶液,纳米导电填料占树脂混合溶液的重量比为1‑10%;金属层的外表面通过树脂混合溶液设置有碳纤维编织布,金属层、碳纤维编织布均在树脂混合溶液中充分浸润、渗透。本发明所述的一种新型电磁屏蔽复合材料,其重量轻,结合强度高,耐腐蚀性能较强,使用范围广泛,屏蔽稳定性好,屏蔽波段范围宽。

标签:
复合材料
山东 - 济宁 来源:中冶有色网 2023-03-18
ZnO-Au@CdS光电复合材料及其制备方法和应用

本发明属于纳米新材料领域,具体涉及一种ZnO?Au@CdS光电复合材料及其制备方法和应用。一种ZnO?Au@CdS光电复合材料,以银耳状ZnO晶体作为基底,其表面沉积以Au纳米颗粒为核的具有核壳结构的Au@CdS颗粒,并将其用于制备葡萄糖生物传感器。本发明在ZnO晶体的极性表面上选择性地沉积Au纳米粒子和CdS纳米颗粒,合成一种新型的光电化学复合材料ZnO?Au@CdS来提高光电特性,开辟了基于半导体的生物蚀刻电子设备新路径。

标签:
复合材料
山东 - 济宁 来源:中冶有色网 2023-03-18
采用BA-Eu-MOF复合材料测定Hg<Sup>2+</Sup>和CH<Sub>3</Sub>Hg<Sup>+</Sup>含量的方法

本发明属于镧系金属有机框架复合材料技术领域,具体涉及一种采用BA‑Eu‑MOF复合材料测定Hg2+和CH3Hg+含量的方法。所述方法包括以下步骤:1)制备BA‑Eu‑MOF复合材料;2)绘制工作曲线;3)检测。本发明采用的原理如下:Hg2+或CH3Hg+与BA‑Eu‑MOF上的硼酸基团发生“转移金属化”反应,敏化了“天线”效应,从而使BA‑Eu‑MOF荧光增强,通过其荧光光谱变化进行测定。本发明的测定方法,具有快速响应、高选择性和高灵敏度的特点。

标签:
复合材料
山东 - 济宁 来源:中冶有色网 2023-03-18
石墨烯/石墨粉复合材料的制备方法、复合材料及应用

本发明涉及石墨烯/石墨粉复合材料的制备方法、复合材料及应用,以石墨烯氧化物分散液和石墨粉为原料,石墨烯氧化物表面带有羟基、羧基等官能团,在水等溶剂中具有良好的分散性,也能改善其与石墨粉的界面融合性。通过高速搅拌使两者相互混合,超声分散均匀,经喷雾干燥、预膨胀和高温处理过程,氧化石墨烯还原为石墨烯,获得石墨烯/石墨粉复合材料。采用这种复合材料作为导热填料,通过结构控制使复合材料在基体中形成有取向的三维阵列,制备各向异性的高导热率复合材料。高填充量石墨烯复合材料之间充分搭接,减少了界面热阻,其导热性能超过一些常见的合金,在导热应用领域具有巨大潜力。

标签:
复合材料
山东 - 济宁 来源:中冶有色网 2023-03-18
上一页 28 29 30 31 下一页
共31页    到第

中冶有色为您提供最新的山东济宁有色金属材料制备及加工技术理论与应用信息,涵盖发明专利、权利要求、说明书、技术领域、背景技术、实用新型内容及具体实施方式等有色技术内容。打造最具专业性的有色金属技术理论与应用平台!

全国热门有色金属设备推荐
展开更多 +
全国热门有色金属技术推荐
展开更多 +

 

江西省隆恩特环保设备有限公司
宣传

报名参会
更多+

报告下载

有色专家
更多+

中南大学
中国工程院院士
广东省科学院资源利用与稀土开发研究所
教授
洛阳有色矿业集团有限公司
生产技术部经理
中南大学
院长/教授
北京科技大学
副院长/教授
赤泥综合利用研究报告2025
推广

热门技术
更多+

推荐企业
更多+

福建省金龙稀土股份有限公司
宣传

发布

在线客服

公众号

电话

顶部
咨询电话:
010-88793500-807