青岛垚鑫智能科技有限公司
宣传

位置:中冶有色 >

有色技术频道 >

> 复合材料技术

分类:
全部
矿山技术
冶金技术
材料制备及加工技术
环境保护技术
分析检测技术
 
全部
功能材料技术
复合材料技术
新能源材料技术
合金材料技术
加工技术
地区:
全部
北京
天津
上海
重庆
河北
山西
辽宁
吉林
黑龙江
江苏
浙江
安徽
福建
江西
山东
河南
湖北
湖南
广东
海南
四川
贵州
云南
陕西
甘肃
青海
内蒙
广西
西藏
宁夏
新疆
其他
其他
展开
 
全部
上海

上海有色金属复合材料技术理论与应用

免费发布技术信息>>
具有低挥发性有机物含量的聚丙烯复合材料及其制备方法

本发明公开了一种具有低挥发性有机物含量的聚丙烯复合材料及其制备方法,按以下重量百分比的原料配制成:聚丙烯50~98;无机填料0~30;增韧剂POE 0~15;VOC吸附剂0.5~2;抗氧剂0.1~1;光稳定剂0.1~1;其他助剂0~2。本发明的优点是:1、本发明使用适量降挥发表面活性剂在复合材料体系中,使得所制得的聚丙烯复合材料具有更低的挥发性有机物。2、本发明所制得的聚丙烯复合材料在降低挥发性有机物的同时,材料的各项物理力学性能基本不受影响。3、本发明提出的降低聚丙烯复合材料的挥发性有机物含量的方法制备工艺简单、生产成本低。

标签:
复合材料
上海 - 上海 来源:中冶有色网 2023-03-18
用磁性纳米复合材料提取DNA的方法及试剂盒

本发明涉及一种用磁性纳米复合材料提取DNA的方法及试剂盒。所述的方法包括步骤:(a)将磁性纳米复合材料与含DNA的液态样品接触,形成液态混合物,其中所述的磁性纳米复合材料具有超顺磁性内核、中间二氧化硅包覆层和外壳,其直径为50-300nm;(b)用磁场将吸附了DNA的磁性纳米复合材料与液态混合物分开,从而得到吸附有DNA的磁性纳米复合材料。本发明方法可简便有效地从各种样品中抽提出DNA。

标签:
复合材料
上海 - 上海 来源:中冶有色网 2023-03-18
基于各向异性复合材料的信息存储方法

本发明提供一种基于各向异性复合材料的信息存储方法,其首先将介电常数为各向异性的复合材料的一表面与介电常数为同性的第一普通材料相接触,再使光信号自所述复合材料的另一表面入射至所述复合材料与所述第一普通材料相接触面上,以使所述光信号的能量被储存在所述接触面上,进而可实现信息的存储,其中,所述光信号的入射角度应使其注入至所述接触面上时的一波矢分量应满足条件:其中,kx为波矢分量,所述波矢分量所对应的坐标方向为所述复合材料的介电常数的负值张量元所对应方向,εout是所述第一普通材料的介电常数。

标签:
复合材料
上海 - 上海 来源:中冶有色网 2023-03-18
碳纳米管/不饱和聚酯复合材料及制备方法

本发明属于纳米材料技术领域,具体涉及一种碳纳米管/不饱和聚酯复合材料及其制备方法。首先将碳纳米管羧酸化、酰氯化,再通过氨基或羟基丙烯酸酯类化合物修饰碳纳米管,制备携带可聚合双键的碳纳米管。将改性后的碳纳米管分散于不饱和聚酯基体中,采用异辛酸钴、过氧化甲乙酮作为促进剂和固化剂,制得碳纳米管/不饱和聚酯复合材料。所得复合材料具有较高的热稳定性和化学稳定性。与相同组成、未加碳纳米管的不饱和聚酯固化物相比,固化后复合材料的体积电阻率降低3~9个数量级,表面电阻率降低3~8个数量级。本发明工艺简单,更具实用性。该复合材料可应用于制备电器电机、化工机械等领域的设备外壳或者涂层。

标签:
复合材料
上海 - 上海 来源:中冶有色网 2023-03-18
碳纤维增强铝基复合材料及其制备方法与应用

本发明涉及碳纤维增强铝基复合材料及其制备方法与应用。该复合材料的成分按质量百分数为:稀土Nd:0.4-0.6%;碳纤维8-10%;Si:5.5%-6.5%;Cu:1-4%;Fe:1.0%;Mn:0.5%;Mg:0.1%;Zn:1.0%;余量为Al。与现有技术相比,本发明复合材料加入了稀土元素钕,不仅可以提高复合材料的耐腐蚀性能,还可以提高材料的加工性能,成型出结构复杂的零部件。对去胶、粗化前的碳纤维进行树脂保护的处理,克服现有碳纤维增强铝基复合材料制备过程中碳纤维易损伤的不足,树脂热解实现了去胶处理,同时,热解后的树脂变成多孔材料,增加了碳纤维表面粗糙度,完成了粗化处理。对碳纤维进行保护的同时完成了传统工艺所需的去胶、粗化,一举两得。

标签:
复合材料
上海 - 上海 来源:中冶有色网 2023-03-18
天然纤维增强聚乳酸复合材料及其制备方法

本发明属于高分子材料技术领域,具体涉及一种天然纤维增强聚乳酸复合材料及其制备方法。该复合材料由经接枝改性的聚乳酸和天然纤维组成,具体制备步骤为:通过对聚乳酸基体进行的接枝改性,以提高天然纤维与聚乳酸基体的界面结合程度。先将聚乳酸在引发剂的作用下与马来酸酐进行接枝反应,制备接枝改性聚乳酸基体,然后将改性聚乳酸与天然纤维进行复合,得到生物全降解天然纤维增强聚乳酸复合材料。该复合材料较之纯聚乳酸,力学性能和热性能都有所提高,可用于制备条件要求苛刻的工程塑料。本发明的复合材料使用废弃后可在自然环境中完全降解,属于环境友好材料。

标签:
复合材料
上海 - 上海 来源:中冶有色网 2023-03-18
纳米二氧化铈/环氧树脂复合材料的制备方法

本发明涉及一种纳米二氧化铈/环氧树脂复合材料的制备方法,属于纳米无机稀土氧化物与有机树脂复合材料制备工艺技术领域。本发明方法的要点是:将纳米二氧化铈与有机溶剂相混合,便其分散均匀,二氧化铈与有机溶剂的用量的重量体积比为:1∶5~1∶30(g/ml);接着将一定量的环氧树脂在真空下80~120℃加热4~8小时作前处理,然后将纳米二氧化铈加入其中,并进行超声处理;将上述混合物在真空烘箱中在50~120℃下处理10~24h;然后在上轟°混合物中加入一定量的固化剂,在室温下固化24小时,或者在80~160℃分段升温加热固化,最终得到纳米二氧化铈/环氧树脂复合材料。本发明方法中,纳米二氧化铈在复合材料中的含量为0.5~5wt%,其分散均匀,所得复合材料的力学性能较优。

标签:
复合材料
上海 - 上海 来源:中冶有色网 2023-03-18
医用高强韧耐腐蚀镁基复合材料及其制备方法

本发明公开医用高强韧耐腐蚀镁基复合材料及其制备方法。该方法包括S1、确定镁基复合材料的成分;S2、利用高熔点组元制备中间合金锭;S3、干燥中间合金锭和低熔点组元;S4、制备镁基复合材料。由于本发明镁基复合材料包括RE,RE使得镁基复合材料中非晶基体的百分比增加,从而,本发明的镁基复合材料腐蚀降解速度慢;再者,本发明镁基复合材料由a-Mg晶体相和非晶基体组成而使得晶体相和非晶基体的存在使得镁基复合材料的降解速度进一步变慢;另外,本发明的镁基复合材料还具有强度高和塑性好的优点。

标签:
复合材料
上海 - 上海 来源:中冶有色网 2023-03-18
复合材料拉挤设备数控液压牵引装置

本实用新型属于复合材料拉挤技术领域,尤其是一种复合材料拉挤设备数控液压牵引装置,针对了对复合材料牵引拉伸效果差且工作效率较低的问题,现提出如下方案,其包括工作台,工作台还包括底座,底座设置有多个,多个底座均固定于工作台底端侧壁,工作台内部开设有空腔,工作台顶端侧壁开设有与空腔内部相连通的通槽,通槽内部滑动连接有承重板,承重板顶端侧壁固定有承载板;本实用新型中通过挤压板a移动时与挤压板b发生挤压,使得挤压板b沿加装板内部同步向复合材料靠拢,继而实现对复合材料两侧夹持定位,有效确保在对复合材料牵引拉伸时的稳定性,避免出现复合材料在牵引拉伸时出现位置偏移的情况,提升复合材料的生产加工合格率。

标签:
复合材料
上海 - 上海 来源:中冶有色网 2023-03-18
阻燃抗静电连续长玻纤增强耐高温尼龙复合材料及其制备方法

本发明属于耐高温尼龙复合材料领域,涉及一种阻燃抗静电连续长玻纤增强耐高温尼龙复合材料及其制备方法。该阻燃抗静电连续长玻纤增强耐高温尼龙复合材料由包括以下重量份的组分制成:耐高温尼龙100份,连续长玻纤30-170份,阻燃剂35-55份,辅助阻燃剂0-18份,四针状氧化锌晶须20-50份,加工助剂1.5-6.5份。与传统双螺杆挤出阻燃抗静电玻纤增强耐高温尼龙复合材料相比,本发明的复合材料具有更好的机械性能、耐热性及尺寸稳定性;采用四针状氧化锌晶须作为抗静电剂,不仅能使复合材料达到理想的抗静电效果,而且能够提高其力学性能、耐热性,消除了阻燃剂的加入对复合材料机械及耐热性的不利影响。

标签:
复合材料
上海 - 上海 来源:中冶有色网 2023-03-18
具有双核壳结构的硫基复合材料及其制备方法

本发明公开了一种具有双核壳结构的硫基复合材料及其制备方法,该复合材料由以下重量百分比的材料组成:8%~30%二氧化锰、2%~40%导电材料、30%~90%含硫材料。其中,含硫材料为该复合材料的双核壳结构的内核,该含硫材料为单质硫或含?Sm?,m>2结构的多硫化物。二氧化锰包覆内核作为该复合材料的双核壳结构的第一层壳体。导电材料包覆第一层壳体作为该复合材料的双核壳结构的导电层。本发明制备的硫基复合材料具有双核壳结构,具有稳定的机械结构、高的电导率和优异的循环性能。

标签:
复合材料
上海 - 上海 来源:中冶有色网 2023-03-18
短纤维增强碳化硅基复合材料的制备方法

本发明提供一种短纤维增强SiC复合材料的制备方法,属于陶瓷基复合材料领域。其特征在于将SiC粉体配成料浆与短纤维通过超声分散的方式,使纤维在基体中充分分散,干燥后脱粘,最后通过放电等离子快速烧结方法制备短纤维增强SiC复合材料。通过该工艺可以制备出纤维分散均匀,的复合材料,同时用放电等离子烧结可以减少制备过程中对纤维的损伤。用本发明提供的工艺制备的短纤维增强SiC复合材料的纤维含量高达45vol%,当45vol%SiC纤维补强时采用本发明提供的制备方法,所制备的SiC/SiC复合材料的强度高达350MPa,最大应变为0.15%,明显大于单体SiC的应变。

标签:
复合材料
上海 - 上海 来源:中冶有色网 2023-03-18
航空发动机叶片用铝基复合材料

本发明涉及航空发动机叶片用铝基复合材料。具体而言,本发明提供一种铝基复合材料,以质量百分比计,所述铝基复合材料包含Zn:4.0~10.0%,Mg:0.8~3.0%,Cu:1.0~3.0%,Zr:0.05~0.5%,和TiB2陶瓷颗粒:1.0~10.0%,余量为Al。本发明的铝基复合材料基体和陶瓷颗粒的界面干净,结合良好,陶瓷颗粒分布均匀,具有优异的力学性能,尤其是塑性延伸率和弹性模量相对现有的原位自生铝基复合材料有很大提高。

标签:
复合材料
上海 - 上海 来源:中冶有色网 2023-03-18
高导热环氧复合材料的制备方法

本发明涉及一种三维方向上一种高导热环氧复合材料的制备方法,以天然鳞片石墨膨胀得到的三维堆叠结构的高热导膨胀石墨作为导热添加剂,通过浇筑环氧树脂、热压固化的方法制得填料含量高的膨胀石墨‑环氧树脂复合材料,由于复合材料中导热填料之间形成了丰富的导热通路,使得该复合材料在三维方向上都具有优良的热导率,在导热填料含量为50 wt%时,复合材料的面内热导率到达71.64 W m‑1 K‑1,垂直方向的热导率高达17.27 W m‑1 K‑1

标签:
复合材料
上海 - 上海 来源:中冶有色网 2023-03-18
碳纳米管/聚砜酰胺纳米复合材料及其制备方法

本发明涉及一种碳纳米管/聚砜酰胺纳米复合材料及其制备方法。该复合材料以芳香二胺和对苯二甲酰氯为单体,碳纳米管的溶剂分散液为分散剂,经缩聚反应而形成的碳纳米管/聚砜酰胺纳米复合材料。该复合材料中碳纳米管以纳米尺度均匀分散、镶嵌在聚砜酰胺树脂中,从而形成碳纳米管/聚砜酰胺纳米复合材料。这种材料将无机物的刚性,尺寸稳定性和耐热性与有机聚合物的韧性和可加工性完美地结合了起来。可赋予材料许多采用传统方法所难以达到的优良性能。本发明方法的优点是工艺简单,可操作性强,制作方便而且成本低廉。

标签:
复合材料
上海 - 上海 来源:中冶有色网 2023-03-18
功能粒子定向排布的复合材料及其制备方法

本发明涉及材料领域,具体涉及复合材料的制备方法。功能粒子定向排布的复合材料的制备方法,步骤一、制备带功能粒子的复合材料浆料;步骤二、将带功能粒子的复合材料浆料倾倒至绝缘料槽内;步骤三、对复合材料浆料进行固化处理,同时,对复合材料浆料施加电场,使复合材料浆料内的功能粒子在电场的介电力作用下发生漂移,至固化完成;步骤四、将固化后的复合材料浆料从绝缘料槽内取出,获得功能粒子定向排布的复合材料。在电场的作用下,功能粒子在介电力作用下发生漂移,从而可以改变复合材料浆料中的功能粒子的取向分布,制得不同结构及性能的功能复合材料。

标签:
复合材料
上海 - 上海 来源:中冶有色网 2023-03-18
树脂基复合材料多尺度耦合固化分析方法

本发明公开了一种树脂基复合材料多尺度耦合固化分析方法,包括:根据树脂基复合材料的周期性微观结构特征建立树脂基复合材料的微观分析模型;根据均匀化理论对微观分析模型施加周期性边界条件,应用树脂固化动力学模型得到微观分析模型的固化特性,应用树脂基复合材料的结构力学模型得到复合材料微观分析模型力学特性;建立树脂基复合材料的宏观模型,将固化特性及力学特性作为属性赋予宏观模型;通过对树脂基复合材料的宏观模型施加边界条件,使用有限元分析法得到固化分析结果。本发明能够针对树脂基复合材料宏观结构,从细观结构出发考虑其固化特性,从本质上把握了树脂基复合材料的固化机制,从而在保证准确度的同时提高了建模与计算效率。

标签:
复合材料
上海 - 上海 来源:中冶有色网 2023-03-18
热塑性磁流变弹性体复合材料及其制备方法

一种材料技术领域的热塑性磁流变弹性体复合材料及其制备方法;该复合材料的组分及重量百分比为:羰基铁40~85%,偶联剂0.4~2.0%,热塑性弹性体8~30%,增塑剂6~40%;该复合材料的制备方法包括如下步骤:步骤一,按重量百分比取各组分;步骤二,将羰基铁与偶联剂在高速混合机中搅拌,得混合物;步骤三,将混合物与热塑性弹性体、增塑剂在低速混合机中搅拌,得预混料;步骤四,取预混料,使用双螺杆挤出机于180~240℃下混炼,挤出,造粒;之后将粒子于180~240℃磁场作用下模压,冷却成型脱模,即得热塑性磁流变弹性体复合材料。本发明的方法工艺简单,制备的热塑性磁流变弹性体复合材料机械性能、稳定性和磁响应效能优良,可多种工艺成型,易实现产业化和商品化。

标签:
复合材料
上海 - 上海 来源:中冶有色网 2023-03-18
高性能微发泡专用的玻纤增强聚丙烯复合材料及其制备方法

本发明涉及一种高性能微发泡专用的玻纤增强聚丙烯复合材料,其特征为:各成分的重量百分比为:50-80%的复配型聚丙烯、2-10%的接枝物相容剂、5-30%的玻纤短切毡、2-10%的弹性体增韧剂,上述各成分的重量百分比之和为100%,其中复配型聚丙烯为高刚性均聚丙烯HCIPP与高熔体强度聚丙烯HMSPP复配而成。其中高刚性聚丙烯HCIPP基体有利于发泡后复合材料的力学性能保持率,而高熔体强度聚丙烯HMSPP则能保证泡孔均匀、结构完整、分布合理,加入的多单体嵌段共聚物能改善复合材料界面状况,因此,复合材料密度较微发泡前有大幅度降低,拉伸强度、弯曲强度未见明显降低,冲击强度反而有所改善,是一种具有突出优点的“轻质、高强、高性价比”的聚合物基复合材料。

标签:
复合材料
上海 - 上海 来源:中冶有色网 2023-03-18
纳米复合材料及其制备方法

本发明涉及一种聚烯烃/不饱和聚酯/有机蒙脱土纳米复合材料及其制备方法。该纳米复合材料包括的组分及组分的重量份数如下:聚烯烃90-70份,不饱和聚酯10-30份,有机蒙脱土1-9份,过氧化物引发剂0.05-0.5份,加工助剂0.1-0.5份。本方法实现了有机蒙脱土在复合材料中为剥离结构,实现了真正的纳米分散。在性能上,超声分散法所制备的聚烯烃/不饱和聚酯/有机蒙脱土纳米复合材料比采用直接熔融共混挤出法所制备的聚烯烃/不饱和聚酯/有机蒙脱土复合材料具有更高的机械性能和更低的热释放速率。

标签:
复合材料
上海 - 上海 来源:中冶有色网 2023-03-18
长玻纤增强ABS复合材料的制备方法

本发明公开了一种长玻纤增强ABS复合材料的制备方法,以ABS的中间体丁二烯接枝乳液、SAN树脂粉体为原料,加入ABS抗氧化剂1010,搅拌制备悬浮液;将偶联剂表面处理后的连续玻纤在牵引作用下穿过悬浮液浸润槽;通过开放式烘箱烘干、经密闭熔融管道加热熔融,再经模具挤压成型,切粒制得复合材料切片;切片烘干后经注塑机注射成型,制得长玻纤增强ABS复合材料。本发明解决了纤维增强热塑性树脂复合材料的界面问题,工序少、能耗低,有效地降低了成本,玻纤的受损度明显降低,玻纤的长度大,所制备的复合材料具有良好的力学性能。

标签:
复合材料
上海 - 上海 来源:中冶有色网 2023-03-18
尼龙/层状硅酸盐粘土纳米复合材料的制备方法

本发明涉及一种尼龙/层状硅酸盐粘土纳米复合材料的制备方法,该方法包括以下工艺步骤:首先将尼龙/层状硅酸盐粘土纳米复合材料母粒溶解在熔融的内酰胺单体中,在真空下除去内酰胺中的水分,然后加入催化剂,真空除水,再加入助催化剂进行混合,得到预混料,最后将预混料倒在预热到一定温度的模具中,在一定温度下阴离子开环聚合,或者将预混料加入到双螺杆挤出机的进料口,进行双螺杆反应挤出,从而制得尼龙/层状硅酸盐粘土纳米复合材料。采用本发明方法可以得到粘土片层完全剥离的尼龙纳米复合材料,该复合材料可以提高制品在使用中的稳定性,提高材料的热变形温度。

标签:
复合材料
上海 - 上海 来源:中冶有色网 2023-03-18
铝基复合材料表面熔盐电沉积铝膜的制备方法

一种复合材料技术领域的铝基复合材料表面熔盐电沉积铝膜的制备方法,采用混合盐和添加剂配制酸性电沉积液,然后以铝基复合材料为阴极、纯铝为阳极,经电化学活化后在电沉积液中进行直流电沉积使复合材料表面形成铝膜。本发明克服了用常规表面处理方法在铝基复合材料表面形成的保护膜的防腐效果不如基体金属表面保护膜的缺点,弥补了阳极氧化不能在铝基复合材料表面形成连续保护膜的不足,弥补了化学转化膜整体厚度不大、在颗粒处成膜差的不足。

标签:
复合材料
上海 - 上海 来源:中冶有色网 2023-03-18
制备高强高塑性铝基复合材料的方法

本发明涉及一种制备高强高塑性铝基复合材料的方法,以高纯Al、工业纯Mg、工业纯Zn、Al?50Cu、Al?12Zr中间合金、KBF4以及K2TiF6为原料,采用原位熔体自生控制的方法制备了原位TiB2微纳米颗粒增强Al?Zn?Mg?Cu合金复合材料,每道次挤压变形方向与上一道次挤压方向垂直,在多道次正交叠片挤压模具设备中进行挤压变形,可以对颗粒增强铝基复合材料施加大量累计剪切应变,进而起到机械搅拌的作用,将复合材料内原位自生TiB2颗粒团聚体打散,使微纳米级TiB2颗粒均匀弥散分布于铝基体中,还可以细化复合材料的Al?Zn?Mg?Cu基体晶粒组织,得到均匀细小的等轴晶。本发明方法制备的铝基复合材料能同时具有高强度和高塑性。

标签:
复合材料
上海 - 上海 来源:中冶有色网 2023-03-18
用于航天器复合材料压力容器的复合法兰及其制作方法

本发明提供了一种用于航天器复合材料压力容器的复合法兰及其制作方法,包括复合材料壳体、复合材料对接平台以及安装法兰,复合材料对接平台缠绕固定在复合材料壳体的外表面,安装法兰安装在复合材料对接平台背离复合材料壳体的一侧,且安装法兰与复合材料对接平台之间填充有定距丝和粘接剂层,安装法兰背离复合材料平台的一侧还缠绕有用于将安装法兰固定在复合材料对接平台上的纤维缠绕收紧层。通过缠绕固化于复合材料壳体上的复合材料对接平台和纤维缠绕收紧层配合,将安装法兰固定安装在复合材料壳体的外表面,从而使安装法兰能够安装在复合材料压力容器外表面的任意纬度上,且结构简单,有助于提高复合材料压力容器的使用范围。

标签:
复合材料
上海 - 上海 来源:中冶有色网 2023-03-18
二次注射成型的复合材料洁具及其制备方法

本发明公开了一种二次注射成型的复合材料洁具及其制备方法,该方法包含:步骤1,一次注射制备第一复合材料层:将热塑性的第一复合材料熔融,高压注射于第一模具中,得到第一复合材料层;步骤2,将上述第一复合材料层置入第二模具中;步骤3,二次注射制备复合材料洁具:将热塑性的第二复合材料熔融,高压注射到被置于第二模具中的第一复合材料层上,形成第二复合材料层,该第二复合材料层与第一复合材料层组合成一体,得到完整的复合材料洁具;其中,第一复合材料与第二复合材料的热胀系数相当。本发明采用二种不同性能的热塑性复合材料通过二次注射复合而成的洁具,耐腐蚀,高光泽度,耐污性好,抗划伤,表面硬度高,抗老化;产品制备过程无需高能耗长时间烧制,低碳、环保、无辐射、无重金属,自动化程度高,成品率高,完全适合工业规模化生产。

标签:
复合材料
上海 - 上海 来源:中冶有色网 2023-03-18
MnS@CoMn-LDH复合材料及其制备方法与应用

本发明涉及一种MnS@CoMn‑LDH复合材料及其制备方法与应用,复合材料的制备方法包括以下步骤:1)将可溶性锰盐溶于水中,之后加入硫化物,并进行一次水热反应,后经离心、洗涤、干燥,得到MnS;2)将可溶性锰盐、可溶性钴盐、氟化铵及尿素溶于水中,之后加入MnS,并进行二次水热反应,后经冷却、离心、洗涤、干燥,即得到MnS@CoMn‑LDH复合材料;将复合材料制备成工作电极,用于超级电容器中。与现有技术相比,本发明通过两步水热合成了MnS@CoMn‑LDH复合材料,该复合材料含有丰富的中孔和微孔,以达到良好的电化学性能,且复合材料制备方法简单,环境友好,大大缩短了合成时间,便于大规模生产高纯度的MnS@CoMn‑LDH复合材料。

标签:
复合材料
上海 - 上海 来源:中冶有色网 2023-03-18
改性的尼龙6/热塑性聚氨酯复合材料及其制备方法

本发明一种改性的尼龙6/热塑性聚氨酯复合材料,按重量份数计算,由85~95份的尼龙6、5~15份的热塑性聚氨酯、1~5份的EBA-g-MAH、0.6~0.8的份润滑剂、0.2~0.3的份抗氧化剂、0.3~0.5份的增塑剂和0.2~0.3份的着色剂组成。本发明还提供了上述复合材料的制备方法,首先制备接枝产物EBA-g-MAH,然后按照质量比将尼龙6、热塑性聚氨酯、EBA-g-MAH、润滑剂、抗氧化剂、增塑剂和着色剂混合均匀后,通过双螺杆挤出机挤出造粒,最后用注塑机注塑,即得增容剂EBA-g-MAH改性的尼龙6/热塑性聚氨酯复合材料。本发明的复合材料具有优异力学性能、良好可加工性和低成本特性。

标签:
复合材料
上海 - 上海 来源:中冶有色网 2023-03-18
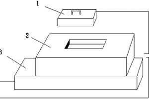
用于飞机复合材料零件的脱模装置

一种用于飞机复合材料零件的脱模装置,包括金属板(5)、密封圈(3)、真空快卸接头(6)和真空管(7);金属板(5)中间开有通孔,真空快卸接头(6)的一端能够气密地插入所述通孔中,真空管(7)能够气密地插入所述真空快卸接头(6)的另一端;金属板(5)的一个表面为光滑表面,密封圈(3)的一侧能够气密地贴合于所述金属板(5)的光滑表面内,密封圈(3)的另一侧用于气密地贴合于飞机复合材料零件;金属板(5)的另一个表面上设置有吊环或手柄(4)。本发明的脱模装置克服传统脱模方法中采用楔形脱模铲或钢尺楔撬进复合材料零件与模具之间费时费力且容易划伤模具和复合材料零件的不足,提供一种便捷、安全、有效的脱模装置。

标签:
复合材料
上海 - 上海 来源:中冶有色网 2023-03-18
深冷处理对芳纶纤维复合材料的改性方法

本发明提供了一种深冷处理对芳纶纤维复合材料的改性方法,其特征在于,具体步骤包括:将芳纶纤维复合材料样品放置于具有深冷介质的深冷处理设备中,将容器密闭,进行深冷处理,所述的处理温度为恒温零下100℃至零下200℃、处理时间为1小时-15小时;深冷处理后,通过程序升温进行回温或将样品从深冷处理设备中取出自然回温。本发明中经深冷处理的芳纶纤维复合材料,拉伸性能,抗弯性能,层间剪切性能和耐磨性能获得提高,综合性能更为优异,可满足不同领域内的应用需求,同时提高芳纶纤维复合材料的使用寿命。

标签:
复合材料
上海 - 上海 来源:中冶有色网 2023-03-18
上一页 297 298 299 300 301 ... 307 下一页
共307页    到第

中冶有色为您提供最新的上海有色金属复合材料技术理论与应用信息,涵盖发明专利、权利要求、说明书、技术领域、背景技术、实用新型内容及具体实施方式等有色技术内容。打造最具专业性的有色金属技术理论与应用平台!

全国热门有色金属设备推荐
展开更多 +
全国热门有色金属技术推荐
展开更多 +

 

江西省隆恩特环保设备有限公司
宣传

报名参会
更多+

报告下载

有色专家
更多+

武汉工程大学
教授
中国矿业大学(北京)
教授
重庆理工大学
教授
云南锡业集团(控股)有限责任公司
副总经理
长沙矿冶院检测技术有限责任公司
总经理
赤泥综合利用研究报告2025
推广

热门技术
更多+

推荐企业
更多+

福建省金龙稀土股份有限公司
宣传

发布

在线客服

公众号

电话

顶部
咨询电话:
010-88793500-807