青岛垚鑫智能科技有限公司
宣传

位置:中冶有色 >

有色技术频道 >

> 复合材料技术

分类:
全部
矿山技术
冶金技术
材料制备及加工技术
环境保护技术
分析检测技术
 
全部
功能材料技术
复合材料技术
新能源材料技术
合金材料技术
加工技术
地区:
全部
北京
天津
上海
重庆
河北
山西
辽宁
吉林
黑龙江
江苏
浙江
安徽
福建
江西
山东
河南
湖北
湖南
广东
海南
四川
贵州
云南
陕西
甘肃
青海
内蒙
广西
西藏
宁夏
新疆
其他
其他
展开
 
全部
上海

上海有色金属复合材料技术理论与应用

免费发布技术信息>>
层状梯度铜铬合金及其制备方法

本发明公开了一种层状梯度铜铬合金及其制备方法,该方法包括合金熔炼,铣面,挤压或者轧制,内氧化,时效,冷轧或冷拉制成品,材料中以重量百分比计量,合金中的铬含量控制在0.1‑0.6%,并包含0.01‑0.3%的Co、Zr、Ti、Mg、Sn、Fe等元素中的一种或多种合金元素。本发明通过合金组分、内氧化工艺、时效工艺、变形量的匹配控制,制备的梯度复合材料的表层导电率高、芯部强度高,从而保证合金材料的高强高导性能。该工艺易于控制和实施,生产效率高、周期短、便于大规模生产。

标签:
复合材料
上海 - 上海 来源:中冶有色网 2023-03-18
独立式高温超导薄膜的制备方法

本发明涉及一种独立式高温超导薄膜的制备方法,具体包括以下步骤:(1)取衬底,在衬底上采用Sr3Al2O6陶瓷靶材沉积牺牲层,所述牺牲层的材质为Sr3Al2O6;(2)采用GdBa2Cu3O7陶瓷靶材继续在牺牲层上沉积高温超导薄膜,得到衬底/SAO/GBCO复合结构,所述高温超导薄膜的材质为GdBa2Cu3O7‑x;(3)沉积完成后,将步骤(2)得到的衬底/SAO/GBCO复合结构置于纯氧中进行吸氧处理,使高温超导薄膜充分吸氧;(4)吸氧完成后,取出衬底/SAO/GBCO复合结构浸入水中,待牺牲层溶解后高温超导薄膜从衬底上释放,即得到独立式高温超导薄膜。与现有技术相比,本发明制得的高温超导薄膜不仅为独立式且结构良好,有机会结合到各种复合材料结构中,拓展了应用范围,降低了应用成本。

标签:
复合材料
上海 - 上海 来源:中冶有色网 2023-03-18
风扇组件及涡轮风扇发动机

本发明涉及一种风扇组件及涡轮风扇发动机。该风扇组件包括:风扇盘,风扇盘上设置有榫槽;叶片,叶片具有榫头,榫头安装在榫槽中;隔离垫片,隔离垫片过盈配合在榫头和榫槽之间,使榫头与榫槽彼此完全不直接接触;隔离垫片的材质为纤维增强的树脂基复合材料。

标签:
复合材料
上海 - 上海 来源:中冶有色网 2023-03-18
水溶性芯模
水溶性芯模 1113     
 0

本发明涉及复合材料成型技术领域,特别是一种水溶性芯模,与现有技术相比,该水溶性芯模由玻璃微珠、水溶性胶和增容剂复配而成,通过设置一个专用模具,将玻璃微珠、水溶性胶和增容剂通过一定比例混合后注入模具中,待模具中的溶液冷却后固化定型,然后同时进行吹塑3到5层的尼龙热缩离型膜,将尼龙热缩离型膜套在固化定型的内芯模上,通过水浴加热方式使尼龙热缩离型膜紧贴在内芯模上,制作完整芯模,用于空腔型异型件(如轮圈、大小头管件)等直条型或弯曲型造型件。

标签:
复合材料
上海 - 上海 来源:中冶有色网 2023-03-18
复合生物材料及其制备方法和用途

本发明提供了一种复合生物材料,由如下质量百分比的原料制备而成:胶原蛋白41%~90%,高分子量的单体透明质酸钠9%~51%;交联透明质酸盐2%~10%。本发明还提供了上述一种复合生物材料的制备方法。本发明生物组织支架是以胶原蛋白及高分子透明质酸为基础得到的复合材料,该材料具有良好的生物相容性,生物降解性和生物可吸收性,对多种来源的神经干细胞具有良好的生物相容性,促进神经干细胞向神经方向分化和降低细胞凋亡的作用,在脊髓损伤动物损伤区域中植入该材料可促进动物运动功能恢复及神经电生理功能恢复,该材料的神经损伤修复作用包括但不限于促进损伤区域神经细胞的增加及降低炎症反应。

标签:
复合材料
上海 - 上海 来源:中冶有色网 2023-03-18
镍钴氧化物@镍钴氢氧化物核壳结构电极材料的制备方法

本发明公开了一种镍钴氧化物@镍钴氢氧化物核壳结构电极材料的制备方法,包括以下步骤:(1)将尺寸为2×3cm2的碳布置于一定浓度的稀硝酸中进行水热活化;(2)将活化后的碳布放入装有混合金属盐和沉淀剂溶液中进行水热反应,得到前驱体;(3)随后前驱体在空气气氛下进行退火得到镍钴氧化物纳米线阵列;(4)最后利用恒电位沉积法制得了镍钴氧化物@镍钴氢氧化物核壳电极材料根据本发明,克服现有技术制备条件苛刻复杂、成本高、危险性大及产物团聚严重问题,在柔性碳布上制得的镍钴氧化物@镍钴氢氧化物复合材料,在超级电容器、空气电池等领域有广泛的应用前景。

标签:
复合材料
上海 - 上海 来源:中冶有色网 2023-03-18
适用于柔性太阳翼的基板结构及其成型方法

本发明公开了一种适用于柔性太阳翼的基板结构及其成型方法,具有一定的柔性、厚度薄(0.3mm)、尺寸大、具有较好的力学性能和耐空间环境性能。柔性基板采用综合挠性板和刚性板特点的新颖设计思路,为五层平面对称结构,其中中间层为纤维增强的复合材料,最外层为聚酰亚胺薄膜,聚酰亚胺薄膜与中间增强层采用柔性胶黏剂粘贴固化成型。适用于低轨环境的柔性基板,为了对低轨原子氧进行防护,在聚酰亚胺薄膜外表面还有一层原子氧防护层。为了保证柔性基板成型后各层之间无分层、无气泡,表面平整,创新性的提出了软硬板结合的成型工艺进行成型。

标签:
复合材料
上海 - 上海 来源:中冶有色网 2023-03-18
高强度高耐候良外观的PA6组合物及其制备方法

本发明涉及一种高强度高耐候良外观的PA6组合物及其制备方法,按重量份数,组分包括PA6树脂25~45份;无定型尼龙5~10份,玻璃纤维20~50份;矿粉10~40份;炭黑0.3~0.8份;流动性改善剂0.3~0.8份;抗氧剂0.3~0.8份;润滑剂0.3~0.8份;耐候剂0.5~1份。本发明的PA6组合物具有良好的综合性能,能够制备高性能复合材料替代传统的金属材料在汽车功能件和结构件中使用。

标签:
复合材料
上海 - 上海 来源:中冶有色网 2023-03-18
铜网/TPU复合薄膜的制备方法

本发明属于复合材料制备技术领域,具体涉及一种铜网/TPU复合薄膜的制备方法。首先将铜网进行200℃~250℃脱脂处理,控制脱脂处理中的车速为3~7米/分钟,然后在铜网表面喷涂一层水性粘合剂制得漆包铜网,喷涂厚度0.001~0.003mm,最后将漆包铜网经过预热,与一层或多层TPU薄膜通过橡胶加热辊压合、冷却定型而成。本发明所制得的铜网/TPU复合薄膜具有优异的耐水解、耐寒、耐老化,耐磨性、导热性和延展性,其突出优点是导热系数高、抗磨蚀、防腐蚀。特别适用于机翼、旋翼桨叶及其他高温或发热部位抗磨蚀、防腐蚀保护。

标签:
复合材料
上海 - 上海 来源:中冶有色网 2023-03-18
Cu-PEDOT复合导电粉体的合成方法

本发明提供一种Cu‑PEDOT复合导电粉体的合成方法,其特征在于,包括以下步骤:将EDOT单体加入乙腈中溶解;将碘化亚铜溶解在等体积的甲胺溶液中,缓慢加入乙腈溶液中,加入过程中持续搅拌,得到混合母液;室温下搅拌反应12~24小时后得到沉淀,将溶剂下烘干,得到Cu‑PEDOT复合导电粉体。本发明所有原料采用简易工艺一步合成,成本低,原位由铜离子氧化单体EDOT一步法合成Cu‑PEDOT亚微米复合材料,并在蒸干反应溶剂后实现了I2对PEDOT的掺杂,电导率高,稳定性好,可用于导电铜浆的填料。

标签:
复合材料
上海 - 上海 来源:中冶有色网 2023-03-18
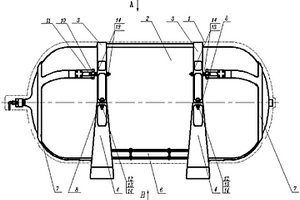
航天器用压力容器固定方式

本发明提供了一种航天器用压力容器固定装置,包括气瓶、上支架组件、下支架组件、箍带组件、热控组件;上支架组件与下支架组件相连接,沿气瓶的径向固定气瓶;箍带组件分别与上支架组件、下支架组件连接,沿气瓶的轴向固定气瓶;箍带组件、上支架组件、下支架组件共同组成笼式结构,所述笼式结构形成笼式空腔,气瓶固定设置在所述笼式空腔内;热控组件包裹在笼式空腔外,实现对气瓶的加热温控,能够确保气瓶内部压力正常。采取笼式结构设计,通过上下支架和箍带全方位固定气瓶,上下支架上集成导向销孔,整个装置拆装方便快捷,对中性好;上支架组件和下支架组件采取分体拼接设计,便于复合材料加工,保证加工安装精度,支撑板强化了结构强度。

标签:
复合材料
上海 - 上海 来源:中冶有色网 2023-03-18
用于农药快速检测的凝胶材料及其制备方法和应用

本发明涉及一种用于农药快速检测的凝胶材料及其制备和应用,包括以下步骤:(1)制备PVA小球;(2)将AgNPs组装在PVA小球的表面,作为SERS检测基底;(3)在PVA@Ag小球表面修饰巯基乙胺和巯基丙酸;(4)利用静电作用在PVA@Ag表面选择性吸附正负电荷探针或农药分子;(5)利用便携式拉曼光谱仪检测PVA@Ag表面吸附的带电探针分子或农药,从而实现对水产品中农药残留的定性和定量分析检测。与现有技术相比,本发明得到的PVA@Ag复合材料具有良好的表面增强拉曼活性,不仅具有分析快速、灵敏度高、样品用量少、应用范围广、操作简便和携带方便等特点,且具有选择性,不需要标记和分离纯化。

标签:
复合材料
上海 - 上海 来源:中冶有色网 2023-03-18
苯并环丁烯官能化有机硅聚合物及其制备方法和应用

本发明属于高性能树脂技术领域,具体为含苯并环丁烯官能团的有机硅聚合物及其制备方法和应用。本发明有机硅聚合物由一种或者多种硅氧烷水解缩合而得到。该材料具有良好的光刻性能,在电子封装、光电器件、集成电路领域有着的广阔应用前景。可直接进行应用,也可以通过加入其他有机、无机改性剂进行改性。如作为封装材料,应用于太阳能电池、显示器件、LED、MEMS等电子器件或者光电器件。也可用作光学器件或者光学薄膜材料,还可作为半导体、集成电路领域用的低介电层间介质材料、低介电光刻胶等。还可以用于高性能树脂复合材料的制备。

标签:
复合材料
上海 - 上海 来源:中冶有色网 2023-03-18
低粘度高耐热增韧环氧树脂组合物

本发明公开了一种低粘度高耐热增韧环氧树脂组合物,其特征在于,包括以重量百分比计的脂环类环氧树脂30‑50%,酸酐固化剂30‑60%,促进剂0.1‑2%及增韧剂5‑20%。本发明具有优良的工艺性和耐热性,固化前粘度为150‑400mPa·s,固化后玻璃化转变温度达到220‑260℃。此外,所述环氧树脂组合物还具有优良的断裂韧性以及较低的热膨胀系数,在复合材料制造和微电子封装领域具有良好的应用前景。

标签:
复合材料
上海 - 上海 来源:中冶有色网 2023-03-18
纳米溴化银复合钨酸铋的制备方法及其产品和应用

本发明公开了一种纳米溴化银复合钨酸铋(AgBr@Bi2WO6)的制备方法。其特征在于采用水热‑离子交换‑原位复合相结合法,制备异质结AgBr@Bi2WO6纳米复合材料。首先制备高分散的纳米Bi2WO6纳米片球,纳米片的厚度为15nm左右;将其分散到符合化学计量比的溴化钾水溶液中,进行离子交换反应;再将一定量的硝酸银水溶液缓慢滴加到上述溶剂中,通过搅拌使溴化银缓慢均匀的原位生长到钨酸铋薄片表面。然后在光照条件下反应1小时,在溴化银表面形成一种银膜,促进电子传输。最终得到一种具备高稳定性和分散性的高效复合光催化剂,Xe灯下对RhB降解30min后,降解率达到90.7%。所得到的AgBr@Bi2WO6可广泛应用于污染物降解、废水处理、光水解产氢等领域。

标签:
复合材料
上海 - 上海 来源:中冶有色网 2023-03-18
具有耐磨损耐腐蚀纳米涂层的TRT透平机

本发明公开了一种具有耐磨损耐腐蚀纳米涂层的TRT透平机,包括TRT平透机动叶片及静叶片,所述TRT透平机动叶片及静叶片的外表面均设置有一层纳米保护层。本发明耐磨损耐腐蚀纳米涂层的TRT透平机,通过在TRT透平机的动叶及静叶表面设置由纳米材料构成的一层保护层,纳米涂层是采用纳米陶瓷复合材料所制备的具有耐磨损、耐酸碱腐蚀、耐高温、抗汽蚀的纳米结构的功能性涂层,改善了现有技术的缺陷,使用周期由7‑10个月提高到为36个月以上,大大长于现有技术中TRT透平机的使用周期及使用效果;且使得TRT透平机可以长时间的持续工作,降低了生产成本,减少检修成本,提高了工作效率。

标签:
复合材料
上海 - 上海 来源:中冶有色网 2023-03-18
纳米纤维过滤材料及其制备方法

本发明涉及一种纳米纤维过滤材料,其特征在于:包括过滤基材和在过滤基材上形成的纳米纤维层;所述过滤基材与纳米纤维层的质量比为100:1~600:1。本发明通过静电纺丝技术,在传统纺织品表面复合了一层纳米级纤维材料层,纳米纤维细度在几十至几百纳米之间,纤维之间错综交联,具有超高数量级的纳米级微孔,孔隙率在90%以上,纤维层厚度可根据不同产品的需求设计加工,可达到PM2.5及其以上的粉尘完全过滤,实现零排放,并可根据工况及复合材料的特点选择不同原料加工纳米纤维层,同时满足过滤精度、工况温度、化学条件等多方面需求。成品的运行阻力低,过滤速度快;使用寿命长,可重复使用,从而大大降低了运行费用,获得更高的性价比。

标签:
复合材料
上海 - 上海 来源:中冶有色网 2023-03-18
抗紫外功能性聚氯乙烯纤维的生产方法

本发明涉及一种抗紫外功能性聚氯乙烯纤维的生产方法,采用耐光及耐热性优良的过渡族金属镍对氧化锌掺杂,制备出Zn-Ni复合抗紫外粉体,使用该粉体微乳液与单体氯乙烯原位聚合得到抗紫外聚氯乙烯复合材料,采用熔融纺丝制得具有抗紫外功能性聚氯乙烯纤维。本发明采用超高压熔融纺丝生产的抗紫外功能性聚氯乙烯纤维:使用过渡族金属镍对氧化锌掺杂,添加pH调节剂控制反应体系为碱性,并增加镍用量,提高了聚氯乙烯抗紫外能力,并改善了无机纳米粒子在PVC基体中分散性。

标签:
复合材料
上海 - 上海 来源:中冶有色网 2023-03-18
有机—无机复合可发泡材料的制备

本发明涉及一种有机—无机复合可发泡材料的制备方法。有机烯类单体中加入100~5000目的无机粉体,与引发剂、助剂混合均匀后在一定温度下经悬浮聚合2~8小时后,加入烯类单体重量0.5~8%的戊烷在高于90℃下继续聚合可得到可发泡的有机—无机复合颗粒,发泡后是隔热保温和阻燃性能好的复合材料。

标签:
复合材料
上海 - 上海 来源:中冶有色网 2023-03-18
含硼硅芳炔树脂及其制备方法

本发明公开了一种含硼硅芳炔树脂及其制备方法,其化学结构为:其中,R=-CH3,-CH=CH2,-H或-C6H5;封端基团TG=-C6H4-C≡CH或-C6H5;Py为吡啶;x=1~15,y=1~15,n=1~15。首先利用镁与溴代烷反应生成格氏试剂,再与二乙炔基苯和苯乙炔反应生成芳炔基格氏试剂;然后与二氯硅烷、三氯化硼缩合聚合反应;最后对反应产物进行水洗、分离等后处理,得到含硼硅芳炔树脂。本发明含硼硅芳炔树脂具有优良的耐热性、抗氧化性以及阻燃特性,在高温下可形成陶瓷材料;具有优良的机械性能、电气绝缘性能和陶瓷化性能,可作为高性能复合材料树脂基体、绝缘材料、陶瓷前躯体,在航天、航空、电子、汽车工业等高科技领域有广泛的应用前景。

标签:
复合材料
上海 - 上海 来源:中冶有色网 2023-03-18
便于固定的高散热涂材及其制造方法

本发明提供了一种便于固定的高散热涂材及其制造方法,属于高散热复合材料技术领域。该材料有高散热膜片和粘附体两部分组成,制造时,首先将高散热膜切割成片,然后通过加热,使得液态金属体和高散热膜片的一端相接触,并由液态金属体将高散热膜片的一端包覆于内,最后低温冷却,液态金属体凝固为粘附体,即制成成品。使用时只需将粘附体加热至熔融态,放置于所需散热的发热体上,待粘附体冷却后,即将高散热膜片和发热体粘附于一处,便于高散热膜片帮助发热体散热。

标签:
复合材料
上海 - 上海 来源:中冶有色网 2023-03-18
热电器件、电极材料及其制作方法

本发明提供了一种热电器件及其制备方法以及用于该热电器件的电极材料,本发明的特征在于将热电材料粉体、中间层材料和电极材料按热电器件结构事先排列,采用一步烧结的方法使得热电材料的块体化与器件电极的结合同时完成,最终获得π型热电器件。本发明涉及的电极材料包括二元或三元金属合金,或者复合材料,其至少包括选自铜、银、铝或金的第一金属以及选自钼、钨、锆、钽、铬、铌、钒或钛的第二金属。本发明简化了制备过程、降低了成本并避免了对有关元件进行二次加热、加压所带来的不利影响。

标签:
复合材料
上海 - 上海 来源:中冶有色网 2023-03-18
针状二氧化锰/氧化石墨烯复合纳米材料的制备方法

本发明涉及一种针状二氧化锰/氧化石墨烯复合纳米材料的制备方法,该方法以石墨粉、浓硫酸、高锰酸钾为原料,直接合成二氧化锰/氧化石墨烯纳米复合材料,其特征为针状二氧化锰为纳米级,长10‑300nm,宽3‑30nm,并均匀分散在氧化石墨烯表面。本发明方法能从石墨直接制备得到针状二氧化锰/氧化石墨烯复合纳米材料,其合成工艺简单、操作简便、节约成本。

标签:
复合材料
上海 - 上海 来源:中冶有色网 2023-03-18
低温封接玻璃料及复合填料的制备方法

本发明公开了一种低温封接玻璃料及玻璃料中的复合填料的制备方法,低温封接玻璃料包括玻璃粉和填料,所述填料至少包括复合填料,所述复合填料为热膨胀系数能调整的负热膨胀复合材料。由该复合填料和玻璃粉混合而成的低温封接玻璃料的热膨胀系数能调整,可实现低温封接玻璃料的热膨胀系数与OLED器件封装玻璃基板的热膨胀系数匹配,有利于提高OLED器件的封装良率。解决了现有技术中因封接玻璃料的热膨胀系数与封接玻璃基板的热膨胀系数相差较大,造成封接玻璃基板与封接玻璃料封接时产生扭曲和开裂,或者封装后的OLED器件在强光照射下使OLED封接玻璃基板处出现裂缝的问题。

标签:
复合材料
上海 - 上海 来源:中冶有色网 2023-03-18
铜包铝排连续挤压生产工艺及其生产设备

本发明提供一种铜包铝排连续挤压生产工艺,依次包括以下步骤:1)、将铝原材送入连续挤压机中,连续挤压机的出料口处连续挤压出铝材;2)、用铜带包覆所述铝材,并将铜带与铝材焊接,得到铜包铝坯材;3)、轧制所述铜包铝坯材,得到铜包铝型材。该生产工艺能长流程连续生产铜包铝型材,颠覆了目前铜包铝复合材料短流程制备加工的概念,且整个生产工艺步骤大大简化,从而减少生产设备的投入量和重复投入量,有效降低生产成本。

标签:
复合材料
上海 - 上海 来源:中冶有色网 2023-03-18
三维可拉伸导电材料及其制备方法

本发明涉及一种导电复合材料及其制备方法,具体是一种三维可拉伸导电材料,是将聚氨酯溶解于N,N‑二甲基甲酰胺和四氢呋喃的混合溶剂中,通过静电纺丝,电纺得到聚氨酯纤维垫;在该纤维垫的表面通过界面聚合形成导电的聚3,4‑乙烯二氧噻吩,再回填聚二甲基硅氧烷,可获得三维可拉伸的导电材料。以本发明导电材料制备的拉伸电极,不仅拥有优异的电导率,而且在大应变下有良好的电导率的稳定性。

标签:
复合材料
上海 - 上海 来源:中冶有色网 2023-03-18
耐磨导电纤维的制备方法

本发明提供了一种耐磨导电纤维的制备方法,其特征在于,包括:将碳纳米管纱线浸泡在树脂中,制成碳纳米管复合纤维;将所述的碳纳米管复合纤维在拉伸状态下进行单次或多次循环深冷处理,得到耐磨导电纤维。本发明由于采用深冷处理,既能在提高碳纳米管纤维的耐磨损性能前提下,可显著提高碳纳米管纤维增强树脂复合材料的整体力学性能和电学性能,且工艺方法简单、操作方便,降低改性工艺的生产成本,具有显著的经济效益和社会效益,拥有良好的工业应用前景。

标签:
复合材料
上海 - 上海 来源:中冶有色网 2023-03-18
核壳粒子与丙烯酸酯复合的光固化材料及其制备方法

本发明属于光固化材料技术领域,具体为一种核壳粒子与丙烯酸酯的光固化材料及其制备方法。该材料由丙烯酸酯、经过表面处理的核壳粒子及光引发剂组成。本发明是将核壳粒子加入到丙烯酸酯及光引发剂的混合物中,并进行高速机械搅拌。核壳粒子与混合物体系具有良好的相容性。本发明的材料在405纳米波长光照射下固化成型,外观呈现半透明。该复合材料可应用于3D打印的数字投影成型(DLP)技术。

标签:
复合材料
上海 - 上海 来源:中冶有色网 2023-03-18
碳纤维车门及其生产方法

本发明涉及一种碳纤维车门,包括内板、外板、上加强板和下加强板,上加强板和下加强板焊接在一起形成加强板,加强板位于内板和外板之间。本发明还提供一种碳纤维车门的生产方法。本发明的优点体现在:由于内外板采用碳纤维复合材料,可以根据需要设计成合适的形状,以满足不同内、外饰件安装接口的需求,或者是满足不同车型外形对车门形状的需求,且在保证车门强度的情况下有效降低车门重量,大大降低车身重量及生产成本。

标签:
复合材料
上海 - 上海 来源:中冶有色网 2023-03-18
用于掘进机的截割头
用于掘进机的截割头 1082     
 0

本发明公开了一种用于掘进机的截割头,包括呈圆锥形的截割头本体、与截割头本体的圆周面相配合的螺旋叶片,截割头本体的圆周面上沿着螺旋叶片的螺旋方向等距设置有若干截割齿座,截割头本体的顶部密布有若干截割齿座,位于截割头本体圆周面上的相邻截割齿座之间设置有倾斜耐磨分料块;螺旋叶片由双金属耐磨复合材料一体成型制成,其包括低碳合金钢板以及设置于低碳合金钢层一侧的碳化铬耐磨板;截割齿座包括齿座本体、设置于齿座本体上方的连接部、与连接部相连接的截齿,连接部的上表面设置有通过激光和等离子熔敷的碳化钨合金层,截齿由硬质合金制成,使用寿命显著提高、导流效率有效增强、截割阻力大幅减少。

标签:
复合材料
上海 - 上海 来源:中冶有色网 2023-03-18
上一页 25 26 27 28 29 ... 307 下一页
共307页    到第

中冶有色为您提供最新的上海有色金属复合材料技术理论与应用信息,涵盖发明专利、权利要求、说明书、技术领域、背景技术、实用新型内容及具体实施方式等有色技术内容。打造最具专业性的有色金属技术理论与应用平台!

全国热门有色金属设备推荐
展开更多 +
全国热门有色金属技术推荐
展开更多 +

 

江西省隆恩特环保设备有限公司
宣传

报名参会
更多+

报告下载

有色专家
更多+

长沙矿冶研究院有限责任公司
中国工程院院士
昆明理工大学
教授
矿冶科技集团
副所长/研究员
赣州有色冶金研究所有限公司
副主任/高级工程师
北京科技大学
副院长/教授
赤泥综合利用研究报告2025
推广

热门技术
更多+

推荐企业
更多+

福建省金龙稀土股份有限公司
宣传

发布

在线客服

公众号

电话

顶部
咨询电话:
010-88793500-807