青岛垚鑫智能科技有限公司
宣传

位置:中冶有色 >

有色技术频道 >

分类:
全部
矿山技术
冶金技术
材料制备及加工技术
环境保护技术
分析检测技术
 
全部
功能材料技术
复合材料技术
新能源材料技术
合金材料技术
加工技术
地区:
全部
北京
天津
上海
重庆
河北
山西
辽宁
吉林
黑龙江
江苏
浙江
安徽
福建
江西
山东
河南
湖北
湖南
广东
海南
四川
贵州
云南
陕西
甘肃
青海
内蒙
广西
西藏
宁夏
新疆
其他
其他
展开
 
全部
杭州
宁波
温州
绍兴
湖州
嘉兴
金华
衢州
台州
丽水
舟山

浙江金华有色金属材料制备及加工技术理论与应用

免费发布技术信息>>
储能电站移动储能仓内锂电池火灾探测方法

本发明提供了一种储能电站移动储能仓内锂电池火灾探测方法,所述火灾探测方法具体为采集若干种火灾数据源对应的火灾数据,构建火灾判别概率函数,并获取每种火灾数据源对应的火灾判别概率,对每种火灾数据源之间的差异进行评估,并进行权重计算,以此对火灾判别概率进行修正,融合修正后火灾判别概率,获取火灾探测概率向量,并以此获取发生火灾概率,将发生火灾概率与第一预设报警概率进行比较,若超过,则判断火灾发生,进行告警;若未超过,则将其与第二预设报警概率进行比较,若超过,则判断存在阴燃火隐患,进行预警;若未超过,则对阴燃火发生时间进行预测。本发明利用多种数据源进行火灾情况判断,有效提高火灾探测结果的准确性。

标签:
加工技术
浙江 - 金华 来源:中冶有色网 2023-03-18
锂离子电池电极连续辊压装置

本发明公开了一种锂离子电池电极连续辊压装置,包括固定座,所述固定座的顶部外壁固定连接有固定架,且固定架的顶部内壁固定连接有多个第三弹簧,且第三弹簧的底部外壁固定连接有活动架,所述固定座的顶部外壁固定连接有支撑架,所述支撑架的外壁和活动架的外壁均设置有挤压辊,所述活动架和支撑架相对的一侧外壁均开设有两个滑槽,且滑槽的内壁滑动连接有滑板,所述滑板的一侧外壁设置有清洁机构。本发明能够对挤压辊的表面进行清洁处理,防止杂质粘附在挤压辊的表面导致挤压辊的表面凹凸不平对电池电极的辊压造成影响,能够提高装置对电池电极的辊压效果,防止由于辊压时产生的作用力导致电池电极的的固定发生松动。

标签:
加工技术
浙江 - 金华 来源:中冶有色网 2023-03-18
防止电压采集干扰锂电池组

本发明涉及一种防止电压采集干扰锂电池组,包括壳体,壳体内设置有模组支撑板,的模组支撑板上设置有第一电池模组、第二电池模组以及第三电池模组,它们之间相串联设置,其中,第一电池模组和第二电池模组相邻且其正面呈相反设置,第二电池模组和第三电池模组的正面在同一方向设置,且两者之间设有间距;第一电池模组和第二电池模组的上方设置有第一模组上盖,第一模组上盖的两侧设有折弯边结构,所述第三电池模组的上方设置有第二模组上盖,第二模组上盖的两侧设有折弯边结构,第二模组上盖上设置有电池管理系统。本发明能实现提高了采集的准确性、提高了电池的使用寿命,减少衰减电池失效安全性的问题。

标签:
加工技术
浙江 - 金华 来源:中冶有色网 2023-03-18
手持式锂电吹风机
手持式锂电吹风机 1167     
 0

本发明公开了一种手持式锂电吹风机,包括:机壳,与进风罩连接;风扇,设置在所述机壳内;电机,通过所述机壳固定安装,用以驱动所述风扇旋转以产生气流;吹风管,与所述机壳通过限位件连接并与所述进风罩一端连接,用于所述风扇产生气流导出,风管套壳,转动设置在所述吹风管上,外端设置可转动的风叶;辅助手柄,转动设置在所述风管套壳上;锁定组件,用于固定所述辅助手柄,通过摆动辅助手柄可实现对风叶角度的控制,使得使用者只需小幅度摆动吹风机即可实现更大面积的清扫工作;辅助手柄位置可调节可适用不同用手习惯的人群;挡风板随辅助手柄位置活动而活动,防止使用者的衣服被吸入吹风机而造成危险。

标签:
加工技术
浙江 - 金华 来源:中冶有色网 2023-03-18
用于高温存储的隔膜及其制备方法和锂离子电池

本发明提供了一种用于高温存储的隔膜及其制备方法和锂离子电池。所述隔膜包括基材与位于基材上的涂覆层,所述涂覆层包括减水耐高温功能材料。所述制备方法包括将喷涂液喷涂在基材上,干燥,得到所述用于高温存储的隔膜;其中,所述喷涂液中包括减水耐高温功能材料。所述隔膜采用含有减水耐高温功能材料(例如勃姆石)的涂覆层,隔膜水分低,组装成电池后,降低内部水分含量,减少LiPF6的分解;隔膜热收缩率低,在高温下热稳定性好,减弱隔膜氧化,高温存储仍能表现出较好的孔隙率。

标签:
加工技术
浙江 - 金华 来源:中冶有色网 2023-03-18
回收手机锂电池用的放电装置

本发明公开的一种回收手机锂电池用的放电装置,包括输送板,所述输送板上侧设有防护罩,所述防护罩内设有左右贯通的加工腔,所述加工腔内设有前后对称的点胶组件,所述点胶组件包括设置于所述加工腔底端内壁上且前后对称的电极抹胶板、设置于所述电极抹胶板上的凹槽、转动连接于所述凹槽内的投放辊、设置于投放辊内的接收槽、转动连接于所述凹槽右端的抹平辊,本发明采用往复结构推动电池移动,并通过电池移动转动辊轮的形式,在辊轮上设置凹坑,使得每次投放得到量为定值并被后续的辊轮抹平,并且,采用膏体划线的方式将电源的正负极连接,形成回路放电,避免了人工注射点胶方式中的注射量无法精确控制,以及无法批量化加工的问题。

标签:
加工技术
浙江 - 金华 来源:中冶有色网 2023-03-18
锂电电锤的功能旋钮装置

本实用新型公开了一种锂电电锤的功能旋钮装置,包括机壳和功能旋钮装置,所述的功能旋钮装置安装在机壳上,所述的功能旋钮装置包括旋钮、旋钮轴、O型圈和深沟球轴承,所述的旋钮与旋钮轴外端连接,旋钮轴穿过机壳的内孔,旋钮轴上设有密封环形槽,所述的O型圈套设在密封环形槽内且其外侧与内孔的内壁配合密封,所述的深沟球轴承设于旋钮轴的内端部。本实用新型在旋钮轴上设置环形槽,再将O型圈装入槽内,提高了密封性。本实用新型在旋钮轴的端部安装深沟球轴承,与离合器接触旋转摩擦,通过轴承旋转摩擦来实现离合锤钻功能,这种轴承旋转摩擦结构,可以大幅度减少离合器和旋钮轴之间的相互磨损。

标签:
加工技术
浙江 - 金华 来源:中冶有色网 2023-03-18
锂电电锤
锂电电锤 1015     
 0

一种锂电电锤,包括机壳、装夹装置、旋转把手以及电池包,所述电池包可拆卸安装于所述机壳底部,所述装夹装置与所述机壳转动连接,所述机壳上设置若干出风口,还包括挡风板升降机构,所述挡风板升降机构包括一级传动齿轮套、二级传动齿轮杆及挡风板,所述旋转把手与所述机壳连接部处设置齿部,所述齿部与所述一级传动齿轮套啮合,所述一级传动齿轮套与若干二级传动齿轮杆啮合传动,所述二级传动齿轮杆与所述挡风板上的齿条啮合,通过转动旋转把手实现挡风板的上下移动。转动旋转把手至与机壳垂直,这一侧的挡风板下降,将该侧出风口挡住,由另一侧出风;旋转把手竖直设置时,两侧出风口都保持打开状态,使得作业人员操作更加舒适也可以适应不同用手习惯的人群使用。

标签:
加工技术
浙江 - 金华 来源:中冶有色网 2023-03-18
具有保护功能的锂电钻
具有保护功能的锂电钻 1057     
 0

本实用新型提供了一种具有保护功能的锂电钻,包括壳体,所述壳体的内壁设置有电动机,且电动机的输出轴通过联轴器连接有钻头,所述壳体的一端通过螺纹连接有固定环,且固定环的一侧开设有若干滑动孔,所述滑动孔的内壁滑动连接有连接杆,所述连接杆的外壁套接有连接弹簧,所述连接弹簧的一端与防尘罩相连接,所述连接弹簧的另一端与固定环相连接,所述连接杆远离固定环的一端设置有防尘罩,所述防尘罩为透明材质制成。本实用新型能够保证防尘罩始终紧贴物体的表面,进而起到良好的保护效果,提高了工作人员使用的安全性。

标签:
加工技术
浙江 - 金华 来源:中冶有色网 2023-03-18
锂电无刷割草机
锂电无刷割草机 1052     
 0

本实用新型公开了一种锂电无刷割草机,它涉及园林工具领域,第一电机外罩与第二电机外罩通过数个螺丝固定连接,其内部安装有无刷电机,无刷电机的一端设置有连接套,连接套与传动轴的一端连接,无刷电机的另一端安装有风叶,其外部通过螺丝固定有导风罩,后罩壳内安装有线路板,线路板通过螺丝固定有线路板挡圈和散热片,第一电机外罩上安装有开关。它结通过在机身内设置无刷电机,不仅可以提高功率,而且使用寿命长,减低噪音,维护成本低,在保证使用性能基础上降低了能耗和维修费用,实现零排放无污染,实现真正意义上的绿色环保。

标签:
加工技术
浙江 - 金华 来源:中冶有色网 2023-03-18
用于锂硫电池的正极改性材料M-N-CNT及其制备方法和电池

本发明公开了一种用于锂硫电池的正极改性材料M‑N‑CNT及其制备方法和电池,其中M为Fe、Co或Ni,所述材料M‑N‑CNT采用如下方法制得:将金属盐的饱和DMF溶液转移到石英船中,放入管式炉的一端,在Ar气氛下,将管式炉加热至700‑1000℃,然后将石英船推入管式炉的加热区,直至饱和溶液完全反应,待自然冷却至室温,收集固体产物用王水、去离子水和乙醇依次洗涤,干燥即得正极改性材料M‑N‑CNT;采用该方法所制得的正极改性材料具有优异的电化学性能,不仅具有较高的导电性,而且具有优异的电催化特性,可以在高硫负载量下仍可实现高的面容量。本发明的方法简单且产量大、成本低,具有极大的应用潜力。

标签:
加工技术
浙江 - 金华 来源:中冶有色网 2023-03-18
锂电池包极耳贴胶机的定位装置

本发明公开了一种锂电池包极耳贴胶机的定位装置,其包括底座、第一定位机构、第二定位机构、极耳定位组件和夹紧组件;底座固定在机架上,底座的上端设置有平板,平板上开有两条相互垂直的槽,所述的第一定位机构和第二定位机构安装在底座上,第一定位机构和第二定位机构分别对应两条槽;平板上还设置有侧向抵块,第一定位机构与侧向抵块相对应;所述的极耳定位组件安装在底座的端部,极耳定位组件与第二定位机构相对应,夹紧组件安装在底座的侧方,夹紧组件对应平板的上方。本发明具有电池定位准确,定位可靠,极耳精度高的优点。

标签:
加工技术
浙江 - 金华 来源:中冶有色网 2023-03-18
基于改进EKF算法的锂电池SOC估算方法

本发明提出了一种基于改进EKF算法的锂电池SOC估算方法。在EKF算法基础上,以先验估算的SOC值为参考点,对观测方程重新进行线性化处理,使估算的SOC值更接近真实值,多次重复这一过程,构成迭代EKF。同时使用Levenberg‑Marquardt方法对改进EKF过程中的协方差矩阵进行修正,从而提高迭代EKF的估算性能,保证估算过程的收敛性。本发明的方法有效解决了EKF算法估算SOC时,由于使用泰勒展式进行线性化过程中忽略非线性函数的高阶项而导致估算性能差的问题,提高SOC估算的精度和稳定性。

标签:
加工技术
浙江 - 金华 来源:中冶有色网 2023-03-18
溴化锂吸收式制冷机组
溴化锂吸收式制冷机组 1170     
 0

本实用新型公开了一种溴化锂吸收式制冷机组,涉及制冷机组技术领域,包括机组体,所述机组体的前侧固定连接有控制器,所述控制器的前侧固定连接有显示器,所述显示器的一侧固定连接有软键盘,所述软键盘的顶部设有转扭,所述机组体的顶部后侧固定连接有连接管,所述连接管的一端固定连接有固定板,所述固定板的中部固定连接有进水管。本实用新型,通过机组体、连接管、固定板、进水管、转扭、软键盘和显示器之间的配合设置,能够有效的提高制冷机组的控制能力,便于制冷机组的操作,同时便于进水装置的安装和拆卸,防止外界物质堵塞内部管道,解决了现有的制冷机组,控制能力较弱,人机交互性较差,进水装置的安装和拆卸较为困难的问题。

标签:
加工技术
浙江 - 金华 来源:中冶有色网 2023-03-18
锂电池拼接支架
锂电池拼接支架 800     
 0

本实用新型提供了一种锂电池拼接支架,包括一个独立的支架主体,支架主体上设有至少两个电池仓,所述的支架主体内设有电子元器件,至少两个电池包分别插连在电池仓上,所述电池包的针脚通过电池仓内的触片连接后再接入电子元器件,各电池包通过电子元器件并联或串联,所述的支架主体上设有输出端,输出端与电子元器件电连接,所述输出端与电器连接。本实用新型可以通过现有的多个普通电池包进行拼接,使其并联或串联来改变输出参数,独立的支架将电池包组合起来可以独立的使用,应用在不同的场景中。

标签:
加工技术
浙江 - 金华 来源:中冶有色网 2023-03-18
工作效率高的锂电清洗机

本实用新型公开了一种工作效率高的锂电清洗机,涉及清洗机技术领域,包括电机壳,所述电机壳左端连接有高压泵,所述高压泵包括泵盖和油缸,所述电机壳中设置有电机,所述电机与高压泵内的泵轴驱动连接,所述泵盖中设置有泵腔,所述泵腔的前端设置有出水管,所述出水管上设置有排气阀和溢流阀,所述溢流阀与微动开关盒相连,所述泵腔的后端连接有进水管,所述泵轴的左端固定连接有斜盘座,所述泵盖中滑动连接有三根活塞杆,所述活塞杆左端伸入泵腔中,所述活塞杆右端顶在斜盘座左侧的轴承端面上。本实用新型使用便捷,性能稳定可靠,负载低,工作效率高。

标签:
加工技术
浙江 - 金华 来源:中冶有色网 2023-03-18
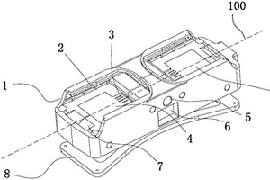
具有防水功能的锂电池用固定支架

本实用新型公开了具有防水功能的锂电池用固定支架,它包括安装底板(1),安装底板(1)上设置有下支架(2)和上支架(3);上支架(3)和下支架(2)的表面上均设有多个容置环槽(4),每个容置环槽(4)内侧面上均设有多个卡槽(5);每个卡槽(5)上均安装有弹性卡件(6);下支架(2)和上支架(3)的每个侧面上均设有两个滑轨(7),每个侧面的两个滑轨(7)之间均安装有侧支撑板(8);所有侧支撑板(8)的顶端部之间安装有防水盖(9)。本实用新型不仅能够扩大适用范围,还具有防水效果好、结构稳定性高、结构强度高、使用寿命长和散热效果好的优点。

标签:
加工技术
浙江 - 金华 来源:中冶有色网 2023-03-18
锂电池组充电装置
锂电池组充电装置 725     
 0

本实用新型公开了一种锂电池组充电装置,包括:交流电输入接口,风扇,连接于风扇2与交流电输入接口的风扇电源,连接于交流电输入接口与接线排之间的电池电源,连接于接线排的输出接口;电池电源有多个且互相连接;该装置通过改进电池电源的连接方式,对单只电池进行充电也能与其他组内电池保持一致性,使得装置同时能给12只单体电池充电,也可同时利用多个充电装置对整个电池组进行充电;单个电池模组中的所有电池都可以充电至满电状态。

标签:
加工技术
浙江 - 金华 来源:中冶有色网 2023-03-18
锂电剪刀
锂电剪刀 1003     
 0

本实用新型属于电动工具技术领域,特指一种锂电剪刀,包括壳体,壳体包括前端的第一安装部、中段的握持手柄和后端的第二安装部,所述第一安装部、握持手柄和第二安装部内部连通,所述第一安装部内设置有刀片组件和传动组件,所述第二安装部内设置有与所述传动组件连接的驱动电机,所述握持手柄内设置有加长电机轴,加长电机轴一端与所述驱动电机连接,另一端与所述传动组件连接;所述第二安装部的后端设置有电源安装座,壳体上设置有控制开关,本实用新型的握持手柄可以设置得更细,更加方便省力;驱动电机的形状也不再受限制,功率能进一步提升;同时避免驱动电机与线路贴合加快线路的老化,本实用新型也为开设散热口提供了可能。

标签:
加工技术
浙江 - 金华 来源:中冶有色网 2023-03-18
小型建筑管材高精度锂电电圆锯

本实用新型提供一种小型建筑管材高精度锂电电圆锯,涉及电圆锯技术领域,包括底座、驱动电机和夹持装置,底座的上表面转动连接有驱动电机,驱动电机的驱动端固定连接有锯片,驱动电机远离锯片的一侧固定连接有握把,底座的上表面设置有夹持装置,夹持装置包括滑轨,滑轨靠近底座的一侧与其固定连接,滑轨的上表面固定连接有抵块。本实用新型,通过设置抵块、卡块和限位块,能够在设备切割管材时对管材进行夹持,避免了管材在切割的过程中发生位移导致切割发生误差的问题,同时避免了使用者在切割管材的过程中需手扶管材的问题,增加了设备的便利性。

标签:
加工技术
浙江 - 金华 来源:中冶有色网 2023-03-18
锂电工具开关
锂电工具开关 936     
 0

本实用新型公开了一种锂电工具开关,包括手柄、壳体和推杆,所述手柄转动连接在所述壳体上,所述推杆一端转动连接在所述手柄上,所述推杆的另一端伸入所述壳体内与连接块相连,所述壳体内设置有滑块,所述连接块和所述滑块之间设置有弹簧,所述滑块上设置有u型弹簧,所述u型弹簧的两端分别抵在所述壳体上,所述连接块的顶部设置有一个凹槽,所述凹槽内设置有触片,所述触片固定在一个导向块上,所述导向块在所述凹槽内滑动,所述壳体上所述触片相对应的位置处设置有线路板,所述线路板上设置有导带。

标签:
加工技术
浙江 - 金华 来源:中冶有色网 2023-03-18
便于排气和补液的锂电池盖板

本实用新型公开了一种便于排气和补液的锂电池盖板,包括底板,底板上设有正极端和负极端,正极端和负极端之间设有注液端和底板开口,注液端上开设有注液口,注液口与底板开口相对设置,注液端和底板之间设有旋转电磁阀,旋转电磁阀上开设有第一开口、第二开口和第三开口,第一开口和第二开口分别与第三开口相连,旋转电磁阀用于控制第一开口与注液口相连,第二开口或第三开口与底板开口相连。本实用新型在使用过程中也能方便排气和补液,以解决产气引起的性能和安全问题。

标签:
加工技术
浙江 - 金华 来源:中冶有色网 2023-03-18
锂电池镍防爆保护装置

本实用新型公开了一种锂电池镍防爆保护装置,包括镍膜、盖板和泄压盖,所述的镍膜和泄压盖分别焊接在盖板的两面;所述的镍膜中间设置有圆型凸起,镍膜的边缘通过焊接固定在盖板上,盖板中间开设有通孔,镍膜上的圆型凸起伸入到通孔内;所述的盖板上下两端分别设置有电池正负极符号,盖板上设置有至少一组安装孔;所述的泄压盖为带有法兰盘的拉伸件,泄压盖的底面设置有数个泄压孔洞和一个膜刺,膜刺由泄压盖的底面切舌翻边而成;所述泄压盖上的法兰盘的法兰面焊接固定在盖板上;本实用新型的有益效果:简单、实用,生产成本低,使用、操作方便、安全,维修保养简单。

标签:
加工技术
浙江 - 金华 来源:中冶有色网 2023-03-18
用于锂离子电池正极材料粉体生产用振动筛

本实用新型公开了一种用于锂离子电池正极材料粉体生产用振动筛,包括机座,机座通过弹簧连接振动筛的筛盘,筛盘底部设有振动电机,筛盘上安装有筛网,筛盘通过第一束环与筛框连接,筛框通过第二束环与防尘盖连接,进料口设于防尘盖上,防尘盖上安装有静电消除装置,静电消除装置的静电发射口朝下设置,筛框的侧面设有筛上料出口,筛盘的侧面设有筛下料出口。本实用新型具有结构简单、造价便宜、生产效率高、筛分效率高、产品质量好及经济效益好等特点。

标签:
加工技术
浙江 - 金华 来源:中冶有色网 2023-03-18
抗震效果好的高性能锂电曲线锯

本实用新型提供一种抗震效果好的高性能锂电曲线锯,涉及曲线锯技术领域,包括设备本体、安装座、通风板、滑板、锯条和清理装置,安装座与设备本体的一端固定连接,通风板与安装座的下表面固定连接,滑板与设备本体靠近安装座的一端固定连接,锯条与滑板表面转动连接,清理装置位于安装座表面设置,清理装置包括伸缩弹簧,伸缩弹簧与安装座内壁固定连接。本实用新型,设置清理装置,便于快速清理锯条作业时产生的废屑,避免由于锯条在作业时会使工件产生大量的废屑,致使操作人员无法看清标线,易造成加工线路错误,降低操作的失误率,减少使用者的经济损失,提高使用者的工作效率。

标签:
加工技术
浙江 - 金华 来源:中冶有色网 2023-03-18
锂电滑板车发光踏板
锂电滑板车发光踏板 791     
 0

本实用新型属于电动滑板车技术领域,其公开了一种锂电滑板车发光踏板,包括车架,车架的上部设有踏板组件,踏板组件包括灯带板,灯带板的上部设有导光板,导光板的上部设有灯罩,灯带板的外侧镶嵌有加强框架,踏板组件的右端设有两个让位缺口,灯带板上设有驱动板,本申请在使用时,车架的上部设有踏板组件,踏板组件包括灯带板、导光板和灯罩,导光板能够将灯带发出的灯光均匀的散发,起到提高均匀度的作用,灯带板的外侧镶嵌有加强框架,能够起到加强整体强度的作用,发出灯光能够起到夜间警示作用,踏板组件的下侧设有减震安装板,安装板的下部设有减震橡胶垫,光滑杆的下部焊接有弹簧能够起到多重减震作用,防止灯板损坏。

标签:
加工技术
浙江 - 金华 来源:中冶有色网 2023-03-18
带自动泵油加油装置的锂电锯

本实用新型公开了一种带自动泵油加油装置的锂电锯,它涉及电动工具领域,机身的前端内安装有齿轮箱,电机通过电机连接板与齿轮箱连接,电机上设置有电机输出轴,电机输出轴的前端连接有驱动齿轮,驱动齿轮与数个减速齿轮相啮合,数个减速齿轮固定在保持架上,且与齿圈内侧的内齿圈相啮合,齿圈安装在齿轮箱的中心孔侧部。它通过链轮与转动轴连接,转动轴带动自动泵油工作,自动泵油连接油箱油管给导板链条供油,使链条在工作时一直处于润滑状态,不会卡死或发烫,解决了工作效率低和浪费链条的问题,行星减速方式可以使用小功率电机来减轻手持式工具的自重,小功率电机能耗小,增加电池的续航时间。

标签:
加工技术
浙江 - 金华 来源:中冶有色网 2023-03-18
锂电搅拌机
锂电搅拌机 729     
 0

本实用新型公开了一种锂电搅拌机,包括外壳体,外壳体内设置有动力组件和齿轮箱,动力组件包括驱动电机和变速机构,变速机构与驱动电机连接,齿轮箱包括输出轴,输出轴与变速机构连接,外壳体的两侧设置有一组可折叠手柄装置,外壳体的外侧可拆卸连接一电池组件,电池组件包括基柱和连接在基柱上的电池包,基柱上还连接有旋转电池盖,旋转电池盖覆盖于电池包的外侧,电池包通过快速接插件与驱动电机连接。将手柄装置设计为可折叠,方便手柄装置与外壳体之间的展开和折叠,提高使用灵活性,便于搅拌机的收纳和运输;将电池组件通过可拆卸方式安装于外壳体上,结构简单,便于电池包的更换,提高搅拌机的适用范围和使用有效性。

标签:
加工技术
浙江 - 金华 来源:中冶有色网 2023-03-18
便于降温的锂电园林工具

本实用新型公开一种便于降温的锂电园林工具,包括电动手锯壳体,所述电动手锯壳体的一侧固定连接有手锯传动电机,所述手锯传动电机的外侧壁套设有固定筒,本实用新型所达到的有益效果是:本实用新型结构简单,通过设置卡接机构将固定筒套设在手锯传动电机的外部,散热机构在固定筒的内部对手锯传动电机进行散热降温处理,防止手锯传动电机长时间使用处于高温状态,避免对手锯传动电机因高温状态产生损坏,通过设置除尘机构,能够对散热机构抽送外部空气在过滤网上粘附的木屑进行清理,清理操作简单,且设置的吹风管远离固定筒的一端吹向电动手锯的锯条部分,能够对锯条上粘附的木屑进行清理。

标签:
加工技术
浙江 - 金华 来源:中冶有色网 2023-03-18
改良型电动车用锂电池箱

本实用新型是一种改良型电动车用锂电池箱,包括壳体,及连接在壳体后方的副箱,及设置在壳体内部的电池,及连接在壳体侧方的锁头,所述壳体的底部设置有护板,护板的下方设置有与壳体相连接壳盖,所述壳体的上表面设置有指示灯,所述副箱的内部设置有保险丝,副箱的底部连接有箱盖,所述护板与电池为一体式连接,所述锁头为电源锁,且锁头、电池、护板、保险丝与指示灯之间电连接;该电池箱采用护板与电池之间通过线路板一体式连接固定,改变了常规电池箱所采用的电线连接方式,有效的提高的生产者的生产效率与使用安全,而保险丝的单独安装设计也方便了使用者对保险丝进行观察与更换,而锁头的额外设计更是提高了使用者的使用安全。

标签:
加工技术
浙江 - 金华 来源:中冶有色网 2023-03-18
上一页 18 19 20 21 22 ... 69 下一页
共69页    到第

中冶有色为您提供最新的浙江金华有色金属材料制备及加工技术理论与应用信息,涵盖发明专利、权利要求、说明书、技术领域、背景技术、实用新型内容及具体实施方式等有色技术内容。打造最具专业性的有色金属技术理论与应用平台!

全国热门有色金属设备推荐
展开更多 +
全国热门有色金属技术推荐
展开更多 +

 

江西省隆恩特环保设备有限公司
宣传

报名参会
更多+

报告下载

有色专家
更多+

鞍钢集团有限公司
中国工程院院士
矿冶科技集团有限公司
所长/研究员级高工
湖南科技大学
所长/教授
北京科技大学、中国科学院
院士
清华大学
研究员
赤泥综合利用研究报告2025
推广

热门技术
更多+

推荐企业
更多+

福建省金龙稀土股份有限公司
宣传

发布

在线客服

公众号

电话

顶部
咨询电话:
010-88793500-807