青岛垚鑫智能科技有限公司
宣传

位置:中冶有色 >

有色技术频道 >

分类:
全部
矿山技术
冶金技术
材料制备及加工技术
环境保护技术
分析检测技术
 
全部
功能材料技术
复合材料技术
新能源材料技术
合金材料技术
加工技术
地区:
全部
北京
天津
上海
重庆
河北
山西
辽宁
吉林
黑龙江
江苏
浙江
安徽
福建
江西
山东
河南
湖北
湖南
广东
海南
四川
贵州
云南
陕西
甘肃
青海
内蒙
广西
西藏
宁夏
新疆
其他
其他
展开
 
全部
杭州
宁波
温州
绍兴
湖州
嘉兴
金华
衢州
台州
丽水
舟山

浙江金华有色金属材料制备及加工技术理论与应用

免费发布技术信息>>
用于锂电池电芯浆料的混合装置

本发明公开的一种用于锂电池电芯浆料的混合装置,包括混料罐,所述混料罐内设有开口向上的搅拌腔,所述搅拌腔下端设有传动腔,所述传动腔上端转动连接有传动轴,所述传动轴上设有位于所述搅拌腔内的升降装置,所述升降装置包括固定于所述传动轴上端的密封箱、设置于所述密封箱内的爬升腔、滑动连接于所述爬升腔上端内壁上的驱动轴,本发明采用底部旋转铲除凝结浆料,并带动浆料旋转,然后结合左右横切的搅拌结构,保障已凝结的浆料可重新融合在原有浆料中,同时,通过绳索的结构控制横切的搅拌结构上下移动,使得浆料不同高度的位置均可被混合搅拌,加速混合过程,保障浆料品质的同时提高效率。

标签:
加工技术
浙江 - 金华 来源:中冶有色网 2023-03-18
高效动力锂电池隔膜负极一体材料的制备装置

本实用新型涉及一种制备装置,更具体的说是一种高效动力锂电池隔膜负极一体材料的制备装置,包括外框组合体、电机、同步带、曲轴、中间杆和压紧组合,底板可方便前侧板和后侧板的固定连接;电机固定连接在外框组合体前端面的中端,同步带的下端通过带轮固定连接在电机的输出轴上,同步带的上端间隙配合连接在曲轴的前端,曲轴的前后两端分别转动连接在外框组合体前后两端的上侧,底板可方便两个滑架杆的固定连接;固定环形版可方便与套管间隙配连接;固定环形版可方便放置制作负极一体材料的液浆;电机固定板可方便固定连接电机;两个矩形滑块可方便在两个矩形滑槽内滑动连接;弹簧处于压缩状态,推动着端板和套管彼此远离。

标签:
加工技术
浙江 - 金华 来源:中冶有色网 2023-03-18
锂电池模块的电平衡结构

一种锂电池模块的电平衡结构,包括若干个通过串、并联方式连接在一起的单体电池,各单体电池通过一电池控制单元达到电平衡状态,电池控制单元包括一平均电压测算电路、一比较电路和多个与各单体电池对应的旁路器,平均电压测算电路周期性地检测各单体电池的电压并算出其平均电压,然后,比较电路计算各单体电池电压与平均电压的误差,再与预设的电压误差值进行比较,如果电压的误差超出预设值,与该单体电池对应的旁路器便会开启,减少对该单体电池的充、放电,若电压的误差小于预设值,与该单体电池对应的旁路器便会断开。本实用新型有效避免了过充电、过放电和反极等现象的出现,确保了电池模块充、放电工作的正常进行。

标签:
加工技术
浙江 - 金华 来源:中冶有色网 2023-03-18
手持式锂电角磨机
手持式锂电角磨机 753     
 0

本实用新型涉及角磨机技术领域,且公开了一种手持式锂电角磨机,包括壳体,壳体的左端连接连接有防护罩,防护罩的内壁固定连接有弧形喷框,防护罩内转动连接有切割轮,壳体的上侧壁固定连接有两个弧形板,两个弧形板的上侧壁均前后对称开设有两个插槽,四个插槽内均插接有插块,四个插块的上侧壁固定连接有同一个水箱,水箱的内壁固定连接有泵机,泵机的输出端贯穿水箱的侧壁且固定连通有连接管,连接管的左端通过连接机构与弧形喷框的上侧壁固定连通。本实用新型能够在利用角磨机切割瓷砖、大理石等材料时,自动将水淋向切割处,减少了扬尘也避免了操作人员一只手淋水一只手切割存在的安全隐患,保证了操作人员的工作质量。

标签:
加工技术
浙江 - 金华 来源:中冶有色网 2023-03-18
电动车锂电电池盒输出电源自动连接装置

本实用新型属于电动车类,具体是一种电动车锂电电池盒输出电源自动连接装置,包括电池盒、电池盒底座,其特征在于:电池盒内部安装上触点,上触点带有弹性元件,电池盒底座上安装下触点,下触点带有铜片,并连接电源线,当电池盒放入电池盒底座时,上触点的弹性元件和下触点的铜片就互相连接接通电源,使电流从下触点的电源线输出。本实用新型电池盒在输出电源的过程中无需手工操作即可实现方便准确的连接,从而使连接更为可靠和方便。同时,使用该连接装置的电动车可实现电池盒的输出电源能够自动连接,极大的方便了用户。

标签:
加工技术
浙江 - 金华 来源:中冶有色网 2023-03-18
功能可扩展的锂电直磨机

本发明涉及一种功能可扩展的锂电直磨机,包括机身和机头,机身中的输出轴与机头作动力连接,机头的最前端是夹持头,机头的中间段是与夹持头同轴设置的中心孔装夹工位;夹持头输出为原直磨机的转速,中心孔装夹工位则输出减速后的转速,亦两者转速不同,安装在夹持头的为柄式磨具,安装在中心孔装夹工位的为中心孔磨具。本发明增装一个安装中心孔方式装夹的工位,根据磨具的不同,可用于不同的零件加工,其引用了直磨机自身的动力作为其增设功能的动力,通过加装部分构件使得直磨机具有较好的精准加工功能,为某些制作、维修等不便于上大型机床的零件加工提供了另一种选择,扩大了直磨机的工作范围,提高了直磨机的使用效率。

标签:
加工技术
浙江 - 金华 来源:中冶有色网 2023-03-18
锂电冲击钻
锂电冲击钻 1087     
 0

本发明公开了锂电冲击钻,包括夹头,所述夹头固定在连接套上,所述连接套上设置有一圈挡圈,所述挡圈上设置有三个通孔,所述通孔通孔内滑滑动连接有杆,所述杆与所述夹头内的钻头平行设置,且三根所述杆位于所述钻头一侧的端部所在平面与所述钻头的轴线垂直,所述杆上设置有刻线,还包括向着所述杆发出发射器和接收所述杆反射回来光线的接收器,所述发射器发射的光线经过所述刻线时,反射的光线强度会发生变化。使用时,钻头与墙壁接触时,三根杆的同时与墙壁接触,我们可以通过三根杆缩入的距离来判断钻头与钻孔平面之间的角度,而杆缩入的距离可以通过接收器上接收到的光线强度的变化次数来判断。另外钻孔的深度可以从三根杆缩入的数据来进行计算得到。

标签:
加工技术
浙江 - 金华 来源:中冶有色网 2023-03-18
便捷高效的多功能锂电除草器

本实用新型提供一种便捷高效的多功能锂电除草器,机头内设有高温发生装置,除草附件与高温发生装置连通设置,电池包给高温发生装置供电以使高温发生装置工作,高温发生装置包括发热芯、风扇和驱动风扇的电机,电机驱动风扇转动将发热芯产生的热量吹出形成热风,机头前端设有将热风排出的热风管,除草附件与热风管连通设置,热风管的出风口处设有与热风管连通的导热网,导热网包括内网和外网,内网和外网均安装在出风口处,除草附件与机头衔接处设有隔热金属护管,隔热金属护管的外壁上设有多个热量导向槽。本实用新型既能作为除草器使用,又能作为点碳器使用,作为点碳器使用时,双网导热既能保证热风输出又能避免杂质进入机器内。

标签:
加工技术
浙江 - 金华 来源:中冶有色网 2023-03-18
手持式锂电工具上的开关

本实用新型公开了一种手持式锂电工具上的开关,包括开关、手柄、电池包,所述手柄内设置有线路板外壳,所述线路板外壳内设置有集成线路板,所述开关与所述集成线路板为一体式结构,通过电线直接与所述集成线路板连接。将原有的多组线路板整合设置为集成线路板,可接入多组电线在同一块线路板上,大大缩短了电线的连接长度,在集成线路板外设置线路板外壳,有效避免了灰尘、水与集成线路板直接接触导致短路的情况发生,设置开关为非信号开关,直接控制电池包的连通情况,与原有的信号开关区别在于是否使电池包一直处于放电状态。

标签:
加工技术
浙江 - 金华 来源:中冶有色网 2023-03-18
高防水性能锂电池组件

本实用新型公开了一种高防水性能锂电池组件,包括防水壳体和法兰盖板,防水壳体的一端上部开设有安装通口,安装通口的口部固定连接有法兰盘,法兰盖板通过螺栓固定安装在法兰盘的顶部,法兰盖板的顶部固定连通有两组蛇形管,绝缘导线的一端连接有绝缘的连接头,连接头的一端开设有螺纹口,螺纹口的内部一端安装有与绝缘导线内部导体连接的导电接触头。本申请通过防水壳体、法兰盘以及法兰盖板能够起到良好的防水效果,利用连接头与外接头的配合,接电处也处于密封状态,防止漏电;即使外部水浸没蛇形管,也无法进入到防水壳体内部,起到很好的防水效果,且在正常使用时,防水壳体内部的气体能够从蛇形管内排出,不会形成过压。

标签:
加工技术
浙江 - 金华 来源:中冶有色网 2023-03-18
具有防摔机构的智能锂电平衡车

本实用新型公开了一种具有防摔机构的智能锂电平衡车,在平衡车底板下部设置轮箱体,在轮箱体内部安装有防摔机构,所述防摔机构分为前端连杆和后端连杆,前端连杆包括短连杆、曲杆和防摔轮,后端连杆包括长连杆、和防摔轮,前端连杆和后端连杆呈前后错位对称铰接在驱动轮盘两侧,且中部分别铰接在轮箱体底边内部前后边缘处错位焊接的摆动座上,针对现有技术存在的不足。本实用新型提供一种带有安全保护装置的防摔平衡车,具有稳定性好、安全性能完善的特点。设置在车体中间的防摔机构为一个呈规则的平直体状的平衡车具备了三角形的稳定性,不仅加强了平衡车的平衡性,还起到了支撑的作用。

标签:
加工技术
浙江 - 金华 来源:中冶有色网 2023-03-18
锂电打草机
锂电打草机 1045     
 0

本实用新型公开了一种锂电打草机。它包括主机和打草装置,所述主机包括操作装置和电源,所述操作装置包括机壳和设置在机壳内的控制器,所述电源包括串联PCB板、第一左电池转接板、第一右电池转接板、与第一左电池转接板匹配的左电池包、与第一右电池转接板匹配的右电池包,所述第一左电池转接板、第一右电池转接板都与机壳可拆卸连接,所述串联PCB板左右两端分别与第一左电池转接板的接线端子、第一右电池转接板的接线端子插接,所述串联PCB板还与控制器电连接,所述控制器、第一左电池转接板、第一右电池转接板通过串联PCB板串联。本实用新型能够适配不同型号的电池包,给客户更换电池包带来了便利。

标签:
加工技术
浙江 - 金华 来源:中冶有色网 2023-03-18
锂电冲击钻
锂电冲击钻 970     
 0

本实用新型公开了一种锂电冲击钻,包括吸灰罩、水箱和冲击钻本体,所述冲击钻本体的一侧外端面焊接有固定块,且固定块的一侧外端面活动安装有钻头,所述冲击钻本体的下表面焊接有手柄,所述吸灰罩套接在冲击钻本体的外表面,且吸灰罩通过固定螺栓固定在冲击钻本体的外表面上,所述吸灰罩的内部安装有第一连接管,且第一连接管的一侧外端面法兰连接有吸头,所述第一连接管的一侧法兰连接有贯穿冲击钻本体的第二连接管,且第二连接管的一侧法兰连接有三通管,所述水箱焊接在冲击钻本体的上表面,且水箱的内部焊接有水泵,所述三通管的一端与水箱连通,且三通管与水箱连通处连接有第一阀门。本实用新型可以收集所有灰尘且可以降低钻头温度。

标签:
加工技术
浙江 - 金华 来源:中冶有色网 2023-03-18
锂电电钻
锂电电钻 838     
 0

本实用新型公开一种锂电电钻,包括电钻主体,所述主体上设置夹持部,所述夹持部转动设置在所述主体上,在所述主体中设置第一转动轴和第二转动轴,所述夹持部与第二转动轴一端连接,在所述第二转动轴另一端设置轴套,所述第二转动轴和轴套活动连接在所述主体中,当所述轴套滑动至第一转动轴上时,所述第一转动轴和第二转动轴保持同步。通过第一转动轴和第二转动轴的分开设置,只有电钻在按在物件上工作时,夹持部带动钻头转动,在非工作环境下,夹持部在误触开关后依旧不会转动,安全性更高,同时配合方形槽和限位块,进一步可以锁定非工作状态下的第二转动轴,便于更换钻头。

标签:
加工技术
浙江 - 金华 来源:中冶有色网 2023-03-18
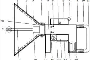
高性能锂电池铜箔生产用助滤剂的制造设备

本实用新型涉及工业领域,更具体的说是高性能锂电池铜箔生产用助滤剂的制造设备,包括存放装置、连接装置和压力腔,其有益效果是可以加铜箔电解液的同时自动加助滤剂,加铜箔电解液时,储液桶变重,压着弹簧向下移动,滑动圆柱就会向下移动,空气通过连接装置,送到助滤剂桶内,根据压强平衡原理,进入气体就会把助滤剂桶中的助滤剂从出液管压出,进到到储液桶内,实现助滤剂的作用,所述的存放装置包括储液桶、排液管、排液阀门、弹簧、弹簧固定腔、圆桌、下端连接头、滑动圆柱和滑动腔,弹簧固定腔焊接在圆桌上表面,滑动腔插在弹簧固定腔内,滑动腔焊接在圆桌上表面,滑动圆柱滑动连接在滑动腔内,下端连接头穿过圆桌桌面。

标签:
加工技术
浙江 - 金华 来源:中冶有色网 2023-03-18
电动汽车锂离子电池模组

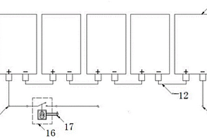
本实用新型公开了一种电动汽车锂离子电池模组,包括模组壳体以及设于模组壳体内的若干软包电芯,相邻两个软包电芯串联或者并联,模组整体具有一个总正极和一个总负极,该模组的总正极经过一个模组内部受控开关与相邻模组的总正极或者总负极连接,所述模组内部受控开关的输入端连接输入信号,当该模组存在安全隐患时,通过输入信号控制模组内部受控开关切断该电池模组与相邻电池模组的连接。当该模组存在安全隐患时,通过输入信号控制模组内部受控开关切断该电池模组与相邻电池模组的连接,保证其他电池模组的安全。相邻两个电芯之间通过镍片连接,电流大于500A会熔断,避免电流过大烧毁整个模组内的电芯。

标签:
加工技术
浙江 - 金华 来源:中冶有色网 2023-03-18
不锈钢锂盐桶
不锈钢锂盐桶 858     
 0

本实用新型涉及一种不锈钢锂盐桶,包括桶体、上盖,上盖的中心设置开口,开口处设置进出料口,其特征在于,上盖设置成锥形漏斗状,在上盖的侧壁设置有通孔,通孔处设置气体保护管道且管口向上;所述桶体的上方设置有用于支撑桶体的支撑座,支撑座包括沿着桶体上部的侧壁环绕连接而成的支撑座侧壁,支撑座侧壁从桶体的上部竖直向上延伸,支撑座的上边缘位于进出料口之上。本实用新型稳定性强,为桶体增加了底座和支撑座,稳定支撑,又便于出料,物料在桶体内得到充足的保护;密封性好,杜绝空气中有害物质和其他异物侵入,确保桶体内存放的液体不会受到外界污染;具有更高的耐腐性,且耐受更高的压力,广泛适用于多种高压场合。

标签:
加工技术
浙江 - 金华 来源:中冶有色网 2023-03-18
带保护套的锂电剪刀
带保护套的锂电剪刀 1072     
 0

本实用新型属于电动工具技术领域,特指一种带保护套的锂电剪刀,包括壳体,壳体前端设置有刀片组件,壳体内设置有与所述刀片组件连接的驱动装置和传动装置,壳体的后端设置有电源安装座,所述壳体上成型有握持手柄,握持手柄的一侧成型有控制开关;所述刀片组件外露于壳体前端,刀片组件上套设有保护套,保护套形状与所述刀片组件的形状相适配,本实用新型通过在刀片组件上外罩保护套,避免锋利的刀片外露,一方面更加安全,防止掉落时或者儿童误拿时伤人;另一方面能够保护刀片组件,隔绝外部水汽防止其受潮生锈,以及提供缓冲作用,防止其碰撞、掉落时毁损,提高本实用新型的使用寿命。

标签:
加工技术
浙江 - 金华 来源:中冶有色网 2023-03-18
锂离子电池卷芯搬运装置

本实用新型公开了一种锂离子电池卷芯搬运装置,包括移动小车,移动小车上设置有可升降的托盘,托盘与移动小车之间设置有升降驱动装置,所述移动小车上设置有粉尘挡板,粉尘挡板位于托盘的下方,粉尘挡板的面积大于托盘的面积;托盘上设置有环形管,环形管环绕设置在托盘的边缘处,环形管的内侧设置有若干吸尘孔,移动小车上设置有吸尘机,吸尘机上设置有吸尘管,吸尘管与环形管相连。本实用新型在对电池卷芯进行搬运时,能够有效避免极片粉尘掉落到车间地面上,从而避免了对车间环境造成污染。

标签:
加工技术
浙江 - 金华 来源:中冶有色网 2023-03-18
锂电池包极耳贴胶机的贴胶装置

本发明公开了一种锂电池包极耳贴胶机的贴胶装置,包括固定座、上料盘、收料盘;所述的上料盘中设置有胶纸卷,上料盘铰接在固定座上;收料盘与上料盘相对应,收料盘通过减速电机安装在固定座上;该装置还包括转动滚筒组件、切刀组件、覆压组件、移贴组件和紧定组件;转动滚筒组件连接在固定座中,覆压组件位于转动滚筒组件的上方;切刀组件安装在固定座上,对应转动滚筒组件的侧方;所述的移贴组件对应转动滚筒组件的下方,紧定组件对应移贴组件的正下方。本发明具有适应小面积贴胶,贴胶效率高的优点。

标签:
加工技术
浙江 - 金华 来源:中冶有色网 2023-03-18
环形散热防水锂电池包组件及制备工艺

本发明公开了一种环形散热防水锂电池包组件,包括连接头、电池组、隔离架、壳体以及风球;壳体包括内筒和外筒,内筒和外筒的底部通过环形连接板固定连接,风球安装在环形连接板的底部中心,且风球的内部与内筒的内部连通;外筒的外侧通过散热连接片固定连接有散热筒;电池组以及隔离架均设置有若干组,且若干组电池组之间串联连接;且电池组和隔离架交错安装在内筒与外筒之间的安装区中。本发明电池组设置为环形结构,通过壳体以及风球配合,在使用时,风球受到外界风力,能够进行旋转抽风,形成散热风,在无动力情况下加速壳体的散热效果,从而降低电池组的温度;且电池组是密封在壳体内的,在不降低散热的情况下能够实现完全防水。

标签:
加工技术
浙江 - 金华 来源:中冶有色网 2023-03-18
正极浆料及其制备方法、一种极片及其制备方法和锂离子电池

本发明提供了一种正极浆料及其制备方法、一种极片及其制备方法和锂离子电池。所述正极浆料包括固体组分和溶剂,所述固体组分以质量百分数计,包括以下组分:三元正极材料90‑98%,导电剂0.5‑5%,润滑剂0.1‑2%,粘结剂0.5‑3%。所述正极浆料制备方法包括:(1)向三元正极材料中加入润滑剂,混合后加入导电剂,得到混合物料;(2)将混合物料与配方量的粘结剂溶液混合,得到混合浆料;(3)对混合浆料进行真空消泡,得到所述正极浆料。所述极片以本发明提供的正极浆料作为原料制备得到。本发明提供的极片内部正极颗粒无碎裂,压实密度可达3.45g/cm3,电化学性能好。

标签:
加工技术
浙江 - 金华 来源:中冶有色网 2023-03-18
新型结构锂电角磨机
新型结构锂电角磨机 869     
 0

本实用新型公开了一种新型结构锂电角磨机,包括:电机,所述电机至少包括沿着第一轴线延伸的旋转轴;手柄,所述手柄包括握持部;输出轴,用于驱动工作附件,所述输出轴沿着第二轴线延伸;控制组件,控制所述角磨的运行;所述电机的端盖及外壳与所述头壳通过限位件固定连接,所述旋转轴上设置第一轴承连接所述头壳及所述端盖,电机的外壳及端盖直接与头壳连接固定,保证了旋转轴的同心度;轴承设置与电机及头壳上,对壳体的注塑要求下降,节省成本;控制组件沿风道方向设置,使得控制组件产生的热量更容易被带走,不容易过温保护,增加操作者的使用体验。

标签:
加工技术
浙江 - 金华 来源:中冶有色网 2023-03-18
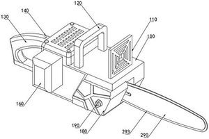
无刷锂电电链锯
无刷锂电电链锯 945     
 0

本实用新型公开了一种无刷锂电电链锯,包括外壳与调节装置,所述外壳一侧开设有限位槽一,所述调节装置安装在限位槽一内壁,所述调节装置包括垫板,所述垫板与外壳内壁固定连接,所述垫板与外壳连接处开设有滑槽二,所述外壳内壁底部开设有限位槽二,所述限位槽二与滑槽二相互连接。本实用新型通过顺时针转动拆装旋钮,使螺杆一在限位板内旋转,使压块松动,按压松紧开关,电机一带动螺杆二旋转,螺杆二推动移动杆向右移动,移动杆推动竖杆向右移动,竖杆通过通孔推动导板向右移动,链条以驱动轴为起始点,紧贴在导板外壁,逆时针转动拆装旋钮,使螺杆一在限位板内旋转,使压块挤压导板,具有自行调节链条的松紧的效果。

标签:
加工技术
浙江 - 金华 来源:中冶有色网 2023-03-18
锂电电圆锯的电池快拆结构

本实用新型公开了锂电电圆锯的电池快拆结构,包括电机、蓄电池,蓄电池为圆柱状,电机上设置有电池外壳,电池外壳内壁设置有纵向滑道和横向滑道,纵向滑道与横向滑道一端相通,蓄电池外壁上设置有凸块,凸块在纵向滑道与横向滑道内滑动,电池外壳外壁上设置有限位块,蓄电池外壁上设置有限位凹槽,限位块可卡入限位凹槽内,通过改变蓄电池的安装位置,从手柄尾部处改换为安装在电机侧面,通过电池外壳中的横向滑道固定了蓄电池的纵向运动,通过蓄电池上的限位凹槽和电池外壳上的限位块固定了蓄电池的横向运动,整体结构实现了原有的功能,并且重心更加稳定,蓄电池的安装牢固性更好,更为安全。

标签:
加工技术
浙江 - 金华 来源:中冶有色网 2023-03-18
锂电工具智能开关
锂电工具智能开关 1191     
 0

本实用新型公开了一种锂电工具开关,包括开关组件和正反转组件,所述开关组件包括外壳和按钮,所述按钮插入所述外壳内,所述外壳内设置有线路板,所述线路板上焊接有导线的一端,所述导线另一端穿出壳体上的通孔,所述通孔处设置有封胶,所述正反转组件包括壳体和设置在所述壳体内的转盘,所述转盘转动连接在所述壳体内,所述转盘外圈设置有两个接触片,所述外壳内壁上设置有一个正极输出片和一个负极输出片,所述接触片与所述正极输出片和所述负极输出片相配合,所述正极输出片和所述负极输出片之间连接有一个插件二极管,所述转盘的一端面上设置有一个拨杆,所述拨杆伸出所述壳体,还包括一个散热板,所述散热板为L型,所述散热板分别与所述开关组件的底部和一侧相接触。

标签:
加工技术
浙江 - 金华 来源:中冶有色网 2023-03-18
串联式卷绕电芯结构及包含该结构的锂离子电池

本实用新型涉及电池技术领域,具体涉及一种串联式卷绕电芯结构,包括由至少两个单体卷芯串联而成的卷芯体及与所述卷芯体连接的极耳,所述极耳包括正极耳和负极耳,所述正极耳和所述负极耳均与其中一个单体卷芯连接,或所述正极耳和所述负极耳分别与首尾两个单体卷芯连接。本实用新型将单体卷芯通过铜箔或铝箔直接连接串联,避免了现有技术两个或者多个矮胖电芯串/并联形成电芯带来的分层及变形发生问题;另外,还解决了单体电芯的一致性导致配组后性能表现差的问题。此外,本实用新型还公开了一种包含上述串联式卷绕电芯结构的锂离子电池。

标签:
加工技术
浙江 - 金华 来源:中冶有色网 2023-03-18
锂电喷漆枪的快拆结构

本实用新型公开了锂电喷漆枪的快拆结构,特点是包括枪体和枪头,所述枪头可拆卸的连接在枪体上,所述枪体上设有卡接件,枪头上设有与卡接件卡接配合的卡勾,枪头插入枪体内后与卡接件卡接配合,枪体上设有能带动卡接件转动的按钮,所述按钮与枪体之间设有复位弹簧,按钮上设有连杆,所述卡接件上开设有导向孔,所述连杆穿设在导向孔内并能在导向孔内活动,按钮位移带动连杆在导向孔内活动,带动卡接件转动使其在解锁位和锁止位之间转换;优点是拆卸结构简单,枪头可实现快速拆卸,同时也方便装卸水壶。

标签:
加工技术
浙江 - 金华 来源:中冶有色网 2023-03-18
锂电池极片分切贴标的标签及包括其的标签卷

本实用新型提供了一种锂电池极片分切贴标的标签及包括其的标签卷,所述的标签包括片状主体和位于片状主体一面的粘贴面,所述的标签贴于异常极片的边缘处,用于标记异常极片;所述的粘贴面分为粘性区和非粘性区,所述的粘性区贴于异常极片的边缘内侧,所述的非粘性区位于异常极片边缘外侧。目前使用的筛分标签由于标签的外漏部分有粘性,在卷绕工段,标签会粘在卷绕辊上,导致标签无法被自动识别,这样有贴标标签的异常极片,就会被视为正常极片而流入后段,本实用新型设计了一种新型的贴标标签,在标签外漏于极片的粘结面部分设计为无粘性区,防止在极片卷绕工段,标签会粘在卷绕辊上导致标签脱落,影响异常极片的自动识别。

标签:
加工技术
浙江 - 金华 来源:中冶有色网 2023-03-18
无刷锂电电动扳手
无刷锂电电动扳手 1121     
 0

本发明创造公开了一种无刷锂电电动扳手,包括机壳、无刷电机、中间盖、头壳、手柄、按钮开关、控制器、电池包,中间盖两端对应固定在机壳和头壳上,头壳与中间盖之间安装有行星减速冲击装置,所述的机壳采用圆筒形结构,机壳的后壁设有轴承座,轴承座上安装有后轴承,中间盖上固定有前轴承,无刷电机包括转子组件和定子组件,定子组件安装在机壳内,转子组件套设在定子组件上,转子组件的电机轴两端对应设置在前后轴承上,电机轴的输出端与行星减速冲击装置的行星齿轮啮合。采用上述结构后,具有结构简单合理、配合精度要求低、装配质量稳定、使用及携带方便、不受工作场所和电源限制等优点。

标签:
加工技术
浙江 - 金华 来源:中冶有色网 2023-03-18
上一页 16 17 18 19 20 ... 69 下一页
共69页    到第

中冶有色为您提供最新的浙江金华有色金属材料制备及加工技术理论与应用信息,涵盖发明专利、权利要求、说明书、技术领域、背景技术、实用新型内容及具体实施方式等有色技术内容。打造最具专业性的有色金属技术理论与应用平台!

全国热门有色金属设备推荐
展开更多 +
全国热门有色金属技术推荐
展开更多 +

 

江西省隆恩特环保设备有限公司
宣传

报名参会
更多+

报告下载

有色专家
更多+

江西理工大学
副校长/教授
紫金矿业信息化研发中心
副总经理
赣州有色冶金研究所有限公司
副主任/高级工程师
重庆大学
副院长/教授
中南大学、中国工程院
院士
赤泥综合利用研究报告2025
推广

热门技术
更多+

推荐企业
更多+

福建省金龙稀土股份有限公司
宣传

发布

在线客服

公众号

电话

顶部
咨询电话:
010-88793500-807