青岛垚鑫智能科技有限公司
宣传

位置:中冶有色 >

有色技术频道 >

> 通用技术

分类:
全部
矿山技术
冶金技术
材料制备及加工技术
环境保护技术
分析检测技术
 
全部
探矿技术
采矿技术
选矿技术
通用技术
地区:
全部
北京
天津
上海
重庆
河北
山西
辽宁
吉林
黑龙江
江苏
浙江
安徽
福建
江西
山东
河南
湖北
湖南
广东
海南
四川
贵州
云南
陕西
甘肃
青海
内蒙
广西
西藏
宁夏
新疆
其他
其他
展开
 
全部
成都
自贡
攀枝花
泸州
德阳
绵阳
广元
遂宁
内江
乐山
南充
眉山
宜宾
广安
达州
雅安
巴中
资阳
阿坝藏族羌族自治州
甘孜藏族自治州
凉山彝族自治州

四川成都有色金属通用技术理论与应用

免费发布技术信息>>
石墨矿石多级破碎设备

本发明涉及矿石破碎设备技术领域,具体是一种石墨矿石多级破碎设备。包括壳体,壳体下侧设有支撑机构,壳体内部设有多级处理机构,壳体前侧设有接收处理机构,接收处理机构的两侧且远离壳体一侧设有震动机构,多级处理机构远离接收处理机构一侧且在壳体靠近支撑机构的一侧设有出料机构;本发明可以实现目前的开采破碎设备,对石墨的矿石进行多级粉碎,同时对矿石内部制造裂缝,使破碎后的颗粒统一,破碎效率高;对机器接触上的石墨残渣进行清洁,防止石墨进入机器内部,大大节省人力物力,同时对喷水的石墨进行烘干,节省了后期成本;对采矿车进行震动处理,防止矿石卡在车上,防止了石墨的成品直接倒到地上,而被风吹到各个地方,影响附近居民。

标签:
通用技术
四川 - 成都 来源:中冶有色网 2023-03-18
高效的矿石粉碎装置
高效的矿石粉碎装置 1138     
 0

本实用新型涉及一种高效的矿石粉碎装置,属于矿山机械设备技术领域,其特征在于:包括具有出料口的粉碎机体、输送装置、设置在粉碎机体内的一级粉碎箱和二级粉碎箱;所述粉碎机体顶部设置有进料斗,进料斗内设置有一端连接有电机的送料辊,送料辊的表面设有四个沿周向均布的凹陷,所述螺旋料道的下端与一级粉碎箱连通,一级粉碎箱连通内设置有一级粉碎辊;所述一级粉碎箱位于二级粉碎箱的上方,一级粉碎箱的出口端与二级粉碎箱的进口端连通,二级粉碎箱内设置有二级粉碎辊。本实用新型的有益效果是:提高了装置的使用寿命和工作效率,控制进料速度的灵敏高,并具有缓冲和干燥作用。

标签:
通用技术
四川 - 成都 来源:中冶有色网 2023-03-18
高效矿用破碎取样装置

本实用新型提供一种高效矿用破碎取样装置。所述高效矿用破碎取样装置包括:底座;接料箱,所述接料箱固定安装在所述底座的顶部;两个第一支撑板,两个所述第一支撑板均固定安装在所述底座的顶部;支撑台,所述支撑台固定安装在相对应的所述第一支撑板的一侧外壁上;四个第一支架,四个所述第一支架分别固定安装在两个所述第一支撑板相互靠近的一侧外壁上;细化箱,所述细化箱固定安装在四个所述第一支架相互靠近的一端上。本实用新型提供的高效矿用破碎取样装置具有高效破碎,矿品破碎率较高,同时能够自动随机抽取到不同时段样品的优点。

标签:
通用技术
四川 - 成都 来源:中冶有色网 2023-03-18
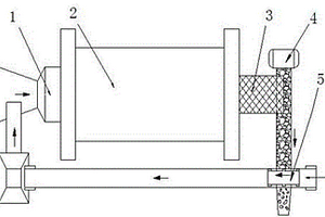
改进型矿山破碎装置
改进型矿山破碎装置 817     
 0

本实用新型提供一种改进型矿山破碎装置,属于矿山破碎机技术领域,该改进型矿山破碎装置包括支撑板,支撑板的上端转动连接有转动轴,转动轴的圆周表面通过轴承转动连接有放置筒,在需要将矿石进行破碎时,可以将其放置放置筒内,这时启动电机,使其可以通过主动齿轮带动放置筒进行顺时针转动,而后通过工字轮和传动带带动转动轴进行逆时针转动,进而使得多个粉碎刀和多个辅助刀的转动方向相反,进而通过这种离心力将所有矿石都进行完整和彻底的粉碎,并且本装置结构简单,不需要付出过多成本,十分值得推广。

标签:
通用技术
四川 - 成都 来源:中冶有色网 2023-03-18
针对潮矿的减粘脱附破碎刀具

本发明涉及一种针对潮矿的减粘脱附破碎刀具,包括:破碎辊,其布置有沿其周向间隔排列的用于将潮矿破碎为潮矿颗粒的破碎齿;所述破碎齿的齿底经由嵌入坡面以非突变的方式过渡连接至其齿顶,以使得所述破碎齿能够与配对的破碎槽形成非突变的破碎口,在破碎辊的旋转方向上,该破碎齿的位于所述嵌入坡面之后的相邻的大致呈平台状的齿顶以非突变的方式延伸过渡至脱离坡面,并且所述脱离坡面沿着破碎辊的旋转方向以非突变的方式一直过渡延伸到相邻破碎齿的嵌入坡面的根部,从而在两个相邻破碎齿之间形成至少双曲率的过渡连接部。本发明的提出能够有效地改善目前凹土粉碎中的作业环境,有利于有效提高凹土棒粘土的抗粘特性。

标签:
通用技术
四川 - 成都 来源:中冶有色网 2023-03-18
针对粘性矿的破碎装置
针对粘性矿的破碎装置 1097     
 0

本实用新型涉及一种针对粘性矿的破碎装置,其包括粗碎机构和细碎机构。粗碎机构用于改变粘性矿的至少一个物理参数,细碎机构用于在粗碎机构改变了粘性矿的至少一个物理参数的情况下粉碎粘性矿至小颗粒。细碎机构包括能够转动的辊子,该辊子的周面上沿轴向设有若干通过环形凹槽彼此连续性间隔的环形凸起,该辊子与另一与其相向转动的辊子能够基于一辊子的环形凸起和另一辊子的环形凹槽彼此嵌合的方式形成能够蠕动的破碎口,该破碎口在蠕动的过程中即能够将潮矿粉碎又能有效地防止粉粒由于其黏滞力而粘附/堆积于破碎刀具上。本实用新型的提出破碎装置尤其能够有效地改善目前凹土粉碎中的作业环境,有利于有效提高凹土棒粘土的抗粘特性。

标签:
通用技术
四川 - 成都 来源:中冶有色网 2023-03-18
基于针对潮矿的基于仿生学的减粘脱附破碎装置

本发明涉及一种针对潮矿的基于仿生学的减粘脱附破碎装置,包括至少粗碎刀具和细碎刀具,细碎刀具在粗碎刀具对潮矿的至少一个参数进行改变的情况下对潮矿进行粉碎,细碎刀具包括两个相向转动的辊子,在这两个辊子的基体表面上设有若干通过环形凹槽彼此连续性间隔的环形凸起,其中一破碎刀具的环形凸起与另一破碎刀具的环形凹槽在两个辊子相对转动的过程中形成能够蠕动的破碎口,该破碎口在蠕动的过程中即能够粉碎潮矿又能够改善潮矿与破碎刀具之间的接触界面的润滑性能从而有效地防止潮矿粉粒由于其黏滞力而粘附/堆积于破碎刀具上。本发明的提出能够有效地提高破碎装置的抗粘特性。

标签:
通用技术
四川 - 成都 来源:中冶有色网 2023-03-18
矿粉稳定级配碎石垫层及柔性基层

本发明公开了一种掺加矿粉的矿粉稳定级配碎石垫层及柔性基层的新型路面混合料组合类型,其特征在于:原材料选用卵石扎制而成的卵碎石,规格为:0~4.75mm、4.75~9.5mm、9.5~19mm、19~31.5mm四种;矿粉稳定级配碎石垫层及柔性基层施工配合比为:0~4.75mm:4.75~9.5mm:9.5~19mm:19~31.5mm=26:12:22:40,形成混合料;按照整个混合料外掺质量配比4~5%的矿粉。本发明属于技术创新,①设计合理,满足施工需要;②可操作性强,完善、简便;③透水性强、隔水性好,满足规范要求;④板结效果良好,表面集料不易在行车过程中被车轮带走;⑤有效隔断路基与路面之间的地下及地面水,有效减少半刚性基层的反射裂缝。

标签:
通用技术
四川 - 成都 来源:中冶有色网 2023-03-18
矿渣精细加工用粉碎装置

本实用新型涉及矿渣处理技术领域,具体为一种矿渣精细加工用粉碎装置,包括粉碎箱,所述粉碎箱的内部固定连接有挡板,所述挡板的顶部固定连接有定位板,所述定位板的顶部固定连接有进料板,所述粉碎箱的顶部固定连接有支撑板,所述支撑板固定连接于定位板和进料板的一侧。本实用新型的优点在于:通过设置压板,在挡板的顶部固定连接有两个定位板,其中压板位于两个定位板之间,在使用时,将矿渣通过进料板进入粉碎箱的内部,启动气缸,使活塞杆推动压板向下移动,直至使压板和矿渣接触,使压板向粉碎辊的方向挤压矿渣,使得矿渣能够尽快通过两个粉碎辊之间进行粉碎,避免矿渣在粉碎辊的顶部停留,减少粉碎的时间,提高粉碎效率。

标签:
通用技术
四川 - 成都 来源:中冶有色网 2023-03-18
针对潮矿的粒径可调的仿生式破碎装置

本发明涉及针对潮矿的粒径可调的仿生式破碎装置,其能够有选择性地对获取不同粒径的潮矿粉粒。该破碎装置包括两个彼此相向转动的辊子和用于调节辊子之间间距的调节机构,在这两个辊子的周面上均沿轴向设有若干通过环形凹槽彼此连续性间隔的环形凸起,其中一破碎刀具的环形凸起与另一破碎刀具的环形凹槽在两个辊子相对转动的过程中按照循环配合的方式形成能够蠕动的破碎口,破碎口的口径基于该调节机构能够改变,从而能够有选择性地对获取不同粒径的潮矿粉粒,并且该破碎口在蠕动的过程中即能够粉碎潮矿又能够改善潮矿与破碎刀具之间的接触界面的润滑性能从而有效地防止潮矿粉粒由于其黏滞力而粘附/堆积于破碎刀具上。

标签:
通用技术
四川 - 成都 来源:中冶有色网 2023-03-18
采矿用环保防尘矿石破碎装置

本发明提供了一种采矿用环保防尘矿石破碎装置,包括安装箱;所述安装箱底部内壁上通过螺栓固定安装有电机;所述电机输出轴上连接固定有第四带轮;所述第四带轮上侧通过第二皮带传动连接有第三带轮;所述第三带轮左右两侧分别设有第一带轮;所述第一带轮上侧通过第一皮带传动连接有第二带轮;所述第二带轮连接固定在连接轴上;所述连接轴连接固定在转动箱的左侧外表壁上;破碎箱顶部内壁上连接固定有吸尘口;所述吸尘口上侧通过管道与吸尘风机相连接;所述吸尘风机后侧通过管道与集尘箱相连接;本发明结构设计合理,操作方便,有效的对矿石破碎时进行防尘,适合推广使用。

标签:
通用技术
四川 - 成都 来源:中冶有色网 2023-03-18
具有双重粉碎功能的矿石粉碎装置

本实用新型涉及一种具有双重粉碎功能的矿石粉碎装置,属于矿山机械设备技术领域,其特征在于:包括具有出料口的粉碎机体、输送装置、设置在粉碎机体内的一级粉碎箱和二级粉碎箱;所述粉碎机体顶部设置有进料斗,进料斗内设置有一端连接有电机的送料辊,送料辊的表面设有四个沿周向均布的凹陷,所述一级粉碎箱连通内设置有一级粉碎辊;所述一级粉碎箱位于二级粉碎箱的上方,一级粉碎箱的出口端与二级粉碎箱的进口端连通,二级粉碎箱内设置有二级粉碎辊。本实用新型的有益效果是:提高了装置的使用寿命和工作效率,控制进料速度的灵敏高,并具有缓冲作用,粉碎效果更好。

标签:
通用技术
四川 - 成都 来源:中冶有色网 2023-03-18
矿山的碎屑流区域定向爆破装置及方法

本发明属于矿山爆破的技术领域,公开了一种矿山的碎屑流区域定向爆破装置。它包括刻画在矿山上的第一轮廊线和第二轮廊线,第一轮廊线上设有多个间隔布置的第一爆破孔,第二轮廊线上设有多个间隔布置的第二爆破孔,第一爆破孔上设有多个自上而下间隔布置的第一爆破槽,第二爆破孔上设有多个自上而下间隔布置的第二爆破槽,所述第一爆破槽内放置有钻孔扩径装置或爆破装置,第二爆破槽内放置有钻孔扩径装置或矿山爆破装置。本发明可以根据需要在不同的爆破装置内放置不同的炸药药卷量,进而可以减少超欠挖量。本发明还涉及这种矿山的碎屑流区域定向爆破装置的定向爆破方法。

标签:
通用技术
四川 - 成都 来源:中冶有色网 2023-03-18
以磷酸铝泡沫玻璃为集流体的锂电池正极体及制备方法

本发明提供一种以磷酸铝泡沫玻璃为集流体的锂电池正极体及制备方法,将锂电池正极材料的前驱物在片状磷酸铝泡沫玻璃中胶态化反应,烧结形成以磷酸铝泡沫玻璃为集流体的新型正极体。该新型正极体不同于正极材料涂布在铝箔等集流体,而是将正极材料的前驱物在玻璃泡沫孔内反应并烧结成一体形成的新型正极体,具有良好的微弹性,使用时无需加入粘接剂,直接裁切拼装即可。其显著的效果是优势是减少了制作正极片的粘接剂、铝箔等,保证了较高的能量密度。且正极材料在充放电过程中晶格结构受泡沫剥离微弹性的稳定防止晶体结构的塌陷,有效提高了锂电池正极的循环寿命。

标签:
通用技术
四川 - 成都 来源:中冶有色网 2023-03-18
利用煤矸石制备聚合氯化铝铁钙的配方及制备方法

本发明涉及一种利用煤矸石制备聚合氯化铝铁钙的配方,由以下重量份的各物料组成:煤矸石15~25份;石灰石0~5份,助剂1~3份;盐酸溶液15~25份;氯化铝0~3份;氯化铁0~3份;氧化钙0~3份;还公开了其制备方法:S1、煤矸石破碎;S2、配料混合;S3、热活化;S4、冷却;S5、酸析;S6、分离;S7、测试;S8、聚合反应;S9、陈化;S10、结晶烘干;S11、造粒。本发明的优点在于:利用煤矸石制得聚合氯化铝铁钙,工艺简单,变废为宝,将煤矸石经过适当的加工合成出效果优于现有聚合氯化铝的新型无机高分子材料,既可拓宽材料制备的原料范畴,降低成本,又可降低能源消耗并提高产品应用效果。

标签:
通用技术
四川 - 成都 来源:中冶有色网 2023-03-18
钠系钒渣的转炉生产及其后续浸出提钒的方法

本发明涉及钠系钒渣的转炉生产及其后续浸出提钒的方法,属于钢铁冶金及钒钛化工领域。本发明解决的技术问题是钒渣生产过程钒的氧化率低、热量损失大。本发明公开钠系钒渣的转炉生产及其氧化浸出提钒方法,步骤包括在铁水兑入转炉后,进行一期吹炼氧化,吹炼过程中加入冷却剂、纯碱,一期吹炼结束后将半钢倒出,含钠钒渣留于转炉内,转炉内加入纯碱、NaCl进行二期吹炼氧化,吹炼氧化结束后经水浸得到含钒浸出液。本发明能够减少铁水生产含钒浸出液的工序数量,能提高钒的氧化率、减少过程能量消耗,有利于资源的利用及提钒生产成本降低,为企业节约成本、创造效益。

标签:
通用技术
四川 - 成都 来源:中冶有色网 2023-03-18
石英砂岩细瓷
石英砂岩细瓷 1029     
 0

本发明是关于日用细瓷产品的。由于这种日用细瓷以石英砂岩为主要原料,可以大幅度降低坯体配方成本、省去以石英为部分原料生产细瓷的石英煅烧及破碎工序,降低设备、人工和燃料消耗;同时由于其烧成温度在1250℃以下,可以较大幅度地节约能源、提高匣体、窑炉、窑具的使用寿命,降低成本。

标签:
通用技术
四川 - 成都 来源:中冶有色网 2023-03-18
利用压电陶瓷提高锂离子电池循环寿命的方法

本发明提供一种利用压电陶瓷提高锂离子电池循环寿命的方法,在制备锂电池正极材料的前驱物中使用少量的压电陶瓷晶体,当在锂离子迁移时,压电陶瓷晶体受外部电场作用,产生机械形变,从而抑制钴酸锂、锰酸锂、磷酸铁锂、镍钴锰酸锂等锂离子正极材料在循环充放电过程中的结构变化。从根本上解决了电极材料循环过程中的容量衰减,使循环充放电过程为可逆性提高,大幅提高循环寿命。并且,还能使锂离子自由通过,具有良好的导电率,提高了锂电池的首次效率和倍率性能。

标签:
通用技术
四川 - 成都 来源:中冶有色网 2023-03-18
利用煤矸石制备聚硅氯化铝铁钙的配方及制备方法

本发明涉及一种利用煤矸石制备聚硅氯化铝铁钙的配方,由以下重量份的各物料组成:煤矸石15~25份;石灰石0~5份;助剂1~3份;盐酸溶液15~25份;氯化铝0~3份;氯化铁0~3份;水玻璃0~3份;氧化钙0~3份,还公开了制备方法:S1、煤矸石破碎;S2、配料混合;S3、热活化;S4、冷却;S5、酸析;S6、分离;S7、测试;S8、聚合反应;S9、陈化;S10、结晶烘干;S11、造粒。本发明的优点在于:利用煤矸石制得聚硅氯化铝铁钙,工艺简单,变废为宝,煤矸石中经过适当的加工合成出效果优于现有聚合氯化铝的新型无机高分子材料,既可拓宽材料制备的原料范畴,降低成本,又可降低能源消耗并提高产品应用效果。

标签:
通用技术
四川 - 成都 来源:中冶有色网 2023-03-18
稻田有机除草剂、其制备方法及使用方法

本发明提供了一种稻田有机除草剂,包括如下重量份数的组分:腐殖酸90~99份,硅油1~10份;所述稻田有机除草剂的粒径小于400目。将本发明的稻田有机除草剂喷施在稻田的水面,能够有效抑制杂草生长,并能够促进水稻产量增加。本发明还提供了该稻田有机除草剂的制备方法和使用方法。

标签:
通用技术
四川 - 成都 来源:中冶有色网 2023-03-18
转炉铁水加纯碱生产含钠钒渣的方法

本发明涉及转炉铁水加纯碱生产含钠钒渣的方法,属于钢铁冶金及钒钛化工领域。本发明解决的技术问题是钒渣生产过程钒的氧化率低、热量损失大。本发明公开转炉铁水加纯碱生产含钠钒渣的方法,步骤包括在铁水兑入转炉后,进行一期吹炼氧化,吹炼过程中加入冷却剂、纯碱,一期吹炼结束后将半钢倒出,含钠钒渣留于转炉内,转炉内加入NaCl进行二期吹炼氧化,吹炼氧化结束后经水浸得到含钒浸出液。本发明能够减少铁水生产含钒浸出液的工序数量,能提高钒的氧化率、减少过程能量消耗,有利于资源的利用及提钒生产成本降低,为企业节约成本、创造效益。

标签:
通用技术
四川 - 成都 来源:中冶有色网 2023-03-18
铁水生产含钠钒渣直接浸出提钒的方法

本发明涉及铁水生产含钠钒渣直接浸出提钒的方法,属于钢铁冶金及钒钛化工领域。本发明解决的技术问题是钒渣生产过程钒的氧化率低、热量损失大。本发明公开铁水生产含钠钒渣直接浸出提钒的方法,步骤包括在铁水兑入转炉后,进行一期吹炼氧化,吹炼过程中加入冷却剂、纯碱,一期吹炼结束后将半钢倒出,含钠钒渣留于转炉内进行二期吹炼氧化,吹炼氧化结束后经水浸得到含钒浸出液。本发明能够减少铁水生产含钒浸出液的工序数量,能提高钒的氧化率、减少过程能量消耗,有利于资源的利用及提钒生产成本降低,为企业节约成本、创造效益。

标签:
通用技术
四川 - 成都 来源:中冶有色网 2023-03-18
硫酸钙还原方法
硫酸钙还原方法 883     
 0

本发明涉及一种以磷铁为还原剂处理和资源化利用硫酸钙的方法,其中以磷铁为还原剂,将其与硫酸钙混合物在CO2气氛中焙烧,产生可以后续利用的SO2气体,以及铁氧化物、磷酸盐等产品。通过这种方式实现了硫酸钙中的硫元素的回收,为其资源化利用提供了一种新的方法。该方法所采用的磷铁可以来自化工副产物——磷铁渣,因此该方法具有成本低的特点。该方法在回收利用硫元素的同时,将本身难以利用的磷铁转换成了磷酸盐或者焦磷酸盐,方便其在后续工序中加入磷酸工业而被资源化利用。此外,本方法还具有工艺简单反应易操作,对过程设备的要求低,能耗低,清洁环保,效益高,适用于磷酸钙和磷铁的综合利用和规模工业化低成本清洁生产。

标签:
通用技术
四川 - 成都 来源:中冶有色网 2023-03-18
用于热塑性弹性体的石墨烯橡胶增强母料及制备方法

本发明公开了一种用于热塑性弹性体的石墨烯橡胶增强母料及制备方法。所述增强母料由以下步骤制得:a、将石墨烯与聚氨酯预聚体混合均匀;b、将蛇纹石、油酸和偶联剂混合研磨为蛇纹石颗粒;c、将蛇纹石颗粒、促进剂加入石墨烯与聚氨酯预聚体混合物中,固化后急冷脆化,粉碎制得复合颗粒;d、将复合颗粒与热塑性橡胶、分散剂、润滑剂混合造粒,制得石墨烯橡胶增强母料。所述方法具有以下有益效果:本发明解决了石墨烯在橡胶基体内易团聚的问题,制得的高浓度的石墨烯母料,能够显著提升橡胶材料的耐热性能、耐磨性能,并且制备工艺简单快捷,成本较低,可规模化推广生产。

标签:
通用技术
四川 - 成都 来源:中冶有色网 2023-03-18
微胶粒子肥及其应用
微胶粒子肥及其应用 1091     
 0

本发明提供一种微胶粒子肥及其应用,特征是将分散液喷覆至完全悬浮的微细化肥原料粒子表面,迅速喷雾干燥,依据需要将胶体包覆的不同养分的肥料粒子混配,得到一种微胶粒子肥。该肥料分散于水中后形成分散液而非完全溶解的溶液,即使微溶或者不溶肥性化肥,在包覆后呈现的微细粒子在水中均匀分散。进一步,微胶粒子肥作为水溶性肥料应用于滴灌肥、喷灌肥、冲施肥、叶面肥或者调制高浓度液体肥,可替代现有水溶性肥料,溶于水中后形成胶体分散液,胶体包覆的化肥微粒在土壤中具有传输性,增加了植物对养分的吸收。属于新一代水肥一体化的水溶性肥料。

标签:
通用技术
四川 - 成都 来源:中冶有色网 2023-03-18
复合氧化物电极材料及其制备方法和混合型超级电容器

本发明涉及一种复合氧化物电极材料及其制备 方法和电极及混合型超级电容器。所述的复合氧化物电极材料 是指以锂、钛(原子个数比约为2∶3)为主要金属元素的复合氧 化物 Li2Ti3O7。本发明选取资源丰富、 价廉易得的原材料,采用工艺简单、操作简便的制备工艺,合 成出的复合氧化物电极材料具有140mAh/g的比容量。复合氧 化物 Li2Ti3O7的品格为正斜方结构,能 提供一定量的阳离子空位,因此是一种理想的锂离子嵌入材 料,适合于作为一种电极应用在混合型超级电容器当中。使用 该种复合氧化物电极材料的混合型超级电容器具有高比容量 和优良的循环性能,表现出较好的倍率放电特性,适合于用作 大功率用电设备的电源部分,具有较好的产业化价值。

标签:
通用技术
四川 - 成都 来源:中冶有色网 2023-03-18
制备磷酸亚铁的方法
制备磷酸亚铁的方法 733     
 0

本发明涉及由磷铁和CO2制备磷酸亚铁的方法,其中以磷铁为磷源和铁源,CO2为氧源,通过高温焙烧反应得到磷酸亚铁和CO。该方法将廉价的磷铁和CO2转化成高附加值的磷酸亚铁和CO。在该方法中,磷铁中所有的磷元素和铁元素都被转化成磷酸亚铁而被充分利用,使该工艺符合绿色环保的要求。同时,温室气体CO2被转化成了工业原料CO,实现了CO2的固定和转化,对节能减排和废物利用有积极意义。磷铁来源广泛,并且调整磷铁形貌和粒度可以控制最终产物磷酸亚铁的形貌和粒度。此外,本方法还具有工艺简单反应易操作,对过程设备的要求低,能耗低,清洁环保,效益高,适合磷铁的综合利用和高端磷酸亚铁规模工业化低成本清洁生产。

标签:
通用技术
四川 - 成都 来源:中冶有色网 2023-03-18
以三废无机固体为原料的防水隔热粉的生产方法

本发明利用三废中的无机固体作基材,用一定比例的表面活性剂、乳化稳定防腐剂和电位调节剂作辅料,用简单的工艺生产防水、耐热、抗冻、抗震、耐老化的性能优良,价格低廉的防水隔热粉。本发明实现了三废的综合治理,变废为宝,其实施前景极好。

标签:
通用技术
四川 - 成都 来源:中冶有色网 2023-03-18
原位微区元素分析标样、制备方法及应用

本发明公开了一种原位微区元素分析标样的制备方法,一种原位微区元素分析标样的制备方法,包括以下步骤:选用鲕粒砂为原料,经粉碎研磨、高压制片获得;研磨后,质量占比90%以上的颗粒的粒径小于1μm;高压制片时采用50吨压力压制。本发明增加了标样的种类,制备的标样作为用于对原位微区元素含量分析结果进行校正的标准品。

标签:
通用技术
四川 - 成都 来源:中冶有色网 2023-03-18
纳米碳多功能饮料及其制备方法

本发明公开了一种纳米碳多功能饮料,其原料包括纳米碳和水,经研磨、调配、灭菌工艺后制备而成,其中纳米碳含量为1μg~100000μg/ml。本发明还公开了一种纳米碳多功能饮料的制备方法,原料包括纳米碳和水,将纳米碳加入水中经过研磨制得纳米碳浆料,再取纳米碳浆料调配入水中,经灭菌工艺即可。本发明提供的纳米碳多功能饮料,能有效地清理胃肠道垃圾,还能吸附肌酐、尿酸等有害物质,同时具有杀菌抗菌作用,且纳米碳的作用原理为物理作用,对人体完全无毒副作用。本发明提供的纳米碳多功能饮料的制备方法,简单可操作性强,易于标准化,值得在业内推广。

标签:
通用技术
四川 - 成都 来源:中冶有色网 2023-03-18
上一页 14 15 16 17 18 ... 34 下一页
共34页    到第

中冶有色为您提供最新的四川成都有色金属通用技术理论与应用信息,涵盖发明专利、权利要求、说明书、技术领域、背景技术、实用新型内容及具体实施方式等有色技术内容。打造最具专业性的有色金属技术理论与应用平台!

全国热门有色金属设备推荐
展开更多 +
全国热门有色金属技术推荐
展开更多 +

 

江西省隆恩特环保设备有限公司
宣传

报名参会
更多+

报告下载

有色专家
更多+

中国矿业大学
教授
矿冶科技集团有限公司
党委书记 / 董事长
矿冶科技集团有限公司
中国工程院院士
南方科技大学
外籍院士
赣州江钨钨合金有限公司
副总经理
赤泥综合利用研究报告2025
推广

热门技术
更多+

推荐企业
更多+

福建省金龙稀土股份有限公司
宣传

发布

在线客服

公众号

电话

顶部
咨询电话:
010-88793500-807