青岛垚鑫智能科技有限公司
宣传

位置:中冶有色 >

有色技术频道 >

> 复合材料技术

分类:
全部
矿山技术
冶金技术
材料制备及加工技术
环境保护技术
分析检测技术
 
全部
功能材料技术
复合材料技术
新能源材料技术
合金材料技术
加工技术
地区:
全部
北京
天津
上海
重庆
河北
山西
辽宁
吉林
黑龙江
江苏
浙江
安徽
福建
江西
山东
河南
湖北
湖南
广东
海南
四川
贵州
云南
陕西
甘肃
青海
内蒙
广西
西藏
宁夏
新疆
其他
其他
展开
 
全部
南京
无锡
徐州
常州
苏州
南通
连云港
淮安
盐城
扬州
镇江
泰州
宿迁

江苏南京有色金属复合材料技术理论与应用

免费发布技术信息>>
复合材料及制备方法与其在污水生化处理中的应用

本发明公开了一种复合材料,主要由含硅、铝、铁元素的氧化物混合制备得到,具有多孔片层的微球状结构,微球直径大小为1微米到5000微米,比表面积为50‑500m2/g。本发明还公开了该复合材料的制备方法,先将硅酸钠,黏土,Fe2O3,Al2O3,强酸混合反应,再充入氮气,高温煅烧,然后充入水蒸气高温高压水化,干燥粉碎,过筛。本发明还提供了该复合材料在污水生化处理中的应用。在本发明复合材料辅助下的生化处理可有效处理高浓度的有机污染物, 快速降低污水的COD,并可有效去除氨氮,总氮和总磷的含量;同时,本发明的复合材料内不含任何环境主管部门规定的环境污染物,在使用过程中不产生新的环境污染。

标签:
复合材料
江苏 - 南京 来源:中冶有色网 2023-03-18
免屈曲低屈服点钢-复合材料耗能支撑

一种免屈曲低屈服点钢-复合材料耗能支撑,由外围复合材料约束单元整体密封包裹内芯受力单元构成,所述内芯受力单元为低屈服点钢材内核钢芯,外围复合材料约束单元由带肋GFRP管及管内成型泡沫构成,管内GFRP肋板均匀分布,内核钢芯和外围复合材料约束单元采用真空导入一次性整体成型,内核钢芯两端连接部设置有螺孔,在内核钢芯的两端分别设置与其垂直的GFRP加劲肋。本发明的GFRP肋板与支撑内芯受力单元直接接触,通过复合材料约束内芯受力单元耗散外部能量,使支撑免屈曲,提高了支撑的承载能力。支撑采用真空导入一次性整体成型,耐腐蚀,全寿命维护成本低。轻质高强,便于运输、安装施工。且可设计性强、成型方便,可以根据需要灵活设计,快速量产。

标签:
复合材料
江苏 - 南京 来源:中冶有色网 2023-03-18
锰/氮掺杂铝酸锌基红外复合材料及其制备方法

本发明公开一种锰/氮掺杂铝酸锌基红外复合材料及其制备方法。红外复合材料的组成及重量百分含量为,成膜材料:57~67,棕褐色红外填料:24~29,溶剂:8~13,消泡剂:0.5,增稠剂:0.5;其中,所述棕褐色红外填料通式为Zn1?xMnxAl2O4/N的粉末,式中,x=0、0.1、0.2、0.3、0.4或0.5。制备方法包括:将棕褐色红外填料的原料混合、水浴加热、干燥、煅烧、氨解,得到棕褐色红外填料粉末;以及按红外复合材料配比先将成膜材料、溶剂、消泡剂及增稠剂混合搅拌均匀,再加入棕褐色红外填料研磨均匀使其充分分散,得到红外复合材料。本发明的复合材料,环境友好,隔热性能好。

标签:
复合材料
江苏 - 南京 来源:中冶有色网 2023-03-18
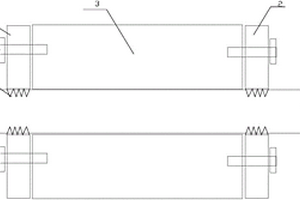
复合材料煤矿支护柱
复合材料煤矿支护柱 973     
 0

一种复合材料煤矿支护柱,其特征是它呈整体式中空圆柱体结构或至少有两个圆弧片组成的中空圆柱体结构,所述的中空圆柱体结构的壳壁由复合材料内壁(1′)和复合材料外壁(1)及夹装在复合材料内壁(1′)和复合材料外壁(1)之间的夹芯材料层(2)组成;在所述的中空圆柱体的两端各连接有一个用于与支撑顶板相连或与另一相同煤矿支护柱相连的支撑面连接法兰(6);每个中空圆柱体结构的外形呈亚铃状,两端的直径大于中间段直径,且每个端部与中间段均形成有应力过渡区(7)。本发明具有结构简单,制造方便,重量轻,强度高的优点。

标签:
复合材料
江苏 - 南京 来源:中冶有色网 2023-03-18
聚酰胺纳米复合材料的制备方法

本发明属于高分子新材料技术领域,采用反应挤出技术一步得到聚酰胺纳米复合材料,将经插层处理过的蒙脱土与己内酰胺单体混合处理后,在双螺杆挤出机中反应挤出,制备高性能尼龙6/蒙脱土新型纳米复合材料。本发明工艺路线简单,纳米材料在复合材料中分散均匀,复合材料性能优良,应用领域广阔。

标签:
复合材料
江苏 - 南京 来源:中冶有色网 2023-03-18
增强型复合材料泡沫夹芯筒

本实用新型公开了一种增强型复合材料泡沫夹芯筒,包括复合材料外蒙皮、复合材料内蒙皮,以及设置在两者之间的圆筒形芯层,芯层的内、外两侧表面上均匀地刻有若干凹槽,且凹槽中安装有复合材料筋条,凹槽与复合材料筋条沿芯层的轴向方向设置;本实用新型克服了复合材料泡沫夹芯筒面芯脱粘与面板局部屈曲的问题,提供一种在不显著提升结构自重的前提下,大幅度提升复合材料夹芯筒的承载效率的增强型复合材料泡沫夹芯筒。

标签:
复合材料
江苏 - 南京 来源:中冶有色网 2023-03-18
基于NaOH/尿素溶液的纳米ZnO纤维素复合材料的水热制备方法及应用

本发明公开了一种基于NaOH/尿素溶液的纳米ZnO纤维素复合材料的水热制备方法及应用,该方法为:在NaOH/尿素的纤维素溶液中,采用水热法原位复合制备获得纳米ZnO纤维素复合材料。本发明的基于NaOH/尿素溶液的纳米ZnO纤维素复合材料的水热制备方法,纤维素溶解后,其分子上的羟基与锌离子结合,克服了锌源不易渗透进入载体的缺点,且所用溶剂NaOH/尿素价廉易得,水热合成温度明显降低。所述纳米ZnO纤维素复合材料含有 47.5% ZnO;对光降解废水中的苯酚具有较高的去除效率,本发明制备的ZnO纤维素复合材料,廉价环保,作为光降解催化剂,在苯酚废水的处理方面,具有很好的实用性。

标签:
复合材料
江苏 - 南京 来源:中冶有色网 2023-03-18
用于复合材料筋固定的装置

本实用新型提供的一种用于复合材料筋固定的装置,包括左锚具、右锚具、连接管和复合材料筋;所述左锚具、右锚具中部分别设有复合材料筋槽,所述复合材料筋槽内设有环状螺纹齿;所述复合材料筋与复合材料筋槽的接触面上设有与复合材料筋槽内的环状螺纹齿配合的齿;所述复合材料筋依次穿过左锚具、连接管、右锚具。本实用新型提供的锚具结构简单,使用方便,成本低廉,承载力高,连接效率高;通过设置相配合的凸起和凹槽固定复合材料筋,在复合材料齿上施加径向压力,再通过复合材料齿根位置层间抗剪能力以及接触面上的摩擦阻力共同传递外荷载,从而达到锚固复合材料筋的目的。

标签:
复合材料
江苏 - 南京 来源:中冶有色网 2023-03-18
复合材料网架连接节点

本实用新型公开了一种复合材料网架连接节点,包括复合材料方管接头,复合材料圆管接头和螺栓球,复合材料方管接头和复合材料圆管接头均通过高强螺栓与螺栓球连接。本实用新型的复合材料网架连接节点涵盖了网架结构中最常用的圆管及方管两种闭合截面型材的可靠连接,节点连接形式全面,基本解决了复合材料闭合截面型材在网架结构应用中的节点连接问题;钢刺与胶结复合连接方式可以为结构提供所需的节点强度,有效发挥复合材料高强度的优点;芳纶纤维布的缠绕既增加了节点的整体性能,进一步提高了节点的强度,又减少了节点区防腐面积;接头制作在工厂完成,制作精度由工厂保证,现场装配快捷,拼装费用低,工期短;过程中无预应力的施加,无须担心复合材料徐变引起的承载力下降问题。

标签:
复合材料
江苏 - 南京 来源:中冶有色网 2023-03-18
光伏发电用复合材料水上浮体架台系统

本实用新型公开了一种光伏发电用复合材料水上浮体架台系统,该浮体架台系统包括复合材料浮体单元A、复合材料胶接梁或复合材料浮体单元B、复合材料拉挤型材;当采用复合材料胶接梁时:所述复合材料浮体单元A的上表面每隔一段距离开设凹槽,复合材料胶接梁搁置在凹槽内,并通过螺栓与复合材料浮体单元A连接,将多个复合材料浮体单元A沿横向连成整体;当采用复合材料浮体单元B时,复合材料浮体单元A与复合材料浮体单元B之间通过预埋钢片连成整体。本实用新型适用于水上光伏电站的建设,将传统高密度聚乙烯浮体单元和镀锌钢支架分别用复合材料浮体单元和拉挤型材替代,提高了整个浮体架台系统的使用寿命。

标签:
复合材料
江苏 - 南京 来源:中冶有色网 2023-03-18
超混杂复合材料转子磁钢表面隔热结构及其制备方法

本发明公开了一种超混杂复合材料转子磁钢表面隔热结构及其制备方法,包括转子磁钢以及包裹在转子磁钢外侧的热塑性复合材料转子护套,转子磁钢和热塑性复合材料转子护套之间设置隔热层,其特征是:隔热层由导热层和纤维增强热塑性复合材料层复合而成,导热层位于纤维增强热塑性复合材料层内侧,导热层的导热系数高于纤维增强热塑性复合材料层,热塑性复合材料转子护套局域加热成型时,热量依次沿纤维增强热塑性复合材料层和导热层向转子磁钢扩散,导热层利用自身高导热系数使热量在导热层层内扩散。本发明能实现沿面外厚度方向的隔热,提高隔热效果,有效降低隔热层厚度,并采用张力成型的方式,实现具有自预紧效果的隔热层制备。

标签:
复合材料
江苏 - 南京 来源:中冶有色网 2023-03-18
复合材料管屈曲约束装置

本发明公开了一种复合材料管屈曲约束装置,属于复合材料技术领域,包括复合材料管和设置于所述复合材料管两端外部的外金属套筒,每个所述外金属套筒的外部均固定安装有金属套环,一所述金属套环的外环面上设置有外螺纹,另一所述金属套环的外环面为光滑面;还包括金属约束套管,位于两个所述外金属套筒之间的所述复合材料管设置于所述金属约束套管的内部,所述金属约束套管的内壁上设置有与所述外螺纹相适配的内螺纹,外环面为光滑面的所述金属套环与所述金属约束套管的内壁相抵靠。本发明有效约束了复合材料管整体失稳变形,大幅度提高了复合材料管轴向受力承载力及延性,有助于发挥复合材料管的强度,提高了其轴向受载性能。

标签:
复合材料
江苏 - 南京 来源:中冶有色网 2023-03-18
输电线路复合材料绝缘杆塔接地方法及其杆塔

一种输电线路复合材料绝缘杆塔接地方法及其杆塔,杆塔主体采用绝缘复合材料管材,导线横担采用复合绝缘子,地线横担采用金属导体,接地引下线采用金属线材或管材或棒材,接地引下线从管材中间悬空引下接地,地线横担与导线横担上装有金属电极,在杆塔的适当部位打孔加装接地引下线引出电极,可根据防雷要求,确定地线侧电极与导线侧电极之间的空气间隙距离,以及接地引下线引出电极与导线之间的空气间隙距离。本发明中的复合材料杆塔接地方式,有效的利用了复合材料杆的绝缘性,可以提高线路耐污闪、冰闪、防风偏、耐雷水平,还可以压缩塔头尺寸,具有降低杆塔本体造价及运输、安装、维护费用,同时减少线路走廊宽度的优点。

标签:
复合材料
江苏 - 南京 来源:中冶有色网 2023-03-18
铝合金蛭石浮石氧化铁复合材料及其制备方法

本发明提供一种铝合金蛭石浮石氧化铁复合材料及其制备方法,该复合材料吸波性能高,并且具有优越的阻尼性能。该制备方法工艺简单,生产成本低,适于工业化生产。该复合材料以铝合金为基体,在基体上分布着蛭石浮石氧化铁复合物和钛纤维,复合物的颗粒为0.5-1mm;蛭石浮石氧化铁复合物和钛纤维占复合材料的体积百分比为45-55%;复合物的颗粒为0.5-1mm;该铝合金基体的化学成分的重量百分含量:Ti为0.3%~0.8%,Th为0.01%~0.05%,Si为0.5%-1%,其余为Al;该钛纤维各成份的重量百分含Cu为0.003%-0.09%,Sm为0.003%-0.09%,其余为Ti。

标签:
复合材料
江苏 - 南京 来源:中冶有色网 2023-03-18
铸铁除渣复合材料及其制备方法

本发明提供一种成本低、环境保护性能优良而除渣性能良好的铸铁除渣复合材料及其制备方法。该除渣复合材料中的各组分的质量百分含量为:Al2O37.0-8.9%,V2O30.10-0.15%,MgO4.0-5.4%,CaO15-19%,TiO212-14.9%,CeO20.001-0.01%,其余为SiO2,该除渣复合材料的粒径为:0.2-0.6mm。制备方法包括以下步骤:配料;将配好的物料放入搅拌器中,然后在物料中加入占配料总重量3-6%的水,混合10-15min后取出,放入烧结炉;烧结加热温度为1150-1230℃时,保温时间为2-3小时;保温时间达到后随炉冷却至室温,即得到铸铁除渣复合材料。该工艺简单,生产成本低,适于工业化生产。

标签:
复合材料
江苏 - 南京 来源:中冶有色网 2023-03-18
高氧含量金属玻璃复合材料及其制备方法

本发明公开了一种高氧含量金属玻璃复合材料及其制备方法,其原子百分比表达式为:ZraTibMcCudNieBefOg,其中M为Nb,V或Hf中的一种,10≤a≤70,10≤b≤70,4≤c≤15,2≤d≤12,0≤e≤10,5≤f≤15,0

标签:
复合材料
江苏 - 南京 来源:中冶有色网 2023-03-18
加筋复合材料泡沫夹芯筒/柱混合连接结构

本实用新型公开了一种加筋复合材料泡沫夹芯筒/柱混合连接结构,包括至少两个相连接的复合材料夹芯筒,复合材料泡沫夹芯筒包括圆柱形的筒体,筒体的两端部分别设有圆环形的复合材料法兰盘,复合材料法兰盘与筒体的夹角处设有泡沫夹芯肋,复合材料法兰盘的两侧外端面粘结有端部增强帽;复合材料泡沫夹芯筒之间采用螺栓通过安装孔连接固定;筒体为空心圆柱形结构,筒体包括内蒙皮和外蒙皮,以及设置在内蒙皮与外蒙皮之间的泡沫芯层;本实用新型将材料、结构形式与快速拼装作为一个相互影响的整体,提供一种轻质、运输方便、快速拼装架设的混合连接方式。

标签:
复合材料
江苏 - 南京 来源:中冶有色网 2023-03-18
半复合材料杆塔输电线路接地装置

本实用新型提供一种半复合材料杆塔输电线路接地装置,此装置是在半复合材料杆塔上段的复合材料杆塔上部安装地线横担,接地线上端与地线横担连接,接地线自复合材料杆塔中间悬空引下从复合材料杆塔下端穿出,从复合材料杆塔下端穿出的接地线通过一绝缘子与半复合材料杆塔下段的钢材杆塔连接,由于接地线与钢材杆塔之间有绝缘子,在未发生雷击时,接地线未与大地相连,此时接地线上没有感应电场,线路正常运行时无电流流过,降低了避雷线损耗。

标签:
复合材料
江苏 - 南京 来源:中冶有色网 2023-03-18
可调温太阳能复合材料修复装置

本发明公开了一种可调温太阳能复合材料修复装置,属于结构修复领域,包括支撑结构,板壳结构,返修区域,板壳结构上端设置真空袋,在真空袋形成的空间中:返修区域上端粘贴复合材料修复组件;复合材料修复组件包括胶膜,胶膜上端设置复合材料补片,所述的复合材料补片上方设置若干个热电偶,热电偶与温度控制系统连接,复合材料补片以及热电偶上方设置隔离膜;隔离膜上方再粘贴覆盖太阳能吸热材料薄膜,太阳能吸热材料薄膜上表面再粘贴若干个电致变色薄膜。本发明利用有太阳能吸热材料涂层的加热层结合电致变色薄膜的技术,使得加热固化复合材料等涂胶固化,修补裂痕或者将补片粘连在受损区域,从而更为方便快捷地修补飞机等设备的损伤。

标签:
复合材料
江苏 - 南京 来源:中冶有色网 2023-03-18
钢-纤维增强水泥基复合材料组合桥面板

本实用新型涉及一种钢-纤维增强水泥基复合材料组合桥面板,包括:纤维增强复合材料拉挤板,内设钢筋网片的纤维水泥基增强复合面层和竖向拉结钢筋,所述的增强复合材料拉挤板具有增加复合材料拉挤板刚度的“U”型凸肋和“U”型凹肋,在纤维增强复合材料拉挤板和纤维水泥基增强复合面层之间设有轻质混凝土层,在轻质混凝土层内设有钢筋且钢筋位于“U”型凸肋内,所述竖向拉结钢筋的一端与钢筋连接,竖向拉结钢筋的另一端与纤维水泥基增强复合面层内的钢筋网片连接,形成复合剪力键,使钢-纤维增强水泥基复合材料组合桥面板中的纤维水泥基增强复合面层与轻质混凝土层和纤维增强复合材料拉挤板能够共同工作。

标签:
复合材料
江苏 - 南京 来源:中冶有色网 2023-03-18
制备耐高温铝熔液熔蚀-磨损铁基复合材料的方法

本发明是一种制备耐高温铝熔液熔蚀-磨损铁基复合材料的方法,制备方法包括梯度含镍陶瓷预制体的制备和铁基复合材料的制备,梯度含镍陶瓷预制体的制备方法包括有选取机泡沫、陶瓷浆料的制备、有机泡沫浸渍法制备前驱体、陶瓷预制体的烧结成预制体,铁基复合材料的制备包括砂型铸造、铁合金的熔炼及浇注。该复合材料中含镍的梯度陶瓷与铁合金形成梯度结合,在复合材料的界面处,陶瓷与金属相互啮合,界面清洁、无裂纹存在;网络状的陶瓷体发挥耐高温铝熔液熔蚀-磨损作用,同时限制铁合金熔蚀铁合金产物脱落,可有效提高复合材料的的耐金属熔蚀-磨损性能。

标签:
复合材料
江苏 - 南京 来源:中冶有色网 2023-03-18
带辅助压紧环的预应力纤维增强复合材料索锚固装置

本实用新型公开了一种带辅助压紧环的预应力纤维增强复合材料索锚固装置,包括锚块、设置在锚块的开孔中的复合材料索锚固夹片、设置在复合材料索锚固夹片中的复合材料索和设置在复合材料索锚固夹片两端的辅助压紧环,复合材料索锚固夹片为整体结构且两端均超出锚块,复合材料索锚固夹片本体两端的直径沿端部向里递增,随着辅助压紧环从本体端部向里旋紧,复合材料索锚固夹片对复合材料索的夹持力不断增大;复合材料索锚固夹片的本体上设置有n个纵向的开槽。本实用新型锚固装置应用于FRP索的锚固,具有可重复使用、锚固效率高等优点,本实用新型在夹片两端部外表面布有螺纹,设置辅助压紧环,增加了夹片与FRP筋的挤压力,可有效减小锚块长度。

标签:
复合材料
江苏 - 南京 来源:中冶有色网 2023-03-18
氢化重稀土高熵复合材料及其制备方法和应用

本发明公开一种氢化重稀土高熵复合材料及其制备方法和应用。以各原子摩尔百分含量计,该氢化重稀土高熵复合材料的化学分子式为A20B18C18Co20Al24Hx,其中,A、B、C彼此不同,分别选自Gd、Tb、Dy、Ho、Er、Tm中的一种,且x>0。其制备方法包括:根据高熵复合材料的化学分子式称取相应原料;将原料熔炼、冷却后得到母合金铸锭;将母合金铸锭熔融成合金熔液,吸铸成高熵非晶合金棒材;将该棒材破碎、球磨,得高熵非晶合金粉末;将该粉末等温吸氢处理,制得氢化重稀土高熵复合材料。本发明通过对高熵非晶合金进行等温吸氢处理,诱导非晶基体析出稀土氢化物,大幅度提高了合金磁熵变,同时明显降低了合金的磁滞损耗。该氢化重稀土高熵复合材料可用作磁制冷工质。

标签:
复合材料
江苏 - 南京 来源:中冶有色网 2023-03-18
聚苯胺纳米管-硫复合材料及二次电池

本发明公开了一种聚苯胺纳米管-硫复合材料及其制备方法,本发明还公开了一种使用该复合材料作为正极材料的二次铝电池。本发明提供的聚苯胺纳米管-硫复合材料,聚苯胺纳米管电导率高、纳米孔吸附能力强,所制作的聚苯胺纳米管-硫复合材料电极,整体电导率高、活性物质流失少;使用该复合材料的二次铝电池,容量高、循环性能好。本发明公开了一种聚苯胺纳米管-硫复合材料及其制备方法,本发明还公开了一种使用该复合材料作为正极材料的二次铝电池。本发明提供的聚苯胺纳米管-硫复合材料,聚苯胺纳米管电导率高、纳米孔吸附能力强,所制作的聚苯胺纳米管-硫复合材料电极,整体电导率高、活性物质流失少;使用该复合材料的二次铝电池,容量高、循环性能好。

标签:
复合材料
江苏 - 南京 来源:中冶有色网 2023-03-18
EPDM复合材料及其制备方法

本发明公开了提供一种EPDM复合材料及其制备方法,该复合材料是以EPDM/POE为基材的交联弹性体,并在基材中加入硼酸钐(SmBO3)和锑掺杂氧化锡(ATO)来改善EPDM/POE复合材料的力学性能和电性能。该以EPDM/POE为基材的复合材料具有低门尼粘度易于加工、硫化胶的介电强度在高温老化后不下降甚至会增加的特性,因此可大大提高EPDM的应用范围。本发明的EPDM复合材料,是由以下质量份配比的原料制成:EPDM?80份、POE?10~30份、无机功能填料20~40份、硫化活性剂3.5~8份、硫化剂2~6份、抗氧剂0.5~2份。

标签:
复合材料
江苏 - 南京 来源:中冶有色网 2023-03-18
带辅助压紧环的预应力纤维增强复合材料索锚固装置

本发明公开了一种带辅助压紧环的预应力纤维增强复合材料索锚固装置,包括锚块、设置在锚块的开孔中的复合材料索锚固夹片、设置在复合材料索锚固夹片中的复合材料索和设置在复合材料索锚固夹片两端的辅助压紧环,复合材料索锚固夹片为整体结构且两端均超出锚块,复合材料索锚固夹片本体两端的直径沿端部向里递增,随着辅助压紧环从本体端部向里旋紧,复合材料索锚固夹片对复合材料索的夹持力不断增大;复合材料索锚固夹片的本体上设置有n个纵向的开槽。本发明锚固装置应用于FRP索的锚固,具有可重复使用、锚固效率高等优点,本发明在夹片两端部外表面布有螺纹,设置辅助压紧环,增加了夹片与FRP筋的挤压力,可有效减小锚块长度。

标签:
复合材料
江苏 - 南京 来源:中冶有色网 2023-03-18
编织陶瓷基复合材料疲劳寿命的预测方法

本发明属于复合材料疲劳寿命预测技术领域,具体涉及一种编织陶瓷基复合材料疲劳寿命的预测方法。本发明对编织陶瓷基复合材料施加循环载荷,基于编织陶瓷基复合材料的疲劳迟滞耗能,获得编织陶瓷基复合材料的纤维/基体界面剪应力衰退速率方程;同时对不同循环数的载荷作用下的疲劳试样进行断口拔出断裂镜面测试,获得不同循环数的载荷作用下的疲劳作用后,编织陶瓷基复合材料中纤维强度,再以此获得编织陶瓷基复合材料的纤维强度衰退速率方程;然后根据总体载荷承担准则,得到随机载荷影响下的不同循环数纤维断裂体积百分数(即纤维失效概率),当所述不同循环数纤维断裂体积百分数达到临界值时,视为编织陶瓷基复合材料疲劳断裂。

标签:
复合材料
江苏 - 南京 来源:中冶有色网 2023-03-18
基于激光3D打印形成的铝基原位复合材料及其制备方法

本发明属于颗粒增强铝基原位复合材料技术领域,公开了一种基于激光3D打印形成的铝基原位复合材料及其制备方法,包括:配备Al-Si-Mg合金粉末和Al2O3粉末的混合料;采用间歇式球磨工艺进行球磨;对工件建立的三维CAD模型并进行分层切片处理;采用激光束逐行扫描所铺粉末形成工件的一个二维截面;重复上述步骤直至工件加工完毕,形成在Al基体上分散有Al2Si4O10增强相的铝基原位复合材料。本操作方法简便,并激光成形过程中,Al-Si-Mg合金和Al2O3在高能激光作用下原位生成Al2Si4O10增强相,提高界面湿润性,进而增强复合材料的界面强度。

标签:
复合材料
江苏 - 南京 来源:中冶有色网 2023-03-18
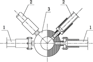
基于预紧力齿连接复合材料管的空间连接结构

本实用新型提供的一种基于预紧力齿连接复合材料管的空间连接结构,包括金属连接器和复合材料管;所述金属连接器包括水平金属管、焊接于水平金属管顶部的竖直金属管、焊接于水平金属管顶部且均匀分布于竖直金属管周围的倾斜金属管;所述水平金属管、竖直金属管和倾斜金属管内壁均设有金属管齿,所述复合材料管上分别设有与金属管齿配合的复合材料管齿;所述复合材料管通过复合材料管齿和金属管齿固定于水平金属管、竖直金属管和倾斜金属管内。该空间连接结构结构简单、连接效率高;在复合材料端部采用加工齿和施加预紧力的方式可以充分发挥复合材料的力学性,同时通过复合材料管上的金属管连接提高了桁架结构中杆件连接的稳定性和可靠性。

标签:
复合材料
江苏 - 南京 来源:中冶有色网 2023-03-18
钢-复合材料风机塔筒
钢-复合材料风机塔筒 1102     
 0

本实用新型公开了一种钢-复合材料风机塔筒,包括多个锥形钢管节段连接而成的钢内管和由多个玻璃纤维复合材料管节段构成的复合材料外管;在每个钢内管的表面粘贴具有防腐性质的E-玻璃纤维布,形成钢-复合材料组合节段;该钢-复合材料组合节段沿圆周方向分为两片;沿每片的纵向设置纵向加劲肋;每两片钢-复合材料组合节段之间采用高强螺栓连接而成,最终形成钢-复合材料塔筒段;各钢-复合材料塔筒段之间采用法兰连接。本实用新型较传统钢风机塔筒,钢-复合材料风机塔筒可以有效抵御风沙、风浪侵袭,耐疲劳、耐腐蚀,能够保证塔筒的寿命。

标签:
复合材料
江苏 - 南京 来源:中冶有色网 2023-03-18
上一页 156 157 158 159 160 ... 167 下一页
共167页    到第

中冶有色为您提供最新的江苏南京有色金属复合材料技术理论与应用信息,涵盖发明专利、权利要求、说明书、技术领域、背景技术、实用新型内容及具体实施方式等有色技术内容。打造最具专业性的有色金属技术理论与应用平台!

全国热门有色金属设备推荐
展开更多 +
全国热门有色金属技术推荐
展开更多 +

 

江西省隆恩特环保设备有限公司
宣传

报名参会
更多+

报告下载

有色专家
更多+

南京理工大学、中国科学院
院士
中国铝业股份有限公司
总裁 党委副书记
郑州大学
副校长
中科院过程工程研究所循环经济技术中心
主任
清华大学
教授
赤泥综合利用研究报告2025
推广

热门技术
更多+

推荐企业
更多+

福建省金龙稀土股份有限公司
宣传

发布

在线客服

公众号

电话

顶部
咨询电话:
010-88793500-807