青岛垚鑫智能科技有限公司
宣传

位置:中冶有色 >

有色技术频道 >

> 复合材料技术

分类:
全部
矿山技术
冶金技术
材料制备及加工技术
环境保护技术
分析检测技术
 
全部
功能材料技术
复合材料技术
新能源材料技术
合金材料技术
加工技术
地区:
全部
北京
天津
上海
重庆
河北
山西
辽宁
吉林
黑龙江
江苏
浙江
安徽
福建
江西
山东
河南
湖北
湖南
广东
海南
四川
贵州
云南
陕西
甘肃
青海
内蒙
广西
西藏
宁夏
新疆
其他
其他
展开
 
全部
天津

天津有色金属复合材料技术理论与应用

免费发布技术信息>>
用于去除水体中藻类的氧化铋与铌酸铋复合材料及其制备方法和应用

本发明公开了一种用于去除水体中藻类的氧化铋与铌酸铋复合材料及其制备方法和应用,制备方法包括以下步骤:将氢氧化钠、铋酸钠和水混合均匀,再加入Bi3NbO7,搅拌均匀,于170~180℃保温5~8h,离心,洗涤离心所得固体,干燥,得到氧化铋与铌酸铋复合材料,本发明所制得的氧化铋与铌酸铋复合材料可用于去除水体中的有害藻类,具有较好的氧活化能力及可见光响应能力,此外,氧化铋与铌酸铋复合材料的光生载流子重组率,加速了层间界面电荷分离和转移,使得其具有较高的光催化活性。

标签:
复合材料
天津 - 天津 来源:中冶有色网 2023-03-18
二硫化铁树脂复合材料及其制备方法和应用

本发明属于水处理技术领域,具体涉及一种二硫化铁树脂复合材料及其制备方法和应用。本发明提供一种二硫化铁树脂复合材料,包括树脂以及分布在树脂孔隙中的二硫化铁,其中,二硫化铁与树脂的质量比为(0.1‑0.2):1,二硫化铁的粒径为5‑50nm。本发明提供的二硫化铁树脂复合材料理化性能稳定,抗干扰能力强,对水中的重金属具有高吸附容量,且易于分离。同时,二硫化铁分布在树脂孔隙中,还能有效避免二硫化铁的集聚,增强反应活性,另外,复合材料易于回收利用,经济性强。

标签:
复合材料
天津 - 天津 来源:中冶有色网 2023-03-18
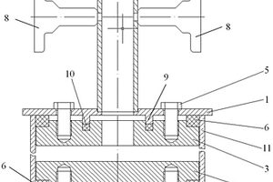
复合材料圆柱筒与带中心通孔端盖的无损拆卸具

本发明公开了一种复合材料圆柱筒与带中心通孔端盖的无损拆卸具,包括支撑结构、连接杆,以及套设于连接杆外部的套筒;所述支撑结构包括端面与连接杆固定连接的基座,以及与基座通过铰链结构连接的多个支撑爪,支撑爪可自由旋转。本发明用于无损分离圆柱筒与其端盖,该拆卸具可以实现在保证复合材料圆柱筒内壁及端盖不受损的条件下,穿过端盖的中心通孔将端盖与复合材料筒体进行拆卸分离。同时,还可调整拆卸具长度应用于可变长度的复合材料圆柱筒拆卸。

标签:
复合材料
天津 - 天津 来源:中冶有色网 2023-03-18
通过气相沉积催化剂制备碳纳米管—石墨烯复合材料的方法

本发明公开通过气相沉积催化剂制备碳纳米管—石墨烯复合材料的方法,将石墨烯和二茂铁密封在不锈钢反应釜,通过升温和降温,以使催化剂二茂铁均匀地附着在石墨烯的表面,再将其放置于管式炉中,通过CVD生长碳纳米管;制备出碳纳米管—石墨烯复合材料。通过扫描电镜和透射电镜可看出二茂铁颗粒均匀的附着在石墨烯表面,颗粒尺寸在15~30nm左右。制备的复合材料,碳纳米管均匀地生长在石墨烯层间。由于这种负载催化剂的方法是通过将石墨烯置于二茂铁的蒸汽中,使石墨烯与催化剂充分接触,从而可以使催化剂均匀地附着在内外石墨烯表面上,从而为制备优良的复合材料做好了基础。

标签:
复合材料
天津 - 天津 来源:中冶有色网 2023-03-18
碳纤维环氧树脂基复合材料表面导电层制备方法

一种碳纤维环氧树脂基复合材料的表面导电层制备方法。其包括将碳纤维环氧树脂基复合材料欲制备导电层部位进行抛光、用热碱溶液除油、水清洗表面、微蚀与中和处理、水清洗表面、敏化、水清洗表面、活化、水清洗表面、化学镀铜、水清洗表面、电镀铜、水清洗表面、电镀金等步骤。本发明方法是通过机械和化学处理手段去除碳纤维环氧树脂基复合材料欲制备导电层部位包覆碳纤维的树脂从而使表面碳纤维露出,采用敏化、活化后的化学镀铜来提高镀层与碳纤维树脂基复合材料间的结合力,电镀铜来提高导电层的制备效率,电镀金来提高导电层的耐蚀性。本方法制备的导电层具有表面平整、均匀致密、低电阻、结合力高、耐蚀性好、工艺稳定性好、成本低等优点。

标签:
复合材料
天津 - 天津 来源:中冶有色网 2023-03-18
三维高导热碳基复合材料的制备方法

本发明涉及一种三维高导热碳基复合材料的制备方法,首先将二维石墨材料进行高温热压获得内部石墨晶格水平取向的石墨片材,此时的石墨片材沿水平方向具有高导热系数,将其切割为长宽高尺寸相等的石墨小立方块后,石墨小立方块趋于随机取向,经热压重新固结为石墨片材后,材料内部的石墨晶格在三维方向均有取向,因此在三维方向均有高导热系数。一维碳纳米材料的加入能够对复合材料中的石墨小立方块进行交联,进而增强复合材料的力学性能。本发明的基体原料二维石墨材料和一维碳纳米材料易得,材料的切割、复合与热压简单可控,三维高导热碳基复合材料沿平面方向导热系数达到100W/(m·K),沿厚度方向导热系数达到60W/(m·K)。

标签:
复合材料
天津 - 天津 来源:中冶有色网 2023-03-18
二氧化钛纳米线与硫化铅量子点复合材料的制备方法

本发明公开了一种二氧化钛纳米线与硫化铅量子点复合材料的制备方法。该方法过程包括:将P25颗粒加入到NaOH溶液中,经水热反应、洗涤、干燥及煅烧得到二氧化钛纳米线;分别将PbCl2和S溶解到油胺中得到Pb和S的前驱体溶液,再将Pb的前驱体溶液与S的前驱体溶液混合,经淬冷、提纯,得到硫化铅量子点;将二氧化钛纳米线的甲苯和油胺的混合溶液与硫化铅量子点的甲苯溶液混合,经离心,取沉淀物分散在甲苯中,得到二氧化钛纳米线与硫化铅量子点的复合材料。本发明优点:制备工艺简单,所制得的复合材料硫化铅量子点在二氧化钛纳米线上分散均匀,使得二氧化钛的光谱响应范围拓宽到可见光和近红外区域,从而提高了该复合材料的太阳光转化效率。

标签:
复合材料
天津 - 天津 来源:中冶有色网 2023-03-18
复合材料的抗液体冲击侵蚀性能的测试工装

本实用新型公开了一种复合材料的抗液体冲击侵蚀性能的测试工装,包括用于支撑的底架装置,所述底架装置中间安装有用于倾斜复合材料的翻转装置,所述翻转装置上面设置有用于刮去水液的刮水装置。本实用新型所述的一种复合材料的抗液体冲击侵蚀性能的测试工装,通过刮水装置的设置,自动去除复合材料表面的水液,降低了人工劳动强度,通过翻转装置的设置,既方便水液下流,又方便竖起复合材料进行查验,通过翻转装置的设置,利用机械转动复合材料,省时省力。

标签:
复合材料
天津 - 天津 来源:中冶有色网 2023-03-18
复合材料圆筒长期环向加载卡具

本实用新型公开了一种复合材料圆筒长期环向加载卡具,包括托盘、托盘上开设有的多个向外辐射式的条形导轨、每个条形导轨上滑动连接的膨胀块;多个所述膨胀块外部之间通过复合材料圆筒共同套设;多个所述膨胀块的中心之间围成加压孔,加压孔中安装有加压装置,所述加压装置在加压孔中向着膨胀块方向相对运动,产生的压力的径向分量推动膨胀块沿复合材料圆筒试件的径向移动,从而进行复合材料的性能试验测试。纤维增强复合材料圆筒长期环向加载卡具可实现圆筒试件的环向加载,合理设计压头与膨胀块尺寸能够保证试件长期稳定加载且环向应力均匀。为材料的耐久性评价提供基础。

标签:
复合材料
天津 - 天津 来源:中冶有色网 2023-03-18
铜基底氧化锌复合材料及其制备方法和应用

本发明公开了一种铜基底氧化锌复合材料及其制备方法和应用,所述铜基底氧化锌复合材料由铜基底和附着在铜基底上的花簇状氧化锌棒构成;所述复合材料通过以下方法制备:步骤1,按照摩尔比(1‑2):(0.2‑0.4):(0.2‑0.4)取十六胺、葡萄糖、氯化铜均匀分散于去离子水中,然后于100‑140℃下保温10‑16h,过滤干燥得到基底铜;步骤2,将所述基体铜中加入硝酸锌、六亚甲基四胺和去离子水,其中硝酸锌、六亚甲基四胺与步骤1中氯化铜的摩尔比为(0.2‑0.4):(1‑1.5):(1‑1.5),于90‑100℃下搅拌2‑6h,过滤干燥得到铜基底氧化锌复合材料。所述铜基底氧化锌复合材料、铜基底氧化锌复合银材料都具有良好的光催化技术对水体中污染物的有效去除的应用。

标签:
复合材料
天津 - 天津 来源:中冶有色网 2023-03-18
通过外加剪切应变调控二维/三维复合材料导电性的方法

本发明属于电工材料领域,具体公开了一种通过外加剪切应变调控二维/三维复合材料导电性的方法,包括:根据二维材料和三维材料界面匹配情况,建立多组二维/三维复合材料结构;进行结构弛豫和优化,通过计算不同二维/三维复合材料结构连接方式的界面能,确定界面能最低的亚稳定结构;对亚稳定结构施加剪切应变,获取剪切应变‑应力曲线,并计算不同剪切应变条件下亚稳定结构的能带,获取剪切应变‑能带隙关系;根据剪切应变‑能带隙关系,通过施加不同剪切应变调控二维/三维复合材料的导电性。利用本发明方法可实现对二维/三维复合材料导电性的调控,揭示了外加剪切应变与材料电导率的关联,可为先进电工材料的设计制备提供理论与技术支持。

标签:
复合材料
天津 - 天津 来源:中冶有色网 2023-03-18
钙钛矿型光电转换复合材料溶胶及其制备方法

本发明涉及一种钙钛矿型光电转换复合材料溶胶及其制备方法,采用具有光敏活性的二酰亚胺和甲胺混合制备钙钛矿型光电转换复合材料溶胶,调节钙钛矿型光吸收材料的带隙和成膜性能。本发明钙钛矿型光电转换复合材料溶胶由卤化铅、二酰亚胺氢卤酸盐、甲胺氢卤酸盐、脱水催化剂、纳米氧化物和有机溶剂组成。采用本发明复合材料溶胶涂布形成的光电转换复合材料薄膜具有更好的电子或空穴载流子传输性能,可以扩展太阳光的光吸收波长范围和提高钙钛矿太阳电池的光电转换效率1.5%?2%。

标签:
复合材料
天津 - 天津 来源:中冶有色网 2023-03-18
碳纤维环氧树脂复合材料的表面处理方法

一种碳纤维环氧树脂复合材料的表面处理方法。其包括将碳纤维环氧树脂复合材料与电极接触部位抛光、用热碱溶液除油、用水清洗表面、将表面放入浓硫酸和过氧化氢溶液中腐蚀、在热浓硝酸中进行粗化氧化、用水清洗表面、在表面涂覆一层导电胶并固化、对导电层表面进行抛光处理、用丙酮溶液清洗抛光表面等步骤。本发明的碳纤维环氧树脂复合材料的表面处理方法是利用机械和化学处理手段使碳纤维环氧树脂复合材料上与金属电极间接触的表面碳纤维端部尽可能多地向外露出,同时改善碳纤维的粘接性能,并用低电阻率导电胶填充纤维与树脂间空隙,以此来降低两者间的接触电阻。本方法具有工艺简单、接触电阻低、导电层与复合材料结合强度高等优点。

标签:
复合材料
天津 - 天津 来源:中冶有色网 2023-03-18
用于非酶葡萄糖传感电极的T3C2TxMXene/CuMOF复合材料及其制备方法

本发明属于电化学传感器领域,具体涉及一种用于非酶葡萄糖传感电极的T3C2TxMXene/CuMOF复合材料及其制备方法。以单层T3C2TxMXene作为基底材料,在T3C2TxMXene表面原位生长呈交联片状的CuMOF。该复合材料的制备方法主要包括以下三个步骤:合成单层T3C2TxMXene作为基底材料;室温下采用温和的方法合成CuMOF,过滤,保留结晶溶液;最后将单层T3C2TxMXene加入结晶溶液,室温静置得到T3C2TxMXene/CuMOF复合材料。本发明制备的复合材料,CuMOF呈交联片状原位生长在T3C2TxMXene的片层表面,且形貌均匀,比表面积大,具有高的电催化活性,具有对葡萄糖检测灵敏度高、特异性检测性强的优点,从而提高葡萄糖传感器的检测效果,具有良好的应用前景。

标签:
复合材料
天津 - 天津 来源:中冶有色网 2023-03-18
水润滑复合材料及其制备方法

本发明提供了一种水润滑复合材料,包括树脂基体和纤维增强体,所述纤维增强体为木材遗态纤维。进一步优选的,本发明提供的水润滑复合材料包含石墨烯、遗态纤维和环氧树脂,所述石墨烯分布于所述遗态纤维材料的表面,石墨烯‑遗态纤维浸渍于所述环氧树脂。本发明提供的水润滑复合材料的木材表面改性石墨烯起到减摩的作用,利用天然木材纤维及其天然精细三维结构,即遗态纤维,进行环氧树脂机械性能的改善。利用木材纤维制备具有高强高韧、低摩擦性能的新型绿色环保的水润滑复合材料,是将植物纤维“蜕变”为高端科技新材料的一种全新应用。

标签:
复合材料
天津 - 天津 来源:中冶有色网 2023-03-18
生物炭基三维复合材料及其修复高浓度铬污染土壤的方法

本发明提供了一种生物炭基三维复合材料及其修复高浓度铬污染土壤的方法,该生物炭基三维复合材料采用生物炭和间苯二胺进行负载、氧化、聚合得到;将该生物炭基三维复合材料与驯化得到的优势菌种一起用于修复铬污染土壤。该方法能够克服微生物修复周期长、对环境适应性差,普通生物炭的物理吸附无法从根本上消除污染物等缺点,两者协同效应可强化对污染土壤的实际修复效果,缩短修复运行周期。本发明所述生物炭基三维复合材料制备工艺简单、成本低、环保无二次污染、效果显著,大幅度提高Cr(VI)的还原速率,降低铬的迁移能力和生物有效性,提高土壤稳定性,同时增强土壤肥力并增加土壤微生物物种多样性。

标签:
复合材料
天津 - 天津 来源:中冶有色网 2023-03-18
基于复合材料制孔加工主动排屑装置及方法

本发明公开了一种基于复合材料制孔加工主动排屑装置及方法,包括步骤:安装排屑装置;将复合材料装夹在机床加工台上;调整防逸屑罩体底部弹性伸缩装置至与复合材料工件相接触;将防逸屑罩体上的切屑出口通道的出口通过负压通道与负压生成装置连接;启动空气压缩装置和负压生成装置,然后启动机床加工。本方法能够有效降低加工过程中切削力、减小复合材料出口毛刺以及刀具的磨损。

标签:
复合材料
天津 - 天津 来源:中冶有色网 2023-03-18
纳米碳颗粒-多孔骨架复合材料、其金属锂复合物、它们的制备方法及应用

公开了一种纳米碳颗粒‑多孔骨架复合材料、其金属锂复合物、它们的制备方法及应用。纳米碳颗粒‑多孔骨架复合材料中,多孔骨架是直径1‑100微米的碳基多孔微球材料,或是具有微米尺度孔径分布的内部孔隙的多孔金属材料,纳米碳颗粒分布于碳基多孔微球材料或多孔金属材料的孔隙内及表面上。纳米碳颗粒‑多孔骨架复合材料与熔融金属锂混合形成锂‑纳米碳颗粒‑多孔骨架复合材料,存在于该材料中的纳米碳颗粒可以在电池循环过程中更好地传导锂离子,从而抑制金属锂枝晶的生成,提高电池的安全性和循环稳定性。

标签:
复合材料
天津 - 天津 来源:中冶有色网 2023-03-18
PVC复合材料生产用吸移传送装置

本发明公开了一种PVC复合材料生产用吸移传送装置,其结构包括钢座、安全夹头底座、安全夹头、PVC复合材料卷、传送装置,钢座为矩形上方与安全夹头底座固定连接,下方设于地面上,安全夹头底座设于钢座上方,安全夹头固定于安全夹头底座上方并设于钢座上方,安全夹头底座设于钢座、安全夹头之间,PVC复合材料卷设于安全夹头两端,传送装置设于PVC复合材料卷内部并与安全夹头两端相连接,传送装置设有气涨轴、槽洞、气囊、橡胶充气嘴,气涨轴为圆筒状与槽口活动连接。本发明的有益效果:设有橡胶充气嘴,防漏气效果佳,便于使用。

标签:
复合材料
天津 - 天津 来源:中冶有色网 2023-03-18
修复重金属污染土壤的复合材料的制备方法及产品

本发明提供的一种修复重金属污染土壤的复合材料的制备方法,成功合成了可以用于高效修复农田土壤重金属Cd的复合材料,对重金属Cd有更高的吸附量,更持久的钝化效果;并且所用材料廉价易得,有利于土壤重金属钝化修复在我国受污染的地区大面积推广应用;复合材料中的主吸附官能团巯基(—HS)、氨基及插层的DTPA可以高效络合重金属离子,并生成稳定的络合物,对污染土壤重金属的钝化修复可以达到较理想的效果;复合材料密度适中、颗粒较细,混合在土壤中较为均匀,增强了其适用性。

标签:
复合材料
天津 - 天津 来源:中冶有色网 2023-03-18
原位生成钛酸锂—二氧化钛复合材料及其制备方法

本发明公开了一种原位生成钛酸锂—二氧化钛复合材料及其制备方法,该钛酸锂—二氧化钛复合材料,由内到外分为三层,最内层为钛酸锂、中间层为二氧化钛,最外层为碳。其制备方法包括以下步骤:将二氧化钛加入到氢氧化钠水溶液中进行水热反应;而后将产物加入到酸溶液中,进行离子置换,离心后,固体加入氢氧化锂溶液,混合均匀,加入水热反应釜反应;再此离心,将所收集固体进行一次焙烧,得到钛酸锂,加入有机碳源球磨,二次焙烧,得到到所述原位生成钛酸锂—二氧化钛复合材料。该钛酸锂—二氧化钛复合材料具有核‑壳结构,不仅能抑制产品胀气,还能使产品具有良好的安全性能和结构稳定性能。

标签:
复合材料
天津 - 天津 来源:中冶有色网 2023-03-18
基于紫外辐照改性涤纶增强环氧复合材料的方法

一种基于紫外辐照改性涤纶增强环氧复合材料的方法,涉及一种树脂基复合材料。先将涤纶织物通过紫外辐照改性,在涤纶纤维表面上接枝上酰胺基、羧基等活性基团。利用真空导流技术,使环氧树脂与涤纶织物复合。在树脂固化后,得到涤纶增强环氧复合材料。本发明提供的紫外辐照改性涤纶增强环氧复合材料的方法简便,无污染并且切实可行。

标签:
复合材料
天津 - 天津 来源:中冶有色网 2023-03-18
具有分子活化功能的有机/无机复合材料及其制造方法

本发明涉及一种具有分子活化功能的有机/无机复合材料及其制造方法。该复合材料的质量百分比配方为:远红外功能陶瓷粉体30~50%;高分子材料50~70%;远红外功能陶瓷粉体为ZL200410062705.2号专利中所设计的陶瓷材料;或者为专利号为ZL02125487.7所规定的多功能健康陶瓷粉;高分子材料是指树脂或塑料中的一种。该方法包括:1.远红外功能陶瓷粉体的制备:2远红外功能陶瓷粉体的改性处理:3.具有分子活化功能的有机/无机复合材料的复合制造。本发明复合材料组分简单,制造容易,使用方便,节能和环保效果明显。

标签:
复合材料
天津 - 天津 来源:中冶有色网 2023-03-18
氟化二氧化钛/碳/四氧化三铁三层纳米复合材料及制备

本发明公开了一种氟化二氧化钛/碳/四氧化三铁三层纳米复合材料及制备方法。该方法过程包括,以氯化铁,葡萄糖以及钛酸四丁酯为原料,在乙二醇溶液中进行溶剂热反应得到四氧化三铁颗粒,再将其分散于葡萄糖溶液中水热反应进行碳层包覆,最后在乙醇的钛酸四丁酯与氢氟酸的混合溶液中进行溶剂热反应实现氟化二氧化钛层对颗粒的包覆,得到氟化二氧化钛/碳/四氧化三铁三层纳米复合材料。本发明提供的复合材料制备方法简单,成本低。制备的复合材料具有非常高的可见光催化效率以及回收利用率,具有重要的理论研究意义和广阔的实际应用前景。

标签:
复合材料
天津 - 天津 来源:中冶有色网 2023-03-18
石墨烯负载四氧化三铁纳米复合材料的制备方法

本发明公开了一种石墨烯负载四氧化三铁纳米复合材料的制备方法。该方法的过程包:采用沉积沉淀法制备前驱体,用氢氧化钠或氨水将九水合硝酸铁或六水合氯化铁以氢氧化铁的形式沉积到石墨烯上,将所得黑色粉末清洗,烘干,研磨后在氩气保护下煅烧,之后降温再在氩气与氢气或氩气与氨气混合气体保护下还原,从而得到石墨烯负载四氧化三铁纳米复合材料。本发明制备工艺简单稳定,所得到复合材料,石墨烯上四氧化三铁分布均匀,且与基体石墨烯界面结合良好,可提高其作为功能材料的吸波等性能。该方法也可推广用于以碳纳米管、氧化石墨等碳材料为基体制备不同基体的碳材料负载四氧化三铁的纳米复合材料。

标签:
复合材料
天津 - 天津 来源:中冶有色网 2023-03-18
复合材料筒体内壁密封试验装置

本实用新型公开了一种复合材料筒体内壁密封试验装置,包括设置于复合材料筒体两端的上、下密封模具;所述上密封模具包括上外法兰盘和上内法兰盘,且两者之间通过多个螺栓连接;上外法兰盘和上内法兰盘两者中间均形成通孔,上外法兰盘顶部连接抽空机构;所述下密封模具包括下外法兰盘和下内法兰盘,且两者之间通过多个螺栓连接;所述上内、外法兰盘之间,以及所述下内、外法兰盘之间均设置外密封圈。本实用新型通过在筒体端口内壁端部实现密封,保证筒体端口的密封性,通过氦质谱检漏仪进行探漏是否存在漏点,从而实现对复合材料筒体内层的气密性检测,实现了在外层复合材料完好的状态下,检测多角度层和内层复合材料的气密性。

标签:
复合材料
天津 - 天津 来源:中冶有色网 2023-03-18
聚丙烯复合材料及其制备方法和应用

本发明属于高分子材料及其成型加工领域,公开了一种聚丙烯复合材料及其制备方法和应用。该聚丙烯复合材料,由以下质量分数的组分组成:聚丙烯81~93.5%,茂金属聚丙烯弹性体5~17.5%,热稳定剂1~2%,聚丙烯专用成核剂0.5~2%。本发明还公开了该聚丙烯复合材料的制备方法:将聚丙烯、茂金属聚丙烯弹性体、热稳定剂和聚丙烯专用成核剂混合分散,挤出造粒,得到聚丙烯复合材料。本发明制备得到的聚丙烯复合材料拉伸强度≥25MPa,常温缺口冲击强度≥5KJ/m2,断裂延伸率≥400%,-20℃铰链折叠次数≥104次,热氧老化后断裂延伸率保持率≥95%,可应用于制备汽车扎带中。

标签:
复合材料
天津 - 天津 来源:中冶有色网 2023-03-18
储热用相变复合材料、制备方法及其应用

本发明涉及一种储热用相变复合材料,属于相变复合材料领域,基于该复合材料的总质量,其包含如下组分:A)65‑100%的相变材料;B)0‑30%的导热增强剂;C)0‑5%的防过冷剂。所述相变材料为赤藻糖醇;所述导热增强剂为纳米铝粉、纳米铜粉、石墨粉、纳米氮化铝、导热碳纤维、石墨烯、膨胀石墨中的一种或多种;所述防过冷剂为纳米二氧化钛、纳米三氧化二铝、纳米二氧化硅、纳米四氧化三铁、纳米氧化铜中的一种或多种。所述相变复合材料的制备方法包括:1)将相变材料加热熔融;2)向步骤1)中获得的熔融液体中加入防过冷剂并搅拌均匀;3)将步骤2)中所得液态中加入导热增强剂,搅拌均匀后出料,冷却后即得本发明的相变复合材料。

标签:
复合材料
天津 - 天津 来源:中冶有色网 2023-03-18
氮掺杂多孔碳纳米片复合材料的制备方法和应用

一种氮掺杂多孔碳纳米片复合材料的制备方法,以三聚氰胺和邻菲罗啉铁的混合物为前驱体,在管式炉、惰性气体环境中高温碳化处理,然后在酸溶液中除去溶解的铁的化合物,即得到碳包覆的碳化铁纳米颗粒的多孔碳纳米片层。本发明的优点是:该制备方法工艺简单、原料便宜、易于实施;制备的复合材料中,碳化铁均匀的分散在碳纳米片层中,使得该复合材料具有高的比表面积和孔体积,碳化铁纳米粒子完全的被石墨化的碳包覆,不易被氧化、腐蚀;该复合材料在酸性电解液稳定,可有效地提高其电池化活性,作为电催化剂应用具有较高的电催化效率,在掺杂碳纳米复合材料制备及质子膜燃料电池电催化领域具有重要的价值和意义。

标签:
复合材料
天津 - 天津 来源:中冶有色网 2023-03-18
对三维编制复合材料的无损检测系统及检测分析方法

本发明提供了一种基于声发射技术的三维编制复合材料的无损检测系统及方法。本方法利用声发射传感器接收复合材料在外部负载下产生的声发射信号,对声发射信号实现数字化进而分析材料的受损情况。利用本方法实现了利用声发射技术对碳纤维三维编织复合材料单向拉伸实验的全程动态监测,证明了声发射事件数和碳纤维复合材料的损伤演化有较好的相关性;对碳纤维三维编织复合材料的频谱分析揭示了纤维断裂致使材料的最终破坏,破坏频率表明了材料的损伤特性;利用频谱分析很好地描述了不同类型的损伤模式,并可进一步细化各峰值的频段,进而对损伤类型和机理做出更详细的解释;利用声发射特征参数可分析材料断裂模式。

标签:
复合材料
天津 - 天津 来源:中冶有色网 2023-03-18
上一页 89 90 91 92 93 ... 105 下一页
共105页    到第

中冶有色为您提供最新的天津有色金属复合材料技术理论与应用信息,涵盖发明专利、权利要求、说明书、技术领域、背景技术、实用新型内容及具体实施方式等有色技术内容。打造最具专业性的有色金属技术理论与应用平台!

全国热门有色金属设备推荐
展开更多 +
全国热门有色金属技术推荐
展开更多 +

 

江西省隆恩特环保设备有限公司
宣传

报名参会
更多+

报告下载

有色专家
更多+

中国矿业大学
教授
中南大学
常务副校长
紫金矿业信息化研发中心
副总经理
有研资源环境技术研究院(北京)有限公司
副总经理/教授级高工
北京科技大学
副院长/教授
赤泥综合利用研究报告2025
推广

热门技术
更多+

推荐企业
更多+

福建省金龙稀土股份有限公司
宣传

发布

在线客服

公众号

电话

顶部
咨询电话:
010-88793500-807