青岛垚鑫智能科技有限公司
宣传

位置:中冶有色 >

有色技术频道 >

> 复合材料技术

分类:
全部
矿山技术
冶金技术
材料制备及加工技术
环境保护技术
分析检测技术
 
全部
功能材料技术
复合材料技术
新能源材料技术
合金材料技术
加工技术
地区:
全部
北京
天津
上海
重庆
河北
山西
辽宁
吉林
黑龙江
江苏
浙江
安徽
福建
江西
山东
河南
湖北
湖南
广东
海南
四川
贵州
云南
陕西
甘肃
青海
内蒙
广西
西藏
宁夏
新疆
其他
其他
展开
 
全部
广州
韶关
深圳
珠海
汕头
佛山
江门
湛江
茂名
肇庆
惠州
梅州
汕尾
河源
阳江
清远
东莞
中山
潮州
揭阳
云浮

广东深圳有色金属复合材料技术理论与应用

免费发布技术信息>>
含有纳米材料层和陶瓷材料层的轮胎

本实用新型涉及一种含有纳米材料层和陶瓷材料层的轮胎,由内到外依次由帘布层、纳米聚丙烯层、缓冲层、胎侧层、陶瓷材料层和胎面层构成,帘布层紧贴纳米聚丙烯层和胎侧层,纳米聚丙烯层紧贴缓冲层、胎侧层和帘布层,缓冲层被纳米聚丙烯层和胎侧层包围,胎侧层紧贴帘布层、陶瓷材料层和胎面层,陶瓷材料层被胎侧层和胎面层包围。其产生的有益效果是:纳米聚丙烯复合材料具有很好的韧性和强度,同时纳米聚丙烯层和橡胶的表面结合性能优异,而且纳米聚丙烯层柔性较好,不会在外力作用下穿刺损害轮胎,陶瓷材料具有良好的刚性,在异物穿刺胎面的时候,陶瓷材料可以很好地分散异物的插入力道,致使异物偏离并在纳米聚丙烯层在配合下使得异物偏离破坏轮胎内部的方向。

标签:
复合材料
广东 - 深圳 来源:中冶有色网 2023-03-18
自行车车架及自行车
自行车车架及自行车 984     
 0

本实用新型公开了一种自行车车架,所述自行车车架包括碳纤维复合材料的架体以及固定在所述架体内的中轴,所述架体与所述中轴一体成型。本实用新型还公开了一种具有上述自行车车架的自行车。所述自行车车架无需在架体上开设安装孔,克服了安装孔加工尺寸不精准的缺陷,同时减少了加工不良及加工工序,缩短了生产流程时间,提高了产品品质,且无需装夹治具;另外,还增强了该自行车车架的整体刚性,达到快速省力的骑行效果。

标签:
复合材料
广东 - 深圳 来源:中冶有色网 2023-03-18
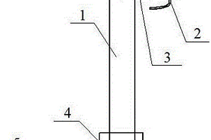
汽车的立柱结构及具有其的汽车

本实用新型公开了一种汽车的立柱结构及具有其的汽车。汽车的立柱结构包括:柱体内板,所述柱体内板上设有多个安装位;侧围外板,所述侧围外板固定在所述柱体内板上且与所述柱体内板之间限定出空腔;空调管道,所述空调管道设在所述空腔内且固定在所述空腔的内侧壁上,所述空调管道为金属件或者复合材料件,所述空调管道上设有分别与所述多个安装位对应的多个通风口。根据本实用新型实施例的汽车的立柱结构,空调管道可以作为空腔的加强件,可以提高空腔的防撞性能和刚度强度,可以提高整体空间的利用率,解决了空调风道布置难题。

标签:
复合材料
广东 - 深圳 来源:中冶有色网 2023-03-18
易剥型的微型可分支光缆

本实用新型公开了一种易剥型的微型可分支光缆,属于通信光缆技术领域。所述的光缆外护套内部中心设置有若干个光纤,所述的光纤外部设置有微管光纤护套,所述的微管光纤护套和光缆外护套之间平行设置有两根强材料纤维增强复合材料,充分利用有限的管道资源,实现"多管分支",加大了光纤的敷设密度,提高了管道的利用率,减少了初期投资,运营商可以根据市场的需求分期进行投资,便于今后增加新品种的光纤,在技术上保持领先,不断适应市场需要,大大缩短了施工周期,光缆长久存放于微管中,不受水、潮气的侵蚀,能确保光缆有20年以上的工作寿命,可以减少购置费用,方便于施工,也节省管道资源,从而降低施工成本。

标签:
复合材料
广东 - 深圳 来源:中冶有色网 2023-03-18
透明介质转移纸
透明介质转移纸 1053     
 0

本实用新型涉及高分子复合材料技术领域,提供一种透明介质转移纸,包括:基膜层和设置于所述基膜层上的第一非金属蒸镀层,所述基膜层靠近所述第一非金属蒸镀层的一面上设有带镭射图案的凹槽,所述第一非金属蒸镀层上设有与所述凹槽相匹配的凸台。本实用新型通过将透明介质转移纸上的非金属蒸镀层代替金属蒸镀层,提高了透明介质转移纸的透明度,使透明介质纸具有更好的视觉效果,同时非金属代替金属的工艺,节约了透明介质纸的制作成本。

标签:
复合材料
广东 - 深圳 来源:中冶有色网 2023-03-18
太阳能电池
太阳能电池 844     
 0

本实用新型实施例提供一种太阳能电池,所述太阳能电池包括:导电玻璃,以及在所述导电玻璃上依次制备的空穴传输层、单臂碳纳米管钙钛矿复合光吸收层、电子传输层、空穴阻挡层和金属电极层,所述金属电极层上贴有保护膜。上述技术方案具有如下有益效果:以碳管钙钛矿复合材料作为光吸收层,在光照下钙钛矿材料吸收光子产生电子空穴对,激子分离后,单臂碳纳米管作为空穴传输高速通道,极大地增加载流子的抽取率,减少电子空穴的复合,可以有效地增大钙钛矿电池的短路电流,从而提高器件性能;保护膜可以有效的隔绝空气中的水分和空气,保证测试期器件性能的稳定。

标签:
复合材料
广东 - 深圳 来源:中冶有色网 2023-03-18
头盔
头盔 1146     
 0

本实用新型提供一种头盔,包括头盔主体;头盔主体采用厚度渐变的设计,其厚度从顶部往底部由厚变薄,在保证头盔主体具有一定抗冲击和抗刺穿能力的同时,从结构设计的角度减轻了头盔的重量;再者,头盔主体采用碳纤维树脂复合材料制成,在保证头盔主体强度的基础上,从材料选择的角度进一步减轻了头盔的整体重量,极大地提高了本实用新型的头盔佩戴时的舒适度。

标签:
复合材料
广东 - 深圳 来源:中冶有色网 2023-03-18
菱镁卡板
菱镁卡板 789     
 0

一种直接应用于机械化装卸、搬运和堆存货物的菱镁卡板,包括一上菱镁铺板和下菱镁铺板,中间夹以菱镁垫块组合而成。所述上菱镁铺板、下菱镁铺板与菱镁垫块之间分别借助于螺丝钉装钉组合。本实用新型使用菱镁复合材料制成的,属于菱镁制品,具有防火、防潮、防虫、抗压强度高的性能。

标签:
复合材料
广东 - 深圳 来源:中冶有色网 2023-03-18
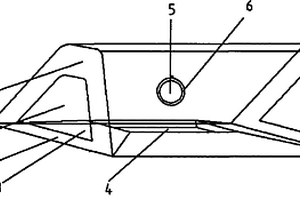
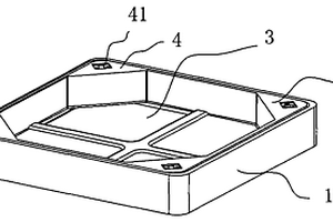
毒鼠盒
毒鼠盒 821     
 0

一种毒鼠盒,涉及毒杀老鼠的装置。毒鼠盒包括盒座(1)和盒盖(2),盒座(1)和盒盖(2)固定连接在一起形成一个整体,在盒体的两端开设有孔洞口;盒座内呈凸台状(3);盒座(1)内设有一个饵槽(4);盒盖(2)上设有一个投料口(5)。本实用新型具有以下优点:由复合材料制作,耐摔,防潮且无回收价值;盒子底座和盖子相互连接在一起,体型小巧轻便,运输使用方便;凸台位置高于底座边缘,有效防止水流入饵槽内,保持饵料药效持久;盒子后方设有一个活动投料口,解决投料、清洁不便问题;进出盒子两端洞口的大小、形态适合老鼠的习性。

标签:
复合材料
广东 - 深圳 来源:中冶有色网 2023-03-18
钢胎水泥弹性管
钢胎水泥弹性管 943     
 0

本实用新型涉及一种弹性管材。为避免现有给排水主管材的不足而提供一种柔韧性好、强度高、耐腐、耐磨、耐振,并具有自动弹性补偿的管材。本实用新型包括一个筒体呈波纹的钢胎。钢胎的内外壁衬附着保护层和改性水泥复合材料,本实用新型制造方便,经济性好,管材总体费用低,因而可降低工程造价及运行费用,同时本发明使用寿命长,截面刚度大、内壁光滑、重量轻、施工简单,使用方便,土抗稳定性好,适合复杂地质环境。

标签:
复合材料
广东 - 深圳 来源:中冶有色网 2023-03-18
卷绕机
卷绕机 1108     
 0

本实用新型公开了一种卷绕机,所述卷绕机包括:控制装置,位于一端的第一卷绕辊和第二卷绕辊,位于另一端的第三卷绕辊;所述第一卷绕辊、第二卷绕辊、第三卷绕辊均可以正反转;所述第一卷绕辊用于卷绕第一材料层,所述第二卷绕辊用于卷绕第二材料层,所述第三卷绕辊用于卷绕复合材料层;所述卷绕机还包括复合辊、以及多个导向辊。本申请的一种卷绕机,可将第一材料层和第二材料层卷在一起,还可以反向将卷在一起第一材料层和第二材料层进行放卷、并对第一材料层和第二材料层分别收卷。

标签:
复合材料
广东 - 深圳 来源:中冶有色网 2023-03-18
公路护栏
公路护栏 969     
 0

本实用新型属于公路护栏技术领域,涉及一种公路护栏,包括立柱和防护板,所述防护板固定于立柱远离地基的一端;所述立柱包括聚氨酯复合材料结构层,所述立柱外表面还设有耐候警示层;所述防护板呈W状,所述防护板包括第一折弯弧和第二折弯弧;所述第一折弯弧的半径为25mm‑30mm;所述第二折弯弧的半径为20mm‑26mm;所述防护板外表面也设有耐候警示层;所述防护板靠近端部的位置至少设有一列用于拼接防护板的第一通孔,每列至少设有两个所述第一通孔。本实用新型立柱及防护板耐腐蚀、易辨识,使用寿命长,且通过设置防护板的折弯弧弧度,使其具有较大的抗冲击强度及缓冲力度。

标签:
复合材料
广东 - 深圳 来源:中冶有色网 2023-03-18
可填充装饰、用于非机动车道及草坪的井盖

本实用新型提供了可填充装饰、用于非机动车道及草坪的井盖,由底座和井盖体两部分组成,所述的井盖采用热固性聚合物基复合材料制成,井盖体具有内凹空腔,井盖体的四角凸缘上设置有四个开启孔,井盖体内置在底座上,井盖体的内空腔可铺设地砖或种植花草,与周围的地面及景观协调一致,可进一步美化环境。

标签:
复合材料
广东 - 深圳 来源:中冶有色网 2023-03-18
高硬度防水抗污纳米涂层结构

本实用新型公开了一种高硬度防水抗污纳米涂层结构,包括外纳米涂层、防水涂料层、复合腻子层、硅烷防水层、复合晶石层、环氧防腐层、基层、纳米无机防水层、高分子复合层、保温层、树脂漆层,所述外纳米涂层下方分布着防水涂料层,所述复合腻子层分布在防水涂料层底部,所述硅烷防水层分布在复合腻子层下方,所述复合晶石层分布在硅烷防水层下方,所述环氧防腐层分布在复合晶石层下方,本实用新型结构简单,设计合理,通过多种复合材料相结合,组成了新型的高硬度防水抗污纳米涂层结构,具有良好的抗腐蚀性以及防水性,有效的延长了涂料的使用寿命。

标签:
复合材料
广东 - 深圳 来源:中冶有色网 2023-03-18
扣挂式锂电池的结构
扣挂式锂电池的结构 1018     
 0

本实用新型涉及一种扣挂式锂电池的结构,属于锂电池技术领域。包括上盖壳、下盖壳和电芯组;所述下盖壳是由上盖绝缘层、上盖封口层和隔离层注塑成一体;所述电芯组正极焊接到上盖壳内壳底;电芯组负极焊接到下盖壳内壳底。所述下盖壳的上盖绝缘层表面往外注塑一层树胶,所述树胶为PE、PP、ABS、PET为其中的一种或多种复合材料。所述上盖绝缘层和上盖封口层的边缘处均涂有胶水层。所述上盖壳的壳壁厚度为0.2‑0.5mm,上盖绝缘层厚度为0.2‑0.5mm,上盖封口层高度为0.5‑1mm。本实用新型通过上盖绝缘层、上盖封口层和隔离层和上盖壳之间的配合便于制造出超小型电池,在可穿戴式设备,蓝牙耳机,医用设备与仪器等有广泛的应用前景。

标签:
复合材料
广东 - 深圳 来源:中冶有色网 2023-03-18
基于相变储热的新型暖手宝

本实用新型公开了一种基于相变储热的新型暖手宝,包括发热片、储热板、密封层以及外壳,所述储热板包裹在发热片外侧,且所述储热板的外侧依次包裹有密封层和外壳,所述暖手宝还包括温度反馈装置,所述发热片尾部连接的线缆依次贯穿储热板、密封层以及外壳并与设置在外壳的控制器电连接,所述控制器也与温度反馈装置电连接,储热板的孔洞中填充有石蜡和膨胀石墨的复合材料,本实用新型采用石蜡和膨胀石墨的符合材料作为储热的单元,利用其相变的潜热对暖手宝进行热量的提供,相比于现有的水热型的暖手宝其存储的热量更多,且相比于化学型或者电池型的结构简单,耐用性高、成本低。

标签:
复合材料
广东 - 深圳 来源:中冶有色网 2023-03-18
选择性加热催化处理废气的装置

本实用新型提供了一种选择性加热催化处理废气的装置,其包括加热催化处理模块,所述加热催化处理模块包括若干并列的相互连接的处理单元,所述处理单元设有用于气体通过的微小管;所述微小管的管壁为负载有催化剂的催化剂载体,所述催化剂载体为Fe或Fe合金/Al2O3、或Fe或Fe合金/ZrO2复合材料;所述加热催化处理模块设有电加热接头,所述电加热接头与催化剂载体的Fe或Fe合金电连接,所述微小管的内径为不大于1000µm。采用本实用新型的技术方案,只针对废气中的有害气体进行加热催化,大大降低了能耗,提高了催化效率。

标签:
复合材料
广东 - 深圳 来源:中冶有色网 2023-03-18
用于照明的LED光模组和LED芯片

本实用新型提供了一种用于照明的LED光模组和LED芯片。LED晶片(1)设置在热扩散板(3)上,热扩散板(3)采用铜或铝、或铜铝复合材料,厚度大于0.35mm,面积是其上LED晶片面积之和的五倍以上,其目的和作用是降低热流密度。承担高压绝缘的高压绝缘片(2),采用烧结成瓷的陶瓷片,比如氧化铝陶瓷片,设置在热扩散板(3)的另一面,与外层绝缘体(4)一起将热扩散板隔离绝缘。外层绝缘体采用注射或浇铸工艺,与热扩散板(3)和高压绝缘片(2)一起成型。这样的设计就可显著降低内导热热阻,提高电的绝缘强度,封装成本有效降低。

标签:
复合材料
广东 - 深圳 来源:中冶有色网 2023-03-18
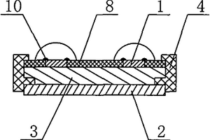
层贴合材料
层贴合材料 977     
 0

本实用新型涉及多层复合材料领域,提供了一种层贴合材料。所述层贴合材料,包括依次设置的表面层、底面层和夹心层,所述层贴合材料上分布有封边孔,所述封边孔的孔壁面有熔接封边环,所述表面层和所述底面层通过所述熔接封边环连接,所述表面层、夹心层和底面层通过所述封边孔贴合。

标签:
复合材料
广东 - 深圳 来源:中冶有色网 2023-03-18
自清洁话筒
自清洁话筒 1294     
 0

本实用新型提供了一种自清洁话筒,所述话筒包括话筒外壳,所述话筒外壳自表面向外依次设有底层和疏油疏水涂层。本实用新型通过在所述话筒外壳表面设置疏油疏水涂层,利用涂层复合材料疏油疏水的特性,使接触到话筒表面的飞沫等杂物容易滑落,不易在表面停留或粘附,自动维持表面的清洁,达到自清洁的目的;所述涂层的附着性好,具备足够的强度,无毒无害,不影响话筒的正常使用。

标签:
复合材料
广东 - 深圳 来源:中冶有色网 2023-03-18
牛皮蜂窝信封
牛皮蜂窝信封 1041     
 0

本实用新型涉及一种牛皮蜂窝信封,包括信封本体,所述信封本体由纸板通过折弯并粘结而成,所述纸板为至少两层的复合材料,由外向内依次设有牛皮纸层、蜂窝纸板层。上述牛皮蜂窝信封的有益效果在于纸板内设有蜂窝纸板层,蜂窝纸板层能够很好地起到减震效果,又能基于牛皮纸层起到牢固的包装作用,基于防水层起到防水的作用,且牛皮蜂窝信封两侧设有封边条,封边条能够保证纸板间粘贴牢固,同时牛皮蜂窝信封上还设有易撕线,能够方便使用者打开信封。

标签:
复合材料
广东 - 深圳 来源:中冶有色网 2023-03-18
容器瓶防污染内盖
容器瓶防污染内盖 1046     
 0

本实用新型涉及一种容器瓶防污染内盖,其内盖平面边缘有与瓶口相配合的凹槽,当内盖盖到瓶口上时,瓶口进入凹槽中并与凹槽内壁紧密接触,防止瓶内液体流出。这里的内盖凹槽由双层复合材料制成,内壁为柔性表面光滑材料,外壁为硬质材料制成。这样通过外盖可将内盖紧紧压在瓶口上,使内盖与内壁的接触更紧密,密封效果更好。另外内盖平面中央有把柄,该把柄为对称的双翼形,可上下活动。通过该把柄可以把内盖方便地从瓶口取下来。内盖从瓶口取下来后可以倒过来以双翼为支撑将内盖放在桌面上,防止其接触其它物品受到染污。

标签:
复合材料
广东 - 深圳 来源:中冶有色网 2023-03-18
废旧塑料袋碎片粉碎机

本实用新型公开了一种废旧塑料袋碎片粉碎机,包括机架、主轴和复数个轴流式的粉碎单元,所述的机架包括机壳,所述的机壳包括喂料口和出料口,所述的主轴由机架通过轴承支承,所述的复数个轴流式的粉碎单元沿主轴轴向布置在机壳内腔的喂料口和出料口之间,由主轴驱动。本实用新型通过多个轴流式的粉碎单元对轻薄塑料袋碎片进行碰撞和粉碎,不仅可以将轻薄塑料袋碎片粉碎到2毫米左右,而且可以将塑料碎片与垃圾杂物分离,处理出来的材料可以直接用作木塑复合材料的原料。

标签:
复合材料
广东 - 深圳 来源:中冶有色网 2023-03-18
集成电池及无线充电的石墨烯理疗仪

本实用新型公开一种集成电池及无线充电的石墨烯理疗仪,包括一理疗层、用于包裹理疗层的第一包裹层与第二包裹层、以及设置在第一包裹层上用于粘贴在人体皮肤上的粘贴层;所述理疗层包括主控模块、无线充电线圈,以及分别与主控模块电性连接的发热模块、充电供电模块。本实用新型不需要外挂充电宝或充电头电源适配器及线缆,具备无线充电的能力,方便实用,使用简单方便,适合人体任何部位理疗;第一包裹层与第二包裹层均采用硅胶或柔性高分子或高分子复合材料,将理疗层完全包裹密封,具有防水功能,对外部无接口;采用蓝牙连接手机并通过手机遥控或按键控制方式,进行理疗加热温度控制。

标签:
复合材料
广东 - 深圳 来源:中冶有色网 2023-03-18
负高压放电绝缘装置
负高压放电绝缘装置 838     
 0

本实用新型公开了一种负高压放电绝缘装置。其包括矩形的绝缘板,其特征在于:在所述绝缘板表面纵横均匀开设有多个孔,所述孔用于在绝缘装置内部产生空气对流,每横排或纵排孔之间的绝缘板上设置有一排针式绝缘子,位于最外层孔的外侧绝缘板上也设置一排针式绝缘子,绝缘板上方在孔和针式绝缘子之间的缝隙上开设有螺纹安装孔,所述绝缘板和针式绝缘子为树脂复合材料。本实用新型彻底解决了现有技术中由于爬电现象所造成的电弧“啃食”损坏设备的问题;本实用新型具有结构简单、制造安装容易、成本低、使用方便、安全可靠的特点。

标签:
复合材料
广东 - 深圳 来源:中冶有色网 2023-03-18
水道翼片式散热器
水道翼片式散热器 1210     
 0

一种水道翼片式散热器,其特征在于,包括分配管(1)和与分配管(1)相通的至少两个水道(2),在每相邻的两个或两个以上水道(2)上设有翼片(3)。在所述水道(2)上设导热片,翼片(3)通过所述导热片与水道(2)连接。所述分配管(1)、水道(2)或翼片(3)由铜铝复合材料制成。该散热器,采用多水道的结构,这样就可以增大翼片的外形尺寸,在水道外径尺寸不变前提下,散热量增加显著。另外,多水道结构,使散热器焊接装配时,定位容易,装配工艺简单。相对于现有技术,其材料用量约虽有所增加,但是散热量提高较大,经济效益可观,并且大翼片结构的散热器非常美观大方。

标签:
复合材料
广东 - 深圳 来源:中冶有色网 2023-03-18
蜂窝复合板
蜂窝复合板 855     
 0

本实用新型为一种蜂窝复合板,包括面层、芯层和底层,芯层为蜂窝芯层,面层、蜂窝芯层和底层通过热压固化而连接在一起,面层和底层为高分子复合材料层,蜂窝芯层为铝蜂窝芯层或纸蜂窝芯层。本实用新型生产工艺简单,生产速度高,可连续化生产,成本低,另外产品还具有质轻、刚性好、防火防水性能好等优点。

标签:
复合材料
广东 - 深圳 来源:中冶有色网 2023-03-18
超薄高抗折硅酸盐板的新型复合板材

本实用新型是关于一种超薄高抗折硅酸盐板的新型复合板材,其特征在于:其超薄高抗折硅酸盐板的厚度为2-5mm,并且在没有进行钢化的表面应力处理状态下,硅酸盐板的抗折强度达70-180MPa;其复合板材制品由超薄高抗折硅酸盐板(1)和粘合材料层(2)以及0.1-1mm或1-5mm厚度的金属板材(3)复合组成。本实用新型硅酸盐板复合材料较现有的复合装饰板材制品都有增进的多项功效,从而更加适于实用,而具有产业的广泛利用价值。?

标签:
复合材料
广东 - 深圳 来源:中冶有色网 2023-03-18
风力自发电的铁路运输冷藏集装箱

本实用新型公开了一种风力自发电的铁路运输冷藏集装箱,包括集装箱体,所述集装箱体外部正面的中间位置固定安装有装载门框,所述集装箱体外部边侧的中间位置固定安装有防护框架,所述集装箱体的内部开设有电池间,所述装载门框内部的边侧位置活动安装有箱门,所述风力发电机的内侧位置固定安装有电能转换器,所述电源组相互之间固定安装有用电切换机构。该风力自发电的铁路运输冷藏集装箱,通过将集装箱体整体采用带有钢结构加强的轻量化的蜂窝复合材料,整体重量轻且可以减少箱体重量,而且还可方便安装发电装置,能够有效保证风机发电设备安装的稳定性,进而能够较大程度提升实际应用使用中的使用效果及工作性能,扩大了整体的适用范围。

标签:
复合材料
广东 - 深圳 来源:中冶有色网 2023-03-18
耐高温耐酸碱的玻璃保护膜

本实用新型公开了一种耐高温耐酸碱的玻璃保护膜,包括加强层,所述加强层为碳化硅填充聚四氟乙烯复合材料层,所述加强层的上表面设置有上凹口,所述加强层的下表面设置有下凹口,所述加强层的上表面设置有上环氧树脂胶层,所述上环氧树脂胶层的上表面设置有第一玻璃纤维阻燃增强尼龙,所述第一玻璃纤维阻燃增强尼龙的上表面设置有压敏胶,所述压敏胶的上表面设置有隔热层,所述加强层的下表面设置有下环氧树脂胶层,所述下环氧树脂胶层的下表面设置有第二玻璃纤维阻燃增强尼龙,设置了本实用新型由碳化硅粉与聚四氟乙烯组成的加强层,碳化硅粉具有耐高温耐酸碱的作用,从而使得本保护膜具有耐高温耐酸碱的作用。

标签:
复合材料
广东 - 深圳 来源:中冶有色网 2023-03-18
上一页 5 6 7 8 9 ... 117 下一页
共117页    到第

中冶有色为您提供最新的广东深圳有色金属复合材料技术理论与应用信息,涵盖发明专利、权利要求、说明书、技术领域、背景技术、实用新型内容及具体实施方式等有色技术内容。打造最具专业性的有色金属技术理论与应用平台!

全国热门有色金属设备推荐
展开更多 +
全国热门有色金属技术推荐
展开更多 +

 

江西省隆恩特环保设备有限公司
宣传

报名参会
更多+

报告下载

有色专家
更多+

矿冶科技集团江苏北矿金属循环利用科技有限公司
书记 / 总经理
鞍钢集团有限公司
中国工程院院士
蒙纳士苏州校区
中国工程院外籍院士/校长
郑州大学
校长/党委书记
洛阳有色矿业集团有限公司
生产技术部经理
赤泥综合利用研究报告2025
推广

热门技术
更多+

推荐企业
更多+

福建省金龙稀土股份有限公司
宣传

发布

在线客服

公众号

电话

顶部
咨询电话:
010-88793500-807