青岛垚鑫智能科技有限公司
宣传

位置:北方有色 >

有色技术频道 >

分类:
全部
矿山技术
冶金技术
材料制备及加工技术
环境保护技术
分析检测技术
 
全部
废水处理技术
大气治理技术
固/危废处置技术
土壤修复技术
地区:
全部
北京
天津
上海
重庆
河北
山西
辽宁
吉林
黑龙江
江苏
浙江
安徽
福建
江西
山东
河南
湖北
湖南
广东
海南
四川
贵州
云南
陕西
甘肃
青海
内蒙
广西
西藏
宁夏
新疆
其他
其他
展开
 
全部
南京
无锡
徐州
常州
苏州
南通
连云港
淮安
盐城
扬州
镇江
泰州
宿迁

江苏扬州有色金属环境保护技术理论与应用

免费发布技术信息>>
有机毒性废水处理装置
有机毒性废水处理装置 1148     
 0

本实用新型公开了废水处理装置技术领域的一种有机毒性废水处理装置,包括壳体,壳体的上端开设有进水孔,壳体的前端固定连接有出水管,壳体的上端固定连接有动力装置,壳体的内部固定连接有清理装置,本实用新型结构简单,只需要简单操作就可以达到便于清理过滤板的目的。

标签:
废水处理
江苏 - 扬州 来源:北方有色网 2023-03-19
铸板废水处理装置
铸板废水处理装置 782     
 0

本实用新型涉及废水处理技术领域,且公开了铸板废水处理装置,包括进水管,进水管为圆形的管,进水管为进水口,进水管的右侧固定安装有初级过滤池,初级过滤池为正方形的池,初级过滤池的内部为空心的,初级过滤池的内部固定安装有过滤板,过滤板为镂空网状形,初级过滤池的右侧壁面固定连接有输送管道,输送管道的右侧固定安装有吸附池,吸附池为长方形的池,吸附池的内部为空心的。本实用新型中,金属粉末过滤装置具有磁性,且金属粉末过滤装置外观为镂空网状形,污水会通过网状孔洞流出,当污水中带有铁屑粉末通过镂空网状时,电磁便会将铁屑粉末吸附收集在一起,这样就达到了避免铁屑对管道造成堵塞,有效的延长管道的使用寿命的效果。

标签:
废水处理
江苏 - 扬州 来源:北方有色网 2023-03-19
用于处置废水的多介质过滤器

本实用新型属于废水处理技术领域,尤其为一种用于处置废水的多介质过滤器,包括多介质过滤器本体,所述多介质过滤器本体上端设置有盖体,所述盖体的底端固定有密封卡框,所述密封卡框与多介质过滤器本体的上端相互卡合,所述密封卡框的内壁四周固定有密封胶垫,所述盖体的四周旋合连接有若干个限位螺钮,所述多介质过滤器本体的上端四周开设有若干个限位螺槽,所述盖体的中心位置处贯穿且固定有进水管,所述进水管的底端旋合连接有旋筒,盖体与多介质过滤器本体通过密封卡框进行卡合固定,通过限位螺钮进行限位固定,通过密封胶垫增强密封效果,使得盖体相对多介质过滤器本体固定稳固,安拆便捷,且密封效果较好。

标签:
废水处理
江苏 - 扬州 来源:北方有色网 2023-03-19
油田高难度废水氧化工艺

本发明涉及一种油田高难度废水氧化工艺。所述的氧化工艺运用多种高温发生技术,配合高级氧化剂技术,在常压下对污水进行接触氧化,这种接触氧化可将污水中有毒有害物质无害化,将大分子的有机物转化成小分子的有机物,并降低其化学键能断开分子链,向药剂添加区添加硫酸亚铁和双氧水,使硫酸亚铁、双氧水和废水在射流搅拌器搅拌下混合均匀并得到氧化。本发明不仅能够保证很高的污染物去除率使出水达标排放,同时也很好的控制了投资成本和运行成本,实用性非常好。

标签:
废水处理
江苏 - 扬州 来源:北方有色网 2023-03-19
废水净化用蒸馏发生器

本实用新型涉及废水净化的技术领域,特别是涉及一种废水净化用蒸馏发生器,其减少过滤板堵塞的可能,提高了过滤效率和过滤效果,增加了实用性;包括蒸馏发生器、处理箱、液化箱、流通管、过滤板、排出管、水箱、反向冲洗水泵、输入管、输出管、反冲洗管和排污阀,处理箱安装在蒸馏发生器的顶端中部,处理箱内部设置有处理腔,处理腔的左端上侧连通设置有进料管,流通管的输入端与处理腔的右端上侧连通,液化箱内部设置有液化腔,流通管的输出端与液化腔的左端上侧连通,过滤板固定安装在液化腔的中部,排出管的输入端与液化腔的右端下侧连通,排出管的输出端与水箱内部连通,反向冲洗水泵安装在水箱的顶端左侧。

标签:
废水处理
江苏 - 扬州 来源:北方有色网 2023-03-19
苯酚生产中废水处理装置

本实用新型提供了一种苯酚生产中废水处理装置,包括氧化反应箱、进水管、电机、搅拌轴、扇叶、催化剂添加管、密封螺栓、手动阀、鼓风机、加热盒、分离箱以及过滤箱,氧化反应箱顶部的一侧固定安装有催化剂添加管,氧化反应箱上端面的中部固定安装有电机,氧化反应箱的内部设置有搅拌轴,氧化反应箱的正下方设置有分离箱,气盘的顶部设置有气孔,所述气盘的底部一侧连接有气管,所述气管的另一端与加热盒相连接,所述加热盒的外侧通过气管与鼓风机相连接,所述氧化反应箱内底壁的中部设置有排水口,分离箱的顶部与氧化反应箱的排水口相连通;过滤箱设置在氧化反应箱的一侧。本实用新型增强了苯酚废水的处理效果并且能够去除其他杂质。

标签:
废水处理
江苏 - 扬州 来源:北方有色网 2023-03-19
造纸废水沼气发生装置

本实用新型涉及沼气发生装置领域内的一种造纸废水沼气发生装置,包括沉淀池,沉淀池连接第一加热器,第一加热器与沼气发生罐相连,沼气发生罐的底部设有第二加热器,第二加热器连接燃烧器,燃烧器与第一加热器相连,第二加热器与燃烧器之间的管件上设有膨胀罐;沼气发生罐的出气口依次连接泵,脱硫器与储气罐,储气罐和脱硫器之间的分支管件与燃烧器相连;沼气发生罐的减压口与水封罐相连,水封罐与沉淀池相连。本实用新型由于脱硫器的存在,将生成的沼气进行脱硫处理,减轻环境污染;由于燃烧器使用沼气来加热废水,有效地减少了电能的消耗;由于水封罐的存在,可以调节沼气发生罐内压力变化。该装置可作为沼气发生装置,其使用安全可靠。

标签:
废水处理
江苏 - 扬州 来源:北方有色网 2023-03-19
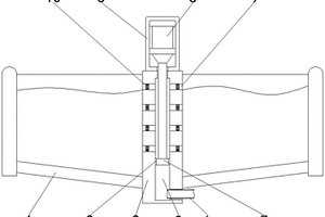
便于清理的废水处理用沉淀池

本实用新型涉及沉淀池技术领域,且公开了一种便于清理的废水处理用沉淀池,包括沉淀池本体,所述沉淀池本体的底部分别固定安装有一端穿过沉淀池本体并延伸至沉淀池本体上方的第一安装柱和位于第一安装柱背面的第二安装柱,所述第一安装柱的内部开设有出水槽,所述第一安装柱的右侧连通有一端延伸至出水槽内部并位于沉淀池本体下方的连接管,所述第一安装柱的顶部固定安装有第一防护罩,所述第一防护罩的内部固定安装有一端延伸至出水槽内部的第一液压推杆。该便于清理的废水处理用沉淀池,最终推动沉淀池本体内部的淤泥穿过输出孔流入到出泥槽内,即可将沉淀池本体内部的淤泥清出,从而达到了便于清理的目的。

标签:
废水处理
江苏 - 扬州 来源:北方有色网 2023-03-19
废水泵站用砂水分离机

本实用新型涉及砂水分离机技术领域,且公开了一种废水泵站用砂水分离机,包括砂水分离机,砂水分离机包括沉淀装置、分离装置和底座,沉淀装置安装于底座顶端,且侧端安装有分离装置,沉淀装置包括进水管、沉淀箱、感应开关、空心浮杆、漏网筒、出水管与电磁阀,沉淀箱顶端安装有进水管,且内部侧壁安装有感应开关,分离装置包括分离箱、滤筒、滤纸槽、十字卡槽、十字卡块、转轴、电机与排水管,分离箱顶端安装有出水管,且内部安装有滤筒,滤筒内部开设有滤纸槽,且底端开设有十字卡槽。该废水泵站用砂水分离机,通过在空心浮杆随水位上升触碰感应开关,信号传递至电磁阀,电磁阀打开排水来实现自动排水的效果。

标签:
废水处理
江苏 - 扬州 来源:北方有色网 2023-03-19
油田压裂液废水处理装置

本实用新型提供一种油田压裂液废水处理装置,涉及废水处理技术领域,包括装置体,所述装置体顶部设有进液口,所述装置体一侧设有电机,所述电机通过所述装置体一侧设有搅拌器,所述搅拌器上套设有套筒,所述套筒一侧设有开口,所述套筒另一侧设有至少一个出水口,所述出水口内壁设有吸附网,所述装置体顶部内壁设有磁铁;所述装置体两侧壁之间分别设有粗滤网与精滤网,所述精滤网下方设有反应容器,所述反应容器内设有滤网,所述滤网一侧设有连接管,所述连接管穿过所述反应容器一端设有抽板,所述抽板一侧设有大分子过滤膜,所述大分子过滤膜一侧设有沉淀池,所述沉淀池一侧设有小分子过滤膜。本实用新型结构稳定,实用性高。

标签:
废水处理
江苏 - 扬州 来源:北方有色网 2023-03-19
房车用便于安装的生活废水回收利用装置

本实用新型涉及房车配套节水元件技术领域,尤其涉及一种房车用便于安装的生活废水回收利用装置。本实用新型要解决的技术问题是现有装置需额外设置对污水的储藏结构,不利于房车载具空间利用,滤网滤芯受水体沉淀物影响较大,汲水回收效果不佳的问题。为了解决上述技术问题,本实用新型提供了一种房车用便于安装的生活废水回收利用装置,包括中心管,所述中心管的内表面的四侧固定设置有对位筋条。该装置能够直接连接在厨卫水槽或者盥洗面盆下,通过套管和滤网等结构,汲取较为清质的水体即用即回收,节省空间,通过污水排出管与清水排出管的高低位势差加强了污水的回收能力,减少滤网的表面尘渣的附着沉淀,避免堵塞。

标签:
废水处理
江苏 - 扬州 来源:北方有色网 2023-03-19
PTA氧化残渣打浆废水回收制备钴锰催化剂的方法

一种利用对苯二甲酸(PTA)氧化残渣打浆废水回收制备液体钴锰催化剂的方法,其特征在于由打浆废水经冷却过滤、富集、酸化、蒸发除杂、溴化,最终形成醋酸钴锰(或钴锰溴)催化剂。使用该方法制备的催化剂质量指标优异,可直接返回PTA氧化系统使用,或与新鲜钴锰溴催化剂单体调配使用,催化剂的稳定性好,催化活性保持良好,制备过程简便可靠,具有较好的经济效益和环保效益。

标签:
废水处理
江苏 - 扬州 来源:北方有色网 2023-03-19
用于处置废水的固液分离器

本实用新型属于废水处理技术领域,尤其为一种用于处置废水的固液分离器,包括分离筒,所述分离筒的上端一侧固定连接进水管,所述分离筒的底端一侧固定连接出水管,所述分离筒的上端水平放置有横杆,所述横杆的底端中心位置处位于筒座的内部固定连接螺杆,所述螺杆的底端位于分离筒的内部从上到下依次设置有一号分离筛网、二号分离筛网和三号分离筛网,所述一号分离筛网、二号分离筛网和三号分离筛网的中心位置处均固定连接螺筒,所述螺筒与螺杆通过螺纹相互旋合,通过螺杆和螺筒便于一号分离筛网、二号分离筛网和三号分离筛网相对间距的调节,便于一号分离筛网、二号分离筛网和三号分离筛网的安拆更换,以及清理清洁,结构简单,使用便捷。

标签:
废水处理
江苏 - 扬州 来源:北方有色网 2023-03-19
难降解废水深度处理系统

本发明提供一种难降解废水深度处理系统,包括顺次设置的曝气池、催化氧化池、流化床降解池、固定床降解池、静置氧化池。本发明的难降解废水深度处理系统,通过低成本空气曝气,经过流化床降解工艺、固定床降解工艺以及静置氧化工艺,使结构牢固的有机分子降解为水和二氧化碳,并且基本不产生污泥等废渣。可对污水进行深度处理,去除水中少量超标COD和BOD有机污染物质;也能进行地下水的微污染处理。

标签:
废水处理
江苏 - 扬州 来源:北方有色网 2023-03-19
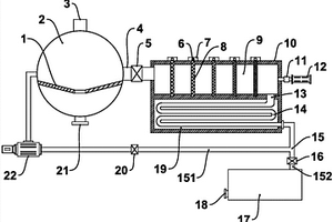
废水净化装置
废水净化装置 956     
 0

本发明公开了一种废水净化装置,包括沉淀箱、净化箱和水箱,所述沉淀箱的右侧设有连接于净化箱上的连通管,净化箱的内侧上部和下部分别为第一净化室和第二净化室,第一净化室内设置有多块过滤网板,第一净化室和第二净化室之间设置有连通口,第二净化室内设置有盘管,盘管的一端与连通口对接,盘管的另一端与位于净化箱外侧的三通管连通,三通管的第一分支的另一端连接于沉淀箱的左侧,三通管的第二分支的另一端连接于水箱上。本发明设计合理,运行稳定,废水净化效果好、效率高,便于推广应用。

标签:
废水处理
江苏 - 扬州 来源:北方有色网 2023-03-19
化工废水排放装置
化工废水排放装置 1139     
 0

本发明公开了一种化工废水排放装置,包括栅格、集水池、斜网捞浆池、沉淀池、污泥池,其特征在于沉淀池通过管路依次与储存水池、气浮装置、回水用池连接,所述气浮装置上部通过管路与污泥池连接,所述污泥池通过管路与浓缩带式压滤机连接。本发明具有成本低、废水零排放、环保的优点。

标签:
废水处理
江苏 - 扬州 来源:北方有色网 2023-03-19
一体化废水处理设备的高效好氧池

一体化废水处理设备的高效好氧池。本实用新型涉及污水处理技术领域,尤其涉及一体化废水处理设备的高效好氧池。提供了一种结构紧凑、安装简便、提高氧化分解效率的一体化废水处理设备的高效好氧池。包括设置于好氧池内的架体、若干主气管和若干曝气管;所述架体固定设置在所述好氧池内;若干所述主气管均布平行固定设置在所述架体的顶部,与气源连通;所述主气管的底部设有若干与所述曝气管适配的进气口;所述曝气管竖向设置,其顶部固定连接在所述进气口上,其底部与架体的底部固定连接。本实用新型具有溶气效率高,减少曝气死角等特点。

标签:
废水处理
江苏 - 扬州 来源:北方有色网 2023-03-19
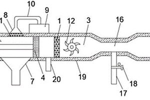
电镀废水过滤及采样装置

本实用新型公开了一种电镀废水过滤及采样装置,包括储水壳体,储水壳体中部嵌装过滤网一,储水壳体内分别设置过滤排废室、排水室、过渡导水室和出水室,过滤排废室底部连接废物收集槽,真空泵与抽真空罩之间通过导管连通,排水室内安装涡轮,过渡导水室底部连接取样管,取样管上安装流量控制阀;本实用新型将储水壳体分成多个功能腔室,利用活塞杆推动密封塞体的移动,调整与过滤网一之间的距离,即可选择进行过滤废水或者排出废渣,在真空泵的作用下,能够有效将过滤排废室内的废渣排出,清理效果好;涡轮形成过滤后的废水的搅动状态,保持其均匀度,能够定时采集流动态的样本,保证采样的均匀性,流量控制阀,便于对采样量进行控制。

标签:
废水处理
江苏 - 扬州 来源:北方有色网 2023-03-19
乳胶制品生产的废水处理装置

本实用新型涉及一种乳胶制品生产的废水处理装置。该装置包括沉淀罐,沉淀罐上部设有过滤部件,位于沉淀罐外围设有第一外壁,第一外壁与沉淀罐之间的间隙构成厌氧罐,厌氧罐外围设有第二外壁,第二外壁与第一外壁之间的间隙构成聚凝罐,聚凝罐外围设有第三外壁,第三外壁与第二外壁之间的间隙构成过滤罐,位于过滤部件正上方的沉淀罐顶盖上设有进液口,沉淀罐侧壁上设有与厌氧罐接通的第一开口,第一外壁上开设有与聚凝罐接通的第二开口,第二外壁上设有与过滤罐接通的第三开口,聚凝罐上设有加药口,过滤罐上设有出水口,沉淀罐底部、厌氧罐底部、聚凝罐底部以及过滤罐底部均开设有排污口。该装置可以有效地处理废水,使废水达到符合排放标准。

标签:
废水处理
江苏 - 扬州 来源:北方有色网 2023-03-19
高COD废水的预处理装置

高COD废水的预处理装置。涉及污水处理领域,具体涉及一种高COD废水的预处理装置。提供了一种处理效率高的高COD废水的预处理装置。包括依次管道连接的芬顿池、板框压滤机和收集池,所述芬顿池上设有加药箱,芬顿池内设有曝气管;所述芬顿池与板框压滤机之间设有污泥泵。所述收集池连接有进水管,所述进水管上设有提升泵。所述曝气管内铰接有与曝气管适配的挡片,所述挡片的进气侧固定设有支撑板,当挡片与曝气管管壁垂直时,所述支撑板与曝气管管壁接触。所述挡片的出气侧设有压簧,当挡片与曝气管管壁垂直时,所述压簧处于压缩状态。本实用新型结构简单,有效提高处理效率、降低成本,具有良好的实用性。

标签:
废水处理
江苏 - 扬州 来源:北方有色网 2023-03-19
反渗透型废水过滤净化装置

本实用新型涉及废水处理的技术领域,特别是涉及一种反渗透型废水过滤净化装置,其使过滤板堵塞之后更换更加便利,提高了操作便捷性,增加了实用性;包括处理箱、第一电机组件、第一减速机、密封轴承环、提升螺纹杆、提升螺纹套筒、卡块、过滤板、开关板和紧固螺栓,处理箱内部设置有处理腔,处理腔的左端上侧连通设置有进水管,处理箱的底端设置有四组支腿,第一电机组件安装在处理箱的底端,第一电机组件的输出端与第一减速机的输入端连接,密封轴承环固定安装在处理腔的底端中部,第一减速机的输出端转动穿过密封轴承环与提升螺纹杆的底端连接,提升螺纹杆与提升螺纹套筒螺装,卡块的底端与提升螺纹套筒的顶端连接。

标签:
废水处理
江苏 - 扬州 来源:北方有色网 2023-03-19
利用碳纳米管-纳米银-聚氯化铝-壳聚糖复合材料处理难降解有机废水的设备

本发明公开了一种碳纳米管-纳米银-聚氯化铝-壳聚糖复合材料。还公开了该复合材料的制备方法。还提供了该复合材料在难降解有机废水处理中的应用。还提供了一种利用碳纳米管-纳米银-聚氯化铝-壳聚糖复合材料处理难降解有机废水处理设备。该复合材料磁分离特性好,对有机污染物去除效果好,其制备方法简单,制备过程易控,制备的碳纳米管-纳米银-聚氯化铝-壳聚糖复合材料质量稳定。该处理难降解有机废水的设备结构简单,使用方便,出水效率高,质量好。

标签:
废水处理
江苏 - 扬州 来源:北方有色网 2023-03-19
高盐废水处理系统
高盐废水处理系统 1108     
 0

本发明提供一种高盐废水处理系统,包括顺次设置的格栅池、涡流细沙池、厌氧池、缺氧池、好氧池、混凝沉淀池、活性炭过滤池、消毒池。物化法和生化法相结合的对含盐污水进行有效处理,处理后的废水包括COD、BOD、SS、氨氮、总磷、pH等在内的指标均符合国家三级排放标准(GB8978‑2002)环保排放。有机物去除率高,系统运行稳定、节能。排放的废水指标为:生化需氧量(BOD)≤60mg/L;化学需氧量(COD)≤55mg/L,去除率在98%以上;氨氮(以N计)≤22.5mg/L;总磷(以P计)≤5mg/L;悬浮物(SS)≤38mg/L;pH为6.5~7.5;得到盐晶体的回收率可达到95%以上。

标签:
废水处理
江苏 - 扬州 来源:北方有色网 2023-03-19
废水处理搅拌槽
废水处理搅拌槽 1221     
 0

本发明涉及废水处理中的附属装置的技术领域,特别是涉及一种废水处理搅拌槽,本发明的废水处理搅拌槽可进行更好的过滤,并且进行更好的观察,从而提高工作效率;包括主体,主体的内部设置有工作腔,主体的顶部和底部分别设置有入水管和出水管,工作腔内横向设置有第一筛网和第二筛网,将工作腔隔成三组分腔,还包括三组电机、三组传动轴和三组搅拌棒,还包括主体侧壁上设置有第一清理口和第二清理口,并且第一清理口和第二清理口上均设置有挡盖;主体的侧壁上设置有观察口,并在观察口上设置有透明挡板,还包括把手、转轴、带动杆和刷毛,把手位于主体外部。

标签:
废水处理
江苏 - 扬州 来源:北方有色网 2023-03-19
乙二醇废水分离回收装置

本实用新型属于废水分离回收技术领域,公开了一种乙二醇废水分离回收装置,包括汽提塔外壳,所述汽提塔外壳的内部安装有塔板,所述塔板的下方设置有蒸汽框,所述蒸汽框的内壁开设有内槽,所述内槽的内壁设置有保温内板,所述汽提塔外壳的下方一侧安装有第一蒸汽入口,所述第一蒸汽入口延伸至内槽的内部,所述蒸汽框的下方设置有安装块,本实用新型设置了蒸汽框与内槽,将蒸汽通过第一蒸汽入口通入蒸汽框内部的内槽中,在内槽中的蒸汽达到一定的体积后,蒸汽通过蒸汽孔进入蒸汽框的内部,这样能够将通入的蒸汽有效的聚集起来,从而降低蒸汽温度降低的速度,保证乙二醇废水中的易蒸发物质被有效的去除。

标签:
废水处理
江苏 - 扬州 来源:北方有色网 2023-03-19
废水处理下水管结构
废水处理下水管结构 1079     
 0

本发明涉及废水处理附属装置的技术领域,特别是涉及一种废水处理下水管结构,本发明的废水处理下水管结构防止堵塞,从而保障了整体使用可靠性;同时可对管体内部进行观察,从而提高工作效率;包括管体,管体的内部设置有筛网,将管体的内部隔成第一腔室和第二腔室,还包括电机、传动轴和搅拌棒;管体的底壁上设置有排出口,并在排出口上设置有电控挡盖;管体的顶壁上设置有观察口,并在观察口处设置有透明挡板,还包括把手、转轴、带动轴和刷毛。

标签:
废水处理
江苏 - 扬州 来源:北方有色网 2023-03-19
便于清理残渣的废水处理装置

本实用新型涉及废水处理技术领域,且公开了一种便于清理残渣的废水处理装置,包括处理箱,所述处理箱的内部固定安装有固定板,所述固定板的顶部固定安装有隔板,所述固定板的顶部固定安装有位于隔板右侧电机,所述处理箱的左侧固定安装有进料管,所述固定板的内部固定安装有位于隔板左侧的过滤网,所述电机的输出轴固定安装有贯穿隔板并延伸至处理箱内壁左侧的转轴,所述转轴的底部固定安装有连接杆,所述连接杆的底部固定安装有连接板,所述连接杆的内部活动安装有贯穿连接板并延伸至连接板下方的活动杆,所述活动杆的底部固定安装有活动板。该便于清理残渣的废水处理装置,操作简单,便于使用者对残渣进行。

标签:
废水处理
江苏 - 扬州 来源:北方有色网 2023-03-19
废水处理系统的滤料平衡装置

废水处理系统的滤料平衡装置。本实用新型涉及污水处理设备,尤其涉及废水处理系统的滤料平衡装置。提供了结构紧凑、刮料效率高、操作简便的废水处理系统的滤料平衡装置。本实用新型中包括架体、丝杠、直线驱动机构、支撑架、刮料座和转角机构;刮料座刮料的角度根据滤料堆积的实际情况进行调节,从远离进水口的方向启动,向进水口方向移动;刮料座下调的高度通过直线驱动机构进行调节,经过多次循环刮料,提高污水处理效率和效果。本实用新型具有结构紧凑、刮料效率高、操作简便等特点。

标签:
废水处理
江苏 - 扬州 来源:北方有色网 2023-03-19
利用碳纳米管-纳米银-聚硅酸硫酸氯化铝铁-壳聚糖复合材料处理难降解有机废水的设备

本发明公开了一种碳纳米管-纳米银-聚硅酸硫酸氯化铝铁-壳聚糖复合材料。还公开了该复合材料的制备方法。还提供了该复合材料在难降解有机废水处理中的应用。还提供了一种利用碳纳米管-纳米银-聚硅酸硫酸氯化铝铁-壳聚糖复合材料处理难降解有机废水处理设备。该复合材料磁分离特性好,对有机污染物去除效果好,其制备方法简单,制备过程易控,制备的碳纳米管-纳米银-聚硅酸硫酸氯化铝铁-壳聚糖复合材料质量稳定。该处理难降解有机废水的设备结构简单,使用方便,出水效率高,质量好。

标签:
废水处理
江苏 - 扬州 来源:北方有色网 2023-03-19
稻米精深加工用废水回收利用装置

本发明提供一种稻米精深加工用废水回收利用装置,涉及稻米精深加工技术领域。该一种稻米精深加工用废水回收利用装置,包括进水装置,进水装置还包括,过滤机构,过滤机构包括固定连接在进水装置正侧靠近底端的弧形过滤板,弧形过滤板左右两侧固定连接有封堵板,封堵板远离弧形过滤板的一侧固定连接有弹性连接框,弧形过滤板内设有多个转动杆,转动杆外侧均匀固定连接有过滤刷杆,转动杆两侧与封堵板之间转动连接,解决了稻米精深加工过程中产生的废水中含有的大量的稻米和稻米壳在废水后续被处理的过程中会受到污染回收后无法继续使用造成稻米和稻米壳的浪费的问题。

标签:
废水处理
江苏 - 扬州 来源:北方有色网 2023-03-19
上一页 31 32 33 34 35 ... 40 下一页
共40页    到第

北方有色为您提供最新的江苏扬州有色金属环境保护技术理论与应用信息,涵盖发明专利、权利要求、说明书、技术领域、背景技术、实用新型内容及具体实施方式等有色技术内容。打造最具专业性的有色金属技术理论与应用平台!

全国热门有色金属设备推荐
展开更多 +
全国热门有色金属技术推荐
展开更多 +

 

江西省隆恩特环保设备有限公司
宣传

报名参会
更多+

报告下载

有色专家
更多+

赣州江钨钨合金有限公司
副总经理
江西理工大学
副处长/教授
赣州有色冶金研究所有限公司
副主任/高级工程师
中铝检测科技(郑州)有限公司/国家轻金属质量检验检测中心
正高级工程师
昆明冶金研究院有限公司
党委书记、执行董事
赤泥综合利用研究报告2025
推广

热门技术
更多+

推荐企业
更多+

福建省金龙稀土股份有限公司
宣传

发布

在线客服

公众号

电话

顶部
咨询电话:
010-88793500-807