青岛垚鑫智能科技有限公司
宣传

位置:北方有色 >

有色技术频道 >

> 复合材料技术

分类:
全部
矿山技术
冶金技术
材料制备及加工技术
环境保护技术
分析检测技术
 
全部
功能材料技术
复合材料技术
新能源材料技术
合金材料技术
加工技术
地区:
全部
北京
天津
上海
重庆
河北
山西
辽宁
吉林
黑龙江
江苏
浙江
安徽
福建
江西
山东
河南
湖北
湖南
广东
海南
四川
贵州
云南
陕西
甘肃
青海
内蒙
广西
西藏
宁夏
新疆
其他
其他
展开
 
全部
广州
韶关
深圳
珠海
汕头
佛山
江门
湛江
茂名
肇庆
惠州
梅州
汕尾
河源
阳江
清远
东莞
中山
潮州
揭阳
云浮

广东广州有色金属复合材料技术理论与应用

免费发布技术信息>>
Ag/PANI/石墨烯复合光催化剂及制备方法与应用

本发明公开了一种Ag/PANI/石墨烯复合光催化剂及制备方法与应用,所述制备方法采用光引发法在石墨烯上包覆片层状的聚苯胺并负载纳米银颗粒,所述光引发法包括将苯胺ANI、硝酸银溶液和石墨烯三者的混合物或ANI与硝酸银溶液或石墨烯的混合物在搅拌的条件下置于全光光源下照射。本发明采用光聚合法制备三元复合材料,一步实现了苯胺的原位聚合和银纳米粒子的还原,制备方法简便,可重复性好;本发明提供的Ag/PANI/石墨烯复合光催化剂实现了纳米粒子的较好分散,具有较好的光催化活性;通过对香蕉皮进行两次煅烧,得到I2D/G高达0.8的少层石墨烯材料;与其他碳源相比,香蕉皮的使用,变废为宝,能有效降低生产成本。

标签:
复合材料
广东 - 广州 来源:北方有色网 2023-03-18
聚偏氟乙烯-金属有机骨架复合超滤膜及制备与应用

本发明属于复合材料技术领域,公开了一种聚偏氟乙烯-金属有机骨架复合超滤膜及制备与应用。所述制备方法为:将水热法制备的MIL-100(Fe)超声分散于溶剂中,依次将聚偏氟乙烯、成孔剂加入,搅拌12~24h溶解共混均匀,形成铸膜液;将铸膜液脱泡后,置于支撑物上进行涂膜,然后在空气中停留30~60s后,浸入凝固浴中进行溶剂交换,得到聚偏氟乙烯-金属有机骨架复合超滤膜。本发明的复合超滤膜通过加入金属有机骨架材料MIL-100(Fe),提高超滤膜亲水性,改善了膜的分离能力,提高了超滤膜的抗污染能力,延长了膜的使用寿命,具有良好的应用前景。

标签:
复合材料
广东 - 广州 来源:北方有色网 2023-03-18
改性石墨烯的制备方法

本发明公开了一种改性石墨烯的制备方法,通过把纳米金属氧化物颗粒分散在氧化石墨烯分散液中,然后进行高温还原,制成掺杂金属纳米颗粒的石墨烯薄膜。本发明环保无污染,成本低,所得改性石墨烯的导电率提高3倍以上,本发明的金属纳米颗粒均匀地附着在石墨烯表面,没有出现团聚现象,使其具有良好的导电性能,可应用于纳米复合材料、锂离子电池、超级电容器的石墨烯纸等基于石墨烯的复合材料。

标签:
复合材料
广东 - 广州 来源:北方有色网 2023-03-18
废旧锂离子电池中钴金属回收再利用的方法

本发明涉及废旧锂电池回收技术领域,具体的说是一种废旧锂离子电池中钴金属回收再利用的方法,包括以下步骤:(1)回收正极废料并制成电极片;(2)以上述电极片为阴极,惰性电极为对电极,在酸性电解液中进行电化学反应,得到含有钴金属离子的溶液;(3)调节pH,搅拌,离心,取上清液进行萃取;(4)在上述溶液中加入氟化铵和尿素,进行水热反应,得到钴金属复合材料;结合电化学效和萃取的方法得到含有钴离子的溶液,与氟化铵和尿素进行水热反应,获得钴金属的有机复合材料,为锂离子电池正极废料的应用开辟了新的应用方向。

标签:
复合材料
广东 - 广州 来源:北方有色网 2023-03-18
大丝束预浸带平面自动铺放及模压成型工艺

本发明公开一种大丝束预浸带平面自动铺放及模压成型工艺。适应于低成本、大批量制造纤维增强树脂基复合材料制件。本工艺是将大丝束碳纤维(或玻璃纤维粗纱)制备成丝束预浸带,然后采用平面自动铺丝技术,将多股丝束预浸带铺成各类制件的毛坯件,在毛坯件贴上A级表面膜,然后在把毛坯件放到预成型模具上随形和预先成型,切掉毛边;预成型的毛坯料放入模压机模具,加压并加热固化,固化后脱模,将零件取出,修整毛边,得到汽车制件。用该工艺制备的汽车复合材料制件结构设计空间大、力学性能高、低成本、大批量生产容易,非常适合汽车的轻量化。

标签:
复合材料
广东 - 广州 来源:北方有色网 2023-03-18
芳香单硫环状低聚物及其制备方法

本发明涉及一种芳香单硫环状低聚物及其制备 方法,其特征是由通式(1)表示,其中n表示2~10的任一整数,表示a或b或c或d或e,a表示 ,b表示 ,c表示 ,d表示 ,e表示 ,Al表 示-CH2-或- CH2- CH2-或- CH2- CH2- CH2-或- CH2- CH2- CH2- CH2-;是在氮气 的保护下,由芳香双硫酚盐与溶于三氯甲烷或氯苯的二溴代烃 在相转移催化剂的作用下亲核取代反应得到。本发明的环状低 聚物可以开环聚合得到高分子质量的线性芳香单硫醚聚合物, 用作高温黏合剂、涂料和高级热塑性复合材料基质等。本发明 的制备方法简单易行,产率高,成本低,原料价廉易得,易于 规模化生产。

标签:
复合材料
广东 - 广州 来源:北方有色网 2023-03-18
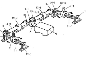
可电动移动靠背的座椅
可电动移动靠背的座椅 1150     
 0

本发明涉及一种可电动移动靠背的座椅,包括靠背1、松紧手柄2、定位轴3、扶手4、座垫(沙发面)5、底座、传动机构七个部分;上述所述的底座包括底座腿6、底座横板6-1、底座横面板6-2,底座腿6内的承板6-3、底座横底板6-4,材料可选用金属或合金或塑料或复合塑料或复合材料或木等材料制做;上述所述的传动机构包括支撑件7/7-1、电动机8、齿轮9/9A/9B/9C/10/10-1、螺杆11/11-1、转轴11-2/11-3、支座12/12-1/12-2/12-3六部分,材料可选用金属或合金或复合塑料或复合材料制做。本发明的目的,是提供给旅途中的人以方便面对面交流及打牌娱乐。

标签:
复合材料
广东 - 广州 来源:北方有色网 2023-03-18
防苔涂料及其制备方法
防苔涂料及其制备方法 1054     
 0

本发明公开了一种防苔涂料及其制备方法。防苔涂料的制备方法包括以下步骤:(1)将聚六亚甲基双胍盐酸盐、硅藻土、有机溶剂混合,得到微米复合材料;(2)将甲基乙烯基硅橡胶、白炭黑、硼酸锌、有机溶剂混合,得到聚合物前驱体;(3)将微米复合材料与聚合物前驱体混合,得到防苔涂料。本发明的防苔涂料对环境友好,防苔效果好,防苔性能持久,耐候性好;涂料制备方法简单。

标签:
复合材料
广东 - 广州 来源:北方有色网 2023-03-18
疏水性固态SERS基底及其制备方法和应用

本发明公开了一种疏水性固态SERS基底及其制备方法和应用。所述疏水性固态SERS基底包括固体支持物和分布在所述固体支持物表面的复合材料,所述复合材料包括疏水性枝状金铜复合纳米粒子修饰的多孔氮化碳。本发明的疏水性固态SERS基底由于疏水性处理及枝状金铜复合纳米粒子而具有较高的灵敏度和稳定的SERS信号。且所述SERS基底在不同盐离子浓度和pH值下仍然具有较好的SERS性能。本发明的SERS基底携带方便,易存储且保质期长。有望用于物质痕量分析、单分子检测或生物检测中。

标签:
复合材料
广东 - 广州 来源:北方有色网 2023-03-18
高端装备制造的原材料加工装置

本发明涉及一种加工装置,尤其涉及一种高端装备制造的原材料加工装置。本发明提供一种能够在搅拌过程中进行摇晃,且不需要人工手动进行收集的高端装备制造的原材料加工装置。本发明提供了这样一种高端装备制造的原材料加工装置,包括:底板,底板上设置有支撑板;搅拌机构,支撑板一侧设置有搅拌机构;晃动机构,支撑板中部设置有晃动机构;下料机构,搅拌机构底部设置有下料机构。通过搅拌机构转动对复合材料进行搅拌,通过晃动机构向前滑动带动搅拌机构进行上下晃动,通过下料机构,能够使得搅拌机构内加工完成的复合材料流出,工作人员进行收集。

标签:
复合材料
广东 - 广州 来源:北方有色网 2023-03-18
“核-壳”结构功能性导电粒子的制备方法

本发明公开了一种“核‑壳”结构功能性导电粒子的制备方法,包括步骤:(1)将镓基液态金属在表面活性剂溶液作用下进行恒温超声分散,得到微纳米粒子前驱液;(2)将银源与还原剂加入前驱液中进行加热搅拌,得到“核‑壳”结构导电粒子。本发明制备的“核‑壳”结构导电粒子由于银壳的作用,大幅提高了镓基液态金属微纳米颗粒的初始电导率与耐酸碱性;并且液态金属核在受外力破坏时会溢出保持所制备导电复合材料的导电性,在导电复合材料具有重要的应用前景。

标签:
复合材料
广东 - 广州 来源:北方有色网 2023-03-18
野外便携式快速水质检测仪器

野外便携式快速水质检测仪器,由多个相互连接的检测盒组成,所述检测盒正面设有两条竖直的卡接槽,检测盒的背面设有两个卡接头,可以通过将卡接头插入卡接槽的方式使多个检测盒连接,所述检测盒的正面还设有观察口,检测盒的顶部设有注水口,所述检测盒内盛放有水质检测复合材料。将待检测的水样由注水口注入检测盒中,然后工作人员从观察窗观察水质检测复合材料的变化。本产品将多个检测盒相互串连在一起,户外工作时可以方便地取下单个检测盒对水样进行检测,已经用过的检测盒可以单独存放。在需要对多个地域的水样进行检测时,可以将各个地域的水样分别注入不同的检测盒中,然后带回工作场所在拆分开,单独对各个检测盒中的水样进行处理分析。

标签:
复合材料
广东 - 广州 来源:北方有色网 2023-03-18
石墨烯/镍酞菁超级电容器电极材料及其制备方法

本发明公开了一种石墨烯/镍酞菁超级电容器电极材料及其制备方法,该方法主要包括以下步骤:通过化学氧化法得到氧化石墨烯(GO),并以对苯二胺(pPD)为还原剂,在浓氨水的作用下得到功能化还原石墨烯rGO?pPD;将rGO?pPD与具有突出光电性质的2,9,16,23?四氨基镍酞菁(2, 9, 16, 23?tetraamino?nickel(II)?phthalocyanine,NiTAPc)通过重氮化偶联反应,得到了共价接枝的二元复合材料rGO?p?Pc。本发明操作简便,产率高达95%,比电容达到了600F·g?1,循环稳定性好。

标签:
复合材料
广东 - 广州 来源:北方有色网 2023-03-18
MoS2/CdS薄膜电极的制备方法和应用

本发明公开了一种MoS2/CdS薄膜电极的制备方法和应用。所述制备方法包括以下步骤:采用恒压电流的方法制得硫化镉薄膜;然后在惰性气体保护条件下将制备的硫化镉薄膜于400℃~500℃煅烧30~60分钟,使其晶化成CdS薄膜电极;采用恒压电流的方法制得MoS2/CdS复合材料薄膜;然后在惰性气体保护条件下将制备的复合材料薄膜于500℃~550℃煅烧50‑70分钟,使其晶化成MoS2/CdS纳米薄膜电极。本发明的电极将MoS2电沉积到CdS薄膜电极上,纳米MoS2均匀分布在CdS薄膜表层,增强了CdS的电子传导能力,拓宽其在可见光区的吸收范围,提高其光电转换效率。

标签:
复合材料
广东 - 广州 来源:北方有色网 2023-03-18
丝束预浸带缠绕铺放工艺

本发明公开一种丝束预浸带缠绕铺放工艺,适应于使用碳纤维、玻璃纤维、芳纶纤维、超高分子聚乙烯纤维等特种纤维的丝束预浸带做回转体制件的缠绕与铺放。本工艺是采用丝束预浸带和改良的纤维缠绕工艺,形成一种新的缠绕铺放工艺,替代传统湿法缠绕工艺,极大提升缠绕工艺的效率、厂房洁净、产品性能与质量,提升各类采用纤维缠绕工艺的制品(如各类复合材料气瓶,复合材料管件)的性能、品质及生产效率,同时可实现传统缠绕工艺不能实现的零度角铺放功能。

标签:
复合材料
广东 - 广州 来源:北方有色网 2023-03-18
环氧树脂微胶囊及其制备方法

本发明公开了一种环氧树脂微胶囊及其制备方法。环氧树脂微胶囊包括囊芯和囊壁,囊芯为环氧树脂,囊壁为环氧丙烯酸酯树脂、可聚合乳化剂、交联剂、光引发剂的组合物,囊壁的聚合方法为紫外辐照固化成膜。微胶囊制备过程是:在溶有表面活性剂的水溶液中高速搅拌下依次加入芯材和壁材以及紫外光引发剂,乳化形成水包油乳液体系后立即用紫外光辐照该乳液,使水包油液滴表面组分原位聚合固化成膜,加入大量水反复沉降,水洗,微胶囊沉淀物经真空冷冻干燥,得到微胶囊产物。该法工艺简单、能耗低、速度快、环境友好。所制胶囊呈规则球形、密封性和耐热性良好,可广泛应用于自固化螺纹紧固件、热固性树脂基体复合材料的自修复。

标签:
复合材料
广东 - 广州 来源:北方有色网 2023-03-18
膦酸基改性聚乙烯醇及其制备方法、应用

本发明涉及一种膦酸基改性聚乙烯醇,包括以下结构:其中,n=700~2000,m=(0.5%~1.5%)×n。上述的膦酸基改性聚乙烯醇具有一定含量的膦酸基,结构稳定,将膦酸基改性聚乙烯醇应用于可降解高分子复合材料的制备中,例如将其引入聚乳酸和淀粉共混改性体系,能够明显提高共混体系中各聚合物间的界面相容性,进而使制得的可降解高分子复合材料具有良好的耐水性能、拉伸性能以及抗冲击性能。

标签:
复合材料
广东 - 广州 来源:北方有色网 2023-03-18
锌复合电极材料及其制备方法和电池

本发明公开了一种锌复合电极材料及其制备方法和电池,涉及电极制备技术领域。该方法包括:采用可溶性锌盐的水系电解液作为电解液、固体金属锌材作为阳极、锌板为阴极,利用电化学阴极还原法在阴极表面沉积树枝状锌基枝晶体;树枝状锌基枝晶体为外观呈类树枝状的锌复合电极材料,锌复合电极材料为具有锌和氧化锌两种物相的复合材料。该方法采用电化学阴极还原法,可一步在阴极表面沉积树枝状锌基枝晶体。生成的枝晶体为锌/氧化锌的原位复合物,无需额外与氧化锌混合即可得到二次可充电式电池的负极活性电极材料。且由于枝晶体本身具有保持树枝状自相似生长的特性,可防止电池大功率充电过程枝晶体垂直负极表面取向生长引发的内短路电池失效。

标签:
复合材料
广东 - 广州 来源:北方有色网 2023-03-18
碳纳米管-氮化硼球型导热填料及其制备方法与应用

本发明属于导热复合材料技术领域,具体涉及一种碳纳米管‑氮化硼球型导热填料及其制备方法与应用。本发明在喷雾干燥过程中,采用聚乙烯醇作为粘结剂,在浆液雾化和挥发过程中将氮化硼与碳纳米管粘结,形成球型导热填料,不仅可以保证球体内部氮化硼与氮化硼之间、氮化硼和碳纳米管之间的紧密接触,还能增加球型导热填料球体与球体间的接触位点,有效提高球型导热填料在几何空间上接触的紧密度,同时还能降低球体间的接触热阻,形成更多导热通路,提升复合材料导热性能。

标签:
复合材料
广东 - 广州 来源:北方有色网 2023-03-18
改性纳米SiO<Sub>2</Sub>及光固化复合弹性体材料

本发明公开了一种改性纳米SiO2及光固化复合弹性体材料,所述改性纳米SiO2由改性光引发剂与纳米SiO2反应得到,所述改性光引发剂含有能够与纳米SiO2表面偶联的基团;所述纳米SiO2与改性光引发剂的质量比为(0.1~10)∶1;所述改性光引发剂由含有羟基的光引发剂与含有异氰酸根基团的偶联剂反应得到。本发明提供的改性纳米SiO2既可作为无机填料,也具备光引发功能,该改性纳米SiO2具有更高的光引发剂接枝率,有效降低了纳米SiO2的表面能,进一步改善了其在树脂体系中的分散性,进一步提高了其制备的光固化组合物的固化速率。该改性纳米SiO2制备的光固化复合弹性体材料具备固化快、无收缩、高透明、高强高弹的特点,是一种综合性能优良的光固化有机—无机弹性体复合材料。

标签:
复合材料
广东 - 广州 来源:北方有色网 2023-03-18
新型高性能的电池负极材料及其制备方法和应用

本发明属于电池锂离子负极领域,公开了一种新型高性能的电池负极材料及其制备方法和应用,所述电池负极材料是将改性剂、活性物质和基底材料混进行搅拌,得到活性物质/基底材料前驱体;在保护气气氛下,将活性物质/基底材料前驱体在500~800℃热处理并保温,得到基底材料/活性物质复合材料;然后将基底材料/活性物质复合材料、导电剂和粘结剂配制成浆料并涂于集流体上制得。本发明的电池负极材料具备优秀的长循环稳定性,并且在拥有高能量密度的同时,还具备快速充放电的能力,适合大型电网、便携式电子设备、电动车辆等各种领域的应用,具有较大的经济价值。

标签:
复合材料
广东 - 广州 来源:北方有色网 2023-03-18
ZrB<sub>2</sub>-SiC复合陶瓷制备设备

本发明涉及陶瓷制备设备,更具体的说是一种ZrB2‑SiC复合陶瓷制备设备,包括装置支架、电机Ⅰ、圆弧支架、更换机构、转动机构、驱动机构、外形机构、外成型机构和内成型机构,装置支架的中部转动连接有更换机构,更换机构和电机Ⅰ通过带传动连接,更换机构上周向均匀转动连接有四个转动机构,装置支架上固定连接有驱动机构,四个转动机构中的一个插入驱动机构内,可以通过电机Ⅰ带动更换机构进行转动完成四个转动机构的更换,四个转动机构中的一个可以插入驱动机构内,驱动机构可以驱动其上的转动机构进行转动,外成型机构对ZrB2‑SiC复合材料的外表面进行成型加工,内成型机构对ZrB2‑SiC复合材料的内表面进行成型加工。

标签:
复合材料
广东 - 广州 来源:北方有色网 2023-03-18
磷酸盐微胶囊阻燃剂及其制备方法与应用

本发明公开了一种磷酸盐微胶囊阻燃剂及其制备方法与应用,磷酸盐微胶囊阻燃剂的芯材为磷酸盐阻燃剂,囊材是以磷腈和偶联剂中一种或几种反应的聚磷腈树枝状聚合物,囊材与芯材的质量比为0.1:1~1:1。其制备方法是利用分散剂将磷酸盐阻燃剂均匀地分散于溶剂中;然后在机械搅拌和超声的状态下加入磷腈和偶联剂中一种或几种,加入缚酸剂,机械搅拌反应2h~10h,冷却至室温,真空抽滤、再真空干燥,即得。本发明的磷酸盐微胶囊阻燃剂具有非极性表面,可以提高其在非极性的聚合物基体中的界面相容性,同时具备一定的增韧效果,且微胶囊粒径可控,能够改善复合材料阻燃性能和力学性能,整个工艺过程方便可控,工业应用性强。

标签:
复合材料
广东 - 广州 来源:北方有色网 2023-03-18
石墨烯/多孔碳复合水凝胶、气凝胶及其制备方法和应用

本发明属于材料科学领域,公开了一种石墨烯/多孔碳复合水凝胶、气凝胶及其制备方法和应用,包括如下步骤:(1)制备氧化石墨烯水分散液;(2)将多孔碳材料进行研磨,加入到氧化石墨烯水分散液中,超声分散;(3)将氧化石墨烯和多孔碳材料的混合分散液进行还原、浸泡洗涤,得到石墨烯/多孔碳复合水凝胶。发明通过氧化石墨烯在还原的过程中自组装,制备石墨烯/多孔碳复合材料,本发明所制备的石墨烯/多孔碳复合材料性能优异,应用广泛,实现了石墨烯和多孔碳材料的有效结合,能够用作超级电容器的电极,内阻小,容量大,稳定性好。

标签:
复合材料
广东 - 广州 来源:北方有色网 2023-03-18
可用于处理含染料废水的吸附剂及其制备和应用

本发明属于功能材料领域,公开了一种可用于处理含染料废水的吸附剂及其制备和应用。所述制备方法为:将预氧化石墨烯固体与高锰酸钾先后加入到浓硫酸中,通过机械搅拌得到分散均匀的悬浮液;然后加入去离子水和微晶纤维素进行反应,得到所述可用于处理含染料废水的吸附剂氧化石墨烯/纳米微晶纤维素复合材料。本发明制得的氧化石墨烯/纳米微晶纤维素复合材料对染料的吸附能力相比氧化石墨烯有了很大的提高,尤其对于低浓度染料(<100mg/L)的吸附效果非常明显,而且制备工艺简单,易于操作。

标签:
复合材料
广东 - 广州 来源:北方有色网 2023-03-18
碳量子点/纳米银藻酸盐敷料及其制备方法与应用

本发明属于医用敷料技术领域,公开了一种碳量子点/纳米银藻酸盐敷料及其制备方法与应用。利用硝酸银、聚乙二醇400、柠檬酸钠、抗坏血栓和碳量子点制备碳量子点/纳米银复合材料,将其加入海藻酸钠溶液中,经静电纺丝工艺和无纺布工艺,制备得到碳量子点/纳米银藻酸盐敷料。通过该工艺制备的敷料,可以显著提高藻酸盐敷料的力学性能,同时该敷料具有优异的荧光显示追踪功能,能有效监查银离子在体内的迁移变化和蓄积情况,为银离子的临床监管,提供了一种快捷有效的检测方法。

标签:
复合材料
广东 - 广州 来源:北方有色网 2023-03-18
生物活性玻璃纤维-聚己内酯复合膜及其制备方法与应用

本发明属于生物医用复合材料领域,公开了一种生物活性玻璃纤维-聚己内酯复合膜及其制备方法与应用。所述生物活性玻璃纤维-聚己内酯复合膜主要通过静电纺丝技术与溶胶-凝胶法相结合制得具有纳米孔的生物活性玻璃纤维,再将此生物活性玻璃纤维分散在含聚己内酯的溶液中,铺展在玻璃皿上,干燥既得。所述生物活性玻璃纤维-聚己内酯复合膜具有分级多孔结构,膜上大孔为20~100um,小孔小于2um。所述生物活性玻璃纤维-聚己内酯复合膜具有良好的载药和载基因的潜能,同时分级多孔结构使其在硬组织修复和皮肤辅料方面具有较好的应用前景。

标签:
复合材料
广东 - 广州 来源:北方有色网 2023-03-18
以废弃PET瓶片为原料的无卤阻燃工程塑料及制备方法

本发明公开了一种以废弃PET瓶片为原料的无卤阻燃工程塑料及制备方法和应用。该塑料由以下按重量百分比计的组分组成:废弃PET瓶片36~65%、增强剂15~40%、增韧剂3~8%、磷系阻燃剂5~8%、氮系阻燃剂2~8%、纳米粘土0~4%、成核剂0~0.5%和抗氧剂0~0.5%。本发明以废弃PET瓶片为原料制备无卤阻燃工程材料,不仅有利于环保、降低废弃瓶污染,而且使再生材料高性能化;此外采用磷氮阻燃体系与纳米粘土复配,在实现复合材料无卤阻燃的同时,保证了阻燃材料较高的CTI值,适用于电子电器领域。

标签:
复合材料
广东 - 广州 来源:北方有色网 2023-03-18
改性纳米碳酸钙及其制备方法与应用

本发明涉及改性纳米碳酸钙及其制备方法。该方法是在100质量份纳米碳酸钙或硬脂酸改性纳米碳酸钙干粉或含100质量份纳米碳酸钙的水悬浮液中加入1~30份的不饱和脂肪酸及其衍生物,在室温~130℃下反应0.5~5小时,制得改性纳米碳酸钙。所制得改性纳米碳酸钙表面包覆了一层不饱和脂肪酸及其衍生物,并与纳米碳酸钙形成化学吸附,增强了纳米碳酸钙表面的疏水性,使其易于在聚合物中分散,减少了纳米粒子的团聚;还增强了界面间的作用,提高了纳米复合材料的综合性能。改性纳米碳酸钙可应用于各种聚合物制备的聚合物/无机物纳米复合材料,用于制造各种塑料制品、硫化橡胶制品、涂料、粘合剂、防水材料等,具有广阔的工业应用前景。

标签:
复合材料
广东 - 广州 来源:北方有色网 2023-03-18
相容性热致液晶聚合物及其制备方法和应用

本发明公开了一种热致液晶聚合物及其制备方法和应用。本发明通过对单体的选择,进行对分子结构的设计,直接制备出一类与特种工程塑料聚醚酰亚胺(PEI)化学结构相似的热致液晶聚合物聚酯酰亚胺(TLCPEI),使之进行原位复合时,无需使用增容剂等第三类物质都能具有良好的相容性,且TLCPEI加入量≤10WT%,复合材料综合性能显著提高,大幅度地降低了生产成本,有利于产品的工业化、商品化。

标签:
复合材料
广东 - 广州 来源:北方有色网 2023-03-18
上一页 27 28 29 30 31 ... 132 下一页
共132页    到第

北方有色为您提供最新的广东广州有色金属复合材料技术理论与应用信息,涵盖发明专利、权利要求、说明书、技术领域、背景技术、实用新型内容及具体实施方式等有色技术内容。打造最具专业性的有色金属技术理论与应用平台!

全国热门有色金属设备推荐
展开更多 +
全国热门有色金属技术推荐
展开更多 +

 

江西省隆恩特环保设备有限公司
宣传

报名参会
更多+

报告下载

有色专家
更多+

郑州大学
副院长/教授
南昌航空大学
副院长/教授
东北大学
院长/教授
鞍钢集团有限公司
中国工程院院士
中南大学
中国工程院院士
赤泥综合利用研究报告2025
推广

热门技术
更多+

推荐企业
更多+

福建省金龙稀土股份有限公司
宣传

发布

在线客服

公众号

电话

顶部
咨询电话:
010-88793500-807