青岛垚鑫智能科技有限公司
宣传

位置:中冶有色 >

有色技术频道 >

> 复合材料技术

分类:
全部
矿山技术
冶金技术
材料制备及加工技术
环境保护技术
分析检测技术
 
全部
功能材料技术
复合材料技术
新能源材料技术
合金材料技术
加工技术
地区:
全部
北京
天津
上海
重庆
河北
山西
辽宁
吉林
黑龙江
江苏
浙江
安徽
福建
江西
山东
河南
湖北
湖南
广东
海南
四川
贵州
云南
陕西
甘肃
青海
内蒙
广西
西藏
宁夏
新疆
其他
其他
展开
 
全部
上海

上海有色金属复合材料技术理论与应用

免费发布技术信息>>
新型多元杂化高性能减振复合材料的制备方法

本发明涉及一种多元杂化体高性能减振复合材料的制备方法,步骤包括:(1)混炼氯化聚乙烯、(2-羟基-3-环己基-5甲基)-苯环和2,2-甲撑双-(4-乙基-6-叔丁基苯酚),剪碎制成混炼碎粒;(2)热压成形,制得多元杂化高性能减振复合材料;(3)测试损耗因子TANΔ的峰值以及损耗峰对应的温度位置。本发明制得的损耗峰温度可控的杂化体减振复合材料,可适用于汽车、轨道交通、建筑、机械、家用电器及体育器材等方面。该方法操作简单,适合工业化生产。

标签:
复合材料
上海 - 上海 来源:中冶有色网 2023-03-18
滤纸模板法制备ITO/PDMS导电复合材料的方法

本发明涉及一种滤纸模板法制备ITO/PDMS导电复合材料的方法,包括:(1)采用溶剂热法制备ITO前驱体溶液;(2)真空下将滤纸浸泡在上述前驱体溶液中,反复取出并干燥,煅烧得到ITO;(3)将PDMS与固化剂以10∶1的质量比混合均匀,然后将上述所得ITO平铺在上面,在100~120℃下固化10~20min,制得ITO/PDMS树脂导电复合材料。本发明工艺简单,成本低廉;制得的导电复合材料具有良好的导电性以及柔性,易于实现工业化生产,具有良好的应用前景。

标签:
复合材料
上海 - 上海 来源:中冶有色网 2023-03-18
聚对苯二甲酸丁二醇酯/乙烯-醋酸乙烯酯复合材料的制备方法

本发明提供了一种聚对苯二甲酸丁二醇酯/乙烯—醋酸乙烯酯复合材料的制备方法。在双螺杆挤出机中,加入事先混合均匀的EVA、PBT、可反应相容剂以及抗氧剂的混合物,在一定的温度和转速下挤出造粒,制备出具有性能优异的聚对苯二甲酸丁二醇酯/乙烯-醋酸乙烯酯复合材料。本发明采用了可反应相容剂,利用原位反应改善了PBT与EVA之间的界面状态,使PBT与EVA之间的相容性得到提高,制得的复合材料与原料聚对苯二甲酸丁二醇酯相比,其韧性有较大提高,与原料乙烯-醋酸乙烯共聚物相比,其强度也得到了相应的提高,扩大了其应用范围,具有更广阔的工业化前景。

标签:
复合材料
上海 - 上海 来源:中冶有色网 2023-03-18
碳纤维/碳纳米管/环氧树脂多维混杂复合材料的制备方法

本发明属于纳米材料技术领域,具体涉及一种碳纤维/碳纳米管/环氧树脂多维混杂复合材料的制备方法。本发明将碳纳米管和碳纤维经过表面羧基化、酰氯化后,再在其上引入二元胺或多元胺,将接有此氨基的碳纳米管用小分子芳香族多元酸酐化合物修饰,制备携带酸酐基团的碳纳米管。超声波振荡和高速搅拌,使碳纳米管分散于环氧树脂基体中,采用有机酸酐类固化剂固化,以得到含有碳纳米管的环氧树脂聚合物作为基体和碳纤维复合,形成以共价键相连的多维混杂复合材料结构。本发明制备方便;赋予碳纳米管参与反应的活性,碳纳米管上的酸酐基团与环氧树脂中的环氧基团发生化学交联,从而提高了碳纳米管在环氧树脂中的分散,利用碳纳米管的强度和韧性强韧化环氧树脂,提高与碳纤维基面的粘结强度,从而提高碳纤维/碳纳米管/环氧树脂多维混杂复合材料的整体性能,拓宽碳纤维、碳纳米管和环氧树脂的应用。

标签:
复合材料
上海 - 上海 来源:中冶有色网 2023-03-18
自带加热、冷却系统的复合材料成型大型模具

本实用新型涉及一种自带加热、冷却系统的复合材料成型大型模具,包括上模、下模、两侧的限位固定滑块,两侧的型腔滑块,冷却系统、加热系统、锁紧机构、翻转机构;两侧限位固定滑块分别分布在下模的两侧,两侧型腔滑块分别分布在下模的两侧,同侧的限位固定滑块和同侧的型腔滑块固定在一起,本实用新型利用自带加热系统辅助复合材料制品模压成型;利用自带冷却系统辅助复合材料制品模具进行模具冷却;其中涉及一种加压系统的设计与制做,主要用于辅助复合材料产品成型的压力供给。使用一种自带加热、冷却系统的复合材料成型大型模具设计方案制造模具同样达到了模具给压、模具加热、模具冷却的效果,且操作简单、投入成本低、安全系数高。

标签:
复合材料
上海 - 上海 来源:中冶有色网 2023-03-18
沸石-磁铁矿复合材料、制备方法及其生物脱氮除磷的使用方法

本发明提供一种沸石‑磁铁矿复合材料、制备方法及其生物脱氮除磷的使用方法。制备方法包括以下步骤:将沸石、硫酸亚铁溶液充分搅拌混合反应;在0℃冰浴条件下,向上述混合溶液中缓慢加入过氧化氢溶液,持续搅拌,得到的铁基沸石中浸出的Fe2+与过氧化氢充分反应生成纳米四氧化三铁并沉积于所述沸石表面及内部孔道内;待反应完成后,磁分离并用乙醇清洗后真空干燥,得到沸石‑磁铁矿复合材料。本发明还提供上述沸石‑磁铁矿复合材料生物脱氮除磷的使用方法,微生物可附着于复合材料上,挂膜产生的内外膜侧氧气浓度的差异,实现硝化与反硝化同步、厌氧释磷与好氧超量吸磷同步的特性,也可进一步通过磁分离而进行回收复合材料,减少运行成本。

标签:
复合材料
上海 - 上海 来源:中冶有色网 2023-03-18
石墨烯弹性聚合物相变复合材料及其制备方法

本发明涉及一种石墨烯弹性聚合物相变复合材料及其制备方法,首先通过水热还原得到石墨烯气凝胶,然后将氧化石墨烯溶液与相变材料混合,通过Pickering乳液法制备相变微胶囊,最后将一定比例的相变微胶囊与弹性聚合物乳液混合液通过真空浸渍与石墨烯气凝胶进行复合,经过真空冻干,得到石墨烯弹性聚合物相变复合材料。与现有技术相比,本发明以石墨烯气凝胶作为骨架,为复合材料提供导热改性,通过复杂的孔隙结构为相变材料提供封装环境,可有效解决相变复合材料的易泄露、导热差两大技术瓶颈;弹性聚合物的复合加固了石墨烯骨架,进一步对相变材料封装的同时,可为复合材料提供优异的力学性能,因此可实现特殊条件下的储能应用。

标签:
复合材料
上海 - 上海 来源:中冶有色网 2023-03-18
碳化硅晶须/聚合物复合材料转接板及制备方法

本发明提出一种碳化硅晶须/聚合物复合材料转接板及制备方法,包括金属柱阵列以及碳化硅晶须/聚合物复合材料薄膜,其中,通过旋涂或电泳的方法制备的碳化硅晶须/聚合物复合材料薄膜构成转接板的基体,金属柱阵列规则分布在碳化硅晶须/聚合物复合材料转接板基体中,并竖直贯穿其中。本发明采用碳化硅晶须/聚合物复合材料作为转接板,与采用纯聚合物材料或玻璃介质作为转接板相比,由于碳化硅晶须的引入使聚合物的导热性能和机械性能有了显著地提高,但又没有增加工艺难度,因而使转接板的整体性能得到提高,有望用于工业化生产。

标签:
复合材料
上海 - 上海 来源:中冶有色网 2023-03-18
碳纤维复合材料及其制备方法和应用

本发明涉及碳纤维复合材料技术领域,具体涉及一种碳纤维复合材料及其制备方法和应用。所述碳纤维复合材料为以碳纤维布为基底,原位生长镍钴硫化物;所述镍钴硫化物具体为化合物CoxNi3‑xS4或纳米颗粒状Ni7S6/CoNi2S4复合材料。所述的碳纤维复合材料的制备方法为将经过预处理的碳纤维布置于溶剂中,加入硫源、镍源、钴源混合均匀转入反应釜进行溶剂热反应后取出清洗烘干,惰性氛围下热处理得到所述碳纤维复合材料。本发明制备的碳纤维复合材料用于电化学催化剂中,尤其是无酶葡萄糖传感器中具有极好的电催化性能,该电极检测葡萄糖具有极好的灵敏度、线性范围、选择性和稳定性。

标签:
复合材料
上海 - 上海 来源:中冶有色网 2023-03-18
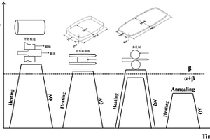
耐700℃高温钛基复合材料板材的制备方法

本发明公开了一种耐700℃高温钛基复合材料板材的制备方法,用于金属基复合材料领域。其步骤为:首先,对钛基复合材料化学成分进行热力学计算得到最佳原位自生微/纳颗粒增强相体系;随后,采用三次真空自耗电弧炉熔炼技术,制备TiB短纤维和稀土氧化物颗粒混杂增强的钛基复合材料铸锭;经β相区开坯锻造,变形量大于50%,随后于β相区等温锻造,最终,在钛基复合材料β相区或(α+β)两相区轧制变形并去应力退火。本发明提供了一种高性能耐高温钛基复合材料板材的制备工艺路线,增强体总体积分数在1.2vol.%‑5vol.%范围内。本发明可以成功制备出不同规格的高性能耐高温钛基复合材料板材。

标签:
复合材料
上海 - 上海 来源:中冶有色网 2023-03-18
潜油隔膜泵复合材料连续管采油系统

本发明公开了一种潜油隔膜泵复合材料连续管采油系统,包括一根连续不断的复合材料连续管,复合材料连续管的一端扣压连接一悬挂金具,使复合材料连续管的该端固定于地面井口处,复合材料连续管的另一端扣压连接一井下金具,并通过过渡接头连接井下潜油隔膜泵;井下潜油隔膜泵通过井下潜油电机实现驱动;复合材料连续管内嵌有多根动力电缆和多根数据通讯光纤;井下潜油电机通过动力电缆连接设置于地面的电源;井下设置有井下传感器,井下传感器所采集的数据通过数据通讯光纤传输至设置于地面的控制器。本发明通过复合材料连续管实现井下动力、传感器数据与地面控制装置之间的传输,具有节能、抗结垢、抗结蜡的特点,能够较为容易地实现智能化采油。

标签:
复合材料
上海 - 上海 来源:中冶有色网 2023-03-18
改善原位颗粒增强铝基复合材料颗粒分布的设备及应用

本发明涉及改善原位颗粒增强铝基复合材料颗粒分布的设备及应用,该设备包括上压头(1),模具筒(2)和模具头(3),模具筒(2)的中部设有贯通孔,上压头(1)及模具头(3)与该贯通孔的形状相匹配,使用时将复合材料置于贯通孔内,上压头(1)及模具头(3)分别置于复合材料的上下表面并压紧。与现有技术相比,本发明通过将原位颗粒增强铝基复合材料在此多道次正交叠片挤压模具中进行挤压变形,可以对颗粒增强铝基复合材料施加大量累计剪切应变,进而起到机械搅拌的作用,将复合材料内原位自生颗粒团聚体打散,使其均匀弥散分布于铝基体中,从而改善原位颗粒增强铝基复合材料的颗粒分布均匀性。

标签:
复合材料
上海 - 上海 来源:中冶有色网 2023-03-18
高体分颗粒增强钛基复合材料粉体及制备方法

本发明提供一种高体分颗粒增强钛基复合材料粉体及其制备方法,所述高体分颗粒增强钛基复合材料的制备方法包括如下步骤:设计增强钛基复合材料成分,所述增强钛基复合材料成分包括基体钛合金A、中间合金B和原位自生反应添加颗粒C;将中间合金B和原位自生反应添加颗粒C混合均匀,压制成电极棒;将电极棒真空自耗熔炼,使基体钛合金A、中间合金B和原位自生反应添加颗粒C进行原位反应,获得高体分颗粒增强钛基复合材料铸锭;将铸锭作为电极在真空凝壳炉中进行加热重熔,浇筑到模具中,制备成制粉用棒材;将棒材进行电极感应熔炼气雾化制粉,制得高体分颗粒增强钛基复合材料粉体。

标签:
复合材料
上海 - 上海 来源:中冶有色网 2023-03-18
电磁波多入射角度下的复合材料电磁参数计算方法

一种电磁波多入射角度下的复合材料电磁参数计算方法,修正掺杂浓度并在均匀化模型中引入有待定系数的等效复介电常数,建立修正的电磁波多入射角度下的复合材料均匀化模型,由最小二乘法拟合随机掺杂复合材料的屏蔽效能得到引入的待定系数,将拟合得到的待定系数代入修正的电磁波多入射角度下的复合材料均匀化模型,计算得到复合材料的介电常数与电导率。本发明可为各类电磁仿真如电磁防护设计、雷达散射截面计算等提供基础电参数输入,为航空航天器复合材料电磁防护设计仿真电参数输入提供一种有效的技术方案。

标签:
复合材料
上海 - 上海 来源:中冶有色网 2023-03-18
具有超塑性铝基复合材料板的制备方法

本发明公开了一种具有超塑性铝基复合材料板的制备方法,其包括如下步骤:待加工的铝基复合材料进行包括固溶和过时效的轧制前热处理,热处理后的铝基复合材料表面车削去皮至表面平整,然后进行多道次中温轧制,且在每道次轧制前进行均匀化热处理,轧制完成的板材进行拉伸矫直。本发明利用轧制前热处理和中温轧制加工成型相结合,使得基体晶粒显著细化,提高材料成型率;在铝合金中加入原位纳米颗粒增强相TiB2钉轧晶界阻碍晶粒长大,热稳定性好,对于晶粒在高温变形中发生的晶粒长大和空洞生成起到抑制作用;板材在400‑475℃和10‑3‑10‑4/s变形工艺条件下纵向延伸率可达350%‑600%,具有优异的高温超塑性。

标签:
复合材料
上海 - 上海 来源:中冶有色网 2023-03-18
高强度耐摩擦尼龙复合材料及其制备方法

本发明涉及尼龙复合材料技术领域,特别是涉及一种高强度耐摩擦尼龙复合材料及制备方法。尼龙复合材料由如下重量份的组分组成:尼龙材料40~100份,玻璃纤维10~40份,添加剂2.5~17份;所述尼龙材料为尼龙6、尼龙66和高温尼龙的组合物。尼龙复合材料的制备方法,包括:干燥原料;原料混合;挤塑成型:按照上述的重量份配比将尼龙材料、干燥后的玻璃纤维和添加剂置于预混机中混合,混合后将原料转入双螺杆挤出机挤塑成型,即得高强度耐摩擦尼龙复合材料。本发明解决现有技术中吸水率高影响摩擦性能和机械性能的问题,制备得到的高强度耐摩擦尼龙复合材料其吸水性低、耐磨损性好、耐温范围宽、机械性能好和加工性能好。

标签:
复合材料
上海 - 上海 来源:中冶有色网 2023-03-18
陶瓷树脂复合材料及制备方法及提纯陶瓷粉体的方法

本发明公开了一种陶瓷树脂复合材料,包括:树脂基体;以及陶瓷填料,陶瓷填料分散于树脂基体中;其中,陶瓷填料为热处理之后的陶瓷粉体。该种陶瓷树脂复合材料使用热处理之后的陶瓷粉体作为陶瓷树脂复合材料的陶瓷填料,热处理之后的陶瓷粉体的晶相更好,其介电常数更高,使得陶瓷树脂复合材料在添加同等比例填料的前提下,具有更高的介电常数,或者在具有同等介电常数的前提下,需要添加的填料比例更低。另外,热处理之后的陶瓷粉体的晶体颗粒粒径更大,减少了陶瓷粉体的分散难度,可以在陶瓷树脂复合材料中增加更多的陶瓷粉体添加量从而获得更高介电常数的陶瓷树脂复合材料。

标签:
复合材料
上海 - 上海 来源:中冶有色网 2023-03-18
加工挤出过程中交联反应制备高强度和高韧性生物可降解聚乳酸基复合材料的方法

本发明涉及一种加工挤出过程中交联反应制备高强度和高韧性生物可降解聚乳酸基复合材料的方法,该方法制备的聚乳酸基复合材料是以聚乳酸为基体材料进行增韧、增强改性,所述复合材料按质量份计包括以下组分:聚乳酸60~100份,生物可降解酯类聚合物5~60份,聚多元醇或聚多元醇醚交联剂3~20份。本发明还公开了一种上述聚乳酸复合材料的反应挤出制备方法。本发明中制备得到的聚乳酸基复合材料中,聚乳酸与生物可降解聚酯以及聚多元醇或聚多元醇醚交联剂组分之间具有优异的相容性,使得复合材料的韧性、强度以及可加工性得到增强,解决了非交联聚乳酸复合聚酯的强度和韧性不够理想以及预交联反应制备的聚乳酸复合聚酯的加工性能较差的问题。

标签:
复合材料
上海 - 上海 来源:中冶有色网 2023-03-18
聚砜酰胺/粘土纳米复合材料的制备方法

本发明涉及一种聚砜酰胺/粘土纳米复合材料的制备方法,属有机高分子聚合物和无机填料所组成的复合材料的制造工艺技术领域。本发明方法的特征在于采用单体溶液插层原位聚合的技术,其工艺步骤主要是:将有机粘土加入于有机溶剂中,高速搅拌,形成粘土分散溶液;然后将芳香二胺加入到上述粘土分散溶液中,边搅拌,边溶解,并降温至-8℃-10℃;使形成单体插层溶液;在上述的低温单体插层溶液中边搅拌边加入对苯二甲酰氯,使其进行缩聚反应,用碱中和并过滤,即得产品。本发明方法制得的复合材料具有良好的力学性能,将其制成纤维,可适宜制作各种专业用的防护服和军用服装。

标签:
复合材料
上海 - 上海 来源:中冶有色网 2023-03-18
原位颗粒增强耐蚀铸造铝基复合材料的制备方法

一种原位颗粒增强耐蚀铸造铝基复合材料的制 备方法,所述复合材料组分重量百分比为:7.5~9.5%Mg,1.0~ 1.5%Zn、0.03~0.1%Be,0.1~0.2%Ti,1~20% TiB2,余量为Al,制备步骤:(1) 将工业纯铝加入电阻炉内坩锅中进行熔炼,升温,用覆盖剂覆 盖;(2)将KFB4、 KTiF6均匀混合,烘干后加入熔 体中,进行机械搅拌;(3)反应结束后,取出副产物,加入Al -Be中间合金、Al-Ti中间合金,覆盖;(4)在坩锅内液面上 空通保护气体;(5)合金液降温冷却后,加入工业纯Mg、Al- Zn中间合金,搅拌,扒去浮渣,抽真空静置;(6)采用低压铸 造成形。本发明制得的复合材料具有良好的耐蚀强度、塑性, 并具备高的模量,方法简单,成本低、适合于大规模生产应用。

标签:
复合材料
上海 - 上海 来源:中冶有色网 2023-03-18
镶嵌金纳米棒的介孔硅基纳米复合材料的合成方法

本发明属于纳米生物医药领域,涉及镶嵌金纳米棒的介孔硅基纳米复合材料的合成方法,本发明为在金纳米棒表面羧基功能化和介孔硅基纳米颗粒表面氨基功能化的基础上,通过酰胺反应将表面羧基功能化的金纳米棒与表面氨基功能化的介孔硅基纳米颗粒复合,得到外表面均匀、稳定镶嵌金纳米棒的介孔硅基纳米复合材料;复合反应直接在水中合成,不用添加催化剂,不用调节酸度或离子强度;简单易行、无污染且产量高。所得复合材料,具有良好的分散性、生物相容性和无毒性;具备介孔硅基纳米材料高的载药量和药物缓释功能,以及金纳米棒将近红外光转化为热的功能,可实现药物治疗和光热治疗协同的治疗模式,并可广泛用于疾病诊断和治疗,及生物杀菌等领域。

标签:
复合材料
上海 - 上海 来源:中冶有色网 2023-03-18
一类纤维增强复合材料及其制备方法

本发明公开了一类纤维增强复合材料及其制备方法。该纤维增强复合材料,包括聚合物基体和纤维,还包括焊接剂,该焊接剂使分散在聚合物基体中的纤维连接起来,在实质上形成了一种由焊接剂和纤维构成的独立于聚合物基体的三维网络骨架结构。本发明的纤维增强复合材料能够有效利用纤维特性,降低纤维用量,赋予较高的耐热性能、导电性能或导热性能,在交通运输、电子信息以及建筑住宅等领域具有广阔的应用前景。

标签:
复合材料
上海 - 上海 来源:中冶有色网 2023-03-18
核壳结构Sn/C纳米复合材料的制备方法

本发明涉及一种核壳结构Sn/C纳米复合材料的制造方法。本发明分两次水热合成和一步碳热还原,第一次水热合成以SnCl4·5H2O或K2SnO3·3H2O为锡源,PEG-600/H2O为溶剂体系,HMT为均匀沉淀剂,合成出纳米二氧化锡;第二次水热合成将制备出来的纳米二氧化锡,苯酚,HMT按一定摩尔比在150~180℃反应2-6h,合成出二氧化锡/酚醛树脂前驱物;在高纯氮气气氛保护下,800℃处理前驱物1-3h,碳热还原得Sn/C纳米复合材料。所制备出来的Sn/C纳米复合材料为球形核壳结构,纳米锡均匀地被无定形碳球包裹。特点在于,以廉价的SnCl4·5H2O或K2SnO3·3H2O为锡源,水为溶剂体系,没有使用昂贵、危险的还原剂,降低成本,装置简单,方法新颖。

标签:
复合材料
上海 - 上海 来源:中冶有色网 2023-03-18
在紫外光照射下可发出蓝绿光的聚丙烯复合材料

本发明提供一种在紫外光照射下可发出蓝绿光的聚丙烯复合材料制备方法,采用阳离子交换法将层状无机纳米蒙脱土材料与分散剂、有机插层剂进行修饰,再与聚丙烯复合,从而制备出具有荧光性能的复合材料。本发明采用有机蒙脱土纳米材料对聚丙烯进行掺杂,来控制聚丙烯的发光波长,从而可以使聚丙烯在紫外光的照射下发出蓝绿光,赋予了聚丙烯独特的荧光性能,制备的复合材料可作为聚合物荧光材料或荧光标识材料使用,特别是需要蓝绿光的应用领域,还可作为在紫外光照射下能对作物生长有利的农用膜使用,有着广阔的应用及工业化前景。

标签:
复合材料
上海 - 上海 来源:中冶有色网 2023-03-18
环氧树脂纳米复合材料用多功能碳纳米管的制备方法

本发明属于纳米材料技术领域,具体涉及一种环氧树脂纳米复合材料用多功能碳纳米管的制备方法。本发明采用分子设计的思想,将纯化的碳纳米管经过表面定量羧基化、酰氯化后,再引入具有特征结构的长链二元胺,得到表面具有定量活性氨基的接枝型碳纳米管。利用此结构对基体树脂的亲和力和与基体树脂的化学反应,从而改善碳纳米管的分散性,提高其与基体树脂的基面粘结强度,使碳纳米管同时起到易分散、界面粘结性好、增强、固化等多种功能。因此本发明制备的环氧树脂纳米复合材料用多功能碳纳米管,有利于提高碳纳米管/环氧树脂复合材料的整体性能,便于碳纳米管的工业化应用。

标签:
复合材料
上海 - 上海 来源:中冶有色网 2023-03-18
纳米超高分子量聚乙烯复合材料的制备方法

一种纳米超高分子量聚乙烯复合材料的制备方法。在反应釜中,100重量份的超高分子量聚乙烯在130~180℃下溶解于1000~5000重量份溶剂中,加入0.1~20重量份极性单体和0.01~5重量份引发剂,5~20MPa压力下反应1~3小时,加0.5~10重量份纳米无机材料粉末,继续反应1~2小时,用500~1000重量份絮凝剂使反应物沉淀,真空抽滤,洗涤,干燥,得到纳米超高分子量聚乙烯复合材料。本发明方法制备的复合材料,其热变形温度、机械性能较纯超高分子量聚乙烯有明显提高,拓展了超高分子量聚乙烯材料的应用领域。

标签:
复合材料
上海 - 上海 来源:中冶有色网 2023-03-18
具有厚度渐变区的复合材料板壳及其成型装置与方法

本发明涉及复合材料成型技术领域内的一种具有厚度渐变区的复合材料板壳及其成型装置与方法,包括成型模具、透气脱模布、有孔隔离薄膜、围条、透气毡、以及真空薄膜;透气脱模布与成型模具内表面之间用于铺设预浸料,透气脱模布、有孔隔离薄膜、透气毡和真空薄膜依次层叠于预浸料上,围条的侧面与复合材料层的端面相接触,围条用于阻止复合材料层向外流动;透气脱模布、有孔隔离薄膜和围条罩设于透气毡内,真空薄膜罩设于透气毡之外,真空薄膜与成型模具的表面密封连接。本发明通过稳压结构件与吸附结构件的设计,使得板壳制作过程中施加于复合材料层上的压力区域均匀,且保证复合材料层的流失量在控制范围内,提高了板壳的制作质量。

标签:
复合材料
上海 - 上海 来源:中冶有色网 2023-03-18
上转换纳米晶-沸石复合材料及其制备方法与应用

本发明涉及一种上转换纳米晶‑沸石复合材料及其制备方法与应用,复合材料包括沸石以及生长于沸石多孔结构中的稀土掺杂上转换纳米晶,稀土掺杂上转换纳米晶为NaRE1F4:xYb3+,yRE23+,其中,RE1为Y或Gd,RE2为Tm、Er或Ho,0<x≤30mol%,0<y≤3mol%;制备过程包括稀土掺杂上转换纳米晶的制备以及与不同拓扑结构的沸石的复合;上转换纳米晶‑沸石复合材料在980nm激发下发射可见光。与现有技术相比,本发明可获得980nm激发下发光强度显著提高的上转换发光沸石材料,有助于实现对沸石载药释药过程的动态监测,提高信噪比。

标签:
复合材料
上海 - 上海 来源:中冶有色网 2023-03-18
热塑性阻燃增强生物基PA56和PA66复合材料及其制备方法

本发明涉及一种热塑性阻燃增强生物基PA56和PA66复合材料及其制备方法,该复合材料至少由以下质量百分比的原料制备而成:生物基PA56 10~70%,PA66 10~70%,阻燃剂5~20%,无碱玻璃纤维10~40%,还可以进一步包括阻燃协效剂1~10%,相容剂2~15%,其它加工助剂为0.1~5%。本发明的复合材料具有优良的力学性能和抗冲击性能,适用于注塑成型各种电子、电器、家具等产品的零部件或结构材料。

标签:
复合材料
上海 - 上海 来源:中冶有色网 2023-03-18
铝基复合材料熔体处理的方法

本发明提供了一种铝基复合材料熔体处理的方法,所述熔体处理的方法包括将铝基复合材料进行变质处理的步骤和喷粉除气精炼处理的步骤。本发明通过加入变质剂锑(Sb)和碲(Te)进行变质处理,加入精炼剂进行除气、除渣精炼处理,有效解决了铝基复合材料通过变质处理和精炼处理,改善复合材料熔体内部质量的问题,为利用铝基复合材料制备优质铸件提供了基础,实现了提高铝基复合材料铸件内部质量的目标。

标签:
复合材料
上海 - 上海 来源:中冶有色网 2023-03-18
上一页 278 279 280 281 282 ... 307 下一页
共307页    到第

中冶有色为您提供最新的上海有色金属复合材料技术理论与应用信息,涵盖发明专利、权利要求、说明书、技术领域、背景技术、实用新型内容及具体实施方式等有色技术内容。打造最具专业性的有色金属技术理论与应用平台!

全国热门有色金属设备推荐
展开更多 +
全国热门有色金属技术推荐
展开更多 +

 

江西省隆恩特环保设备有限公司
宣传

报名参会
更多+

报告下载

有色专家
更多+

中国科学院赣江创新研究院
院长
鞍钢集团有限公司
中国工程院院士
长沙矿冶研究院有限责任公司
中国工程院院士
江西理工大学
副校长/教授
江西省科学院应用化学研究所
副主任/副研究员
赤泥综合利用研究报告2025
推广

热门技术
更多+

推荐企业
更多+

福建省金龙稀土股份有限公司
宣传

发布

在线客服

公众号

电话

顶部
咨询电话:
010-88793500-807