青岛垚鑫智能科技有限公司
宣传

位置:中冶有色 >

有色技术频道 >

分类:
全部
矿山技术
冶金技术
材料制备及加工技术
环境保护技术
分析检测技术
 
全部
物理检测技术
化学分析技术
力学检测技术
无损检测技术
失效分析技术
环境检测技术
地区:
全部
北京
天津
上海
重庆
河北
山西
辽宁
吉林
黑龙江
江苏
浙江
安徽
福建
江西
山东
河南
湖北
湖南
广东
海南
四川
贵州
云南
陕西
甘肃
青海
内蒙
广西
西藏
宁夏
新疆
其他
其他
展开
 
全部
其他

其他有色金属分析检测技术理论与应用

免费发布技术信息>>
包括基本仪器和可拆卸盒的用于生物化学分析的系统和方法

本申请涉及包括基本仪器和可拆卸盒的用于生物化学分析的系统和方法。公开了用于利用基本仪器和可拆卸盒进行指定反应的系统和方法。可拆卸盒包括接收并流体地引导生物样品以进行指定反应的流体网络。可拆卸盒还包括可操作地耦合到流体网络并相对于流体网络可移动以控制穿过其的生物样品的流量的流量控制阀。可拆卸盒配置成可分离地接合基本仪器。基本仪器包括接合可拆卸盒的流量控制阀的阀致动器。由可拆卸盒或基本仪器中的至少一个保持的检测组件可用于检测指定反应。

标签:
化学分析
其他 - 其他 来源:中冶有色网 2023-03-19
连续电化学分析仪
连续电化学分析仪 1088     
 0

一种确定溶液中如镉、铅、铜、锑等阳离子密度的连续电化学分析仪,包括一个由分隔壁分成两部分的元件及一个用于放大和检测与密度测量有关的信号的装置。该元件的第一部分有玻璃化炭黑固体工作电极、参考电极和反电极,另一部分的同一边有阳离子溶液的入口和出口,一根U形管从这两个口延伸出去,且伸过分隔壁。

标签:
化学分析
其他 - 其他 来源:中冶有色网 2023-03-19
化学物质的检测装置以及化学物质的检测方法

本发明的化学物质的检测装置(100)具备真空紫外光灯(3),通过该真空紫外光灯(3),将废气Gs中的检测对象化学物质离子化。被离子化的检测对象化学物质被封闭在内部形成高频电场的离子捕获装置(10)内。通过SWIFT波形(其包含将与该检测对象化学物质离子的轨道共振频率对应的频率排除的频率成分)提供给离子捕获装置(10)内的离子群能量并除去杂质。然后,通过TICKLE波形(具有对应于检测对象化学物质离子的轨道共振频率的频率成分)给上述离子群提供能量,并将检测对象化学物质的离子碎片化。然后,可通过质量分析计(4)测定该碎片的质量,以鉴定检测对象化学物质。

标签:
化学分析
其他 - 其他 来源:中冶有色网 2023-03-19
用于远程化学材料分析的模块化装置

本发明公开了一种具有基本功能单元的用于远程化学材料分析的模块化装置,该基本功能单元形成有传送模块(2),该传送模块(2)部分地配有移动框架构造,该移动框架构造至少设置有激光器的电源(21)、根据波长及其记录针对等离子体辐射分布设计的检测系统(22)、PC形式的控制和评价块(23)以及控制电子块(24),并且部分地与包含用作激光脉冲的源的激光器头(41)的激光器模块(4)连接,其中本发明的要点在于,激光器模块(4)配有可选地按照一定路线布置激光脉冲的激光光束路由器(42),当利用“远距离LIBS”方法分析时,使激光脉冲进入远距离模块(6),当利用“远程LIBS”方法分析时,使激光脉冲进入纤维模块(8)。

标签:
化学分析
其他 - 其他 来源:中冶有色网 2023-03-19
化学机械抛光垫、抛光层分析器和方法

提供一种化学机械抛光垫、抛光层分析器,其中所述分析器经配置以检测聚合薄片的宏观不均匀性并且将所述聚合薄片分类成可接受或待检。

标签:
化学分析
其他 - 其他 来源:中冶有色网 2023-03-19
用于对样品成像用于生物或化学分析的方法、载体组件和系统

方法包括将第一载体组件定位在系统台上。第一载体组件包括支撑框架,其具有限定支撑框架的窗口的内框架边缘。第一载体组件包括位于窗口内并被内框架边缘包围的第一基底。第一基底具有在其上的样品。该方法包括检测来自第一基底的样品的光信号。该方法还包括用系统台上的第二载体组件替换系统台上的第一载体组件。第二载体组件包括支撑框架和由支撑框架保持的接装板。第二载体组件具有由接装板保持的第二基底,第二基底具有在其上的样品。该方法还包括检测来自第二基底的样品的光信号。

标签:
化学分析
其他 - 其他 来源:中冶有色网 2023-03-19
化学发光检测器用反应装置以及具备该反应装置的化学发光检测器、与化学发光检测方法

本发明的化学发光检测器用反应装置(21)具备反应管(28)与惰性气体供给路径(313)。反应管(28)由氧化铝的烧结体形成,在其内部使试样气体氧化以及还原。利用惰性气体供给路径(313)将惰性气体供给至反应管(28)内。由此,能够减轻使氧化铝的烧结体活性化时成为妨碍的污染,因此能够缩短老化的时间。

标签:
化学分析
其他 - 其他 来源:中冶有色网 2023-03-19
用于化学和/或生物分析的方法和装置

本发明涉及化学和/或生物分析方法,包括的步骤有:提供一种由壁限定的容器(2),所述壁具有内表面(7),在所述内表面上附着活性成分(8),所述活性成分用来与存放在容器(2)中的溶液(9)发生化学和/或生物反应;用含有待检测的分析物的液态溶液(9)填充容器(2);以合适的频率(f)在容器(2)中对液体(9)实行吸取/释放体积(v)的连续运动以引起液体共振,从而使液体的自由表面变形,并使液体沿容器(2)的壁(3)的内表面(7)产生优选的分布。

标签:
化学分析
其他 - 其他 来源:中冶有色网 2023-03-19
用于饮料分析的电化学传感器

本发明涉及一种用于测定液体饮料样品中分析物浓度的干性传感器。本文描述了一种新型干性传感器,能够接收液体样品并将液体的pH值调整到适合测定目标分析物的程度,无需在样品中添加试剂和/或进行手动计时操作,存在液体样品时,所述传感器能够检测到氧化还原反应。当与本文公开的所述传感器连接时,本文公开的仪表能够将液体的温度调整到适合测定的程度、施加一系列电位、测量几个时间点的电流、测定限制性电化学粒种的扩散系数、计算一种或多种分析物的浓度以及向用户快速提供所需的液体样品信息。

标签:
化学分析
其他 - 其他 来源:中冶有色网 2023-03-19
微量化学系统及在该系统中进行的光热转换光谱分析方法

一种可提高用户工作效率的微量化学系统,在该微量化学系统(1)中,构成光学组件(1a)的板状构件(10)的光波导路(20)成为激励光和检测光的光路。流道(40)位于比配置在光波导路(20)两端中激励光和检测光行进方向下游侧一端的照射透镜(30)更靠近下游的一侧,并且,流道(40)内流动着含试样液体。在比流道(40)更靠近下游的端部上配置的检测器(50),为进行分析对检测光进行检测。

标签:
化学分析
其他 - 其他 来源:中冶有色网 2023-03-19
化学传感器、化学传感器模块、化学物质检测装置和化学物质检测方法

本发明提供一种设置有分光特性优异的分光滤波器的化学传感器、化学传感器模块、化学物质检测装置和化学物质检测方法。根据本技术的化学传感器设置有基板和等离子体激元吸收层。在所述基板上形成有光检测部。所述等离子体激元吸收层层叠在所述基板上并具有产生等离子体激元吸收性的金属纳米结构。

标签:
化学分析
其他 - 其他 来源:中冶有色网 2023-03-19
电池材料的化学状态分析装置和方法

化学状态分析装置(10)具备:激发源(11),其向包含电池材料的试样(S)中的规定面内的照射区域(A)照射用于使该电池材料产生特征X射线的激发射线;分光晶体(13),其由面向照射区域(A)设置的平板构成;狭缝(12),其设置于照射区域(A)与分光晶体(13)之间,且与照射区域(A)及分光晶体(13)的规定的晶面平行;X射线线性传感器(15),其是在平行于该狭缝的方向上具有长度的线状的检测元件(151)以沿垂直于狭缝(12)的方向排列的方式设置而成的;波长谱制作部(161),其基于X射线线性传感器(15)检测出的特征X射线的强度来制作波长谱;峰值波长决定部(162),其求出峰值波长,该峰值波长是所述波长谱的峰值处的波长;以及化学状态确定部(163),其根据由峰值波长决定部(162)求出的峰值波长、以及标准曲线来求出用于确定试样(S)中的电池材料的化学状态的值,该标准曲线表示峰值波长与代表试样S中的电池材料的化学状态的值之间的关系。

标签:
化学分析
其他 - 其他 来源:中冶有色网 2023-03-19
化学分析装置及其中所用的结构体

化学分析装置中具有收容部,该收容部收容结构体,该结构体贮藏与试样反应的试剂,具有试样与试剂反应的反应区域。另外,化学分析装置还包括检测反应液试样的检测机构。在结构体上形成流路盒:该流路盒具有贮藏试剂的试剂盒、与试剂盒连接的连接部、流动试剂的试剂流路、流动试样的试样流路、连接试剂流路和试样流路的反应区域。试剂盒的侧面和流路盒的侧面相向配置,通过连接部加以连接。

标签:
化学分析
其他 - 其他 来源:中冶有色网 2023-03-19
用于试剂存储和传递的卡盘和系统

本实用新型提供了一种流体存储器件,所述流体存储器件包括托盘;所述托盘内的多个成分孔,其中所述多个的单个孔在所述孔的顶部具有开口;覆盖所述单个孔的顶部的所述开口的保护箔;针孔,其中所述针孔位于所述托盘的上表面上并被配置以容纳所述成分孔的四个之间的导针;以及沿所述托盘的第一和第二边延伸的唇状物。本实用新型还提供了包含该流体存储器件的流体存储系统。

标签:
化学分析
其他 - 其他 来源:中冶有色网 2023-03-19
化学分析设备和基因诊断设备

用于从包含多种化学物质的试样中提取诸如核酸之类的特定化学物质的化学分析设备,能够通过阀门消除其中残留的液体,该阀门用于控制液体的流动并防止前步骤的试剂污染后续步骤的试剂,其中,在试剂流动路径中设有安装控制液体流动的阀门的条件下,恒量的溶液被保持并通过离心力被供给。采用穿孔器(13)开孔使得通风孔(272,273,274)的盖子与分析盘(2)中的检测容器(450)和废液容器(460)和(470)相通,分析盘(2)被旋转以实现供给和固定量试样的保持。

标签:
化学分析
其他 - 其他 来源:中冶有色网 2023-03-19
化学发光分析装置、血液净化装置以及血液净化系统

本发明提供一种比以往的容易设置的化学发光分析装置。该化学发光分析装置(100)包括有使得血液净化装置(200)的排液(201)和试剂(141)反应的反应器(111),以及对反应器(111)产生的化学发光的发光强度进行测量的光检测器(112)。还包括从血液净化装置(200)的排液通道(220)向反应器(111)输送排液(201)的排液液体给送机构(113),和向反应器(111)输送试剂(141)的试剂液体给送机构(114)。另外,还配备有将输送到反应器(111)反应后的排液(201)和试剂(141)的混合液(181)的流动通道与血液净化装置(200)的排液通道(220)连结的连结部(123)和电接口部(165)。

标签:
化学分析
其他 - 其他 来源:中冶有色网 2023-03-19
化学分析设备和方法
化学分析设备和方法 743     
 0

用于化学分析的方法和系统。例如,用于样品化学分析的设备包括壳体、入口、泵、多个膜和至少一个检测器。壳体包含设备的内部腔室。壳体上的入口将样品引入内部腔室。泵连接到壳体,以在内部腔室中形成部分真空。多个膜对样品的不同成分具有不同的响应时间。多个膜包括至少第一膜和第二膜。第一膜和第二膜中的至少一个包括管状部分。多个膜对样品的不同成分具有不同的响应时间。检测器用于检测样品与多个膜相互作用后的不同成分。

标签:
化学分析
其他 - 其他 来源:中冶有色网 2023-03-19
用于化学和生物分析的光纤传感器

本实用新型公开了一种用于化学和生物分析的光纤传感器,包括:光纤耦合器,其设有传感器探头,传感器探头的底部覆有惰性金属薄膜;激光光源,其与光纤耦合器连接;光谱仪,其与光纤耦合器连接;芯片,芯片的表面设有透明的纳米粒子膜,所述纳米粒子膜上设有与被分析物具有亲和性的分子膜。本实用新型的光纤传感器可对化学或生物物质进行实时检测和连续监测,能动态地监测化学分子或生物分子相互作用的全过程。有利于工业控制过程,食品、化学和药物加工和制造过程,食品和饮料安全监测及卫生保健等等。

标签:
化学分析
其他 - 其他 来源:中冶有色网 2023-03-19
利用高光谱数据分析的人工智能的细胞检测方法及其系统

本发明提供了一种利用高光谱数据分析的人工智能的细胞检测方法及其系统,所述方法包含取得多个细胞;在第一时间点以及第二时间点之间,取样该些细胞的N张图像;依据该些细胞的N张图像,进行图像校正程序,以产生N张标准化细胞高光谱图像;决定每一个细胞在发育期间,内部至少一种化学成分发生改变时对应的观测区域;在第一时间点以及第二时间点之间,分析N张标准化细胞高光谱图像,以产生观测区域对应的关键标准化细胞高光谱图像差异特征数值;将关键标准化细胞高光谱图像差异特征数值及/或N张标准化细胞高光谱图像输入至类神经网络,以检测细胞品质。

标签:
化学分析
其他 - 其他 来源:中冶有色网 2023-03-19
用于对尿样进行化学、定性、定量和半定量分析的方法和装置

分析尿样的尿化学组成、成形体和罕有事件的证据,所有检测试验均在单一样品容器(2)和低倍放大条件下进行。

标签:
化学分析
其他 - 其他 来源:中冶有色网 2023-03-19
用于遗传和化学分析的单分子阵列

本发明提供了单分子随机阵列,用于执行大规模分析,特别是生物分子 诸如基因组DNA、cDNA、蛋白质等等的大规模分析。一方面,本发明的阵 列包含随机部署在离散分隔区规则阵列上的DNA片段串联物,使得基本上所 有这样的区域包含不超过单个串联物。优选的是,所述区域的面积基本上小 于1μm2且最近相邻距离容许每cm2有109个单分子数量级的光学分辨率。许多 分析化学可应用于本发明的随机阵列,包括通过杂交化学的测序、通过合成 化学的测序、SNP检测化学等等,用于大大扩充此类技术的规模和潜在应用。

标签:
化学分析
其他 - 其他 来源:中冶有色网 2023-03-19
射流器件支架
射流器件支架 1082     
 0

一种射流器件支架,被配置以相对于相互垂直的X、Y和Z轴定位射流器件,包括:被配置以容纳射流器件的支撑结构,所述支撑结构包括面向沿所述Z轴方向的基面并被配置以将所述器件固定于其上;多个沿XY平面各自方向的基准面;包括致动器和操作地耦合至所述致动器的可移动的定位臂的对准组件,所述定位臂具有啮合端,所述致动器将所述定位臂在缩回和偏置位置之间移动以远离和朝向所述基准面移动所述啮合端,其中当所述定位臂处于所述偏置位置时,所述定位臂被配置以支承所述射流器件抵靠所述基准面;以及耦合至所述支撑结构并被配置为可拆卸地安装于所述射流器件上方的盖组件,所述盖组件具有置于所述基面上的观看空间。

标签:
化学分析
其他 - 其他 来源:中冶有色网 2023-03-19
光学组件、激发光模块以及光学成像系统

光学组件、激发光模块以及光学成像系统。光学组件,包括:具有支撑面和沿支撑面的部件容纳空间的底板,部件容纳空间至少部分地由基准面限定;具有被配置以反射光或传输光穿过其中的光学表面的光学部件;以及包括部件保持器和可操作地耦合至保持器的偏置元件的安装器件,其中保持器包括朝向基准面突出的对准功能部件;当偏置元件提供对准力时,对准功能部件啮合底板的互补凹口;保持器支承光学部件,以便光学表面的空间部分面对基准面以及光学表面的路径部分延伸超出支撑面进入光路;以及其中偏置元件包括被配置以存储机械能的弹性构件,偏置元件提供支承光学表面抵靠基准面的对准力。一种包含上述光学组件的成像系统。

标签:
化学分析
其他 - 其他 来源:中冶有色网 2023-03-19
用于分析目标物的化学成分的方法和系统

本发明涉及用于分析目标物的化学成分的方法和系统。根据本发明的示例性方面,提供了一种用于分析目标物(5)的化学成分的方法,该方法包括将电可调法布里‑珀罗干涉仪(4)放置在由辐射源(2)发射的辐射路径中,并且利用检测器(6)来检测通过法布里‑珀罗干涉仪(4)并且通过目标物(5)或被目标物(5)反射的辐射(3),并且其中进行检测使得允许同时检测多个通带。

标签:
化学分析
其他 - 其他 来源:中冶有色网 2023-03-19
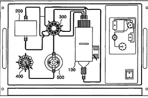
间歇式化学分析装置
间歇式化学分析装置 996     
 0

本发明涉及一种全自动间歇式化学分析装置,其特征在于,包括:用于混合样品和试剂的反应槽(100);检测器(200);切换阀(300);多端口阀(400);泵(500)以及吸气排气口(600)。尤其,所述切换阀(300)包括:多个孔(301)~(310),用于接收样品和试剂并将样品和试剂循环于反应槽(100)及检测器(200),然后向外部排出;以及转子(320),该转子(320)具有同时对接于所述多个孔(301)~(310)中相邻的两个孔的多个流入口(321)~(325),通过所述转子(320)的旋转,所述相邻的两个孔形成不同配对,从而形成两种可供选择的连通状态。

标签:
化学分析
其他 - 其他 来源:中冶有色网 2023-03-19
具有化学显色传感器组件的气体分析仪

一种气体分析仪(1)包括适于插入室中的外壳。该外壳具有开放内部,该开放内部具有布置在其中的化学显色传感器组件(3),该化学显色传感器组件包括化学显色介质(35)、感测该化学显色介质的颜色的电子颜色传感器(34)以及处理器(32)。在操作中,将该外壳插入室内,使该化学显色介质(35)暴露于该室内的气体,该化学显色介质(35)根据该室内的该气体而改变颜色,并且该电子颜色传感器(34)检测该化学显色介质(35)的该颜色并基于检测到的颜色将信号传送到该处理器(32)。该处理器(32)可被配置为基于从该电子颜色传感器(34)接收的该信号来生成气体检测信息。与该处理器(32)通信的发射器(38)将该气体检测信息的至少一部分从该化学显色传感器组件(3)传送到远程监测装备(28)。

标签:
化学分析
其他 - 其他 来源:中冶有色网 2023-03-19
化学传感器、化学传感器模块、化学物检测装置和化学物检测方法

为了提供一种能够高精度和高灵敏度地检测化学物质的化学传感器、化学传感器模块、化学物检测装置和化学物检测方法。根据本发明实施例的化学传感器设置有基板、低折射率层、高折射率层和光检测部。所述低折射率层层叠在所述基板上且具有小于第一折射率的第二折射率,所述第一折射率是待检测物的折射率。所述高折射率层层叠在所述低折射率层上,具有小于所述第一折射率的第三折射率且包括用于保持所述待检测物的保持面。此外,照明光在所述高折射率层中传播。所述光检测部设置在所述基板上并且对借助于所述照明光从所述检测目标物生成的待检测光进行检测。

标签:
化学分析
其他 - 其他 来源:中冶有色网 2023-03-19
用电导或电化学活跃标签实时定量分析与监察核酸扩增的方法与系统

一利用电化学或电学技术来监测和检测核酸扩增产品,即在每一个聚合酶连锁反应循环之后,利用具有电化学活性或导电能力的指示器作材料。在核酸扩增过程中,对电极施加电压和量度电学信号,而该电极是适合于定量分析样本核酸产生出来的扩增产品。这技术适合于实时场合的应用,如在遥远的位置检测生物分析物。

标签:
化学分析
其他 - 其他 来源:中冶有色网 2023-03-19
生物样品内待分析物质的浓度检测方法及检测装置

本发明一实施例的利用电化学生物传感器的生物样本内待分析物质的浓度检测方法,将全血样品注入所述电化学生物传感器后,施加直流电压来获得感应电流值,接着在短时间内进一步施加阶梯化梯形扰动电压来获得整体感应电流,由这些感应电流值获得预定特征,并将所述一个以上的特征结合为函数导出校准方程,针对各种条件下的所述生物样品通过多元回归分析进行优化,从而最大限度地减小干扰物质导致的检测误差。这种进一步施加扰动电压方式可以保持已用生物传感装置、检测装置及其电路,检测方式的校准方程不变,而且能偶有效地使生物样品内的基质干扰效应,尤其是红细胞比容变化导致的不准确性最小化,从而提高检测准确性,只需对目前市场上供应的检测装置的检测程序进行简单升级,就能显著改善检测准确性。

标签:
化学分析
其他 - 其他 来源:中冶有色网 2023-03-19
用于通过气相色谱进行挥发性化学分析的高性能低于环境温度的多毛细管色谱柱预浓缩系统

本发明所公开的系统和方法改善了对化学样品的分析,以用于诸如通过气相色谱(GC)和气相色谱/质谱(GCMS)测量痕量挥发性化学物质。该系统可包括串联的两个捕集器,其中第一捕集器去除大部分不需要的水蒸气,而第二捕集器使用一系列吸附强度增加的毛细管色谱柱来预浓缩样品。可将样品从第二捕集器直接反冲至化学分析仪而不分裂,这可使灵敏度最大化。该系统改善了分析前样品中水蒸汽和固定气体的消除,从而导致检测限低至0.001PPBb。第二捕集器允许在注入到化学分析仪时更快地释放样品而无需附加的聚焦,并且当暴露于高浓度样品时可相对于填充捕集器更快地清洁样品。

标签:
化学分析
其他 - 其他 来源:中冶有色网 2023-03-19
上一页 239 240 241 242 243 ... 252 下一页
共252页    到第

中冶有色为您提供最新的其他有色金属分析检测技术理论与应用信息,涵盖发明专利、权利要求、说明书、技术领域、背景技术、实用新型内容及具体实施方式等有色技术内容。打造最具专业性的有色金属技术理论与应用平台!

全国热门有色金属设备推荐
展开更多 +
全国热门有色金属技术推荐
展开更多 +

 

江西省隆恩特环保设备有限公司
宣传

报名参会
更多+

报告下载

有色专家
更多+

南昌航空大学
副院长/教授
矿冶科技集团有限公司
党委书记 / 董事长
赣州江钨钨合金有限公司
副总经理
石家庄铁道大学
团委书记/副教授
有研资源环境技术研究院(北京)有限公司
副总经理/教授级高工
赤泥综合利用研究报告2025
推广

热门技术
更多+

推荐企业
更多+

福建省金龙稀土股份有限公司
宣传

发布

在线客服

公众号

电话

顶部
咨询电话:
010-88793500-807