青岛垚鑫智能科技有限公司
宣传

位置:中冶有色 >

有色技术频道 >

分类:
全部
矿山技术
冶金技术
材料制备及加工技术
环境保护技术
分析检测技术
 
全部
物理检测技术
化学分析技术
力学检测技术
无损检测技术
失效分析技术
环境检测技术
地区:
全部
北京
天津
上海
重庆
河北
山西
辽宁
吉林
黑龙江
江苏
浙江
安徽
福建
江西
山东
河南
湖北
湖南
广东
海南
四川
贵州
云南
陕西
甘肃
青海
内蒙
广西
西藏
宁夏
新疆
其他
其他
展开
 
全部
其他

其他有色金属分析检测技术理论与应用

免费发布技术信息>>
通过分析低频电磁信号来表征有生物学活性的生物化学元件的方法

本发明涉及一种通过分析低频电磁信号来表征有生物学活性的生物化学元件的方法,所述低频电磁信号是由被分析生物学材料样品制备的溶液发射的,所述方法特征在于包括预过滤阶段。

标签:
化学分析
其他 - 其他 来源:中冶有色网 2023-03-19
步骤简化、小样品、快速、易使用的生物/化学分析装置和方法

本发明涉及生物/化学采样,感测,检测和应用等领域。具体地讲,本发明涉及如何使取样/检测/测定能够使用简单,或快速获取结果,或高度敏感的,或易于使用,或使用微小的样品量(例如0.5微升或更小),或无需任何专业人员操作,或由移动电话读取结果,或成本低廉,或它们的组合。

标签:
化学分析
其他 - 其他 来源:中冶有色网 2023-03-19
移动化学分析
移动化学分析 776     
 0

在作为分析卡的一部分的微流体装置处接收待化学分析的目标样本,该微流体装置包括:至少一个被配置为接收目标样本的输入层;至少一个中间层;以及至少一个被配置为响应于一个或多个队所述目标样本的比色反应在一个或多个读出区域呈现一个或多个颜色属性的读出层。获得微流体装置的读出层的图像。获得对应于分析卡的校准文件。所述校准文件包括基于来自由校准卡处理的至少一个标准样本的至少一个已知化学属性的数据的至少一个颜色属性的校准模型。通过对在一个或多个读出区域中的一个或多个颜色属性与至少一个颜色属性的校准模型进行比较,对所获得的图像执行数据处理功能,以确定目标样本的至少一个化学属性。

标签:
化学分析
其他 - 其他 来源:中冶有色网 2023-03-19
使用电化学测定装置检测或者定量目标物质的方法、电化学测定装置以及电化学测定用电极板

本发明的目的是提供一种能够使用电化学测定装置,迅速地灵敏度良好地检测或者定量包含在试样液中的目标物质的浓度的电化学测定用电极板,具体而言,本发明是使用电化学测定用电极板(1)进行测定的方法,电化学测定用电极板(1)包括基板(31)、设置在上述基板的上表面上的上层(40)、设置在上述基板的下表面上的下层(11)、夹在上述基板的上表面与上述上层之间的第1电极体(32)、夹在上述基板的下表面与上述下层之间的第2电极体(12),上述上层具有多个上层贯通孔(41a和41b),上述第1电极体具有由经过上层贯通孔(41b),从上述上层的上表面露出的部分构成的多个第1电极(32d),上述基板多个基板贯通孔(33),上述第2电极体在上述第2电极体中有由经过上述上层贯通孔(41a)以及上述基板贯通孔,从上述上层的上表面露出的部分构成的多个第2电极(12d)。

标签:
化学分析
其他 - 其他 来源:中冶有色网 2023-03-19
用于化学反应和生化过程的建模,模拟和分析的方法和设备

一种用于根据试验平台上进行的现场试验产生的试验结果改变化学反应或生化过程模型的系统包括模拟引擎和分析环境。模拟引擎产生由化学反应或生化过程模型产生的预期结果。分析环境与模拟引擎通信,从试验平台采集数据并比较预期结果和从平台采集的数据。

标签:
化学分析
其他 - 其他 来源:中冶有色网 2023-03-19
对化学分析和合成进行微流体处理的装置和方法

一种微芯片实验室系统(10)和方法,提供对各种应用的流体处理,包括适合微芯片化学分离的试样注入。微芯片用标准光刻工艺和化学湿法蚀刻工艺制作,基片和盖板用直接粘结工艺连接。毛细管电泳和电色谱法在基片中形成的通道(26、28、30、32、34、36、38)中进行。由电动力把被分析物经交叉处(40)泵入使被分析物加载到通道的四通交叉处,随后由电势转换,迫使被分析物堵塞物进入分离通道(34)。

标签:
化学分析
其他 - 其他 来源:中冶有色网 2023-03-19
自动化学成分分析仪
自动化学成分分析仪 931     
 0

一种自动化学分析仪,它有很高的生产率和可靠性。该分析仪使用悬浮体散射和浊度分析器(68)来分析一个很大的医学试验室内所生产的液体试样中各种各样的参数。这种仪器采用独特的取样器(84)和搅拌棒(86)组件(80),并且利用齿条—齿轮总成(106)将其安装成互相成一个角度(α),结果,取样器(84)的下端与搅拌棒(86)的下端互相非常接近。这个特点使得这种仪器能使用非常小的反应杯(54)。这种分析仪器还有一个机上的控制试样(78),所以这种仪器能够设计程序,在正常运转的过程中周期地校验它的分析仪器。这种仪器还包括一台带有保持夹子(39)的试样圆盘传送器(24),该保持夹子用于夹持试样容器支架(30),而该支架能夹持一张含有关于在该仪器上所使用的试剂的信息的条形码卡片(47)。一个位于试样圆盘传送器附近的条形码读出器(47)把带条形码的试剂的信息读入上述控制器。另外还设有小杯洗涤台(130)和废液捕获组件(138)。

标签:
化学分析
其他 - 其他 来源:中冶有色网 2023-03-19
利用剩磁测量进行分析物检测的方法和复合物及其应用

本发明涉及借助于结合剩磁测量对液相和固相中的分析物进行定量检测的方法,适用于此目的的复合物,以及在分析化学中的应用。

标签:
化学分析
其他 - 其他 来源:中冶有色网 2023-03-19
用于生物和/或化学分析的方法及设备

本发明涉及一种用于执行化学和/或生物分析的方法,包含以下连续步骤:a)提供含有微通道(20)的一种分析设备(19),所述微通道(20)具有一个入口(28)和一个出口(30),所述分析设备进一步包含限制装置(34),所述限制装置(34)被设计为在限制被引入微通道(20)的微粒子(10)向出口(30)移动的同时允许液体流经限制装置(34),b)将微粒子(10)经由入口(28)引入到微通道(20)中,c)使用限制装置(34)限制所述微粒子(10)在微通道(20)内向出口方向的移动,d)使液体样品流过微通道(20),e)对每个微粒子(10)执行生物和/或化学读取,该方法进一步包含步骤:f)使微粒子(101、102、103、104)在微通道内移动,和g)依次地重复步骤d)和e)。

标签:
化学分析
其他 - 其他 来源:中冶有色网 2023-03-19
具有改进的泵座架的湿法化学分析器

本实用新型提供了一种具有改进的泵座架的湿法化学分析器。湿法化学分析器包括外壳和至少一个泵,该至少一个泵被设置成用于泵送与在湿法化学分析器中发生的化学反应相关的流体。泵座架被设置在外壳中,并且具有安装至少一个泵的第一部分和可操作地联接至外壳的第二部分。第一部分相对于第二部分可移动。

标签:
化学分析
其他 - 其他 来源:中冶有色网 2023-03-19
具有改善的可操作性的生物化学分析盒

本发明涉及一种具有改善的可操作性的生物化学分析盒,更具体地,涉及一种包括插入式样品盒和能够容纳所述插入式盒的反应盒的生物化学分析盒。根据本发明的分析盒,在将样品盒插入反应盒中时将用于储存反应溶液的腔室朝向盖带破坏部移动,从而自动供给储存在腔室中的反应溶液。根据本发明的具有改善的可操作性的生物化学分析盒,可以简单地通过将样品盒插入反应盒中来诱发样品和反应溶液之间的混合和反应,因而可以使分析过程中观察者的介入最小化,因此可以改善便利性和可操作性。

标签:
化学分析
其他 - 其他 来源:中冶有色网 2023-03-19
移动采集化学分析用大气样品的装置

本发明提供采集和存储随后化学分析用大气样品的便携式装置和相关方法。根据一种实施方案的样品盒包括不使用时自动关闭的自密封输入和输出端口,以及位于输入和输出端口之间用于捕集大气样品的样品保存部分。样品盒还可包括存储装置以用于记录与样品有关的数据。另一实施方案提供用于可拆卸地固定自密封样品盒的便携式采样器。便携式采样装置也可以和分析仪器一起使用。该分析仪器可分析样品并读取记录在样品盒的存储装置中的数据。

标签:
化学分析
其他 - 其他 来源:中冶有色网 2023-03-19
生物化学-凝固复合型分析装置

应用于生物化学或血液凝固分析中的生物化学‑凝固分析装置中,即使使用者新将反应容器架设在反应容器架设架上,在没有设置自动识别所架设的反应容器的传感器的情况下,自动分析装置存在如下课题:不自动更新反应容器数量,在分析中途反应容器消失而无法进行分析,或者从位置与使用者的意图不同的反应容器开始使用等。本发明提供一种如下那样提高了装置运用的便利性的生物化学‑凝固分析装置,其通过确认输送反应容器的机构能否把持反应容器来确认反应容器的有无,即使在使用者忘记了重置的情况下,也会对使用者警告忘记重置、或者根据条件自动进行重置。

标签:
化学分析
其他 - 其他 来源:中冶有色网 2023-03-19
使用光学和电学测量方法检测分析物

本发明提供了一种用于检测分析物的方法,其中,所述分析物由与该分析物有关的一个或多个标记物进行标记,所述方法包括:A)在经标记的所述分析物上进行光学检测方法以便从所述一个或多个标记物获得光学数据;B)在经标记的所述分析物上进行电学检测方法以便从所述一个或多个标记物获得电学数据;和C)由所述光学数据和电学数据确定所述分析物的身份和/或数量。本发明还提供了一种用于检测多个分析物的方法,其中,各个不同的所述分析物由与该分析物有关的一个或多个不同标记物进行标记,所述方法包括:A)在多个经标记的分析物上进行光学检测方法以便从所述标记物获得光学数据;B)在所述多个经标记的分析物上进行电化学检测方法以便从所述标记物获得电学数据;和C)由所述光学数据和电学数据确定所述多个分析物的身份和/或数量。

标签:
化学分析
其他 - 其他 来源:中冶有色网 2023-03-19
使用X射线微量分析来确定复杂结构的化学成分的方法

一种用于使用微X射线荧光光谱法识别印刷线路组件中有害物质的方法,该印刷线路组件具有多个分立部件(图1)。使用微X射线荧光光谱法(Μ-XRF)和/或X射线吸收精细结构(XAFS)光谱法作为检测分析仪,用于识别在电子设备中的有关材料。通过响应于参考数据库中的信息将设备或组件在X、Y和Z的方向上移动到探针下(130),来确定在该组件上选定位置的元素组成(125),以便分析所检验的设备或组件,该探针被设置在距用于分析的每个选定位置的最佳分析距离处(120)。然后,使每个选定位置处的所确定元素组成与参考数据库互相关,并且将所检测到的元素指定到该组件中的各种部件。

标签:
化学分析
其他 - 其他 来源:中冶有色网 2023-03-19
湿法化学分析器墙壁座架

本实用新型提供了一种湿法化学分析器墙壁座架。该湿法化学分析器墙壁座架包括分析器滑架和墙壁座架。分析器滑架被构造成用于安装至湿法化学分析器。墙壁座架被构造成用于安装至墙壁。分析器滑架可移动地安装至墙壁座架,使得湿法化学分析器具有接近墙壁的第一位置和与墙壁隔开的第二位置。

标签:
化学分析
其他 - 其他 来源:中冶有色网 2023-03-19
用于分析蛋白修饰的化学上官能化的阵列

用于捕获和分析蛋白修饰的选定集合的方法和化学物质。翻译后修饰改变蛋白中的官能团。得到的经修饰的蛋白质组可用于生物标志物发现、临床诊断和蛋白动力学。用于定量经修饰的蛋白的当前免疫测定受限于它们对抗体的依赖性,它们经常对翻译后修饰不具有特异性。本发明利用具有结合部分的试剂和平台,所述结合部分能够选择性地结合经修饰的蛋白。

标签:
化学分析
其他 - 其他 来源:中冶有色网 2023-03-19
检测样品中多种指标的电化学测试条

本实用新型提供了一种检测样品中多种指标的电化学测试条,包括第一生物传感器和第二生物传感器,所述第一生物传感器和第二生物传感器通过绝缘基板位于电化学测试条的正反两面,第一生物传感器上的第一通道形成层上设置有缺口,所述缺口与第一通道形成区液体相通,第一上盖层与第一通道形成层的缺口相对应处设置有缺口,第二生物传感器上的第二通道形成层上设置有缺口,所述缺口与第二通道形成区液体相通,第二上盖层与第二通道形成层的缺口相对应处设置有缺口;第一通道形成层上的缺口、第一上盖层上的缺口、第二通道形成层上设置有缺口和第二上盖上的缺口共同组成加样口。

标签:
化学分析
其他 - 其他 来源:中冶有色网 2023-03-19
生化学分析用单元的制造方法

一种生化学分析用单元的制造方法,首先制造长条带状的降低透光率的基板,并在该基板上以高密度形成孔。把基板做成辊(11)状。把脂肪族聚酰胺溶解于溶液,制造长条带状的多孔膜。把该多孔膜做成辊(12)状。一边输送辊(11)和辊(12)一边由辊(22、23)连续压制。可以把多孔膜加压填充到基板的孔中。把该基板卷成填充辊(13)。通过采用长条带状的基板可以连续制造在多孔中一次性地填充多孔膜的生化学分析用单元。

标签:
化学分析
其他 - 其他 来源:中冶有色网 2023-03-19
测定血样中分析物的存在和/或含量的方法以及检测元件

一种测定全血样品中分析物的存在和/或含量的方法,包括用非裂解性高渗盐组合物处理样品,通过减小血红细胞的尺寸来降低血细胞比容。在光学检测系统中,较小的血红细胞产生较大的光散射,从而可在双波长检测系统中使用更加准确的校准。在电化学检测系统中,与在光学检测系统一样,较小的血红细胞为样品中分析物和试剂的扩散提供了较小的阻碍,从而有利于反应。

标签:
化学分析
其他 - 其他 来源:中冶有色网 2023-03-19
用于近红外光谱分析的化学计量

本发明涉及用于鉴定和选择更准确的化学计量模型以经由近红外光谱测量学来分析特定植物样品的系统和方法。本公开还涉及使用这类系统和方法来鉴定植物和植物样品中感兴趣的特征和性状,例如从而协助选择性育种、质量控制和/或存量控制。

标签:
化学分析
其他 - 其他 来源:中冶有色网 2023-03-19
用于检测分析物的对称测试元件

公开了一种用于检测体液中的至少一种分析物的测试元件(114),具体地用于检测体液中的葡萄糖。测试元件(114)包括至少一个条状载体元件(126)和具有用于检测分析物的至少一种测试化学成分(124)的至少一个测试场(122)。测试元件(114)具有对称形状,使得可以至少两个不同取向将测试元件(114)插入测试设备(112)的测试元件容器(118)中。测试设备(112)具有检测设备(130)。在不同取向上,测试场(122)的测试化学成分(124)的至少一种分析物引发变化是可检测的。

标签:
化学分析
其他 - 其他 来源:中冶有色网 2023-03-19
用于化学分析的移动装置和相关方法

本公开涉及用于分析化学组合物的移动装置,以及分析化学组合物的相关方法。本文中公开的实施例的益处可包括便携且经济的装置,其提供用于发光化学传感器阵列的简单和快速的分析。本文中公开的方法的益处可包括使用所实施的装置来提供广泛范围的化学组合物的组分的高度准确的定性和定量分析。本文中公开的方法的益处可包括化学组合物中存在的痕量化学品的快速、简单和准确分析。

标签:
化学分析
其他 - 其他 来源:中冶有色网 2023-03-19
用于多指标参数检测的电化学测试条

本实用新型提供了一种用于多指标参数检测的电化学测试条,包括设有绝缘基板、第一电极系统、第一通道形成层、第一上盖层的第一生物传感器,和设有绝缘基板,第二电极系统、第二通道形成层、第二上盖的第二生物传感器,所述第一生物传感器和第二生物传感器分别位于电化学测试条的正反两面,所述电化学测试条的加样口分别与第一生物传感器的第一通道形成区和第二生物传感器的第二通道形成区连通。本实用新型通过利用一个电化学测试条正反两面可以同时测试生物样本中的至少两种指标。

标签:
化学分析
其他 - 其他 来源:中冶有色网 2023-03-19
涉及基于频率分析监视的化学机械抛光处理

本发明提供一种监视化学机械抛光处理的方法,包含以下步骤:自化学机械抛光处理接收实时数据信号,其中所述实时数据信号与摩擦力、力矩、马达电流有关;将该数据信号转换成一不同频率的信号的功率频谱,其中各频率总和等于该原始数据信号;识别并监视该功率频谱的对应于所述化学机械抛光处理的信号成分;检测该信号成分的振幅或频率的变化;及改变所述化学机械抛光处理以响应所检测的变化。本发明也提供一种完成上述方法的装置。

标签:
化学分析
其他 - 其他 来源:中冶有色网 2023-03-19
监测对液体样品中的分析物的检测操作的方法

本发明涉及一种使用测量池(108)来监测对液体样品中的分析物的检测操作的方法,该测量池(108)包括:工作电极(120),以用于在液体样品中激发电化学发光;光学检测器(126),以用于检测激发的电化学发光,该激发和检测在电化学发光测量周期中实行,该测量周期包括使用支持液、经由传输路径(114)来将液体样品传输到工作电极(120),该方法包括:‑在部分测量周期期间将光源(204)的光耦合到传输路径(114)中,传输路径(114)在光源(204)与光学检测器(126)之间形成光导,‑由光学检测器(126)检测耦合光,‑关于传输路径(114)中的气泡(214)的存在来分析检测到的光,‑如果分析的结果关于传输路径(114)中气泡(214)的存在而偏离目标状态,则提供测量状态。

标签:
化学分析
其他 - 其他 来源:中冶有色网 2023-03-19
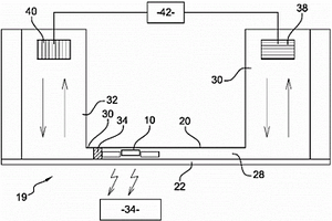
化学分析设备的取样装置

一种化学分析设备的取样装置包含一附着在隔膜载体上的隔膜,该隔膜载体具有一通向载体的朝隔膜一侧的进入通道和一从它出来的流出通道。此通道传递吸收有渗过隔膜的离子,分子和粒子的待测介质。为了提供反应时间短和能利用少量介质进行测量及易于制做的取样装置,将开向隔膜的进入通道口和流出通道口借助至少一条凹槽互连起来。凹槽是做在连接于隔膜和隔膜载体之间的表面层上,或制作在隔膜载体的表面上。由于隔膜粘结在表面层或粘结在载体贴隔膜的表面上,因而凹槽的开口侧被隔膜所密封。

标签:
化学分析
其他 - 其他 来源:中冶有色网 2023-03-19
油回收生产流体中化学添加剂的痕量的分析方法

公开一种分析和/或监测在油回收过程,具体地说来自重油和/或油砂的生产流体中的化学添加剂的痕量的方法。所述方法包含一个提取步骤以及多维气相色谱法分析。

标签:
化学分析
其他 - 其他 来源:中冶有色网 2023-03-19
分离、鉴定和/或分析全血样品中的白细胞种群的方法和试剂系统

本发明的溶解剂包括一种水溶性化合物,此种化合物在水溶液中可至少部分离解并释放出一个质子和一个平衡离子,从而将该血样酸化至ph值约为2.6至4.0。本试剂系统的优点和独特性是意想不到的速度(在室温下通常低于10秒)和使白细胞种群(特别是粒性白细胞种群)进一步分离的能力。在基质溶解后,加入一种抑制剂来阻滞溶解剂系统的活性,从而抑制对白细胞种群的任何进一步的引人注目的改变。

标签:
化学分析
其他 - 其他 来源:中冶有色网 2023-03-19
智能卡化学制品、生物制品、放射线及爆炸物检测器

基于单独操作智能卡或其它介质,智能卡或其它介质检测化学、生物、放射性和/或爆炸性(CBRE)化合物或目标其它项目的存在。存储该暴露,从而当对阅读器提供该卡时,将检测数据传送到阅读器以由系统进行适当处理。在一个实施例中,本发明提供检测方法,该方法在没有外部能量的情况下捕获检测设备的持有者已经于目标项目接触的事实。然后,当在持有者进行活动的一般过程中对阅读器提供该设备时,该检测卡能够将该暴露对适合的负责人进行报警。

标签:
化学分析
其他 - 其他 来源:中冶有色网 2023-03-19
上一页 237 238 239 240 241 ... 252 下一页
共252页    到第

中冶有色为您提供最新的其他有色金属分析检测技术理论与应用信息,涵盖发明专利、权利要求、说明书、技术领域、背景技术、实用新型内容及具体实施方式等有色技术内容。打造最具专业性的有色金属技术理论与应用平台!

全国热门有色金属设备推荐
展开更多 +
全国热门有色金属技术推荐
展开更多 +

 

江西省隆恩特环保设备有限公司
宣传

报名参会
更多+

报告下载

有色专家
更多+

矿冶科技集团有限公司
党委书记 / 董事长
有研科技集团有限公司
中国工程院 院士
江西理工大学
副校长/教授
北京科技大学
副院长/教授
中南大学
粉末冶金国家重点实验室 主任
赤泥综合利用研究报告2025
推广

热门技术
更多+

推荐企业
更多+

福建省金龙稀土股份有限公司
宣传

发布

在线客服

公众号

电话

顶部
咨询电话:
010-88793500-807