青岛垚鑫智能科技有限公司
宣传

位置:中冶有色 >

有色技术频道 >

分类:
全部
矿山技术
冶金技术
材料制备及加工技术
环境保护技术
分析检测技术
 
全部
物理检测技术
化学分析技术
力学检测技术
无损检测技术
失效分析技术
环境检测技术
地区:
全部
北京
天津
上海
重庆
河北
山西
辽宁
吉林
黑龙江
江苏
浙江
安徽
福建
江西
山东
河南
湖北
湖南
广东
海南
四川
贵州
云南
陕西
甘肃
青海
内蒙
广西
西藏
宁夏
新疆
其他
其他
展开
 
全部
其他

其他有色金属分析检测技术理论与应用

免费发布技术信息>>
用于检测样品中的分析物的检测方法

本发明公开了一种用于检测至少一个样品(114)中的至少一种分析物的方法、计算机程序和设备。所述方法包括:a)提供至少一个移动设备(112),所述移动设备具有至少一个相机(118)和至少一个照明源(120);b)提供至少一个测试条(116),所述测试条具有至少一个测试区(124),所述测试区包含至少一种测试化学物(126),所述测试化学物用于在存在所述分析物的情况下进行光学检测反应;c)将所述至少一个样品(114)施加至所述测试区(124);d)捕获所述测试条(116)的至少一个区域(144)的多个图像(142),所述区域(144)包括所述样品(114)所施加至的所述测试区(124)的至少一部分,所述捕获包括:d1)在将所述样品(114)施加至所述测试区(124)之前,在所述照明源(120)关闭的情况下捕获至少一个图像(142);d2)在将所述样品(114)施加至所述测试区(124)之前,在所述照明源(120)开启的情况下捕获至少一个图像(142);以及d3)在将所述样品(114)施加至所述测试区(124)之后,捕获至少一个图像(142);e)通过使用在步骤d)中捕获的所述图像(142),确定所述样品(114)中的分析物的浓度。

标签:
化学分析
其他 - 其他 来源:中冶有色网 2023-03-19
使用气相臭氧化学发光分析砷浓度的方法和装置

本发明公开了实际连续的注射/区段式流体基分析装置,其测量水 中的砷,能够区分无机的As(III)和As(V)。检测原则基于通过在受控制 的pH条件下的硼氢化物还原从反应室(10)内的样品生成AsH3,喷射该 反应室以驱动AsH3到位于光电倍增管(50)上面的小型反射单元(70),使 得其与由周围空气产生的臭氧反应,并且测量得到的化学发光强度结 果。胂的产生和从溶液中的除去导致与样品基质分离,避免了在一些 溶液基分析技术中遇到的潜在危险。区别测定As(III)和As(V)是基于这 些物质向AsH3的还原性的pH依赖性的不同。在pH<1下,As(III)和 As(V)在NaBH4的存在下被定量转化成AsH3。在4-5的pH下,置于 As(III)转变成胂。在该形式下,对于3ml样品,在pH≤1下的检测极 限(S/N=3)是0.5μg/L As,在4-5的pH下的检测极限(S/N=3)是 0.09μg/L As(III)。该分析装置是固有的自动化装置并且每次检测要求4 分钟。在另外的实施方案中,使用在Ca阴极的电化学还原代替使用 NaBH4。

标签:
化学分析
其他 - 其他 来源:中冶有色网 2023-03-19
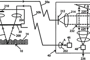
光化学分析仪和液体深度传感器

一种光化学分析仪,包括:第一数量的辐射的源(46);光学模块,配置为引导第一数量的辐射,使得所述辐射入射到目标位置处的目标(14)上或穿过目标位置处的目标(14),所述光学模块还配置为从该目标接收第二数量的拉曼散射辐射并将第二数量的辐射(206)引导至空间干涉傅里叶变换(SIFT)模块,所述SIFT模块包括第一色散元件(216)和第二色散元件(218),所述SIFT模块配置为由第一色散元件接收第二数量的辐射的一部分,并使该部分辐射与由第二色散元件接收到的第二数量的辐射的一部分相互干涉以便形成干涉图案;所述SIFT模块还包括检测器(48),配置为捕获干涉图案的至少一部分的图像并基于捕获到的图像产生检测器信号(226);以及处理器,配置为从检测器接收检测器信号并对检测器信号执行傅里叶变换,从而获得第二数量的辐射的频谱。

标签:
化学分析
其他 - 其他 来源:中冶有色网 2023-03-19
检测被测对象中特定化学物质的方法及系统

本发明属于痕量化学物质检测领域,涉及检测被测对象中是否含有特定化学物质的方法及系统。本发明将被测对象的样品输送至一含有纳米级表面结构的探测器,使样品与纳米级表面结构相接触;用一激光束照射样品和纳米级表面结构;样品和纳米级表面结构散射所述激光束,产生一散射光;获得散射光的光谱;使用一光谱分析仪分析光谱信号,以检测被测对象中是否含有特定化学物质。本发明提供了简单和非侵入的检测方法,本发明的系统便于携带和易于操作。可用于反恐、邢侦、医学诊断、疾病预防、工业过程监测、环境清理和监测、检测假冒商品、产品鉴定、酒中甲醇和乙醇含量的检测、食品和药物质量控制等领域。

标签:
化学分析
其他 - 其他 来源:中冶有色网 2023-03-19
校正化学分析的方法
校正化学分析的方法 791     
 0

公开了内部和外部光标定化学分析如ATP-生物发光分析的方法。分析方案中使用了预定量的待测分析物的光敏衍生物,当其暴露于预定时间和强度的可见光闪光时释放出已知量的游离分析物。通过监测分析的检测参数对已知量分析物释放的响应,可以计算标准值,该值可以用来直接测定最初存在于分析样品中的分析物的量,或者产生光标定系列,分析样品的结果可与之相比较。

标签:
化学分析
其他 - 其他 来源:中冶有色网 2023-03-19
电化学生物传感器分析系统

电化学生物传感器分析系统,用于分析样本液,尤其是体液。它包括用于一次性使用设置的生物传感器(2),具有由至少两个电极(17,18)构成的电极结构(16)、覆盖电极结构(16)且适于吸收样本液的检验区和其上限定的样本施加面,评估装置具有用于确定期望的分析数据的评估单元。电极结构在由样本液可润湿的有效电极结构表面(23)上相应于具有限定的电导率和层厚度的液体层的电阻测量而均匀分布。检验区的构成能够使样本液滴至少通过样本施加面的部分面积扩散并润湿有效电极结构表面(23)的相应部分面积。评估装置具有交流电阻测量仪,借助表面补偿测量来测量电极结构(16)的两个电极(17,18)之间的交流电阻测量值,测量的交流电阻测量值在确定分析数据时用作由样本液润湿的有效电极结构表面(23)的部分面积的度量。

标签:
化学分析
其他 - 其他 来源:中冶有色网 2023-03-19
电化学分析仪
电化学分析仪 802     
 0

本实用新型提供一种电化学分析仪,包括:处理器,设置在所述电化学分析仪中;控制器,连接所述处理器,所述处理器传送控制信号至所述控制器;供便携式芯片插入的芯片接口,所述芯片接口连接所述处理器,所述便携式芯片包括提供对应电化学分析流程的所述控制信号的程序;用于接收待测物并执行所述电化学分析流程的检测器,所述检测器连接所述控制器;存储器,连接所述处理器,所述存储器储存所述检测器的检测结果;以及显示器,连接所述检测器和所述存储器,所述显示器显示所述检测结果。

标签:
化学分析
其他 - 其他 来源:中冶有色网 2023-03-19
基于表面增强拉曼散射分析的检测装置及检测套件

本实用新型涉及一种基于表面增强拉曼散射分析的检测装置,其包括:可闭合的容器,待检测的化学试样能被加入该容器内;混合区域,其构造成使得化学试样能在混合区域中与胶体混合;用于保持聚集料的区域,其布置成与混合区域密封地分隔开且构造成能在将对待检测的化学试样进行检测时相对于混合区域不再密封,以使得处于用于保持聚集料的区域内的聚集料能进入混合区域并与已混合的所述待检测的化学试样和胶体反应,从而使化学试样能进行表面增强拉曼散射分析。本实用新型还涉及一种基于表面增强拉曼散射分析的检测套件。借助检测装置及套件,可加长表面增强的有效时间、便于就地检测、且操作起来容易。

标签:
化学分析
其他 - 其他 来源:中冶有色网 2023-03-19
用于生物或化学分析的样品的成像方法

一种进行生物或化学测定的方法,所述方法包括:(a)提供具有样品区域的射流器件和具有多个不同的用于进行一种或多种测定的反应成分的反应成分存储单元,所述反应成分包括样品生成成分和样品分析成分;(b)根据预定方案使样品生成成分流入,以在所述样品区域生成样品;(c)选择性地控制所述样品区域的反应条件,以便于生成所述样品;(d)使样品分析成分流入所述样品区域;(e)检测从所述样品区域发出的光信号,所述光信号指示所述样品分析成分与所述样品之间的相关事件;其中(b)-(e)以自动方式进行。

标签:
化学分析
其他 - 其他 来源:中冶有色网 2023-03-19
在线湿法化学分析仪
在线湿法化学分析仪 1129     
 0

提供了一种湿法化学分析仪(100)。湿法化学分析仪(100)包括反应室(102),所述反应室配置为接收来自的样品入口(112)的反应物溶液并促进过程反应。湿法化学分析仪(100)还包括检测室(118),所述检测室配置为接收来自反应室(102)的一部分反应混合物并测量反应混合物内化学品的浓度。反应室(102)和检测室(118)是可流体连接的,以使一部分反应混合物可以被引导流入检测室(118)以预处理检测室(118)内部的表面。

标签:
化学分析
其他 - 其他 来源:中冶有色网 2023-03-19
用于伏安电化学分析的方法和用于其的实施装置

本发明涉及一种用于液体溶液的伏安电化学分析的方法,用来在所述溶液中检测和/或分析至少一个化学物种。本发明的特征在于,该方法包括如下步骤:使所述溶液的样本与单个分析支撑件(10)相接触,该支撑件(10)具有至少两个工作电极(12),每个属于分离的电化学分析单元,每个分析单元还包括反电极(13)和基准电极;通过把独立和不同电位施加到工作电极(12)的每一个上,在所述分析单元的每一个中进行所述样本的单次和不同测量;基于所述测量,产生所述样本的至少一个伏安图;由所述伏安图推导出与在所述样本中的所述至少一个化学物种的检测和/或分析相关的数据。

标签:
化学分析
其他 - 其他 来源:中冶有色网 2023-03-19
向化学分析器中引入分析物

本发明提供一种化学预浓缩器(100),其包括导管(200),所述导管界定两个末端(108A,108B)之间的流动路径(106)并且具有布置在所述导管内的加热元件(102),以使得所述加热元件具有直接沉积在所述加热元件的导电表面的至少一部分上的至少一种吸附剂材料(115)。一些此类加热元件(102)呈导电条带形式,所述条带界定通过所述条带的多个孔(112,710)和沿着所述流动路径(106)隔开的一系列波动(114)。

标签:
化学分析
其他 - 其他 来源:中冶有色网 2023-03-19
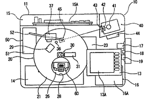
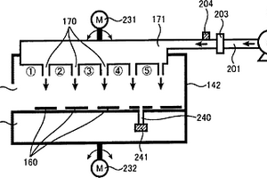
化学分析装置
化学分析装置 913     
 0

本发明的化学分析装置是对成为搅拌对象的容器中的反应液,从设置在容器上侧的空气喷出口喷出空气而搅拌反应液的自动化学分析装置,通过确认向反应容器喷出的空气的状态,从而提高可靠性。另外,对反应容器,不带来将涂布的试剂等剥离之类的损害,可以充分地清洗反应区域。在反应容器设置台(反应盘)161上设置细孔240和与细孔连接的压力检测装置241,在搅拌动作前后,一边喷出空气一边移动喷出口(喷嘴)170,通过将来自压力检测装置的输出值与预先测定的正常值进行比较,从而保障搅拌装置正常。另外,在将喷出管101和吸取管102插入反应容器140的侧壁附近的容器开口部两端的状态下,不断地喷出、吸取清洗液来清洗容器底面的反应区域150。

标签:
化学分析
其他 - 其他 来源:中冶有色网 2023-03-19
用于样品定量化学分析的具有对仪器响应的校准的特别是医学领域的系统及其对应方法

用于样品(A,A-1,A-2,...)的定量化学分析的特别地但不仅在医学领域的分析系统(10,PROSAD),包含设计来检测各待分析样品(A,A1)中存在的目标分析物([x],[y],[z])的量的检测仪器或设备(30),其进而包括色谱系统(31)、离子源(32)及质谱仪(33);数据处理系统(40,42,43,44),被设计成处理检测设备(30)检测到的被分析样品中目标分析物的定量数据;以及创新数据库(41),其包含用来校准及修正用于分析样品的特定检测设备(30)的仪器响应的修正及控制数据和系数(K,C,K1),其中所述修正及控制数据和系数是该数据库在实际样品分析前的初始阶段(51,52)确定及获取的,其中通过通用稀释溶液制备待分析样品以最小化对应的基体效应,且其中通过在考虑包含在数据库中的修正及控制数据和系数的同时处理检测设备(即质谱仪)检测到的定量数据(Q),该数据处理系统确定被分析样品中存在的目标分析物的定量数据。与目前使用的分析系统相比,根据本发明的用于样品的定量分析的系统展现了重大优势,即不需要为了在多个样品的分析期间较准检测设备,而对于每次分析持续且昂贵地使用待定量的目标分析物的商业标准品。

标签:
化学分析
其他 - 其他 来源:中冶有色网 2023-03-19
生化学分析装置
生化学分析装置 982     
 0

本发明提供可以使用微芯片以寻求分析装置的基线稳定化、且能够以高精度进行分析的生化学分析装置。本发明的生化学分析装置具备带有保持微芯片的芯片保持部且被旋转驱动的离心转子、光源部、以及受光部。作为微芯片,使用下述微芯片:利用通过离心转子的旋转而产生的离心力,在微芯片本身中进行包括分离处理、称量处理、混合反应处理和将检查液输送到测定池中的处理的前处理动作。将来自于光源部的光照射到微芯片的测定池,通过受光部接受透过了测定池的光,在离心转子的旋转停止的状态下进行对测定池内检查液的光吸收量加以测定以分析检查液的测光动作。

标签:
化学分析
其他 - 其他 来源:中冶有色网 2023-03-19
应用非粒子化学发光试剂的免疫分析

本发明公开了用于进行分析的方法和试剂。本发明方法和试剂的实施方案涉及用于测定怀疑含有分析物的样品中分析物的存在和/或数量的化学发光试剂。该试剂是非粒子的,并且包含对于分析物的结合配偶体和含有烯烃化合物和金属螯合物的化学发光组合物。在分析的实施方案中,提供了包含怀疑含有分析物的样品、如上所述的化学发光试剂以及能够产生单线态氧的敏化剂试剂的联合物。对该联合物实施用于使分析物与对于分析物的结合配偶体结合的条件。敏化剂被激活并且化学发光组合物产生的荧光的数量被检测,其中所述发光的数量与样品中分析物的数量有关。

标签:
化学分析
其他 - 其他 来源:中冶有色网 2023-03-19
化学分析设备
化学分析设备 922     
 0

本发明涉及化学分析设备,包括液体流动系组件,以产生以低液体流率从样本入口引导通过成毛细管路布置的设备的流动液体样本流,样本包含待测分析物,该设备还包括位于样本入口下游的试剂配量和注射机构,以将一系列化学试剂引入样本流,该设备还包括反应器机构,试剂在其中与分析物反应以在经完全反应的样本中产生有色化学指示剂,该设备还包括检测机构以测量化学指示剂,所述检测机构位于反应器机构下游且构造成接收来自反应器机构的具有有色指示剂的经完全反应的样本。流动系组件构造成在不对指示剂进行测量时不时地、间歇地使经完全反应的样本穿过检测机构,而在对包含在检测机构内的样本中的化学指示剂进行测量时不时地使该样本绕过检测机构。

标签:
化学分析
其他 - 其他 来源:中冶有色网 2023-03-19
组合的刺血针和电化学分析物化验设备

一种用于检测和定量分析血液或间隙液体中可用电化学法检测的分析物质如葡萄糖的设备,包括一个仪表装置、一个刺血针和一个电化学传感器。在这些部件中,该仪表最好是可以重新使用的,而该刺血针和电化学传感器最好包括在组件内而预定一次性使用。该仪表装置有一个外壳、一个连接器和一个显示器,在该外壳中一个刺血针与一机构接合以移动该刺血针,该连接器安置在该外壳内而用于接合一该分析物质专用的电化学传感器并传送一个指示分析物质量的信号,该显示器与该连接器在操作上联接而向使用人显示该分析物质量。该电化学传感器适合于检测一种特定的分析物质。

标签:
化学分析
其他 - 其他 来源:中冶有色网 2023-03-19
用于分级和富集化学分析中分析物的方法和设备

一种多槽盒式结构以及一种仪器,所述仪器能容置所述盒并且之后能预富集和纯化来自容置于盒槽内的生物样品(例如人类血清)的分析物,以便随后由基质辅助激光解吸电离质谱(MALDI MS)进行分析。

标签:
化学分析
其他 - 其他 来源:中冶有色网 2023-03-19
用于包括基质辅助激光解吸电离质谱的化学分析中的改进的分析物的富集和分级方法及器件

本发明提供了从生物样品例如人血清中预富集和纯化要通过基质辅助激光解吸电离质谱法(MALDI MS)分析的分析物的器件及其使用方法。

标签:
化学分析
其他 - 其他 来源:中冶有色网 2023-03-19
用于样品的分析检查的测试元件分析系统

公开了用于样品的分析检查的测试元件分析系统(110)以及用于样品的分析检查的方法。测试元件分析系统(110)包括测量装置(112),测量装置(112)包括用于至少部分地接收至少一个测试元件(116)的测试元件接受器(114),其中,测试元件接受器(114)包括至少一个第一部分(118)和至少一个第二部分(120),其中,第一部分(118)包括用于置放测试元件(116)的至少一个支撑表面(144),其中,第二部分(120)包括至少一个光学检测器(128),所述光学检测器用于检测在测试元件(116)中包含的至少一种测试化学物质(154)的至少一种检测反应,其中,第二部分(120)可相对于第一部分(118)移动,其中,测试元件接受器(114)配置成将第二部分(120)定位在至少一个位置中,使得测试元件(116)可以插入到测试元件接受器(114)中,且随后将第二部分(120)定位在关闭位置(182)中,使得第二部分(120)的至少一个邻接表面(184)静止在测试元件(116)上。

标签:
化学分析
其他 - 其他 来源:中冶有色网 2023-03-19
借助分析物/聚合物活化剂双层排列检测分析物的方法

本发明涉及分析传感器领域。具体而言,本发明涉及借助电极排列检测样品中分析物的方法,所述电极排列的特征在于在电极表面形成分析物和增加所述分析物导电性的试剂的导电双层。本发明还涉及用于进行这种方法的电极排列,以及这种电极排列作为生物传感器的用途。还公开了适合用于分析物的电化学检测的新类型的氧化还原聚合物。另外也公开了制造该类型聚合物的方法。

标签:
化学分析
其他 - 其他 来源:中冶有色网 2023-03-19
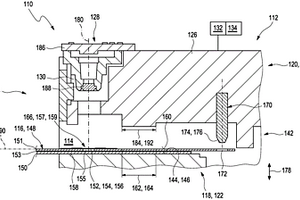
用于检测样品中至少一种分析物的分析仪器

本发明涉及分析仪器(130),其用于检测样品(126)中至少一种分析物,尤其用于检测血糖,-其中装备分析仪器(130)来实施至少一种分析物测量,其中在所述分析物测量中,记录测试元件(110)的至少一种测试化学品(119)由于分析物的存在而改变的至少一种特性,特别是电和/或光学特性,和-其中还装备分析仪器(130)来进行对测试化学品(119)的至少一种质量测量,其中在所述质量测量中,记录测试化学品(119)的至少一种自发光,并且从该自发光中推断测试化学品(119)的质量,尤其是退化。

标签:
化学分析
其他 - 其他 来源:中冶有色网 2023-03-19
用于分析单元的机载对照物

本发明涉及用于分析单元,特别是试验条的所谓机载对照物的、含有有机N-氧化物或亚硝基化合物的试剂体系。本发明还涉及包含用于检测反应的试剂体系和用于机载对照物的试剂体系的分析单元。此外,本发明涉及检查分析单元的方法,其中用于机载对照物的试剂体系借助于测量仪器,通过光学或电化学方法,检测能指示该分析单元的压迫的变化。

标签:
化学分析
其他 - 其他 来源:中冶有色网 2023-03-19
生物化学用试剂类保存元件、以及生物化学用分析装置

本发明提供一种生物化学用试剂类保存元件、以及使用该生物化学用试剂类保存元件的生物化学用分析装置,所述生物化学用试剂类保存元件能够将微量的试剂类密闭保存,并从保存部位将试剂类滴下而不接触外气,实施例中,以PTP包装片(30)构成试剂容器,所述PTP包装片(30)的结构如下,即在形成有由可收纳试剂类的中空凸形状构成的囊(16)的基片(31)上贴合顶片(32),用顶片(32)将事先收纳试剂类的基片(31)的囊开口密闭,通过将密闭包装有该试剂类的PTP包装片(30)的作为顶片(32)的膜片表面与元件主体(20)的盒体表面贴合,从而构成元件主体内部也密闭的生物化学用试剂类保存元件(10)。

标签:
化学分析
其他 - 其他 来源:中冶有色网 2023-03-19
化学分析装置及分析设备

本发明提供能准确地分注预定量的试样和试剂、进行各种处理、用检查装置进行检查的装置。分析设备中,在上侧基板上设有共用电极,在下侧基板上设有包含若干电极列的驱动电极。把油充填到两个基板之间的空间内,在那里生成试样、试剂等的液滴。对共用电极施加负电压或将其接地,对驱动电极侧的电极施加正电压。这样,被施加了电压的区域的接触角减小,润湿性提高,液滴移动。

标签:
化学分析
其他 - 其他 来源:中冶有色网 2023-03-19
生物化学用盒和生物化学分析装置

为了抽取生物体试样,需要数kV的施加电压,因此EWOD的电极等被破坏,无法将电极再用于液滴的移动。在此,本发明的课题在于,提供一种在利用毛细管阵列等来抽取生物体试样时能够多次使用的生物化学用盒和使用了生物化学用盒的生物化学分析装置。为了解决上述课题,本发明的生物化学用盒的特征在于,具备:流路,其输送样品;多个电极,其在所述流路上沿着输送样品的方向配置,并且为了输送样品而设置;以及开口,其与配置于所述流路的下游侧的多个电极相对地设置。

标签:
化学分析
其他 - 其他 来源:中冶有色网 2023-03-19
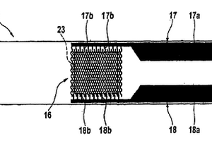
电化学试片,电化学检测系统及其检测方法

提供一种电化学试片,电化学检测系统及其检测方法。此电化学试片包含一绝缘基板、一电极系统于绝缘基板之上、及一绝缘层于该电极系统上。电极系统包含一量测电极组、一识别电极组、及具有一预定的阻抗值的一阻抗路径。识别电极组为金属材料制成,而阻抗路径为非金属材料制成。量测电极组包含相互绝缘的一参考电极及一工作电极;识别电极组包含由此阻抗路径连接的一第一识别电极及一第二识别电极。绝缘层覆盖电极系统的一部分,其中未被绝缘层覆盖的电极系统的一部分形成具有一入口的一反应区。当一样品由入口注入反应区时,样品依序接触到量测电极组及识别电极组。

标签:
化学分析
其他 - 其他 来源:中冶有色网 2023-03-19
富集和纯化用于包括基质辅助激光解吸附/电离(MALDI)质谱(MS)分析的化学分析的分析物的方法和装置

本发明公开了首先利用电泳驱动分析物通过滤网基质去除大分子物质的分离低丰度物质的方法和装置,然后保留的低丰度物质与捕获膜上的小的捕获位点结合,电泳富集到捕获膜上。捕获膜被风干,并被置于导电的MALDI样品板上。

标签:
化学分析
其他 - 其他 来源:中冶有色网 2023-03-19
离子迁移谱分析仪、包括其的气体分析系统和确定化学品种的方法

离子迁移谱分析仪包括多个衬底,限定了用于接收单一层状气流的测量区域,而不需要任何载气或鞘气。测量区域包括与检测区域连续的离子化区域。可以包括多个非对称电极的离子化电极在离子化区域内在气体样品中产生离子。离子化电极可以向气体样品施加时变电压以产生时间依赖的离子产生。场产生电极产生电场以偏转气体样品中的离子,并且检测电极阵列在检测区域中对偏转的离子进行检测。控制器配置为基于检测电极阵列对离子的检测来确定离子品种。检测电极阵列可以包括多个检测电极,并且控制器可以配置为基于由哪一个检测电极检测哪一种离子来区分离子品种。

标签:
化学分析
其他 - 其他 来源:中冶有色网 2023-03-19
上一页 240 241 242 243 244 ... 252 下一页
共252页    到第

中冶有色为您提供最新的其他有色金属分析检测技术理论与应用信息,涵盖发明专利、权利要求、说明书、技术领域、背景技术、实用新型内容及具体实施方式等有色技术内容。打造最具专业性的有色金属技术理论与应用平台!

全国热门有色金属设备推荐
展开更多 +
全国热门有色金属技术推荐
展开更多 +

 

江西省隆恩特环保设备有限公司
宣传

报名参会
更多+

报告下载

有色专家
更多+

郑州大学
中国工程院 院士
矿冶科技集团有限公司
所长/研究员级高工
赣州江钨钨合金有限公司
副总经理
石家庄铁道大学
团委书记/副教授
辽宁忠旺集团
教授级高工
赤泥综合利用研究报告2025
推广

热门技术
更多+

推荐企业
更多+

福建省金龙稀土股份有限公司
宣传

发布

在线客服

公众号

电话

顶部
咨询电话:
010-88793500-807