青岛垚鑫智能科技有限公司
宣传

位置:中冶有色 >

有色技术频道 >

分类:
全部
矿山技术
冶金技术
材料制备及加工技术
环境保护技术
分析检测技术
 
全部
物理检测技术
化学分析技术
力学检测技术
无损检测技术
失效分析技术
环境检测技术
地区:
全部
北京
天津
上海
重庆
河北
山西
辽宁
吉林
黑龙江
江苏
浙江
安徽
福建
江西
山东
河南
湖北
湖南
广东
海南
四川
贵州
云南
陕西
甘肃
青海
内蒙
广西
西藏
宁夏
新疆
其他
其他
展开
 
全部
其他

其他有色金属分析检测技术理论与应用

免费发布技术信息>>
有机化学物质的分析前处理装置及其分析前处理方法

本发明提供一种分析精度提高、能够有效地进行分析的有机化学物质的分析前处理装置。该分析前处理装置具有:注入部(F),注入分析对象物质;第一输液泵(P1),输出用于推动分析对象物质的溶剂;第一固相萃取柱(S1),用于吸附含有分析对象物质和溶剂的溶液中所含的非极性杂质;第二固相萃取柱(S2),吸附所述分析对象物质;和样品取得控制单元(N),将含有分析对象物质的溶液供给到第一固相萃取柱(S1),向已除去杂质的溶液供给极性改变用溶剂并混合,将得到的混合液供给到第二固相萃取柱(S2),取得样品。

标签:
化学分析
其他 - 其他 来源:中冶有色网 2023-03-19
电化学分析装置和相关方法

提供了一种电化学检验装置,其具有基层和顶层,在基层上具有第一电极,在顶层上具有第二电极。两个电极被其中具有开口的间隔层分开,使得由顶面上的一个电极、底面上的另一个电极和由间隔中的开口的边缘形成的侧壁限定了接收样品的空间。将用于进行电化学反应的试剂沉积在一个电极上和接收样品的空间的侧壁上。

标签:
化学分析
其他 - 其他 来源:中冶有色网 2023-03-19
有机化学物质的分析方法和分析装置

在分析有机化学物质时,为了提高其精度,可以考虑液相色谱和气相色谱的组合,但是,因为来自液相色谱的洗出液中含有水分和高极性的溶剂,所以不能注入气相色谱。因此,开发实现该组合的分析方法及其装置成为课题。本发明提供一种边利用液相色谱对从分析对象试样中预先提取有机化学物质并配制的分析用试样进行分离、边使含有被分离出的分析对象物质的洗出液连续地吸附在固相萃取柱上,利用洗脱液将被吸附在固相萃取柱上的分析对象物质洗脱、并转移到气相色谱的贮存室中的定量分析方法及其分析装置。

标签:
化学分析
其他 - 其他 来源:中冶有色网 2023-03-19
以调节化学发光为手段分析被分析物的方法

一种利用化学发光物质标记的材料对被分析物进行分析的方法,包括添加猝灭剂和/或降低化学发光物质标记的探针的特定活性,从而减少化学发光的数量。

标签:
化学分析
其他 - 其他 来源:中冶有色网 2023-03-19
化学分析仪,基于样本的分析方法,操作样本池的装置和装载方法

提供了化学分析仪,基于样本的分析方法,操作样本池的装置和装载方法。根据本发明的化学分析仪(1)包括:可旋转保温器(20),其中具有用于接收样本池(70)的开口(21);分析装置(60),其布置在所述保温器(20)周围;以及装载装置(40),其用于将样本池(70)装载到开口(21)中,分析仪(1)的装载装置(40)包括进料斗(30),所述进料斗(30)布置成使直的样本池(70)弯曲以适应所述开口(21);以及撞锤(41),其布置成通过所述进料斗(30)将样本池(70)装载到所述保温器(20)的开口(21)中。

标签:
化学分析
其他 - 其他 来源:中冶有色网 2023-03-19
利用固相萃取柱的有机化学物质的分析方法及其分析装置

随着环境问题受到重视,在残留农药等的微量物质的分析中,存在提高精度及操作性,清洗配管、针等的内部,消除对于分析造成的影响,并自动进行这些操作的问题。本发明提供一种利用固相萃取柱的有机化学物质的分析方法及其分析装置,其特征在于:利用来自供液泵的溶剂对预先吸附在固相萃取柱内的分析对象物质进行洗脱,将获得的洗脱液经插入气相色谱仪的储存室的注入口的针注入该储存室,然后将该针从注入口抬起,利用从供液泵供给的溶剂对该针的内部进行清洗,废弃清洗液,随后,对作为分析对象试样中的分析对象物质的有机化学物质进行分析。

标签:
化学分析
其他 - 其他 来源:中冶有色网 2023-03-19
电化学发光分析装置和使用其分析样品的方法

本发明涉及电化学发光分析装置和使用其分析样品的方法,其包含:工作电极;固体多孔膜;和支架,其中:工作电极的材料为由电绝缘体层覆盖的导体或强掺杂半导体,工作电极被支撑到支架,经由支架,能够连接到发光测量仪器的激发电子设备,充当装置的阴极,固体多孔膜由PE聚酯材料制成,具有液体渗透性,厚度小于100μm,孔径为1μm,其中,固体多孔膜位于工作电极附近,但不与工作电极直接接触,在工作电极与多孔膜之间存在小于100μm的游离液体结,装置适合于使带到多孔膜和/或阴极上的样品和其他试剂能够相互反应。

标签:
化学分析
其他 - 其他 来源:中冶有色网 2023-03-19
用于分析电化学电池或电化学传感器应用的功能层的方法

本发明涉及用于分析电化学电池或电化学传感器应用的功能层(10)的方法和装置,所述方法包括以下步骤:i)将预限定量的测试气体引导到功能层(10)的第一表面(11)处;并且ii)通过设置在功能层(10)的与功能层(10)的第一表面(11)相对置的第二表面(12)上的检测单元(3)定量地求取通过功能层(10)的测试气体的量。

标签:
化学分析
其他 - 其他 来源:中冶有色网 2023-03-19
液体内污染物质的化学元素分析装置以及分析方法

本发明涉及一种液体内污染物质的化学元素分析装置以及分析方法。本发明涉及的液体内污染物质的化学元素分析装置的特征在于,包括:试样储存部(10),用于储存所采集的液态的试样(1);激光部(20),其振荡出激光束(21:21a、21b、21c),以向从试样储存部(10)喷射的试样(1:1a、1b、1c)照射激光束(21);以及光谱仪(30),用于收集激光束(21)照射到试样(1)上而产生的等离子光(31:31a、31b、31c),以测量等离子光(31)的光谱。

标签:
化学分析
其他 - 其他 来源:中冶有色网 2023-03-19
单人份化学分析装置及其分析样品的方法

本发明公开了单人份化学分析装置及其分析样品的方法。上述的单人份化学分析装置,包括:移液抓取机构,用于在三维空间移动,移液抓取机构包括机械抓手和加样器,机械抓手用于抓取反应杯和/或试剂,加样器用于将样本和试剂转移至反应杯内;混匀机构,用于接收移液抓取机构的反应杯并将反应杯中的反应物混合均匀;孵育机构,用于接收移液抓取机构的反应杯并促进反应杯内的反应物进行反应;磁分离机构,用于接收移液抓取机构的反应杯,并将反应杯中的磁性微粒和目标分析物的干扰物质清洗干净;读数机构,用于读取反应杯内的样本的分析结果。本发明的单人份化学分析装置,可同时分析不同测试步骤和参数的临床项目、工作效率较高。

标签:
化学分析
其他 - 其他 来源:中冶有色网 2023-03-19
用于进行血管内结构分析以补偿化学分析模态的系统和方法

多模式血管内分析法使用结构性血管内分析模态补偿化学分析模态。结构分析法的实例是IVUS、OCT(包括光学相干域反射计测量法(OCDR)和光学频域成像法(OFDI))和/或声纳范围测定术。化学或功能性分析法的实例是光学法、NIR、拉曼法、荧光法和光谱术、热成像术和反射计测量法。在一个实例中,结构分析法用来结构地表征环境如导管头部-血管壁距离。这种信息随后用来选择深度(例如浅与深)特异性的两种或多种算法以改善化学或功能性分析中的精度。

标签:
化学分析
其他 - 其他 来源:中冶有色网 2023-03-19
利用电化学分析法的在线重金属分析装置

本发明提供一种利用电化学分析法的在线重金属分析装置,该分析法可以减少产生环境污染物质,提高了表面稳定性以及再现性。根据本发明的利用电化学分析法的在线重金属分析装置,包括工作电极,对该电极施加一定时间的电压,富集存在于样品溶液中的重金属离子,然后慢慢施加相反电压,测量随着富集的物质的脱膜变化的电流,用于测量上述重金属的种类和浓度,其特征在于,其中,上述工作电极是以在底电极上被吸附金属溶液形成电极膜的富集的金属电极构成的。

标签:
化学分析
其他 - 其他 来源:中冶有色网 2023-03-19
利用用于气体色谱分析的多维微气体色谱仪的气体分析物光谱锐化及分离

本发明描述包含第一气体色谱仪的设备的实施例,所述第一气体色谱仪包含流体入口、流体出口及第一温度控制件。控制器耦合到所述第一温度控制件且包含用以将第一温度分布曲线应用于所述第一温度控制件以加热、冷却或既加热又冷却所述第一气体色谱仪的逻辑。本发明还揭示并主张其它实施例。

标签:
化学分析
其他 - 其他 来源:中冶有色网 2023-03-19
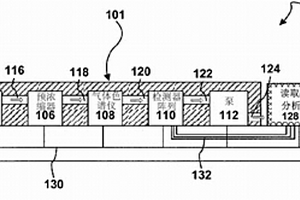
直接样品分析离子源
直接样品分析离子源 987     
 0

在基本大气压下运行的直接样品分析(DSA)离子源系统配置成便于来自各种各样的气体、液体和/或固体样品中的样品物质的电离,或解吸和电离,用于通过质谱测量或其它气相离子检测器进行化学分析。所述DSA系统包括电离样品的一个或多个设备,并且包括密封的外壳,其提供保护免受高电压和有害气体,并且其中本地背景气体环境可以得到监测和良好控制。所述DSA系统配置成在任何一个时间容纳单个或多个样品,并且提供各个样品定位、样品调节、样品加热、位置感测以及温度测量的外部控制。

标签:
化学分析
其他 - 其他 来源:中冶有色网 2023-03-19
X射线分光分析装置及使用该X射线分光分析装置的化学状态分析方法

一种X射线分光分析装置,具备:激发源,对试样表面的规定照射区域照射用于使特征X射线产生的激发射线;分光晶体,面向照射区域而设置,由平板构成;狭缝,设置于照射区域和分光晶体之间,平行于照射区域及分光晶体的规定的晶面;X射线线性传感器,设置为在平行于狭缝的方向上具有长边的线状的检测元件沿垂直于狭缝的方向排列;能量校准部,通过从激发源对因照射所述激发射线而生成能量已知的2个特征X射线的标准试样的表面照射该激发射线从而测量该2个特征X射线,并基于该测量的2个特征X射线的能量,校准由X射线线性传感器的各个检测元件检测的特征X射线的能量。能够更高精度地求出从测量对象试样发射的特征X射线的能量。

标签:
化学分析
其他 - 其他 来源:中冶有色网 2023-03-19
利用离子阱质量分析器获得高准确度质谱的方法和利用离子阱质量分析器确定和 /或减小质量分析中化学位移的方法

一种利用离子阱质量分析器获得高准确质谱的方法包括:调整该分析器的工作参数,以启动质量选择共振射出模式下的反向质量扫描;以及,设定捕获场以俘获一个质荷比范围内的离子,该范围具有接近所关心离子质荷比的下限。一种确定化学位移的方法包括:调整该分析器的工作参数以启动正向和反向质量扫描;以及,校准从正向和反向质量扫描获得的质谱。

标签:
化学分析
其他 - 其他 来源:中冶有色网 2023-03-19
用于分析化学或者生物样品的装置

本发明涉及一种用于分析临床样品的装置,包括至少一个用于接收一种或多种试剂的储存室和至少一个处理室(7),而处理室(7)被集成到第一支承构件(18,118,218)中,并且所述储存室被集成到至少第二支承构件(19,119,219)中,而第一和第二支承构件被设置成使得能通过第一和第二支承构件相对于彼此的相对运动来使所述处理室(7)与所述储存室相连。根据本发明,所述装置还包括用于在所述装置内将物质从一个室输送给另一个室的泵元件。

标签:
化学分析
其他 - 其他 来源:中冶有色网 2023-03-19
流动池及用于分析样品的射流器件

本实用新型提供了一种流动池,包括:具有固定在一起以在其间限定流动通道的第一层和第二层的基底,其中所述流动通道包括成像部分和非成像部分,其中所述成像部分和非成像部分通过弯曲部分被射流地连接,所述成像部分和非成像部分彼此平行延伸;延伸通过所述第一层并与所述流动通道的所述成像部分流体连通的入口;以及延伸通过所述第一层并与所述流动通道的所述非成像部分流体连通的出口,其中所述入口和所述出口在所述流动池的一端彼此毗邻设置,以及其中所述流动通道的所述成像部分的宽度大于所述流动通道的所述非成像部分的宽度。本实用新型还提供了一种包括流动池的射流器件。

标签:
化学分析
其他 - 其他 来源:中冶有色网 2023-03-19
频闪薄膜化学分析设备和使用其的分析方法

公开了一种基于频闪原理的频闪薄膜化学分析设备和一种使用该频闪薄膜化学分析设备的分析方法。所述频闪薄膜化学分析设备适合于用于诸如集成有用于诊断或检测流体中的少量物质的生物芯片例如芯片实验室、蛋白质芯片和DNA芯片的盘实验室之类的可旋转生物盘的实时分析。

标签:
化学分析
其他 - 其他 来源:中冶有色网 2023-03-19
光化学传感器、传感器盖、光化学传感器的用途及制造光化学传感器的分析物敏感层的方法

本发明公开了光化学传感器、传感器盖、光化学传感器的用途及制造光化学传感器的分析物敏感层的方法。具体地,本发明公开了一种用于确定被测介质的pH值的光化学传感器(1),包括具有分析物敏感层(17)的传感器膜(13),其中所述传感器膜(13)具有指示剂染料形式的第一发光体染料,特征在于,所述传感器膜(13)具有参考染料(34)形式的第二发光体染料,其中上述两种染料中的至少一种被包含在所述分析物敏感层(17)中,其中上述两种染料中的一种具有无机骨架结构,其中至少一个可光解的无机或有机受体基团与所述骨架结构结合。该光化学传感器具有漂移稳定性,并对测量的介质的离子强度的依赖性低。

标签:
化学分析
其他 - 其他 来源:中冶有色网 2023-03-19
具有用于对多个分析物进行化学分析的可置换元件的手持式装置

一种用于测量多个化学或生物物质浓度的便携式系统和方法,其中需要对这种物质进行现场分析。这种新的、原创的手持式传感器系统使用可置换光学测试元件和光谱检测器,其通过光吸收率、发光和其他形式的基于光的响应的变化来测量所述测试元件对特定分析物的响应。这样,表示测试元件响应的反射光强度可以被用来测量目标分析物的浓度。该传感器系统还能够与信息处理单元或计算机接口,从而可以电子地操作或存储分析数据。

标签:
化学分析
其他 - 其他 来源:中冶有色网 2023-03-19
薄膜化学分析设备和使用该设备的分析方法

公开一种薄膜化学分析设备和使用该设备的方法,其可以解决由于长时间的流通和存储期间环境因素(例如冲击、温度)引起的密封问题,并可以快速和容易地检测被分析物。薄膜化学分析设备包括至少一个适于存储生物或者生物化学分析所需的流体以进行生物或者生物化学反应的腔室;用于腔室的流体连接的通道;安置在通道之间或者内部并连接到通道的孔;具有集成到主体中的腔室、通道和孔的可旋转主体;和具有用于闭合孔和密封流体在腔室中的密封装置的破裂阀,密封装置通过主体旋转产生的离心力从孔撕去,从而打开孔。

标签:
化学分析
其他 - 其他 来源:中冶有色网 2023-03-19
用于实施一般化学和特异结合组合分析的体液分析物计量器与卡盒系统

一种组合式的体液分析物计量器和卡盒系统,其具有:(A)一体液分析物计量器,所述计量器具有:一外壳;一布置于所述外壳内的逻辑电路;一布置于所述外壳上的视觉显示器;和一布置于所述外壳内的测量系统;和(B)一卡盒,所述卡盒具有:至少一个侧向流分析测试条,所述侧向流分析测试条具有:(I)一侧向流运输基质;(II)一位于所述运输基质上的特异结合分析区,其用于接收一流体样品并实施一特异结合分析以产生一可检测响应,和(III)一位于所述运输基质上的一般化学分析区,其用于接收所述流体样品并实施一般化学分析以产生一可检测响应;其中所述卡盒具有合适尺寸以致可收纳入所述体液分析物计量器中,以便将所述测量系统置于合适位置,从而在侧向流分析测试条中检测特异结合分析区和一般化学分析区中的响应。

标签:
化学分析
其他 - 其他 来源:中冶有色网 2023-03-19
分析物的电化学分析改进方法

本发明涉及利用对所检测的分析物具有特异性的传感器电极进行电化学分析的方法。所述方法包括将传感器电极浸没在怀疑含有所述分析物的样品溶液中;通过暴露于溶液形成电化学活性的复合体,所述溶液包含第二受体或者用带电标记物或酶标记物标记的竞争分子;随后使传感器暴露于电化学上活性溶液。测量步骤包括将所述传感器电极的电位激励至预定的固定电位,通过施加电流或活化波形,随后监控传感器电极和参考电极之间的电位差,然后清除保持电流来实现。电流、速率和电位都可以测量并且用于确定分析物浓度或传感器状态。

标签:
化学分析
其他 - 其他 来源:中冶有色网 2023-03-19
用于检测至少一种流体样品中的至少一种分析物的分析物检测器

提出了一种用于检测至少一种流体样品(111)中的至少一种分析物的分析物检测器(110)。所述分析物检测器(110)包括可暴露于所述流体样品(111)的至少一个多用途电极(112)。所述分析物检测器(110)还包括与所述至少一个多用途电极(112)电接触的至少一个场效应晶体管(114)。所述分析物检测器(110)还包括至少一个电化学测量装置(116),所述电化学测量装置被配置用于使用所述多用途电极(112)执行至少一种电化学测量。

标签:
化学分析
其他 - 其他 来源:中冶有色网 2023-03-19
用于电化学定量分析固相内被分析物的系统

本发明的目的是提供对包括生物液体样品在内的待分析物进行固相电化学定量分析的系统,方法和检测条。一种检测样品被加到样品收集垫。随后测试样品溶液和检测盒的反应试剂相接触并沿液体通路迁移。检测盒反应试剂(例如被标记物)和目标待分析物(例如蛋白,激素,或酶,多糖,抗体,核酸,药物,毒素,病毒,部分细胞壁)或两者相互作用形成复合物,或者可选择的与另一检测盒反应试剂竞争性相互作用,导致指示剂富集在固相的界定区域。对界定区域进行电化学分析,其结果取决于用恒电势和电势定量分析法(如电极析出伏安法)对指示剂或指示剂衍生物的形态的电化学转化的监测结果。指示剂的电化学转化有特征性的电学标志,它与样品中待分析物的浓度相关。

标签:
化学分析
其他 - 其他 来源:中冶有色网 2023-03-19
借助侧流测定物电化学分析液态试样的装置和方法

本发明涉及一种借助侧流测定物(Lateral?Flow?Assays)电检验液态试样(5)的装置(1)和方法。侧流测定物包括一个薄膜(4),它设置在第一托座(2)前侧面上。第一托座(2)设计为电绝缘。在托座(2)与薄膜(4)之间的第一托座(2)前侧面上,导电的电极(3)设置为与薄膜(4)直接接触。

标签:
化学分析
其他 - 其他 来源:中冶有色网 2023-03-19
用于化学分析和生物化学分析的光学技术

本公开描述了用于物理样品、化学样品和/或生物样品的光学检测的结构和方法。光学检测结构可以包括LED源、多个滤光片、以及单个或多个样品区。检测器可以被用来记录荧光信号。样品区可以允许抽取式的基座的引入。

标签:
化学分析
其他 - 其他 来源:中冶有色网 2023-03-19
利用纳米孔的生物化学分析设备

一种用于利用纳米孔执行样品的生物化学分析的分析设备包括:支撑多个纳米孔的传感器装置;用于保持执行所述分析的材料的贮存器;流控系统;以及用于接收相应样品的多个容器,所有这些部件都布置在盒中,所述盒能以可移除的方式附接至电子单元,所述电子单元布置成产生驱动信号以执行信号处理电路从而产生表示分析结果的输出数据。所述流控系统利用旋转阀将样品选择性地从所述容器供应到所述传感器装置。

标签:
化学分析
其他 - 其他 来源:中冶有色网 2023-03-19
湿式化学分析仪
湿式化学分析仪 1140     
 0

提供一种用于湿式化学分析仪的校准溶液。该溶液包括校准剂。该溶液还包括清洁剂。该清洁剂被选择使得湿式化学分析仪被同时地清洁和校准。

标签:
化学分析
其他 - 其他 来源:中冶有色网 2023-03-19
上一页 241 242 243 244 245 ... 252 下一页
共252页    到第

中冶有色为您提供最新的其他有色金属分析检测技术理论与应用信息,涵盖发明专利、权利要求、说明书、技术领域、背景技术、实用新型内容及具体实施方式等有色技术内容。打造最具专业性的有色金属技术理论与应用平台!

全国热门有色金属设备推荐
展开更多 +
全国热门有色金属技术推荐
展开更多 +

 

江西省隆恩特环保设备有限公司
宣传

报名参会
更多+

报告下载

有色专家
更多+

中国矿业大学(北京)
院长/教授
赣州江钨钨合金有限公司
工程师
中国矿业大学
副院长/教授
北京航空航天大学、中国工程院
院士
中南大学
粉末冶金国家重点实验室 主任
赤泥综合利用研究报告2025
推广

热门技术
更多+

推荐企业
更多+

福建省金龙稀土股份有限公司
宣传

发布

在线客服

公众号

电话

顶部
咨询电话:
010-88793500-807