青岛垚鑫智能科技有限公司
宣传

位置:中冶有色 >

有色技术频道 >

> 无损检测技术

分类:
全部
矿山技术
冶金技术
材料制备及加工技术
环境保护技术
分析检测技术
 
全部
物理检测技术
化学分析技术
力学检测技术
无损检测技术
失效分析技术
环境检测技术
地区:
全部
北京
天津
上海
重庆
河北
山西
辽宁
吉林
黑龙江
江苏
浙江
安徽
福建
江西
山东
河南
湖北
湖南
广东
海南
四川
贵州
云南
陕西
甘肃
青海
内蒙
广西
西藏
宁夏
新疆
其他
其他
展开
 
全部
西安
宝鸡
咸阳
铜川
渭南
延安
榆林
汉中
安康
商洛

陕西西安有色金属无损检测技术理论与应用

免费发布技术信息>>
多缺陷材料M积分的无损测量方法

本发明公开了一种多缺陷材料M积分的无损测量方法,通过数字散斑相关技术,利用光学测量设备ARAMIS?4M(GOM?mbh)测得试件表面的位移场;通过均值滤波器对位移场进行平滑处理,并利用三次样条拟合求得位移场沿两个坐标轴的梯度;通过材料本构方程,计算材料表面应力场及应变能密度分布;代入M积分的定义表达式,选取包含缺陷的任意闭合路径,通过数值积分计算M积分值。该方法适用于各种不同的缺陷及缺陷群,可用于评估航天、航空、机械等领域各种形式的材料损伤与结构完整性。

标签:
无损检测
陕西 - 西安 来源:中冶有色网 2023-03-19
古青瓷釉烧温度的无损测试方法

本发明公开了一种古青瓷釉烧温度的无损测试方法,属于无机非金属材料技术领域。使用显微共聚焦拉曼光谱仪对青瓷釉面的玻璃相进行结构分析,不需要对样品进行制样,选择合适的测试参数,采集青瓷釉面的玻璃相的拉曼光谱,对其去除基线和平滑处理之后进行解卷积,计算500cm‑1处的弯曲振动模式和1000cm‑1处的拉伸振动模式的两个包络峰面积比得到玻璃相的拉曼聚合度,由此确定青瓷的釉烧温度。

标签:
无损检测
陕西 - 西安 来源:中冶有色网 2023-03-19
轧机设备的传动轴扭矩无损实时在线测量装置

本实用新型属于旋转轴扭矩测量装置,特别是对轧机设备的传动轴扭矩无损实时在线测量装置,其特征是:它至少包括传动轴上固定的多组应变片桥路(1),传动轴上套接有绝缘轴套(3),绝缘轴套(3)外层有与多组应变片桥路(1)对应个数的铜导电环(4),碳刷组件(6)固定在弹簧人字形电刷架(5)上,弹簧人字形电刷架(5)固定在支承架(2)上,碳刷组件(6)与铜导电环(4)的位置相对应;应变片桥路(1)的输出信号引线通过绝缘轴套(3)内过线槽(9)与绝缘轴套(3)外径上的铜导电环(4)接线端电连接;碳刷组件(6)引线端与接线箱(8)电连接。它可对轧机传动轴扭矩实时监测,满足对轧机传动轴承载能力的监测及研究。

标签:
无损检测
陕西 - 西安 来源:中冶有色网 2023-03-19
基于地质雷达的植被根系三维无损探测方法

本发明公开了一种基于地质雷达的植被根系三维无损探测方法,网格化的植被根系探测利用地质雷达对植被根系进行扫描,获取植被根系的地质雷达电磁波数据;对地质雷达电磁波数据进行三方面的预处理:按照网格化的探测方式后,标记每条探测线的相对位置;从预处理后地质雷达电磁波中提取携带植被根系的特征信息,并将根系特征与电磁波特征数据进行关联分析,构建电磁波特征属性与实测的植被根系特征量之间关系,反演植被根系三维分布特征。通过不同位置上的根系切片以及切片之间的关系,实现植被根系三维可视化的方法;通过对一棵植物进行不同时期的根系探测,获取植被根系生长的生长过程与根系发育特征。

标签:
无损检测
陕西 - 西安 来源:中冶有色网 2023-03-19
石窟崖体裂隙空间异质分布的无损探测综合方法

本发明提出了一种石窟崖体裂隙空间异质分布的无损探测综合方法,包括五种探测技术;其中,五种探测技术分别为:应用三维激光扫描技术;应用无人机探测技术;应用探地雷达技术;应用超声波探测技术;应用红外热像仪技术用来探测石窟崖体表层及内部裂隙发育情况;其中,五种探测技术用来厘清石窟崖体表层及内部裂隙;应用三维激光扫描技术配合相机技术用来识别石质文物表层裂隙并提取信息;应用无人机探测技术捕捉高陡石窟崖体表面整体地形和隐蔽的裂隙位置进行捕捉;应用红外热像仪技术用来探测石窟内部裂隙发育情况。本发明能够综合准确厘清石窟崖体表层与内部裂隙的分布状态;解决传统技术对石质文物结构面探测方式存在的不可逆破坏、精准性差的问题。

标签:
无损检测
陕西 - 西安 来源:中冶有色网 2023-03-19
磁体快速无损测试仪
磁体快速无损测试仪 943     
 0

本实用新型推出一种磁体快速无损测试仪,其测试磁路由测试笔头、气隙、导磁垫块、磁体限位活动垫块、待测磁体、温度校正套环和充消磁线包构成,磁体限位活动垫块活动进出外侧套有温度校正套环的待测磁体,将其限位于外部装有气罩的充消磁线包中心孔的中央并与磁体限位活动垫块等构成闭合磁回路。采用温度校正套环和合理的冷却方式,使测试结果不随温度变化,测量精确,简便快速,不易损伤磁体,可广泛应用于磁体生产测试中。

标签:
无损检测
陕西 - 西安 来源:中冶有色网 2023-03-19
基于上下文预测的极光图像无损编码方法

本发明公开了一种三维极光图像无损压缩方法。其过程为:在编码端,建立阈值并选取合适的预测模型,对系数进行预测;利用预测的系数与原系数求残差,对残差进行多符号算术编码。在解码端,利用编码端传送的边信息解码出残差信息;利用与编码端相同的预测模型对系数进行预测;利用得到的预测系数跟残差信息得到重构图像。本发明可应用于低复杂度要求和实时要求的极光图像压缩中。

标签:
无损检测
陕西 - 西安 来源:中冶有色网 2023-03-19
脊形光波导损耗CCD无损半自动测量方法及系统

本发明提供了一种脊形光波导损耗CCD无损半自动测量方法及系统,激光器发出的激光经过耦合透镜聚焦后耦合进入光纤,光纤和耦合透镜位置由微动台调节和固定,利用显微镜将光纤末端和脊形光波导的输入端对准后,将激光引入至脊形光波导中实现脊形光波导的通光;利用CCD摄像机拍摄波导通光图像;利用波导通光图像计算得到光波导损耗的测量值。本发明可以实现脊形光波导的无损测量且实现测量的半自动化,操作简单、精度较高。

标签:
无损检测
陕西 - 西安 来源:中冶有色网 2023-03-19
试坑浸水试验中土层浸湿无损连续探测方法

本发明公开了一种试坑浸水试验中土层浸湿无损连续探测方法,包括步骤:一、浸水前试坑内打孔取样;二、布设高密度测线;三、获得浸水前电阻率数据并得到对应剖面的电阻率剖面图;四、获取浸水过程中及浸水结束后电阻率数据并得到对应剖面的电阻率剖面图;五、浸水结束后试坑内打孔取样;六、数据对比确定土层浸湿范围、水在非饱和土中的扩散速率和土层不同位置的土层含水率数值。本发明通过浸水前和浸水结束后分别在试坑内打一孔取样,获得一个土层含水率数值对应一个电阻率数值的关联对应关系,通过不同时间点高密度电法测得的试坑内外土层不同位置的土层电阻率数值得到对应土层位置的土层含水率数值,不必满试验场地打孔取样,近似为无损探测。

标签:
无损检测
陕西 - 西安 来源:中冶有色网 2023-03-19
隔膜压缩机气压无损监测系统及方法

本申请属于压缩机技术领域,特别是涉及一种隔膜压缩机气压无损监测系统及方法。由于隔膜压缩机可运行的压比高、压力范围广,排气压力最高可达300MPa,如果采用在缸体上加工测压孔的方法,不仅影响气缸强度,还可能造成泄漏,带来安全隐患。本申请提供了一种隔膜压缩机气压无损监测系统,包括膜片组件、排气管、气侧缸头、应变花电路组、应变片电路和数据采集处理组件,应变花电路组件与数据采集处理组件连接,应变片电路与数据采集处理组件连接,膜片组件包括依次排列的第一膜片、第二膜片和第三膜片,应变花电路组包括第一应变花电路、第二应变花电路和第三应变花电路。实现隔膜压缩机的运行健康状态无损监测和诊断。

标签:
无损检测
陕西 - 西安 来源:中冶有色网 2023-03-19
压缩机缸内压力无损监测方法及系统

本申请属于压缩机技术领域,特别是涉及一种压缩机缸内压力无损监测方法及系统。现有技术未考虑实际测量中出现的应变漂移问题,且为给出考虑漂移情况下的缸内动态压力计算方法。本申请提供了一种压缩机缸内压力无损监测方法,根据压缩机一个工作周期的止点信号截取所述工作周期内的径向应变测量值和周向应变测量值,同时求得径向漂移和周向漂移,对径向漂移和周向漂移进行修正后,得出油压。可实现压缩机缸内压力无损测量及重构。

标签:
无损检测
陕西 - 西安 来源:中冶有色网 2023-03-19
煤矸石场内部高温区双参数联合无损探测方法

本发明涉及一种煤矸石场内部高温区双参数联合无损探测方法。本发明首先采用地面电法勘探工程确定黄土覆盖层厚度及底界面;其次,设计一定网格密度的浅钻孔,孔底测量覆盖层内部温度参数,绘制温度场平面分布图,准确划定覆盖层内高温区平面分布范围;最后以温度参数作为约束条件,对电法勘探煤矸石场内部视电阻率参数进行约束反演,解释因温度变化引起的煤矸石场内部电性异常区,准确圈定煤矸石场内部高温区范围,实现对煤矸石场高温区由表及里的平面和空间立体定位,达到探测目的同时,不会因探测工艺影响形成新的输气通道而助燃煤矸石,真正实现无损探测。

标签:
无损检测
陕西 - 西安 来源:中冶有色网 2023-03-19
基体表面凹凸程度的原位无损测量装置

本实用新型公开了一种基体表面凹凸程度的原位无损测量装置,包括标准校准板和下侧带有滑道的矩形板,设置于滑道左右两端的滑动模块及基准定位针、设置于滑道中间的滑动模块及上下调节的测量针、设置于基准定位针上部的双向激光发射器、设置于测量针上部的三向激光发射器、设置于矩形板上的横向标尺及纵向标尺;通过测量装置对基体表面进行测量,并计算、作图进行表征;本实用新型的装置便携、易操作,可实现原位无损测量;方法简单、易操作,可快速表征设备材料基体表面的凹凸程度。

标签:
无损检测
陕西 - 西安 来源:中冶有色网 2023-03-19
基于边缘的高光谱图像自适应无损预测编码系统及方法

本发明公开了一种基于边缘的高光谱图像自适应无损预测编码系统与方法,主要解决现有技术在去相关时由于未考虑高光谱图像的边缘信息,导致压缩去相关不彻底,使得压缩比受限制的问题。其实现过程是:1)利用基于对角的中值预测算法对高光谱图像进行谱内预测,得到谱内预测残差;2)利用基于边缘的谱间预测算法对高光谱图像进行谱间预测,得到谱间预测残差;3)通过比较两种预测模式的预测残差,为每一谱段选择最终预测模式;4)对最终预测模式对应的预测残差进行熵编码,得到无损压缩码流。本发明充分利用图像边缘信息,使去相关更彻底,获得较高的无损压缩比,适用于高光谱数据处理及传输。

标签:
无损检测
陕西 - 西安 来源:中冶有色网 2023-03-19
建筑物沉降无损测量水准尺支架

本实用新型是一种建筑物沉降无损测量水准尺支架。建筑物沉降无损量测时,一般将水准尺紧贴墙面,采用水准仪进行测量。水准尺的对准和固定都是由人工来完成的,使得测量误差增大,现场测量失准,同时测量的效率降低。本实用新型包括水准尺控制面板、三角支架及测点对准装置构成;所述的水准尺控制面板为带直线边的面板,在面板直线边处设置水准尺插孔,水准尺插孔的尺寸与水准尺横截面尺寸相同;所述的测点对准装置设置在水准尺控制面板的下端面上,采用直角结构。本实用新型的优点是:人工成本低、测量方便、测量精度高,可适用于地势较为起伏的特殊环境。

标签:
无损检测
陕西 - 西安 来源:中冶有色网 2023-03-19
隔膜压缩机膜片无损监测系统及方法

本申请属于压缩机技术领域,特别是涉及一种隔膜压缩机膜片无损监测系统及方法。当隔膜压缩机负压压缩气体工作时,即吸气压力和排气压力均小于大气压,膜片发生破裂的情况下,膜片之间腔室的压力始终小于大气压,无法触发膜片监测方案所使用的压力报警器,现有方法失效。本申请提供了一种隔膜压缩机膜片无损监测系统,依次包括气缸、膜片组件、油缸和数据采集处理组件,所述膜片组件紧压固支于所述气缸与所述油缸之间,所述膜片监测传感组件设置于紧压固支区,所述膜片监测传感组件与所述数据采集处理组件连接。在隔膜压缩机运行期间,监测膜片的振动或声发射信号,进而实现隔膜压缩机的运行健康状态无损监测和诊断。

标签:
无损检测
陕西 - 西安 来源:中冶有色网 2023-03-19
基于PT变换与线性预测结合的心电图信号无损压缩方法

本发明公开了一种基于PT变换与线性预测结合的心电图信号无损压缩方法,属于数据处理技术领域。其压缩过程是:对原始的心电图信号进行PT变换;将变换后的原始信号值与估计值相减,得到整段心电图信号的残差信号;对残差信号进行自适应可变阶RICE编码输出编码比特流,完成对心电图信号的无损压缩;对压缩的比特流进行解码;重构信号,完成解压缩。本发明作为一种无损压缩方法,保证了所压缩心电图信号的信息完整及正确性,可用于心电图信号的传输和存储。

标签:
无损检测
陕西 - 西安 来源:中冶有色网 2023-03-19
基体表面凹凸程度的原位无损测量装置及表征方法

本发明公开了一种基体表面凹凸程度的原位无损测量装置及表征方法,该测量装置包括标准校准板和下侧带有滑道的矩形板,设置于滑道左右两端的滑动模块及基准定位针、设置于滑道中间的滑动模块及上下调节的测量针、设置于基准定位针上部的双向激光发射器、设置于测量针上部的三向激光发射器、设置于矩形板上的横向标尺及纵向标尺;本发明还公开了一种基体表面凹凸程度的原位无损测量表征方法,通过测量装置对基体表面进行测量,并计算、作图进行表征;本发明的装置便携、易操作,可实现原位无损测量;方法简单、易操作,可快速表征设备材料基体表面的凹凸程度。

标签:
无损检测
陕西 - 西安 来源:中冶有色网 2023-03-19
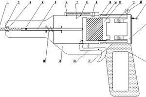
电磁驱动的无损回弹仪及测量方法

本发明公开了一种电磁驱动的无损回弹仪,包括设有空腔的回弹仪壳体、手柄和枪筒,空腔内设有定块和动块,动块内嵌有弹击锤,动块的前端边沿与扳机相贴合;定块上缠绕有与电源相连通的线圈;本发明以电磁斥力代替传统回弹仪的弹簧压力,作为弹击锤的冲击动力源;以电磁斥力代替传统回弹仪的拉簧拉力,作为回弹值检测机构;相对于传统的弹簧式回弹仪具有使用寿命长、精度高等优点。

标签:
无损检测
陕西 - 西安 来源:中冶有色网 2023-03-19
基于光栅激光超声声谱的薄膜涂层厚度无损测量方法

本发明公开了一种基于光栅激光超声声谱的薄膜涂层厚度无损测量方法,强脉冲激光束经过光学掩模板或微阵列透镜照射到被测涂层表面形成周期分布的微小栅状激光光斑,在被测区域激发固定波长的超声表面波,由于超声表面波在多层介质中的频散特性,涂层厚度的变化会引起所激发表面波频率的变化,采用激光超声检测单元在激励位置附近接收所产生的超声表面波信号,对被接收的信号进行傅里叶变换获取其中心频率,最后根据超声表面波中心频率与涂层厚度的单调关系实现涂层厚度的无损测量。

标签:
无损检测
陕西 - 西安 来源:中冶有色网 2023-03-19
实时动态无损测试储层zeta电位的方法

一种实时动态无损测试储层zeta电位的方法,清洁处理二氧化硅半球样品,放置二氧化硅样品进入样品池;启动二次谐波光谱设备,并开始进行波数和能量检查;首先测试二氧化硅半球单独存在下去离子水和目标溶液的二次谐波光谱信号强度;放置储层样品进入样品池,获取总体样品存在下的信号强度:测量的总体样品信号强度减去二氧化硅样品强度得到储层的二次谐波样品强度;二次谐波信号强度归一化处理;进行储层二次谐波的pH滴定实验,获取储层等电点(pzc)性质,依次确定二阶磁化率的大小χ(2);数学计算得到储层的zeta电位;本发明能够实时动态无损测试在任何溶液环境下储层的zeta电位,弥补了以往zeta电位仪测量在高浓度和高pH值失效的不足。

标签:
无损检测
陕西 - 西安 来源:中冶有色网 2023-03-19
用于材料力学性能的无损变温测试的可移动工作台

一种用于材料力学性能的无损变温测试的可移动工作台,包括壳体,壳体底部设有移动减震机构,壳体前面分别设有一号转盘和二号转盘,一号转盘通过内部传动与Y轴向移动机构相连接,二号转盘通过内部传动与X轴向移动机构相连接;X轴向移动机构与Y轴向移动机构交叉处底部还设有限位块,壳体内设有下工作台,下工作台上近壳体前方设有上工作台;调节一号夹持块和二号夹持块的夹持范围及上工作台的伸缩,从而适用于各类材料的检测工作;移动减震机构起到有效的缓冲减震作用,进而提高设备工作时的稳定性,从而有效的保证检测的精度;防滑垫的设置,提高夹持的效果,同时使得夹持力更加均匀的作用在待检测的材料上,从而提升使用的效果。

标签:
无损检测
陕西 - 西安 来源:中冶有色网 2023-03-19
用于射线无损探伤设备实验的监测系统

本实用新型公开了一种用于射线无损探伤设备实验的监测系统,包括皮带机,及在皮带机外周设置的射线防护室,在射线防护室内架有多个高清摄像头,在射线防护室外部设有计算机。本系统集传感器技术、无损检测技术、远程数据传输技术和现代计算机等技术为一体,通过远程计算机实现远程监控,彻底杜绝X光机对人员的伤害,并且能如实反映试验过程及结果。

标签:
无损检测
陕西 - 西安 来源:中冶有色网 2023-03-19
用超声无损探测法对金属的真伪鉴别的方法

本发明涉及一种用超声无损探测法对金属的真伪鉴别的方法,由参考样品预处理、超声检测参考样品声参量、超声检测待测样品声参量、参考样品与待测样品声参量对比四个步骤构成,鉴别出金属制品的真伪,而且本发明的鉴别方法不需要对金属制品进行破坏,鉴别过程中也不会对其产生伤害,实现无损鉴别,此外,相对于传统的物理及化学鉴别方法来说,本发明单独鉴别即可得出金属真伪的结果,无需多种方法配合,相对鉴别方法简单,成本低廉,鉴别结果准确合理,即使对于同种材质在不同热处理条件下得到的不同金属制品也能够一一鉴别出来。

标签:
无损检测
陕西 - 西安 来源:中冶有色网 2023-03-19
封闭容器中酒精含量的拉曼光谱无损测定方法

封闭容器中酒精含量的拉曼光谱无损测定方法,步骤如下:采集待测样品以及纯乙醇液体的拉曼光谱,以拉曼光谱中C‑O伸缩振动峰作为观察对象;将待测样品的拉曼光谱减去纯乙醇液体的拉曼光谱,得到待测样品的差谱;对待测样品的差谱进行积分,得到待测样品差谱的积分值,对纯乙醇液体的拉曼光谱进行积分,得到纯乙醇液体拉曼光谱的积分值;将待测样品差谱的积分值除以纯乙醇液体拉曼光谱的积分值,计算差谱积分百分比;将差谱积分百分比的值代入测定拟合公式中,计算待测样品的酒精含量。本发明使用拉曼光谱结合差谱的方法测定酒类产品的酒精度,具有不需样品预处理,操作简单,检测成本低的优点,并且在实际测定中不需打开酒瓶,可实现快速无损检测。

标签:
无损检测
陕西 - 西安 来源:中冶有色网 2023-03-19
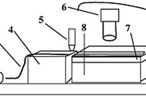
热障涂层隔热温度的非接触式无损测试方法及装置

本发明公开了一种热障涂层隔热温度的非接触式无损测试方法及装置,属于无损检测技术领域,首先模拟真实服役环境,对热障涂层陶瓷层表面进行加热,对高温合金基体面进行冷却,利用红外测温仪对带热障涂层高温合金构件的陶瓷顶层及陶瓷层背面与金属粘接层界面的温度进行测量。与现有热电偶接触温度测试技术相比,本发明方法具有非接触测量、不影响热障涂层表面及空心叶片气道内部原有气体流场和温度场、温度测试响应快、测试过程简单的优点,该方法的实用性较强。

标签:
无损检测
陕西 - 西安 来源:中冶有色网 2023-03-19
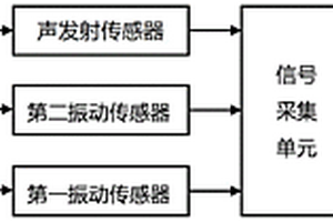
隔膜压缩机无损状态监测系统及方法

本发明涉及无损检测技术领域,具体而言,涉及一种隔膜压缩机无损状态监测系统及方法。一种隔膜压缩机无损状态监测系统,包括第一振动传感器、第二振动传感器、声发射传感器、信号采集单元和数据处理单元;采集卡采集第一振动传感器、第二振动传感器、声发射传感器产生的信号,信号调理模块对采集卡采集的信号进行处理后,存储至数据处理单元的计算机中,计算机进行数据处理,最终确定溢油阀动作、补油开始和结束时刻、吸气过程以及排气过程。本发明的隔膜压缩机无损状态监测系统、方法对溢油阀动作、补油动作以及吸气排气过程的监测,可提高设备运行的可靠性、安全性,可把故障损失降低到最低水平。

标签:
无损检测
陕西 - 西安 来源:中冶有色网 2023-03-19
钢绳芯输送带无损监测装置

本发明公开了一种钢绳芯输送带无损监测装置,包括至少一设置于钢绳芯输送机输送带侧的X射线发射机、及置于输送带上方且与所述X射线发射机相对应的接收器,X射线发射机和接收器分别与控制主机相连,控制主机分别连接光端机、速度传感器和称重仪;光端机连接上位机,从而实现对钢绳芯检测部分和纵向撕裂监测部分的远程控制。该装置集图像技术、缺陷定位技术、漏料监测技术、传感器技术、无损检测技术、远程数据传输技术和现代计算机等技术为一体,从而高效、准确的对钢绳芯缺陷和输送带胶质破损进行探测,并对缺陷的准确定位。

标签:
无损检测
陕西 - 西安 来源:中冶有色网 2023-03-19
超声无损探测法鉴别多种金属的方法

本发明涉及一种超声无损探测法鉴别多种金属的方法,其由金属参考样品预处理、金属参考样品声参量检测、待测金属样品声参量检测、待测金属样品与金属参考样品声参量对比,若声参量相同则与金属参考样品材质相同,若有不同参量,则更换超声频率,重复检测,直至鉴别出所有待测样品所对应的金属材料,本发明的鉴别方法不需要对金属制品进行破坏,鉴别过程中也不会对其产生伤害,实现无损鉴别,此外,相对于传统的物理及化学鉴别方法来说,本发明单独使用即可得出鉴别结果,无需多种方法配合,相对鉴别方法简单,成本低廉,鉴别结果准确合理,即使对于同种材质在不同热处理条件下得到的不同金属制品也能够一一鉴别出来。

标签:
无损检测
陕西 - 西安 来源:中冶有色网 2023-03-19
原文件与变造文件的无损可视化检验方法

本发明提出了一种原文件与变造文件的无损可视化检验方法,属于司法文件检验技术领域,具体步骤包括:1)用显微成像设备将检验文件的待识别痕迹进行显微成像,制作显微成像照片;所述检验文件为原文件或变造文件,所述变造文件为复印文件或打印文件;2)观察步骤1)制作的显微成像照片中待识别痕迹的成像状态,观察到待识别痕迹的成像状态为渗透到纸张纤维纹路内部且是连续性的图案,或待识别痕迹的成像状态为离散的斑点状且是没有连续的图案。利用本发明的方法对文件进行检验时,人为主观因素影响小,检验准确率高,且检验过程简单,不需要在文件上进行取样,对文件本身不会造成破坏。

标签:
无损检测
陕西 - 西安 来源:中冶有色网 2023-03-19
上一页 18 19 20 21 22 ... 27 下一页
共27页    到第

中冶有色为您提供最新的陕西西安有色金属无损检测技术理论与应用信息,涵盖发明专利、权利要求、说明书、技术领域、背景技术、实用新型内容及具体实施方式等有色技术内容。打造最具专业性的有色金属技术理论与应用平台!

全国热门有色金属设备推荐
展开更多 +
全国热门有色金属技术推荐
展开更多 +

 

江西省隆恩特环保设备有限公司
宣传

报名参会
更多+

报告下载

有色专家
更多+

中南大学
常务副校长
中南大学
中国工程院 院士
中南大学
中国工程院院士
矿冶科技集团有限公司
所长/研究员级高工
中国矿业大学(北京)
教授
赤泥综合利用研究报告2025
推广

热门技术
更多+

推荐企业
更多+

福建省金龙稀土股份有限公司
宣传

发布

在线客服

公众号

电话

顶部
咨询电话:
010-88793500-807