青岛垚鑫智能科技有限公司
宣传

位置:中冶有色 >

有色技术频道 >

> 无损检测技术

分类:
全部
矿山技术
冶金技术
材料制备及加工技术
环境保护技术
分析检测技术
 
全部
物理检测技术
化学分析技术
力学检测技术
无损检测技术
失效分析技术
环境检测技术
地区:
全部
北京
天津
上海
重庆
河北
山西
辽宁
吉林
黑龙江
江苏
浙江
安徽
福建
江西
山东
河南
湖北
湖南
广东
海南
四川
贵州
云南
陕西
甘肃
青海
内蒙
广西
西藏
宁夏
新疆
其他
其他
展开
 
全部
西安
宝鸡
咸阳
铜川
渭南
延安
榆林
汉中
安康
商洛

陕西西安有色金属无损检测技术理论与应用

免费发布技术信息>>
超声实时无损人体测温装置及测温方法

一种超声实时无损人体测温装置及测温方法,以人体组织和穿越其中的超声声束的热学特性与声束路径上的温度增量在缓变时有较好的相关性,从而建立温度增量与回波信号在时域或频域的关系模型,并且通过在人体结构模型中建立PENNES生物热传导方程(BHTE),采用基于非线性医学超声场的数值计算方法(如有限元/有限差分法),对深层组织的温热系数进行实时动态标定,解决组织温度特性参数多变的困难,采取数值计算与超声检测结合的方法消除热-声透镜问题,采取温度信息与组织结构信息融合成像的方法直观地显示体内温度分布和结构分布。

标签:
无损检测
陕西 - 西安 来源:中冶有色网 2023-03-19
基于影像组学的脑胶质瘤分子标记物无损预测方法和预测系统

本发明公开了一种基于影像组学的脑胶质瘤分子标记物无损预测方法以及对应的预测系统,步骤1,通过常规磁共振成像方法采集脑胶质瘤的原始医学图像;步骤2,建立脑胶质瘤医学肿瘤影像数据库和历史肿瘤数据库;步骤3,针对步骤2提取的脑胶质瘤特征进行分析,选择出有效特征;步骤4,根据基准单元周围相邻区域属性;步骤5,重复步骤2至4,从而形成训练集,根据训练集使用步骤2中得到的预测模型进行预测模型训练,最终生成预测模型。本发明既减轻了病人活检时的痛苦,又降低了医生对活检组织不完整造成的误差。

标签:
无损检测
陕西 - 西安 来源:中冶有色网 2023-03-19
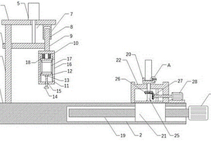
金属材料无损检查设备
金属材料无损检查设备 1092     
 0

本实用新型公开了一种金属材料无损检查设备,包括底板,其特征是:所述底板的上侧一端固定连连接对称的空心圆杆一,一个所述空心圆杆一内设置有圆杆,另一个所述空心圆杆一内设置有螺杆一,另一个所述空心圆杆一的中部铰接转盘一,所述转盘一螺纹连接所述螺杆一,所述圆杆的一端固定连接圆盘,所述螺杆一的一端固定连接所述圆盘,所述圆盘固定连接检查机构。本实用新型涉及检查设备领域,具体地讲,涉及一种金属材料无损检查设备。本实用新型为金属材料无损检查设备,有利于实现金属材料无损检查。

标签:
无损检测
陕西 - 西安 来源:中冶有色网 2023-03-19
运用残余应力预测模型的T字型锻件无损测试方法

本发明涉及一种运用残余应力预测模型的T字型锻件无损测试方法,其具体步骤如下:步骤1:无损检测T字型锻件表面残余应力;步骤2:有损检测T字型锻件内部残余应力;获取不同工艺状态下内部残余应力;步骤3:获得T字型锻件内部残余应力模型,通过步骤1和步骤2的测试结果,得到锻件各工艺阶段残余应力分布规律。即首次实现通过对大型厚截面航空铝合金锻件表面残余应力测试,运用该模型,准确预测出内部残余应力的目的。将本方法涉及的该模型应用于实际零件得到试验验证,能够准确地预测出铝合金锻件不同部位的内部残余应力分布规律,有效地避免了有损检测方法对锻件的破坏。

标签:
无损检测
陕西 - 西安 来源:中冶有色网 2023-03-19
桩质量无损检验的水电效应法及其装置

本发明提供了一种桩质量无损检验的新方法,主 要采用桩的自功率谱来判断桩的缺陷。该法采用水 电效应振源发射的声波作为桩的激振力,用水听器 接收响应信号,磁带录音机记录信号,滤波后输入信 号处理机做快速副里叶变换,进行变换信号形态的 工作。从而能得到反映桩缺陷的多种信息。以此为根 据,制定判断桩完整性的标准。本法中水介质的作用 一是滤波,二是作为振源介质,使该法具有测试准 确,信噪比高,使用方便,功能多,成本低等显著优 点。

标签:
无损检测
陕西 - 西安 来源:中冶有色网 2023-03-19
无损探伤仪在线检定系统

本发明公开了一种无损探伤仪在线检定系统,包括专家系统服务器、布设于无损探伤试验室内的无损探伤检测数据管理装置和由检定用户使用的无损探伤仪检定装置,无损探伤检测数据管理装置与专家系统服务器之间以及无损探伤仪检定装置与专家系统服务器之间均通过INTERNET网络进行双向通信;无损探伤仪检定装置包括数据处理器三、输入所采用标准校验块型号的参数输入单元三、检定请求发送按键、网络接入器三、数据存储单元三和显示单元三。本发明设计合理、操作简便且使用效果好、智能化程度高,能实现在线检定,并解决现有无损探伤仪检定装置存在的设备投入成本较大、智能化程度较低、检定结果的准确性难以保证、检定效率低等问题。

标签:
无损检测
陕西 - 西安 来源:中冶有色网 2023-03-19
高压输电线路耐张线夹无损检测方法

本发明提供了一种电力输电线路耐张线夹压接质量的检测方法,针对电力输电线路耐张线夹压接质量存在的隐患,通过X射线DR检测设备与支撑调节架,安装于耐张线夹两侧,对耐张线夹与钢芯铝绞线的压接定位进行内部检测,数字成像板无线传输,在手提式电脑可清楚显示内部结构,即导线铝股、钢芯、线夹铝套管、线夹钢棒的相对位置,对比DL/T 5285-2013《输变电架空导线及地线液压压接工艺规程》,可发现内部缺陷存在问题,做出合理、有效的解决方案。无需对线夹造成破坏,即可发现输电线路线夹存在的隐患问题,并作出相应对策,对电力输电运维检修大大降低了安全隐患,提高了输电效益。

标签:
无损检测
陕西 - 西安 来源:中冶有色网 2023-03-19
内插式全线圈结构电磁超声纵向导波探头及无损检测方法

一种内插式全线圈结构电磁超声纵向导波探头,由探头骨架、缠绕在探头骨架上的多个轴向周期分布的螺线管电磁铁组和收发一体电涡流线圈、屏蔽导线和表面保护层组成;探头整体呈圆柱形结构,检测时可直接插入被检测管道一端内部激发和接收沿管道轴向传播的纵向超声导波;本发明通过采用多个轴向周期分布的螺线管电磁铁和螺线管电涡流线圈,相邻两螺线管线圈绕制方向相反,螺线管和螺线管电涡流线圈在矩形脉冲电流作用下分别在被测管壁形成周向均匀、轴向周期分布的径向偏置磁场和周向电涡流,基于洛伦兹力原理实现沿被测管道轴向传播的纵向导波的激发和接收。本发明可用于非铁磁性小直径管道长距离、非接触和无需要耦合剂导波检测。

标签:
无损检测
陕西 - 西安 来源:中冶有色网 2023-03-19
钻杆管体无损检测装置
钻杆管体无损检测装置 1169     
 0

本实用新型公开了一种钻杆管体无损检测装置,包括气动装置、磁化器、探头板、退磁器和控制单元,所述气动装置、磁化器、探头板和退磁器从左到右依次设置,其中磁化器、探头板和退磁器的中心轴处于同一水平线上,所述气动装置、磁化器、探头板和退磁器分别与控制单元电连接,所述气动装置用于将钻杆管体提升到与磁化器同一水平线后并使钻杆管体依次通过磁化器、探头板和退磁器。

标签:
无损检测
陕西 - 西安 来源:中冶有色网 2023-03-19
无损机械故障检测设备
无损机械故障检测设备 1215     
 0

本实用新型公开了一种无损机械故障检测设备,包括装置框架和衔接环,所述装置框架内部下端焊接有支撑板,所述支撑板上端两侧均焊接有一号限位块,所述一号限位块内部贯穿有一号螺纹杆,所述一号螺纹杆一端焊接有一号齿轮,所述装置框架底端固定安装有电机。将连接管接入外部含有磁粉悬浮液的压力瓶中,再将其电机通电,电机通过二号齿轮带动其一号齿轮进行旋转,迫使其一号螺纹杆在一号限位块中进行旋转,通过一号螺纹杆与其一号衔接块的螺纹旋转,可带动其衔接环在装置框架中进行平行移动,二号衔接块也将会与滑竿配合进行滑动,随后在衔接环移动中可很好的通过喷嘴向其机械零件外表面喷洒磁粉悬浮液。

标签:
无损检测
陕西 - 西安 来源:中冶有色网 2023-03-19
多自由度无损检测台
多自由度无损检测台 738     
 0

本实用新型涉及多自由度无损检测台,包括自动台架及夹持装置,自动台架包括沿Z向升降的升降台及安装于升降台上、沿X向滑动的水平滑台,还包括安装于水平滑台上、沿Z轴360°旋转的电动旋转台,以及安装于电动旋转台上、沿X轴360°旋转的试验台架,夹持装置包括回转支撑架体、前卡爪组合和后卡爪组合,回转支撑架体包括两个纵梁及分别安装于两个纵梁两端的横梁,试验台架包括安装于两个横梁上的滑动轮,以及驱动其一滑动轮转动而带动夹持装置沿X轴360°旋转的驱动装置,还包括安装于电动旋转台上的底座,以及分别安装于底座上的、插设于两个滑动轮间的支架。本实用新型能够多自由度运动,且能满足回转体的位置调整需求。

标签:
无损检测
陕西 - 西安 来源:中冶有色网 2023-03-19
心脏功能无损伤自动检测仪

一种属于医疗器械技术领域的与B超仪配套使用的心脏功能无损伤自动检测仪。它由数据交换存贮(1)、打印机接口(2)、微机(3)、B超控制信号接口(4)、心电、心音、颈动脉数据存贮(6)、B超主机的心电、心音、颈动脉数据及控制信号接口(7)组成。本装置结构简单,操作灵活,使用方便,只要对现有B超机作适当的改造,就可使原有机器一机多用。使B超诊断仪向多功能及技术密集型方向迈进一大步。

标签:
无损检测
陕西 - 西安 来源:中冶有色网 2023-03-19
面向无损检测的自适应压缩感知的重建方法

本发明提出一种面向无损检测的自适应压缩感知的重建方法,将高维几何关系矩阵M进行降维,降维后的矩阵大大减少了内存存储空间,结合压缩感知理论,在利用l1范数最优化方法求解方程的迭代过程中加快计算速度。和现有重建方法比较具有精度高,内存占用少,对硬件配置要求不高的特点。

标签:
无损检测
陕西 - 西安 来源:中冶有色网 2023-03-19
复合材料板的无损检测方法

一种复合材料板的无损检测方法,特别适用于T300/epoxy-3231复合材料,包括以下步骤:(1)对健康和有分层损伤的复合材料板分别进行冲击测试,得到复合材料板的应变信号;(2)分解EMU,提取第4阶IMF分量的能量贡献率作为损伤特征向量;(3)将健康和有分层损伤复合材料板的损伤特征向量作为训练样本,采用支持向量机进行训练,得到训练好的样本;(4)将损伤状态未知的复合材料板的应变信号代入到训练好的样本中,判定复合材料板是否出现分层损伤。

标签:
无损检测
陕西 - 西安 来源:中冶有色网 2023-03-19
钢丝绳无损检测用环形磁铁的组装装置

本实用新型公开了一种钢丝绳无损检测用环形磁铁的组装装置,包括木质底座,木质底座的上部设置有铝质空心台座,铝质空心台座上设置有木芯棒,木芯棒上套设有铝制轭,铝制轭的上部套设有铝制空心限位环,铝制空心限位环与木芯棒之间形成用于装配环形磁铁的装配空间,装配空间内设置有铝填充料。本实用新型的结构简单,设计合理,实现方便且成本低,能够有效应用在多段式环形磁铁的组装中,安全可靠,操作方便,使用效果好,便于推广使用。

标签:
无损检测
陕西 - 西安 来源:中冶有色网 2023-03-19
列车轨道无损检测装置
列车轨道无损检测装置 1009     
 0

本实用新型公开了一种列车轨道无损检测装置,包括机械悬挂装置与连接板,所述机械悬挂装置的右端一侧设置有连接板,所述机械悬挂装置与连接板通过焊接连接,所述连接板的右侧下端设置有扣件,所述机械悬挂装置的内部下端设置有导轨,所述支撑杆的上端设置有连接件,所述连接件的右侧连接有放置板,所述放置板的右端设置有握把,本实用新型通过在放置机器设备的底板的两侧设置可以进行高低调节的具有调节功能的升降杆,具有调节功能的升降杆的设置相比较现有的直接使用卡扣件直接扣接在机器设备要更加的稳固,当机器设备放置在底板上面时,可以通过升降杆调节高度,将机器设备固定在底板上面。

标签:
无损检测
陕西 - 西安 来源:中冶有色网 2023-03-19
无损检测的支架
无损检测的支架 917     
 0

本发明公开了一种无损检测的支架,包括安装板、第一固定柱和第二固定柱,所述第一固定柱两侧的顶端铰接有连接板,且连接板一侧的顶端竖向安装有第二固定柱,所述第二固定柱的顶端横向安装有固定箱,且固定箱内部的中间位置处横向转动连接有丝杆,且丝杆表面中间位置处的两侧螺纹连接有杆块,所述杆块的顶端横向安装有调节台,且调节台内部顶端的两侧转动连接有转动块,所述转动块两侧的下端安装有限位转杆,所述转动块的顶端横向安装有调平板,所述调平板顶端的一侧横向铰接有安装板。本发明通过设置第一固定柱和第二固定柱,使得在不使用时,可以将本支架折叠,减少体积,便于使用者将其携带。

标签:
无损检测
陕西 - 西安 来源:中冶有色网 2023-03-19
飞机外壳隐身涂层的无损检测装置

本实用新型公开了一种飞机外壳隐身涂层的无损检测装置,底座一端顶部设置有竖向的支撑杆,气缸的伸缩头与第二横板固定连接,第二横板通过竖向的活动杆与框体固定连接;底座另一端内部设有腔体,腔体内部安装有水平方向的丝杆,丝杆与螺母座螺纹连接,螺母座与移动支架固定连接,移动支架内部设有立柱,立柱上端伸出移动支架与放置盘固定连接;立柱外壁焊接有第一锥齿轮,第一锥齿轮一侧啮合连接有第二锥齿轮,第二锥齿轮的中心轴沿水平方向贯穿移动支架并与第二电机的输出轴固定连接。本实用新型采用同一设备能够得到待测试样的微波反射率和不同入射方向的微波反射率,且互不干扰,提高准确性、检测效率的同时增强了适用性。

标签:
无损检测
陕西 - 西安 来源:中冶有色网 2023-03-19
轨道机车无损检测的控制回路

本实用新型涉及一种轨道机车无损检测的控制回路。火车作为一种主要的运输工具,其工作环境比较恶劣,其行走部件的磨损、裂纹、剥离等损坏现象十分常见。本实用新型包括依次连接的声波发射传感器、整形滤波电路、A/D转换电路、控制器,控制器连接有报警电路、对比分析电路、存储模块,对比分析电路与存储模块连接,控制器通过无线通讯模块与上位机连接。本实用新型通过声波发生传感器将采集的声波信息进行储存后,在与之前的信息进行比对及时发现问题,并通过报警电路报警,设置定位模块控制总机及时掌握机车的位置并安排最近的维修部分进行抢修,检测数据准确,安全可靠,不影响机车的正常运行。

标签:
无损检测
陕西 - 西安 来源:中冶有色网 2023-03-19
超声波高效精准的试件无损检测装置及方法

本发明公开了一种超声波高效精准的试件无损检测装置,包括安装座,安装座的一侧安装有滑杆,滑杆的两侧固定安装有固定套,固定套连接有弹簧,弹簧的自由端连接有活动套,活动套滑动安装在滑杆上,两侧固定套的周圈铰接有活动杆,两侧活动杆的另一侧铰接有横板,其中一侧活动杆铰接有连杆,连杆的另一侧铰接安装在活动套上,横板安装有蓄电池,蓄电池的输出端连接有两组伺服电机,两组伺服电机安装在蓄电池的两侧,伺服电机的动力输出端连接有旋转杆,旋转杆的两侧安装有轴承座,旋转杆安装有蜗杆,蜗杆啮合连接有涡轮,涡轮连接有传动杆,传动杆连接有锁座,锁座安装在横板上,传动杆的两侧安装有滚轮,蓄电池的顶部安装有检测机构。

标签:
无损检测
陕西 - 西安 来源:中冶有色网 2023-03-19
用于锅炉无损检测的支撑装置

本实用新型公开了一种用于锅炉无损检测的支撑装置,包括基座、支撑架和活动板,所述基座为长方体结构且底端面上阵列分布有多个万向轮,所述基座的上表面对称安装有两个凸台,所述凸台的上表面开设有滑道,所述滑道的内部设有丝杆,所述丝杆的外壁上螺纹连接有支撑架,所述支撑架远离丝杆的一端开设有卡槽,所述卡槽的内部活动连接有卡块,所述卡块上开设有缓冲槽,所述缓冲槽的内部安装有多根弹簧,所述弹簧上连接有推架,所述推架上开设有凹槽,且凹槽的内部安装有滚轮。本实用新型通过简单的结构设计,便于在使用时对锅炉进行全方位的检测,具有较高的实用性。

标签:
无损检测
陕西 - 西安 来源:中冶有色网 2023-03-19
基于卷积神经网络的超声无损检测信号分类方法

本发明公开了一种基于卷积神经网络的超声无损检测信号分类方法,采集超声A扫描信号并进行预处理,然后将预处理后带有对应标签的A扫描信号图像输入搭建的CNN神经网络,对神经网络的各层权重及偏置参数进行训练,通过对学习率和学习迭代次数的调整以提高CNN神经网络对于信号特征的识别准确率,随后将未带有标签的A扫描信号输入至训练好的CNN神经网络,通过超声A扫描信号实现对检测缺陷有无、缺陷深度精确多分类的功能。本发明能够实现基于超声A扫描信号的缺陷分类功能,计算准确率高,网络结构简单。

标签:
无损检测
陕西 - 西安 来源:中冶有色网 2023-03-19
热栅格扫描热波无损薄膜厚度检测方法

本发明公开了一种热栅格扫描热波无损薄膜厚度检测方法,本发明沿直线匀速移动所述栅格热源,且栅格热源的移动轨迹平行于薄膜所在平面,并通过热像仪记录薄膜表面温度信号;通过数据处理系统分析步骤二得到的温度信号,拟合出薄膜表面各点温度信号的幅值和相位;针对所测材料的属性,预先标定其幅值和相位随厚度变化的规律;通过对比薄膜表面热波信号的幅值和相位,根据标定好的厚度规律,拟合得到薄膜的厚度及厚度分布。本发明采用空间分布的稳态热波对薄膜厚度进行检测,而不是采用热波瞬态响应信号,因此对热像仪的采样频率要求极低,对信号灵敏度要求也极低。

标签:
无损检测
陕西 - 西安 来源:中冶有色网 2023-03-19
基于磁力耦合效应的管线无损应力检测试验系统及方法

本发明提供基于磁力耦合效应的管线无损应力检测试验系统及方法,系统包括试件、励磁装置、磁感应测量装置、加载试验装置和数据采集装置,所述励磁装置包括励磁线圈和直流电源,所述励磁线圈缠绕在试件上,通电之后对试件进行磁化,所述磁感应测量装置包括磁感应测量探头,所述加载装置包括应变片、夹具,所述应变片设置在试件上测试试件受到的加载力,所述夹具用于固定和对试件施力,所述磁感应测量装置和加载试验装置和数据采集装置连接,所述数据采集装置包括A/D转换器和PC机,用于处理分析测得的应力以及磁场强度。基于该系统对试件进行磁感应强度和应力测量,确定磁化关系曲线,建立磁感应强度与应力模型,为在役管道实时检测提供了理论依据。

标签:
无损检测
陕西 - 西安 来源:中冶有色网 2023-03-19
金属预埋件承重力无损检测仪

本实用新型公开了一种金属预埋件承重力无损检测仪,包括金属预埋件、隧道顶部、支撑架、电磁铁、电磁铁支撑架、传力杆、固定杆、液压泵以及液压平台,所述金属预埋件固定设置在隧道顶部,所述电磁铁顶部通电后吸附在金属预埋件底部,并由支撑架支撑,电磁铁底部设置有电磁铁支撑架,且电磁铁底部还设置有传力杆,所述传力杆两侧设置有固定杆,传力杆底部设置有拉拔仪,所述电磁铁支撑架底端设置有四个液压泵,四个所述液压泵底端均与液压平台固定连接。本实用新型通过电磁力的吸附作用,避免了对待检测金属预埋件的损害及焊接切割风险,由拉力传感器控制拉力大小,准确的观测到金属预埋件的承重情况。

标签:
无损检测
陕西 - 西安 来源:中冶有色网 2023-03-19
无损检测用智能超声波探伤仪

本实用新型公开了无损检测用智能超声波探伤仪,主要解决现有技术中存在的超声波探伤仪需要多人协同使用,耗费人力的同时也不利于快速检测的问题。该探伤仪包括用于发射超声波进行检测的发射器,用于接收发射器反馈信号的换能器,以及通过信号线与发射器和换能器连接的操作器;所述发射器和换能器上均套有吸附罩,所述操作器背部还设有用于穿过绑带的安装槽孔。通过上述方案,本实用新型达到了可一人操作,提高测试效率的目的,具有很高的实用价值和推广价值。

标签:
无损检测
陕西 - 西安 来源:中冶有色网 2023-03-19
ITER内部线圈多层套管结构偏心的在线无损检测方法

一种ITER内部线圈多层套管结构偏心的在线无损检测方法,在推算的频率范围对内部线圈进行涡流扫频实验,得到多个测量点的阻抗信号,求得各频率下其平均值,并求取内部线圈与标定结构间的转换复数数组,通过转换复数数组得到多个测量点的阻抗差分信号,然后选择阻抗差分信号极值所对应的频率作为检测最佳频率,随后从阻抗差分信号-偏心距离标定曲线组摘取最佳频率所对应的阻抗差分信号-偏心距离标定曲线,最后在阻抗差分信号-偏心距离标定曲线求取阻抗差分信号极值所对应的偏心距离,即为实际内部线圈的偏心距离;本发明方法能够对多层套管偏心距离进行定量检测,具有操作简单,易实现,数据量小的优点,可广泛用于ITER中IVCs多层套管结构的偏心距离在线测定。

标签:
无损检测
陕西 - 西安 来源:中冶有色网 2023-03-19
风电叶片超声无损检测装置及方法

本发明公开了一种风电叶片超声无损检测装置及方法,包括:检测组件,所述检测组件包括连接线、探头及超声波探伤仪本体,超声波探伤仪本体与连接线的一端连接,连接线的另一端与探头连接;支撑组件,支撑组件与连接线活动连接;升降组件,升降组件与支撑组件连接,通过升降组件带动支撑组件移动,继而带动连接线移动,以改变探头与超声波探伤仪本体之间的距离;防护组件,在非工作状态时,探头位于所述防护组件内。所述支撑组件包括支撑架及两组圆辊,连接线位于两组圆辊之间,且连接线与圆辊相接触,两组圆辊分别与支撑架活动连接,支撑架的底部与升降组件相连接,该装置及方法能够避免探头在不使用时暴露在外界,同时连接线能够进行拉伸。

标签:
无损检测
陕西 - 西安 来源:中冶有色网 2023-03-19
强力传送带安全无损检测的控制回路

本发明涉及一种强力传送带安全无损检测的控制回路。由于强力输送带荷载量增加,被障碍物划伤及老化等原因而产生钢丝绳芯断裂、锈蚀或接头伸长等故障,一旦发生故障将会造成重大安全事故而停产,运输物料的损耗,设备的损坏,巨大的经济损失和人员伤亡,严重影响安全生产。本发明包括依次连接的红外线发射器组、切换电路、光电转换电路、采集电路、控制器,所述的红外线发射器组、切换电路、光电转换电路、采集电路、控制器均与电源连接;控制器连接有报警电路,控制器通过RS485通讯接口与上位机连接。本发明准确性高、安全可靠、安装使用方便、在线实时检测,能够避免重大安全事故的发生,减少运输物料的损耗和经济损失,提高生产效率。

标签:
无损检测
陕西 - 西安 来源:中冶有色网 2023-03-19
便携式无损检测辅助照明装置

本实用新型公开了一种便携式无损检测辅助照明装置,包括保护外壳、灯珠面板、LED灯珠、控制开关、蓄电池和防滑手柄;控制开关设置于防滑手柄的中部,蓄电池安装在防滑手柄内部,灯珠面板设置于防滑手柄的前端,灯珠面板上设置有若干LED灯珠,蓄电池通过控制开关与LED灯珠连接。本实用新型便于检验人员现场使用、为检测环境提供泛光均匀、照度足够的光照条件,从而更好保证相关检测质量。

标签:
无损检测
陕西 - 西安 来源:中冶有色网 2023-03-19
上一页 19 20 21 22 23 ... 27 下一页
共27页    到第

中冶有色为您提供最新的陕西西安有色金属无损检测技术理论与应用信息,涵盖发明专利、权利要求、说明书、技术领域、背景技术、实用新型内容及具体实施方式等有色技术内容。打造最具专业性的有色金属技术理论与应用平台!

全国热门有色金属设备推荐
展开更多 +
全国热门有色金属技术推荐
展开更多 +

 

江西省隆恩特环保设备有限公司
宣传

报名参会
更多+

报告下载

有色专家
更多+

南方科技大学
外籍院士
武汉科技大学
校学术委员会主任 / 教授
北京科技大学
主任/教授
任灵宝金源矿业股份有限公司
技术发展部经理
中南大学
教授、博士生导师
赤泥综合利用研究报告2025
推广

热门技术
更多+

推荐企业
更多+

福建省金龙稀土股份有限公司
宣传

发布

在线客服

公众号

电话

顶部
咨询电话:
010-88793500-807