青岛垚鑫智能科技有限公司
宣传

位置:中冶有色 >

有色技术频道 >

> 复合材料技术

分类:
全部
矿山技术
冶金技术
材料制备及加工技术
环境保护技术
分析检测技术
 
全部
功能材料技术
复合材料技术
新能源材料技术
合金材料技术
加工技术
地区:
全部
北京
天津
上海
重庆
河北
山西
辽宁
吉林
黑龙江
江苏
浙江
安徽
福建
江西
山东
河南
湖北
湖南
广东
海南
四川
贵州
云南
陕西
甘肃
青海
内蒙
广西
西藏
宁夏
新疆
其他
其他
展开
 
全部
广州
韶关
深圳
珠海
汕头
佛山
江门
湛江
茂名
肇庆
惠州
梅州
汕尾
河源
阳江
清远
东莞
中山
潮州
揭阳
云浮

广东佛山有色金属复合材料技术理论与应用

免费发布技术信息>>
抗菌除醛的3D打印用聚氨酯复合材料

本发明公开了一种抗菌除醛的3D打印用聚氨酯复合材料,其由以下重量份计的原料组成:聚氨酯90~100份,复合填料5~10份,功能材料1~5份,石墨烯0~5份,光稳定剂0.1~1份,偶联剂5~10份,流平剂0.1~2份,分散润滑剂1~6份和抗氧剂0.1~1份;其中,所述功能材料包括纳米银/TiO2抗菌材料与多壁碳纳米管/纳米ZnO除醛材料。本发明利用硅藻土的吸附和缓释功能,胶囊缓释技术,将抗菌及除醛材料存储在硅藻土中并缓慢的释放出来,最大程度的增加产品的抗菌及除醛效果;而且制得的所述热塑性聚氨酯复合材料还具有良好的柔韧性和优异的力学性能,进一步拓宽了3D?打印的应用范围。

标签:
复合材料
广东 - 佛山 来源:中冶有色网 2023-03-18
复合材料载人无人机
复合材料载人无人机 1061     
 0

本发明公开了一种复合材料载人无人机,包括:带有分别由相应电机驱动的三轴以上的无人机、设置在无人机上的执行模块、通过无线分别控制无人机和执行模块的控制终端以及用于给执行模块提供电能的电池;执行模块包括:照明系统、雷达生命探测仪、GPS定位系统和/或高清摄像头;还包括:十个以上的探测破碎无人机、十个以上的喷水无人机以及十个以上的灭火球无人机。本发明公开的照明救援侦查复合材料无人机群,六旋翼可以为人们提供一个俯瞰世界的角度,可以将灾区的图像实时的传输出来,使救援人员对受灾情况有一个整体的了解,同时雷达生命探测仪能够对灾区的生命体进行检测,能够对生命体进行救援。

标签:
复合材料
广东 - 佛山 来源:中冶有色网 2023-03-18
3D打印用的热塑性聚氨酯复合材料

本发明公开了一种3D打印用的热塑性聚氨酯复合材料,其由以下重量份计的原料组成:聚氨酯90~100份,复合无机填料5~10份,石墨烯0~5份,光稳定剂0.1~1份,偶联剂5~10份,流平剂0.1~2份,分散润滑剂1~6份和抗氧剂0.1~1份;其中,所述复合无机填料由石墨烯/SiO2复合填料和多壁碳纳米管/碳酸钙复合填料组成。制得的所述热塑性聚氨酯复合材料具有良好的柔韧性和优异的力学性能,进一步拓宽了3D?打印的应用范围,如可用于3D?打印技术中的选择性激光烧结技术、熔融沉积技术、光固化成型技术或分层实体制造技术;通过添加复合无机填料的改善了热塑性聚氨酯的激光烧结性能,并通过多次试验获得科学配比,实现较佳的3D打印制品的力学性能。

标签:
复合材料
广东 - 佛山 来源:中冶有色网 2023-03-18
恒定横截面叶片、成型方法、及构成的水平轴风力发电机叶轮

本发明涉及一种恒定横截面纤维增强树脂复合材料叶片,以及这种叶片的拉挤成型方法,以及由这种叶片构成的风力发电机叶轮。叶片可以是多段拉挤成型的不同弦长的叶片片段的组合结构;这种拉挤成型的叶片具有非常高的质量稳定性和高精度的外部几何型面;这种轻薄的叶片依靠一种拉索结构固定在叶轮的轮毂上,可构成定桨矩或变桨矩叶轮。本发明能够轻易地实现水平轴风力发电机需要的大直径叶轮,气动型面精度高、受力变形挠度小、长叶片扫风面积大,实现了理想的捕风效果,本发明能够制造出大功率、高效率、低成本风机。

标签:
复合材料
广东 - 佛山 来源:中冶有色网 2023-03-18
耐候导热PP‑PE‑PET复合材料及其制备方法

本发明公开了一种耐候导热PP‑PE‑PET复合材料及其制备方法,其技术方案要点是:按重量百分比由以下组分组成:PP树脂26~44.5%,PE树脂5~10%,PET树脂8~15%,相容剂3~6%,导热剂体系30~50%,光稳定剂0.5~1.5%,其它助剂0.5~2.5%。本发明的一种耐候导热PP‑PE‑PET复合材料,满足新的技术要求,具有良好的耐候导热性。

标签:
复合材料
广东 - 佛山 来源:中冶有色网 2023-03-18
轴承保持架专用聚酰胺复合材料及其制备方法

本发明公开了一种用于轴承保持架的聚酰胺复合材料及其制备方法,其技术方案要点是:按照重量百分比计算,由下列组分组成:聚酰胺45~65%,增强剂25~45%,增韧相容剂3~7%,润滑剂1~5%,防老化剂1~1.2%,抗氧剂1~3%。本发明的一种用于轴承保持架的聚酰胺复合材料,解决聚酰进行增强改性后,耐油性不佳、表面光泽度差、长期使用后性能下降、成本高、摩擦系数高等问题。

标签:
复合材料
广东 - 佛山 来源:中冶有色网 2023-03-18
含“三位一体”阻燃剂的聚丙烯阻燃复合材料及其制备方法

本发明涉及一种含“三位一体”阻燃剂的聚丙烯阻燃复合材料及其制备方法,特点是:先将55‑85%的聚丙烯及0.1‑5%的润滑剂投入到高速混合机中高速分散2‑5分钟,得到混合物;然后将混合物与14.5‑40%的膨胀型阻燃剂及0.1‑0.5%的抗氧剂混合5‑20分钟,得到膨胀型阻燃混合物;再将膨胀型阻燃混合物用双螺杆挤出机挤出造粒或用双辊混炼机混合均匀,得到含“三位一体”阻燃剂的聚丙烯阻燃复合材料,双螺杆挤出机各区的温度或用双辊混炼机各区的温度设置在150‑220℃之间。在改善阻燃剂的耐热性、耐水性的同时,通过阻燃剂的结构设计与调整,提高阻燃阻燃效率,降低水溶性能和迁移性。

标签:
复合材料
广东 - 佛山 来源:中冶有色网 2023-03-18
负载锰氧化物的分子筛复合材料的制备方法及其应用

本发明公开了一种负载锰氧化物的分子筛复合材料的制备方法,包括以下步骤:包括以下步骤:S1、对分子筛进行酸化热处理并干燥,将干燥后的分子筛放入过氧化氢溶液浸泡后取出,随后在600~800℃下置于N2和H2混合气体中反应预设时间后取出;S2、将步骤S1所得的分子筛放入二价锰溶液中,浸渍后加入高锰酸钾溶液,搅拌反应;S3、将步骤S2所得的分子筛进行洗涤干燥,得到成品;步骤S2中,所述分子筛在二价锰溶液中的质量浓度为0.1~1g/L;所述二价锰溶液与高锰酸钾溶液的加入量之比为(1~3):(1~3)。本发明提供的负载锰氧化物的分子筛复合材料的制备方法原材料廉价,来源广,工艺操作简单,易产业化。

标签:
复合材料
广东 - 佛山 来源:中冶有色网 2023-03-18
含聚合物型单分子阻燃剂的聚乳酸乳酸阻燃复合材料及其制备方法

本发明涉及一种含聚合物型单分子阻燃剂的聚乳酸阻燃复合材料及其制备方法,特点是:先将65‑90%的聚乳酸及0.1‑5%的润滑剂投入到高速混合机中高速分散2‑5分钟,得到混合物;然后将混合物与9.5‑30%的膨胀型阻燃剂及0.1‑0.5%的抗氧剂混合5‑20分钟,得到膨胀型阻燃混合物;再将膨胀型阻燃混合物用双螺杆挤出机挤出造粒或用双辊混炼机混合均匀,得到含聚合物型单分子阻燃剂的聚乳酸阻燃复合材料,双螺杆挤出机各区的温度或用双辊混炼机各区的温度设置在150‑230℃之间。其优点为:改善了阻燃剂的耐热性、耐水性的同时,通过阻燃剂的结构设计与调整,制备高效的阻燃体系。

标签:
复合材料
广东 - 佛山 来源:中冶有色网 2023-03-18
耐候复合材料及其制备方法

本发明公开了一种耐候复合材料,所述材料由如下按质量组分组成:聚酰胺60‐75份,ABS25‐35份,相容剂1‐2份,增强填充剂15‐25份,抗紫外剂1‐3份,防老剂2‐4份。本发明提供了一种耐候复合材料及其制备方法,本PA/ABS合金材料具有良好的耐候性,且强度高,使用寿命长,综合性能优异。

标签:
复合材料
广东 - 佛山 来源:中冶有色网 2023-03-18
塑料包装复合材料及其制备方法

本发明公开了一种塑料包装复合材料及其制备方法,包括以下具体材料份数,其中聚甲基丙烯酸甲酯1‑3份、聚苯乙烯3‑5份、丁二烯‑苯乙烯共聚物1.2‑2.5份、二苯甲烷二异氰酸脂3.5‑9份,聚四氟乙烯6‑12份、聚偏氟乙烯6‑12份、聚丁二烯5‑8份、聚全氟乙丙烯5‑10份、聚丙烯7‑14份、环氧树脂2‑5份、聚苯硫醚4‑8份,环氧乙烷2‑6份、竹纤维1.5‑5份、玉米淀粉1.2‑3.5份、秸秆纤维3‑5份、分散剂0.5‑1.4份、抗氧剂0.7‑1.5份、相容剂0.8‑1.6份。本发明设计的塑料包装复合材料,弹性好,并且可进行回收利用,同时具备可降解性,拉伸强度好,抗冲击效果好,整个加工工艺简单,适宜量化生产。

标签:
复合材料
广东 - 佛山 来源:中冶有色网 2023-03-18
高光泽耐磨PPO复合材料及其制备方法

本发明涉及一种高光泽耐磨PPO复合材料。包括有以下重量份数的原料:PPO树脂51.5~66.5份;POK树脂15~20份;光泽耐磨剂5~20份;相容剂8‑15份;抗氧剂0.3~0.6份;其它助剂0.1~0.4份;所述光泽耐磨剂由AS树脂与聚四氟乙烯混合制备而成。上述PPO复合材料,具有高耐磨性,同时兼具良好的外观光泽度和优异的力学性能。

标签:
复合材料
广东 - 佛山 来源:中冶有色网 2023-03-18
板材用高强度抗腐蚀木塑复合材料及其制备方法

本发明公开了一种板材用高强度抗腐蚀木塑复合材料及其制备方法,其由下列重量份的原料配制而成:木粉100-120、氯化聚乙烯20-30、聚丁二烯橡胶8-10、己二酸二丁基二甘酯2-4、镁强粉3-5、三硫化二锑5-10、纳米勃姆石10-15、双(二辛氧基焦磷酸酯基)乙撑钛酸酯3-5、甲基丙烯酰氧基硅烷5-8、空心微珠14-18、高硼硼酸钙6-7、4-羟甲基-2,6-二叔丁基苯酚?3-4、月硅酸钙8-10、对苯二甲酸二甲酯10-12、乙烯-辛烯共聚物5-7、亚磷酸三苯酯6-8、活性碳酸钙40-50、石膏晶须4-6、聚磷酸铵12-14、甘蔗蜡5-9、二甲基硅油7-8。本发明制得的木塑复合材料不仅具有优异的阻燃性,还具有优异的力学性能、抗腐蚀性能和抗老化性能,延长了材料的使用寿命。

标签:
复合材料
广东 - 佛山 来源:中冶有色网 2023-03-18
低翘曲的3D打印用复合材料

本发明公开了一种低翘曲的3D打印用复合材料,其由以下重量份计的原料组成:尼龙50~60份、PHA5~10份、相容剂1~5份、复合无机填料10~20份、偶联剂1~2份、受阻酚抗氧剂0.1~0.5份、亚磷酸酯抗氧剂0.5~1份、其它助剂0.1~0.5份,其中,所述尼龙与PHA的重量比为1:(0.1~0.15),所述复合无机填料由石墨烯/SiO2复合填料和石墨烯/碳酸钙复合填料组成。该低翘曲的3D打印用复合材料,不仅具有极低的收缩性、良好的尺寸稳定性以及良好的粘性,不易起翘;还具有优异的力学性能,进一步拓宽了3D打印的应用范围。

标签:
复合材料
广东 - 佛山 来源:中冶有色网 2023-03-18
用于光扩散复合材料的生产装置

本实用新型公开一种用于光扩散复合材料的生产装置,包括高混机、料仓、挤出机、水浴槽、切粒机和振动筛,高混机与料仓连接,料仓与挤出机相连,挤出机与水浴槽连接,水浴槽与切粒机连接,切粒机与振动筛连接;还包括不少于一个的倒料站和计量称,各倒料站分别与料仓连接,各料仓与所述计量称连接;挤出机为双螺杆挤出机,挤出机上设有主进料斗和侧进料斗,一部分计量称与主进料斗连接,另一部分计量称与侧进料斗连接。本实用新型通过增设倒料站和计量称,有效提高了生产效率和计量精度高;同时双螺杆挤出机使最终产品能保持良好的透光性、雾度、分散性,还拥有优异的拉伸强度和弯曲强度等机械性能,降低了材料的气味,且可以提高复合材料的产量。

标签:
复合材料
广东 - 佛山 来源:中冶有色网 2023-03-18
卫生用品行业复合材料的结构

本实用新型公开了一种卫生用品行业复合材料的结构,包括蓬松无纺布层和ES材料层,ES材料层连接在蓬松无纺布层的一侧。将ES纤维加木浆纤维/ES纤维与蓬松无纺布纤维通过热风成型生成复合材料,取代了无尘纸+热熔胶+蓬松无纺热风布两层材料,在保证原有性能的情况下,解决了蓬松无纺布材料易拉伸和蓬松度的问题。

标签:
复合材料
广东 - 佛山 来源:中冶有色网 2023-03-18
碳纤维复合材料的烘干装置

本实用新型属于烘干设备技术领域,尤其为一种碳纤维复合材料的烘干装置,包括底板,所述底板的上端表面固定连接有立固板,一个所述立固板的一侧表面固定连接有实心杆,另一个所述立固板的一侧表面固定连接有空心杆,所述实心杆和空心杆的外围均套设有套环,所述空心杆的一端外围固定连接有限位环,所述套环的外围固定连接有连接杆,所述连接杆的下端固定安装有夹固夹,所述立固板上开设有导向滑槽,所述导向滑槽的内壁滑动连接有导向滑块。本实用新型通过设置夹固夹以及防摆框,使得碳纤维复合材料在烘干之前,首先可以得到想应的夹固,随后还能在防摆框的防护下阻止自身的摆动,从而让整体在烘干的过程中不会产生轻易掉落。

标签:
复合材料
广东 - 佛山 来源:中冶有色网 2023-03-18
复合材料真空液压成型机

本实用新型属于液压成型设备技术领域,具体公开了复合材料真空液压成型机,包括上梁板、下梁板和第一油缸,上梁板通过立柱与下梁板连接,立柱上滑动设有中梁板,第一油缸的缸体安装在上梁板,且第一油缸的输出端与中梁板连接,下梁板的顶面设有模具垫板和真空罩,模具垫板位于真空罩内,真空罩的侧壁设有真空连接口,中梁板的底部设有顶杆,顶杆的一端穿过真空罩,且顶杆靠近真空罩的一端设有配合模具垫板的上垫板,上垫板位于真空罩内,使得压制成型的复合材料的表面光滑,不存在气泡。

标签:
复合材料
广东 - 佛山 来源:中冶有色网 2023-03-18
天然纤维聚合物复合材料防潮排水地板

本实用新型提供了一种天然纤维聚合物复合材料防潮排水地板,包括板体、卡接槽和限位条,板体的左右端分别开口设置有和安装有卡接槽和限位条,天然纤维聚合物复合材料防潮排水地板还包括有限位孔、转杆、顶板、限位板、渗液孔、内管、连接管和外连接管,卡接槽的内部右侧横向开口设置有限位孔,限位条的内部嵌入设置有转杆,转杆的外壁顶部竖向固定有顶板,限位条的内部右侧滑动嵌入有限位板,板体的上表面开孔设置有渗液孔,板体的内部横向嵌入有内管,内管的后端和前端分别固定有连接管和外连接管。本实用新型具有良好的排水防潮性能,可避免水长时间附着在地板表面造成地板受潮和湿滑,同时组装拼接更加方便,地板组装后连接更加稳定。

标签:
复合材料
广东 - 佛山 来源:中冶有色网 2023-03-18
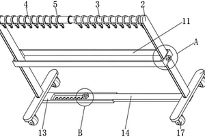
复合材料新型支架
复合材料新型支架 856     
 0

复合材料新型支架:本新型支架所采用的材料是一种复合材料,经挤压成型,挤压成各种型材形状,然后按各种支架形状要求裁料、钻孔,再用机械连结方式组合而成,强度高、重量小、耐用美观,不污染环境,生产安装简便,适于作为现有支架的更新换代产品。

标签:
复合材料
广东 - 佛山 来源:中冶有色网 2023-03-18
碳纤维塑料复合材料
碳纤维塑料复合材料 838     
 0

本发明公开了碳纤维塑料复合材料,包括以下重量份的原料:塑料树脂100‑150份、连续碳纤维100‑150份、溶剂200‑300份、抗氧剂1‑5份、润滑剂1‑5份,本发明显著提升了碳纤维塑料复合材料的弯曲强度以及弯曲刚性等机械性物理性质而且制备成本低。

标签:
复合材料
广东 - 佛山 来源:中冶有色网 2023-03-18
含有竹纤维的硫氧镁水泥基复合材料、复合板材及其制备方法

本发明属于新材料及环保技术领域,公开了一种含有竹纤维的硫氧镁水泥基复合材料,包括如下重量份成分:氧化镁50~60份;硫酸镁5~6份;水10~16份;固硫灰5~6份;竹纤维3~10份;大理石粉填料20~35份;轻质珍珠岩20~40份;柠檬酸1~2份;助剂适量。本发明的突出的贡献在于利用了固硫灰以提高板材的强度,同时实现了对于固硫灰的有效的重复利用。同时,本发明还提供了一种基于该复合材料而制备的板材以及板材的制备方法。

标签:
复合材料
广东 - 佛山 来源:中冶有色网 2023-03-18
三维双相纤维层增强树脂基复合材料及其制备方法

本发明提供一种三维双相纤维层增强树脂基复合材料及其制备方法。所述制备方法包括以下步骤:将玄武岩纤维布经表面刻蚀和羟基化处理获得纤维预制体A;将氧化镁纤维布浸泡硅溶胶溶液后在其表面铺设相诱变粉体,烘干,得到纤维前驱体B;将纤维前驱体B浸泡葡萄糖胺溶液,并用伽马射线辐照处理,得到经辐照改性的纤维预制体C;在纤维预制体A和纤维预制体C表面分别涂覆聚酰胺树脂溶液,叠层放置并压制成型,得到三维双相纤维层增强树脂基复合材料。本发明所述制备方法通过在纤维层的界面引入改性基团,有效地改善了纤维界面的微观结构和不同组向纤维之间的力学结合作用,在宏观上展现出了优异的力学性能。

标签:
复合材料
广东 - 佛山 来源:中冶有色网 2023-03-18
高强度耐冲击塑木复合材料的制备方法

本发明一种高强度耐冲击塑木复合材料的制备方法,方法包括:将木粉加入至干燥机中,干燥;将干燥后的木粉、聚乙烯以及聚氯乙烯加入至高混机中,混合后,再将分散剂、偶联剂、发泡剂以及填充剂加入至高混机中,混合,得到混料a;将玻璃纤维以及碳纤维加入至高混机中,混合得到混料b;将混料a从喂入口加入至双螺杆挤出机中,混料b从三区喂入口喂入,挤出,冷却,切粒,得到塑木复合材料。本方法通过碳纤维以及玻璃纤维对塑木材料进行改性,改性后的具有非常高的强度,耐冲击性能优异,可以将其应用在很多领域,成型多种产品,具有广阔的市场潜力。

标签:
复合材料
广东 - 佛山 来源:中冶有色网 2023-03-18
隔音屏蔽复合材料及其制备方法

本发明涉及一种隔音屏蔽复合材料,按重量份包含以下组分:聚氯乙烯树脂100份、空心材料10~30份、导电纤维1~5份、硅烷偶联剂3~8份、热稳定剂0.8~5份、润滑剂2~5份、增韧剂4~8份。本发明通过空心玻璃微珠或其他空心材料、导电纤维等组分改性高分子聚合物聚氯乙烯树脂,使得改性材料隔音屏蔽复合材料具有明显的电磁屏蔽效果和隔音效果。

标签:
复合材料
广东 - 佛山 来源:中冶有色网 2023-03-18
阻燃型ABS复合材料
阻燃型ABS复合材料 874     
 0

本发明公开了一种阻燃型ABS复合材料,由丁二烯-苯乙烯-丙烯腈接枝共聚物,阻燃剂,助剂等组分混合制备而成。本发明的阻燃型ABS复合材料,选择丁二烯-苯乙烯-丙烯腈接枝共聚物作为主要材料,添加十溴二苯乙烷为阻燃剂,并添加协效剂组成的阻燃体系在一定程度上减缓了ABS的热降解速度,提高了ABS材料在高温条件下的热稳定性。ABS材料具有良好的阻燃效果,使阻燃材料达到V‑0级。

标签:
复合材料
广东 - 佛山 来源:中冶有色网 2023-03-18
高温隔热的气凝胶复合材料

本发明公开一种高温隔热的气凝胶复合材料,包括SiO2气凝胶及掺杂的遮光剂,遮光剂在SiO2气凝胶自外表面开始逐层向内部分布设置有3~5层掺杂层;自SiO2气凝胶最外表面开始向内设置的第一掺杂层所用的遮光剂为碳黑,碳黑的粒径为2.7μm~2.9μm,且碳黑在第一掺杂层的质量百分含量为42~45%;其余各掺杂层所用的遮光剂为碳化硅,碳化硅的粒径为2.5μm~3.5μm,在各掺杂层的质量百分含量为75%~85%,从第二掺杂层开始逐层所掺杂的碳化硅的粒径变小且碳化硅在当前掺杂层的质量百分含量增加。本发明在1200℃下仍具有较高的孔隙率和比表面积,可在1200℃下使用,进一步提高了掺杂SiO2气凝胶复合材料的使用温度。

标签:
复合材料
广东 - 佛山 来源:中冶有色网 2023-03-18
具有导热功能的尼龙基复合材料及其制备方法

本发明公开了一种具有导热功能的尼龙基复合材料,其特征在于:其是由以下质量份的原料组成:60-80份的尼龙、1-20份的表面改性高效导热剂、1-5份的相容剂、0.5-1份的抗氧剂、0.5-1份的偶联剂。一种具有导热功能的尼龙基复合材料的制备方法,包括以下步骤:将各原料混合均匀,然后置于挤出机中进行熔融挤出、造粒即可。本发明的产品具有良好的导热性能,可以应用于照明、通讯系统的散热零部件。

标签:
复合材料
广东 - 佛山 来源:中冶有色网 2023-03-18
PP熔喷无纺布专用复合材料及其制备工艺

本发明公开了一种PP熔喷无纺布专用复合材料及其制备工艺,其特征在于,它主要由纳米碳酸钙、表面处理剂、POE、聚丙烯和聚异丁烯制成,纳米碳酸钙、表面处理剂、POE、聚丙烯和聚异丁烯的重量比为(95-110):(1-2):(4-6):(58-62):(1-3)。本发明过滤性能好、可纺性好、不滴浆、着色性能好、铺网均匀、克重正常、拉伸强度、柔软性能好、表面光泽度好,具有良好的推广价值。

标签:
复合材料
广东 - 佛山 来源:中冶有色网 2023-03-18
高光表面环保无卤阻燃PBT复合材料及其制备方法

本发明涉及高分子材料技术领域,公开了一种高光表面环保无卤阻燃PBT复合材料及其制备方法。该复合材料以PBT为主要原料,将PBT、PET、增韧剂、无卤阻燃剂、高光黑种、抗氧剂、润滑剂、玻璃纤维和偶联剂共混熔融挤出后造粒制成。本发明原料来源广泛,技术适应性好,生产成本低,所得工程塑料产品表面光泽度高,材料性能优异,冲击强度达到8.2KJ/m2以上,试样厚度1.6mm阻燃性能达到UL94V-0,燃烧过程产生较少黑烟及有毒气体,达到环保的级别。

标签:
复合材料
广东 - 佛山 来源:中冶有色网 2023-03-18
上一页 16 17 18 19 20 ... 38 下一页
共38页    到第

中冶有色为您提供最新的广东佛山有色金属复合材料技术理论与应用信息,涵盖发明专利、权利要求、说明书、技术领域、背景技术、实用新型内容及具体实施方式等有色技术内容。打造最具专业性的有色金属技术理论与应用平台!

全国热门有色金属设备推荐
展开更多 +
全国热门有色金属技术推荐
展开更多 +

 

江西省隆恩特环保设备有限公司
宣传

报名参会
更多+

报告下载

有色专家
更多+

江西理工大学
副校长
南昌航空大学
副院长/教授
矿冶科技集团有限公司
中国工程院院士
武汉科技大学
校学术委员会主任 / 教授
郑州大学
校长/党委书记
赤泥综合利用研究报告2025
推广

热门技术
更多+

推荐企业
更多+

福建省金龙稀土股份有限公司
宣传

发布

在线客服

公众号

电话

顶部
咨询电话:
010-88793500-807