青岛垚鑫智能科技有限公司
宣传

位置:北方有色 >

有色技术频道 >

> 复合材料技术

分类:
全部
矿山技术
冶金技术
材料制备及加工技术
环境保护技术
分析检测技术
 
全部
功能材料技术
复合材料技术
新能源材料技术
合金材料技术
加工技术
地区:
全部
北京
天津
上海
重庆
河北
山西
辽宁
吉林
黑龙江
江苏
浙江
安徽
福建
江西
山东
河南
湖北
湖南
广东
海南
四川
贵州
云南
陕西
甘肃
青海
内蒙
广西
西藏
宁夏
新疆
其他
其他
展开
 
全部
沈阳
大连
鞍山
抚顺
本溪
丹东
锦州
营口
阜新
辽阳
盘锦
铁岭
朝阳
葫芦岛

辽宁大连有色金属复合材料技术理论与应用

免费发布技术信息>>
含羧基侧基超支化聚芳醚共聚物固化改性环氧树脂组合物、其制备方法和应用

本发明提供含羧基侧基超支化聚芳醚共聚物固化改性环氧树脂组合物,主要包括含羧基侧基聚芳醚共聚物,环氧树脂,固化剂,固化促进剂。本发明还提供了该环氧树脂组合物的制备方法和应用,包括将含羧基侧基聚芳醚共聚物、环氧树脂、固化剂和固化促进剂混合加入有机溶剂,搅拌加热,程序性升温,所得环氧树脂组合物与无机物混合、固化、模压制备环氧树脂基复合材料。利用本发明方法制备的环氧树脂组合物的韧性得到显著改善,模量、耐热性和绝缘性有明显的提高,在航空航天,特种电子绝缘材料,耐高温涂料,层压板和先进复合材料等领域具有广泛的用途。

标签:
复合材料
辽宁 - 大连 来源:北方有色网 2023-03-18
高强度玻璃纤维木塑型材及其制备方法

一种高强度玻璃纤维木塑型材,其技术要点是,由以下重量份配比的原料制成:片状废旧塑料40~65份;40~120目木屑、锯末或/和刨花50~75份;40~120目糠粉15~25份;3mm~6mm无碱和/或中碱玻璃纤维8~15份;马来酸酐接枝聚乙烯6~10份;偶联剂3~4份;硬脂酸锌和/或聚乙烯蜡4~10份;UV-531?0.5~1份;AT-168?0.5~1份;偶联剂选自硅烷偶联剂、铝酸酯偶联剂或钛酸酯偶联剂的一种以上,马来酸酐接枝聚乙烯与偶联剂的投入量相同。从根本上解决了现有木塑复合材料在制备过程中亲水的木质纤维和疏水的的热塑性塑料基体的界面相容性、粘合性差、性能单向增长的现象等问题。

标签:
复合材料
辽宁 - 大连 来源:北方有色网 2023-03-18
电加热管道装置
电加热管道装置 933     
 0

一种用碳纤维复合材料制作的电热体电加热管道装置。其挂烧的搪瓷钢管外侧沿钢管锣旋卷绕式缠有碳纤维发热体,碳纤维发热体一端与温控器正负极直流电电源连接,温控器与漏电保护器电源开关连接,漏电保护器电源开关与变电器连接,变电器与交流电电源控制开关连接,碳纤维复合材料电加热体外设置包裹有耐温、阻燃、绝缘材料,耐温、阻燃、绝缘材料外包裹有保温、隔热材料,保温、隔热材料外包裹有铝泊纸,铝泊纸外包裹有防腐、防潮、绝缘、防水材料,包裹的各种材料均采用缠绕式,并根据各工序分别采用耐温、绝缘、防水等各种胶粘剂进行粘接。优点是:一次节能、环保、增效的技术革新,在加热技术方面有了崭新性的突破进展。

标签:
复合材料
辽宁 - 大连 来源:北方有色网 2023-03-18
三维同振夹心式水声接收器

一种三维同振夹心式水声接收器,其属于一种水下声压标量信号和质点振动加速度矢量信号接收装置。该水声接收器在采用低密度复合材料制作的正方体构架内,三个贯穿通道互为正交,六个平面位置相应设置了六对均采用压电晶片作为敏感元件的标量振子和矢量振子,在标量振子的外部采用聚氨酯材料密封形成透声水密球形外壳。使该水声接收器整体平均密度低,几何尺寸小,具有较好的余弦指向性和相位特性,利用上述优点可以解决声纳基阵设计问题。该水声接收器可以广泛应用于水声各领域,如声纳浮标系统、低噪声测量系统、双基地声纳系统、鱼雷导航系统、水下通讯系统、应答器等,完成低频测量任务。

标签:
复合材料
辽宁 - 大连 来源:北方有色网 2023-03-18
含羧基侧基聚芳醚共聚物及其制备方法

本发明提供了含羧基侧基聚芳醚共聚物及其制备方法。该共聚物是以酚酞啉及其含取代基衍生物与酚酞或其含取代基衍生物以及其它商品化双酚单体,在极性溶剂中、碱催化下,与双卤单体如4,4’-二氟二苯酮、4,4’-二氟二苯砜、4,4’-二氯二苯砜、1,4-二-4-氟苯酰基苯进行均聚或共聚合反应制得。其特点是在聚合物结构中带有羧基侧基,并且羧基的含量可调。通过在主链苯环上引入取代基,所制备的含羧基侧基聚芳醚聚合物在常用有机溶剂中具有很好的溶解性,适合作为膜分离材料,也可作为复合材料的增强增韧材料或键合型稀土聚合物的基体树脂材料。

标签:
复合材料
辽宁 - 大连 来源:北方有色网 2023-03-18
制备二氧化钛、二氧化锡及其掺杂复合纤维材料的方法

本发明属于纳米材料制备技术领域,涉及到制备纤维状二氧化钛、二氧化锡及其掺杂复合材料的方法。其特征是利用纤维材料为模板,以钛酸四丁酯、四氯化钛、四氯化锡或者混合物为前驱物,在低温5~280℃下,通过氮气或氩气等惰性气体携带前驱物和含氨水气进入反应器进行化学气相沉积,控制气体流量、沉积温度以及烧结气氛和温度条件。惰性气氛热处理获得负载型纤维材料;氧化性和反应性气氛下烧结处理,去除纤维模板,形成氧化物纤维材料。利用活性炭纤维模板及烧失处理形成多孔纤维或管状纤维材料。本发明的效果和益处是材料制备易于控制、操作简单。具有很高的实用价值和应用前景。

标签:
复合材料
辽宁 - 大连 来源:北方有色网 2023-03-18
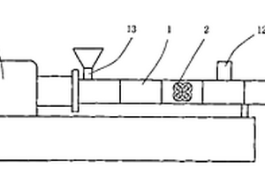
高效多螺杆挤出机
高效多螺杆挤出机 932     
 0

本发明涉及螺杆挤出机。高效多螺杆挤出机,主要由挤出机本体、机头、电机及传动装置组成,挤出机本体由机筒与4根相同直径双螺纹或单螺纹深螺槽螺杆组成,4根螺杆轴心呈正方形排列,无端无芯,作同向转动,相邻螺杆互相啮合构成4个啮合区。本发明与同类产品相比具有高度的混炼分散性能、脱挥排气性能及操作性,具有通用挤出机的所有特征,故可适用于聚合物的造粒、混炼、反应挤出、脱挥挤出等聚合物原料生产,聚合物合金与聚合物复合材料生产及聚合物加工成型等聚合物加工领域;可适用于食品材料的粉碎、混炼、加热加压等食品加工领域;可适用于建筑材料的混炼、脱气、挤出成型等建材加工领域。可满足从小规模到大规模生产机型的要求。

标签:
复合材料
辽宁 - 大连 来源:北方有色网 2023-03-18
去除水中溴化物的方法

本发明提供一种去除水中溴化物的方法,其特征在于使用经下述方法制备的纳米Mg-Al复合材料为吸附剂吸附去除水中溴化物:以可溶性的Mg、Al盐为前体,在碱性沉淀剂的作用下经共沉淀步骤制备得到。本发明的上述复合材料用于水中Br离子的净化,可在pH?3-7范围内,多种阴离子存在条件下,将水中的Br离子的浓度降低到符合世界卫生组织规定的标准。

标签:
复合材料
辽宁 - 大连 来源:北方有色网 2023-03-18
纳米催化发光检测石脑油中硫含量的方法及检测器

本发明公开一种纳米催化发光检测石脑油中硫含量的方法及检测器,其特征在于是以纳米催化发光检测器进行检测,检测器所用纳米材料为ZnO与Al2O3的纳米复合材料,ZnO与Al2O3的质量比为1∶1.5~3.5,检测波长为400~480nm,纳米材料加热温度范围300~400℃,空气作为载气,载气流速10~100ml/min。所检测的光信号与石脑油中的硫含量成线性关系,因此可以快速、准确检测石脑油中的硫含量,克服了现有检测方法所存在的仪器设备价格昂贵、分析时间长及准确性差的缺点。具有结构简单、易于操作、成本低廉(几万元)、选择性强、运行费用少、使用寿命长、灵敏度高及重现性好等优点。

标签:
复合材料
辽宁 - 大连 来源:北方有色网 2023-03-18
复合定形相变储热材料及其制备方法

本发明涉及一种复合定形相变储热材料及其制备方法,属于复合材料技术领域。该复合材料以多孔材料为支撑材料,无机水合盐为相变材料,通过多孔材料的毛细吸附作用及表面活性剂的自组装将无机水合盐吸附入支撑材料的多孔结构中制备而成。本发明首先通过表面活性剂的乳化分散作用将熔融的无机水合盐相变材料如六水合氯化钙在超声条件下乳化分散,形成稳定的乳液;然后将膨胀石墨加入乳液中,分散均匀,并将其放入真空烘箱中,抽真空,室温下恒定30min,从而制得相变潜热高、导热性能好且成本低廉的新型的复合定形相变储热材料。

标签:
复合材料
辽宁 - 大连 来源:北方有色网 2023-03-18
含硅芳香氰酸酯单体及其制备方法

本发明提供了一种含硅芳香氰酸酯单体及其制备方法。所述的氰酸酯树脂单体结构如上:式中N为2到4之间的整数。它们以氯硅烷为起始原料,先合成含硅芳香多酚单体,然后再与卤化氰反应制得。本发明所述的含硅芳香氰酸酯单体具有很高的反应活性,制备的树脂具有良好的抗热氧化性和抗湿性,适合作为一种新的高性能聚合物复合材料的基体,应用于印刷电路板和航空航天材料等领域,特别是其中的多官能团树脂,因为其独特的空间网络结构,尤其适合于低介电常数材料和多孔材料领域。

标签:
复合材料
辽宁 - 大连 来源:北方有色网 2023-03-18
离子交换树脂基炭小球的制备方法

本发明公开了一种利用离子交换树脂制备多孔炭小球的方法,具体为用有机胺型离子交换树脂催化硅酸酯水解,并吸附产生的硅酸,然后在高温下热解得到炭和氧化硅的复合材料,再除去复合材料中的氧化硅材料组分,得到多孔炭小球。该制备方法工艺简单,在中性条件下操作,对反应器的耐腐蚀要求低,且避免了利用离子交换树脂制备活性炭材料的活化过程,炭材料收率高,在催化和吸附分离领域具有广阔的应用前景。

标签:
复合材料
辽宁 - 大连 来源:北方有色网 2023-03-18
制备N,N-二甲基甲酰胺的方法

本发明涉及一种制备N,N‑二甲基甲酰胺(DMF)的方法。该方法以二甲胺和一氧化碳(CO)作为反应物,在催化作用下,通过CO插入的羰基化反应制备DMF。其反应条件如下:该反应在固定床反应器中进行,反应压力1.0~8.0MPa,反应温度150~250℃,二甲胺进料体积空速为50~800h‑1,CO的体积空速为50~800h‑1。该方法的特征是(1)该反应具有100%的原子经济性,无副产物的生成(2)以氧化物A‑金属‑氧化物B复合材料为催化剂,催化剂高选择性催化该反应,DMF的选择性达到99%以上,催化剂稳定性高,可500h连续运行。

标签:
复合材料
辽宁 - 大连 来源:北方有色网 2023-03-18
N-磷酸化肽富集方法
N-磷酸化肽富集方法 1143     
 0

本发明涉及一种N-磷酸化肽富集方法:经过β-消除去除肽段样品中O-磷酸化肽干扰,随后利用磁性介孔二氧化钛复合纳米材料富集样品中N-磷酸化修饰肽段。对于丝氨酸和苏氨酸的O-磷酸化修饰,通过碱性条件下的β-消除方法将其去除,形成稳定的脱氢丙氨酸和β-甲基脱氢丙氨酸。通过溶剂法合成四氧化三铁磁性纳米材料,溶胶凝胶法在其表面包覆二氧化钛,经过水热法扩孔得到磁性介孔二氧化钛纳米复合材料。该磁性介孔二氧化钛纳米复合材料能够在弱酸缓冲体系下的条件下对N-磷酸化肽进行特异性富集。这种β-消除结合特异性富集的方法用于样品中的N-磷酸化肽富集。

标签:
复合材料
辽宁 - 大连 来源:北方有色网 2023-03-18
果蔬保鲜用乙烯消除材料及其制备和应用

本发明为一种果蔬保鲜用乙烯消除材料及其制备和应用,涉及一种果蔬保鲜材料,具体地说是一种用于消除乙烯的氧化铜与氧化锰复合材料,氧化铜相对含量10%~50%。该复合材料能消除果蔬催熟剂乙烯,延长果蔬保鲜期限。

标签:
复合材料
辽宁 - 大连 来源:北方有色网 2023-03-18
在泡沫炭表面负载碳绳的方法

一种在泡沫炭表面负载碳绳的方法,属于无机非金属炭素材料科学技术领域。该方法是以聚酰胺酸作为泡沫炭的碳源,硝酸镍作为碳绳生长的催化剂,聚合物泡沫为泡沫炭模板,经氮气气氛下炭化制备载镍泡沫炭复合材料。利用得到的载镍泡沫炭为基体,以二氧化硫为促进剂,乙烯为碳绳生长碳源,经化学气相沉积法,实现在泡沫炭表面负载碳绳。这种在泡沫炭表面负载碳绳的复合材料兼具固体泡沫的结构特点以及准一维碳绳的结构和性质。可用作固定床反应器催化剂载体及油水分离等领域。

标签:
复合材料
辽宁 - 大连 来源:北方有色网 2023-03-18
NiFe2O4-MCS复合微波催化剂的制备方法及应用

本发明属于微波催化技术领域,具体涉及一种NiFe2O4‑MCS复合型微波催化剂的制备方法及应用。催化剂的制备方法为:首先于在高温中氮气气氛下碳化三聚氰胺‑甲醛泡沫,得到碳化海绵复合材料;再采用微波水热法,将硝酸镍、硝酸镍与三聚氰胺碳化海绵复合材料制成悬浮液,将其置于微波反应器中,进行反应;最后将悬浮液冷却,抽滤、洗涤、干燥沉淀物,得到负载型的NiFe2O4‑MCS微波催化剂。本发明方法制备过程简单快速,且安全系数高,提高单一铁酸镍的微波催化活性,催化效果好。催化剂用于微波诱导的氧化系统中,如废水中的有机物的降解处理,包括:抗生素、染料、农药等。

标签:
复合材料
辽宁 - 大连 来源:北方有色网 2023-03-18
固体氧化物电解池及其制备方法

本发明公开一种低温固体氧化物电解池及其制备方法,所述电解池包括氢电极层、电解质层、电子阻挡层、隔层、氧电极层,其中,氢电极层为NiO与掺杂的氧化铈LnxCe1‑xO2组成的复合材料,电解质层为掺杂的氧化铈基材料LnxCe1‑xO2,Ln为La、Gd、Sm、Pr、Er中的一种或多种,0.1≤x≤0.5,电子阻挡层为掺杂的氧化锆基材料MyZr1‑yO2,M为Y、Sc、Ce、Yb、La、Gd、Sm中的一种或几种,0≤y≤0.5,隔层为掺杂的氧化铈LnxCe1‑xO2,LnxCe1‑xO2,Ln为La、Gd、Sm、Y、Pr、Er中的一种或多种,0.1≤x≤0.5,氧电极为钙钛矿氧化物、类钙钛矿氧化物或钙钛矿氧化物与掺杂的氧化铈或类钙钛矿氧化物与掺杂的氧化铈构成的复合材料。本发明电解池具有优异的低温电解水制氢及供电解水和二氧化碳的性能。

标签:
复合材料
辽宁 - 大连 来源:北方有色网 2023-03-18
高速滑行艇的低阻桅杆
高速滑行艇的低阻桅杆 1089     
 0

本发明公开了一种高速滑行艇的低阻桅杆,包括设置在高速滑行艇上的桅杆,所述桅杆的底部穿过罗经甲板与设置在所述罗经甲板下方的驾驶室的顶部通过螺栓固定连接,所述桅杆为中空结构,所述桅杆由碳纤维复合材料制成,且所述桅杆从所述桅杆的顶部至所述桅杆的底部依次变粗,所述桅杆包括迎风面和背风面,所述迎风面与所述驾驶室的顶部之间的夹角为120°~150°;所述背风面的顶部通过吊索和吊环与所述罗经甲板连接;所述背风面与所述罗经甲板之间具有两个加强板。本发明采用碳纤维复合材料制成的桅杆可提高精密电子仪器在复杂磁场环境中的工作的稳定性,并且可以减少桅杆的重量。通过对桅杆的型线设计,增加了桅杆风载能力。

标签:
复合材料
辽宁 - 大连 来源:北方有色网 2023-03-18
核壳结构碳/硫复合正极材料、制备方法及其应用

本发明公开了一种核壳结构多孔碳/硫复合正极材料及其制备方法,该材料由外壳和内壳复合制得,内核与外壳之间有空隙;制备方法为:1)以表面活性剂为模板剂,原硅酸乙酯为成孔剂,酚醛树脂为碳源,通过“stober”法得到核壳结构的聚合物;2)将上述产物经冷却、离心、干燥后高温煅烧碳化,制得核壳结构碳材料;3)用刻蚀剂刻蚀上述材料后经洗涤、干燥后得到壳壁多孔的核壳结构碳材料;4)将硫与上述材料研磨混合均匀,放入安瓿瓶中,在管式炉中真空加热熔融灌注后既得S-C复合材料。该方法工艺简单;原材料价格便宜;核壳结构碳材料由于壳壁拥有丰富的孔道结构,有效抑制活性物质的流失,提升电极材料的稳定性,提高电化学性能。

标签:
复合材料
辽宁 - 大连 来源:北方有色网 2023-03-18
利用Fe0/TiO2光催化还原水中硝酸氮的方法

本发明属于水深度处理和光催化材料领域,目的是为去除水中尤其是地下水和饮用水源中的硝酸氮过程中利用零价铁还原硝酸氮脱氮不彻底、氨氮产率高的问题,以及不掺杂贵金属光催化剂光催化还原硝酸氮效率较低、掺杂贵金属价格较高的问题。其特征是利用化学还原制备纳米零价铁掺杂二氧化钛,在去除溶解氧和补充甲酸为电子供体的情况下,光催化反应高效还原硝酸氮和降低水中总氮含量,避免高比例形成氨氮和亚硝酸氮有害产物。本发明的效果和益处是:提供了一种新型光催化剂、制备方法及其比较高效光催化还原水中硝酸氮和降低总氮的方法,催化剂价格低廉而高效。可广泛用于光催化复合材料和地下水饮用水等水的净化,去除硝酸氮、氯代烃脱氯和污染物。

标签:
复合材料
辽宁 - 大连 来源:北方有色网 2023-03-18
氧化钛/聚苯胺纳米纤维杂化材料及其制备方法

本发明涉及一种氧化钛/聚苯胺纳米纤维杂化材料及其制备方法。该材料由一维纳米结构的氧化钛纳米棒与聚苯胺纳米纤维复合而成的纳米复合颗粒,其中氧化钛纳米棒的含量为20-70WT%。选用氧化钛作无机原料,苯胺作有机原料,以盐酸为掺杂剂,过硫酸铵为引发剂,而且反应过程中苯胺单体与过硫酸铵之比为4∶1,聚乙烯醇吡咯烷酮为表面活性剂;采用模板诱导聚合法和水热法相结合制得。本发明的有益效果是,氧化钛/聚苯胺纳米纤维杂化材料的热稳定性和力学性能高,降低了导电复合材料的成本,原料易得,价格低廉,产品无毒无害,制备工艺简单,组分与性能易于控制,可实现工业化生产和广泛应用。

标签:
复合材料
辽宁 - 大连 来源:北方有色网 2023-03-18
水分解电催化剂Ag8W4O16/CoWO4的制备方法

本发明属于化学化工领域,公开了一种水分解电催化剂Ag8W4O16/CoWO4的制备方法。催化剂通过一步水热法制备Ag8W4O16/CoWO4纳米复合材料催化剂;其中Ag8W4O16与CoWO4的质量比为:10:1~1:10。水热条件的控制在,pH值在5~9之间,温度在160~200℃之间。将Ag8W4O16引入到CoWO4体系,形成纳米复合材料,增强电化学析氢、析氧性能,从而获得高效的双功能电催化水分解析氢/析氧性能。

标签:
复合材料
辽宁 - 大连 来源:北方有色网 2023-03-18
多普勒伪装网及其制作方法

本发明涉及复合材料及其制备技术领域,具体而言能吸收电磁波、力学性能良好的复合材料及其制备方法,尤其涉及多普勒伪装网的制作方法。本发明是由涂有阻抗层的高分子涤纶纤维线编制而成;伪装网的外部涂装有伪装复合层;高分子涤纶纤维线的直径为1‑5mm;阻抗层为聚氨酯阻抗层;是由10‑80份的聚氨酯树脂、10‑80份的石墨粉和10‑80份导电炭黑组成的混合物;伪装复合层由内至外依次为:定型层、伪装层及隐身层。本发明的技术方案解决了现有技术中的现有伪装网只是单纯的颜色伪装,只能实现一般的沙漠,森林和雪地伪装,并无吸收电磁波和红外隐身功能的问题。

标签:
复合材料
辽宁 - 大连 来源:北方有色网 2023-03-18
铜包铁合金复合导线及其制备方法

本发明涉及一种金属复合材料,特别是一种铜包铁合金复合导线,由重量含量为99.90~99.98%的包覆铜和组成为铜重量20-40%、铁重量60-80%的铁合金芯体组成,其直径为0.08-10mm;是将铜包覆在直径为6mm-14mm的铁合金线上制成复合坯料,然后用拉丝机在不同的速度和减径率条件下,经多道次拉丝模拉拔,使铜、铁合金界面通过冶金结合成为所需线径的导线。本发明弥补了铜包铝、铜包钢所无法涉及到的领域,同时也填补了国内一项在探索解决铜资源紧张问题上的又一项空白,也解决了以往产品价格高,环境污染严重等技术问题,满足了人们对复合导线的需求。

标签:
复合材料
辽宁 - 大连 来源:北方有色网 2023-03-18
蝎毒耐热合成肽及其用途

本发明公开了一种蝎毒耐热合成肽及其用途,属于多肽药物研发领域。本发明的多肽为从传统中药东亚钳蝎(BmK)蝎毒中检出蝎毒耐热肽(SVHRP)的氨基酸序列,经动物实验证实具有防治难治性癫痫、帕金森病和阿尔兹海默病(早老年痴呆)药效活性的蝎毒耐热肽提取液样品经LaGM复合材料和反复快速磁分离后, 进行纳升反相色谱?电喷雾质谱(nanoLC?ESI?MS)连用的质谱平行实验检出一个由15个氨基酸残基组成的多肽序列;经固相化学合成、色谱纯化和质谱鉴定制备出蝎毒耐热合成肽,其氨基酸序列如SEQIDNo?1所示, 这一序列保持了蝎毒耐热肽的药效活性和安全性,蝎毒耐热肽还具有促进神经胶质细胞逆分化为神经干细胞的生物活性特征。

标签:
复合材料
辽宁 - 大连 来源:北方有色网 2023-03-18
防静电、耐磨、防腐的辊轮

用碳纤维增强复合材料制造的一种防静电、耐磨、防腐的辊轮,其材料及制造工艺流程是根据不同印染设备、所使用辊轮的规格质量及技术要求,采用碳纤维与橡胶、硅橡胶、不同牌号的工程塑料等进行复合。还要根据不同印染设备和工作中需要的特殊性要求,例如温度高低、耐冲击轻快、耐冲刷情况、所承受的压力轻快等等,特殊型号的将采用碳纤维增强复合材料工艺技术进行多次地反复置密,其达到其质量标准为目的,有的还要采用碳纤维织成布粘贴和短切纤维喷涂技术等工艺制造技术等。具有高强度、耐高温、抗疲劳、导电、质轻、耐腐蚀的化工设备及其各种耐腐蚀的辊轮。

标签:
复合材料
辽宁 - 大连 来源:北方有色网 2023-03-18
轻便可移动性智能型加湿电热取暖器

一种碳纤维复合材料制作的室内轻便可移动性智能型多功能加湿取暖器,电暖器框架呈长方形窗框样式,框架底部设置安装四个可支撑和移动的小轮,框架上部框内设置安装一定时加湿喷汽装置,束丝状碳纤维发热体正反两面外罩耐高温透气装饰布后与框架内上下左右大小尺寸相符,其四周边缘镶嵌固定在预留在框架内侧凹槽内前后中心位置,电源导线一端与束丝状碳纤维发热体连接,电源线的另一端与温控器相连接,温控器与时控器相连接,时控器与漏电保护器式电源开关相连接。优点是:节电、节能,以最大的散热方式,全部释放给室内空间,安全、卫生,清洁,轻便可移动,自动定时控温,美观大方,造型别致。

标签:
复合材料
辽宁 - 大连 来源:北方有色网 2023-03-18
硼酰化钴的制备方法
硼酰化钴的制备方法 1020     
 0

本发明提供一种硼酰化钴的制备方法,属于复合材料促进剂的制备领域。该方法包括:将新癸酸、异辛酸、冰醋酸、二甲苯与氢氧化钴混合进行酸碱中和反应,中和反应完成后得到中间产物;向所述得到的中间产物中加入硼酸三丁酯进行硼酰化反应,同时加入硼酸钙作为添加剂,硼酰化反应完成后得到的反应产物即为硼酰化钴。该制备方法中,通过新癸酸、异辛酸、及低级脂肪酸冰醋酸、二甲苯配合,与氢氧化钻进行酸碱中和反应生成中间产物,由于冰醋酸与二甲苯的作用,可提高反应速率,加速中间产物的形成;并且,在最后的硼酰化反应时,与硼酸三丁酯一起加入作为添加剂的硼酸钙,有效缩短了反应时间,并提高了最终制得的硼酰化钴的不溶物性能和防静电性能。

标签:
复合材料
辽宁 - 大连 来源:北方有色网 2023-03-18
盐溶剂溶解壳聚糖的方法及其应用

本发明公开了一种壳聚糖的盐溶剂及其应用,属于高分子材料技术领域。其特征是该盐溶剂组成及其质量百分比含量为:硫氰酸钠40%~65%。该溶剂溶解壳聚糖步骤为:预处理:将脱乙酰度70%~95%、粘均分子量2万~60万的壳聚糖粉末分散于一定浓度的碱液中,用超声波处理后进行过滤,将收集到的固体用水冲洗;溶解:将上步预处理的壳聚糖分散于水中,加入NASCN盐,然后将形成的悬浮液在60℃~90℃下搅拌2~5小时,即可得到透明的壳聚糖溶液。本发明采用该盐溶剂可以得到稳定的壳聚糖溶液,可以为研究壳聚糖溶解机理提供新的方法;此工艺操作简单,可以广泛应用于壳聚糖膜、纤维及聚丙烯腈等功能性复合材料的成型加工。

标签:
复合材料
辽宁 - 大连 来源:北方有色网 2023-03-18
上一页 10 11 12 13 14 ... 43 下一页
共43页    到第

北方有色为您提供最新的辽宁大连有色金属复合材料技术理论与应用信息,涵盖发明专利、权利要求、说明书、技术领域、背景技术、实用新型内容及具体实施方式等有色技术内容。打造最具专业性的有色金属技术理论与应用平台!

全国热门有色金属设备推荐
展开更多 +
全国热门有色金属技术推荐
展开更多 +

 

江西省隆恩特环保设备有限公司
宣传

报名参会
更多+

报告下载

有色专家
更多+

中南大学
中国工程院院士
矿冶科技集团江苏北矿金属循环利用科技有限公司
书记 / 总经理
蒙纳士苏州校区
中国工程院外籍院士/校长
昆明理工大学
教授
昆明理工大学
校长
赤泥综合利用研究报告2025
推广

热门技术
更多+

推荐企业
更多+

福建省金龙稀土股份有限公司
宣传

发布

在线客服

公众号

电话

顶部
咨询电话:
010-88793500-807