青岛垚鑫智能科技有限公司
宣传

位置:北方有色 >

有色技术频道 >

> 复合材料技术

分类:
全部
矿山技术
冶金技术
材料制备及加工技术
环境保护技术
分析检测技术
 
全部
功能材料技术
复合材料技术
新能源材料技术
合金材料技术
加工技术
地区:
全部
北京
天津
上海
重庆
河北
山西
辽宁
吉林
黑龙江
江苏
浙江
安徽
福建
江西
山东
河南
湖北
湖南
广东
海南
四川
贵州
云南
陕西
甘肃
青海
内蒙
广西
西藏
宁夏
新疆
其他
其他
展开
 
全部
南京
无锡
徐州
常州
苏州
南通
连云港
淮安
盐城
扬州
镇江
泰州
宿迁

江苏镇江有色金属复合材料技术理论与应用

免费发布技术信息>>
采用新型浸胶槽的FRP筋生产流水线

本实用新型涉及复合材料成型技术,具体地说,是一种采用新型浸胶槽的FRP筋生产流水线,依次包括纤维纱架、穿纱板、浸胶槽、成型模具、缠绕装置、固化成型装置、牵引设备和切割装置,固化成型装置的反光板采用凹椭圆形设计,便于集合光线到复合材料表面更利于树脂反应,固化成型装置的光源装置成度光线波浪形伸展,固化成型装置的紫外线发射点固定在烘箱的一端的对应面,光线彼此在烘箱中间交叉延伸,筋材在交叉点上通过,更好保证筋材两面照射均衡,固化成型装置的烘箱的末端设置一个紫外线吸收装置或挡板,防止紫外线外出对人体伤害。

标签:
复合材料
江苏 - 镇江 来源:北方有色网 2023-03-18
铁路棚车内衬板
铁路棚车内衬板 802     
 0

本实用新型涉及铁路棚车内衬板,包括经热压复合成型的上、下表皮和芯板,芯板位于上、下表皮之间;上、下表皮分别由至少两层单向纤维预浸带组成,相邻两层单向纤维预浸带的纤维延伸方向之间有0度-90度的夹角;单向纤维预浸带的材质为连续玻璃纤维增强热塑性聚丙烯树脂复合材料;芯板的材质为短纤维增强热塑性聚丙烯树脂复合材料;上、下表皮的厚度分别为0.5-2.0mm,芯板的厚度为1.5-6.0mm,内衬板的厚度为2.5-8.0mm。采用本实用新型的结构后,既可以避免材料腐烂,又可以具备良好的抗冲击性能,进而很好地提高耐用性;同时,整个内衬板厚度较小,符合铁路棚车的使用要求。

标签:
复合材料
江苏 - 镇江 来源:北方有色网 2023-03-18
环状压力容器
环状压力容器 1130     
 0

本实用新型提供了一种环状压力容器,由环状壳体(1)和进气嘴(3)构成,环状壳体(1)的腔体横截面为正圆形,进气嘴(3)位于环状壳体(1)的内侧。在环状壳体(1)的外侧装配有排水嘴(2),环状壳体(1)的外表面还缠绕有复合材料层(4),复合材料层(4)基材为碳纤维布。

标签:
复合材料
江苏 - 镇江 来源:北方有色网 2023-03-18
桥梁伸缩缝
桥梁伸缩缝 1172     
 0

一种桥梁伸缩缝,其防水性能、耐腐性、耐久性匀优于普通伸缩缝,易施工、造价低廉且行车平稳舒适性好,其在桥梁接缝处上面放置一块钢板将接缝盖住,或用泡沫塑料或木板将梁体接缝嵌紧,上铺塑料薄膜,并与梁体平行,在钢板或塑料薄膜上填灌高弹性聚合物基复合材料,而在高弹性聚合物基复合材料的两侧梁体上各铺设钢纤维混凝土加强区。

标签:
复合材料
江苏 - 镇江 来源:北方有色网 2023-03-18
轻量化气瓶框架
轻量化气瓶框架 823     
 0

本实用新型公开了一种轻量化气瓶框架,其特征在于:包括两个鞍座、第一连接梁和吊带耳座,两个鞍座之间通过第一连接梁连接,所述鞍座的两端安装吊带耳座,所述鞍座上设有鞍座安装孔,所述吊带耳座上设有连接孔,用于连接鞍座和吊带耳座,所述两边鞍座上均设有若干个气瓶装置连接孔和若干个外部结构连接孔,该实用新型的有益效果,该气瓶框架结构形式简单,去掉了底梁,方便装卸,节约了使用成本,可以减轻重量;利用复合材料制备该产品时,可以大幅度降低重量,并且复合材料的抗疲劳、耐腐蚀性能都大大优于金属,增加了框架的使用寿命。

标签:
复合材料
江苏 - 镇江 来源:北方有色网 2023-03-18
高强度防腐玻璃钢托臂
高强度防腐玻璃钢托臂 1184     
 0

本实用新型公开了一种高强度防腐玻璃钢托臂,包括后座和支架,所述后座和支架相互垂直呈“7”字形,所述后座和支架连接的端部设有用于安装整个托臂的安装部,所述后座和支架之间设有倾斜的加强筋,整个托臂采用SMC复合材料模压制成的整体式结构。本实用新型采用SMC复合材料整体模压制成,具有绝缘、耐高温、抗腐蚀能力强,质量轻,使用寿命长,强度高和安装方便等优点。

标签:
复合材料
江苏 - 镇江 来源:北方有色网 2023-03-18
新能源汽车水箱集成框架

一种新能源汽车水箱集成框架,由框架主体(1)、水箱安装孔(2)、大灯安装孔(3)、前装饰条安装面(4)、机盖安装锁机构(5)、主体安装孔(6)、发动机进气口(7)组成,框架主体(1)由复合材料一次性注塑成型,框架主体(1)外侧俯视图为一个圆弧面,水箱安装孔(2)设置在框架主体(1)中部,为一个向下开口的三面体结构,大灯安装孔(3)设置在框架主体(1)的左右两侧中部位置,前装饰条安装面(4)设置在框架主体(1)圆弧面结构中间位置,机盖安装锁机构(5)设置在框架主体(1)顶部中间位置。本实用新型,通过复合材料注塑成型,与其他钣金焊接总成相比,产品重量轻,通过集成多种功能部件,提高工作效率。

标签:
复合材料
江苏 - 镇江 来源:北方有色网 2023-03-18
高摩擦系数离合器用轴承环

本实用新型提供一种高摩擦系数离合器用轴承环,涉及汽车配件技术领域,包括轴承环骨架,所述轴承环骨架上设有环形槽以及阻尼片,所述环形槽上设有涂胶层,所述阻尼片通过所述涂胶层与所述轴承环骨架硫化粘接形成一体。本实用新型减小原有的尼龙注塑件或金属轴承环面的厚度,粘接上复合材料制成的阻尼片,使原有的尼龙注塑件或金属轴承环作为骨架,从而充分利用高分子复合材料制成的阻尼片摩擦系数高而稳定的性能特点,取代传统的注塑件低摩擦系数轴承环,为离合器循环工作传动提供大峰值的扭矩。

标签:
复合材料
江苏 - 镇江 来源:北方有色网 2023-03-18
多开口翻边制件的脱模装置

本实用新型公开了一种多开口翻边制件的脱模装置,包括脱模板和顶板,脱模板和顶板之间设有动力源,动力源的底端和脱模板相连接,动力源的顶端位于顶板的底面;脱模板上连接有多个拉杆,多个拉杆的另一端均贯穿脱模板和成型模具相连接;动力源的顶端伸长和顶板接触连接,带动成型模具和脱模板向靠近脱模板的方向运动,以使成型模具的嵌套入脱模板的空腔内。本申请脱模过程简单可控,脱模时,脱模板空腔两侧的内外翻边和复合材料件的内外翻边同时接触,确保复合材料件脱模过程受力均匀,避免集中受力导致制件损伤报废,有效的保证了脱模的质量。

标签:
复合材料
江苏 - 镇江 来源:北方有色网 2023-03-18
标签用防粘热敏纸
标签用防粘热敏纸 1054     
 0

本实用新型提供一种标签用防粘热敏纸,其特征在于,包括按顺序排列的原纸层、底涂层、发色层、顶涂层,所述底涂层为添加高吸油值的二氧化硅的复合材料层,所述发色层为添加有聚乙烯蜡的复合材料层。所述标签用防粘热敏纸的底涂层含有高吸油值的二氧化硅材料,能够加强底涂层在模切时对溢出粘胶层的吸收,避免粘胶层粘附在模切刀具表面带到标签表面,导致标签成品粘连。同时能保持模切刀具清洁,延长刀具的使用寿命;发色层添加有聚乙烯蜡乳液,防止粘胶层随着模切刀具迁移至标签表面导致粘连。

标签:
复合材料
江苏 - 镇江 来源:北方有色网 2023-03-18
新型的多晶铸锭石墨护板

本实用新型提出的一种新型的多晶铸锭石墨护板,包括石墨板、碳碳复合材料制成的护边和连接螺杆,石墨板的一端设有坡面,石墨板首尾相接,连接螺杆一端凸出于石墨板的表面,护边两端弯折,包括折板和直板,连接螺杆的一端,穿过固定孔,并与固定螺母螺纹配合,本实用新型结构简单,设计合理,石墨护板的边角处采用倒角(坡面)设计,通过护边和连接螺杆的配合使用,达到消除石墨护板边角的目的,从而提高石墨护板与加热系统的最短距离,同时护边由碳碳复合材料制成,其强度远超一般护边和石墨板,起到了稳定石墨板、加固石墨板的重要作用,而且,折板的厚度自外向内渐进式变小,使固定螺母与护边的摩擦增强,不仅提高了石墨板之间的连接强度,而且当石墨护板的尺寸与坩埚的尺寸存在公差时,依旧可以保证石墨护板与坩埚贴合紧度。

标签:
复合材料
江苏 - 镇江 来源:北方有色网 2023-03-18
高摩擦系数散热性好的离合器用轴承环

本实用新型提供一种高摩擦系数散热性好的离合器用轴承环,涉及汽车配件技术领域,包括轴承环骨架,所述轴承环骨架上设有环形槽以及阻尼片,所述环形槽上设有涂胶层,所述阻尼片通过所述涂胶层与所述轴承环骨架硫化粘接形成一体,所述阻尼片内还设有散热层,所述散热层为铜粉层。本实用新型减小原有的尼龙注塑件或金属轴承环面的厚度,粘接上复合材料制成的阻尼片,阻尼片内还设有铜粉层,使原有的尼龙注塑件或金属轴承环作为骨架,从而充分利用高分子复合材料制成的阻尼片摩擦系数高而稳定且散热性好的性能特点,取代传统的注塑件低摩擦系数轴承环,为离合器循环工作传动提供大峰值的扭矩。

标签:
复合材料
江苏 - 镇江 来源:北方有色网 2023-03-18
轻量化磁悬浮列车司机室外罩

本实用新型提供一种轻量化磁悬浮列车司机室外罩。该种轻量化磁悬浮客车司机室外罩包括外罩本体,所述外罩本体包括右侧面罩板、正面罩板、车钩罩板、左侧面罩板和底面罩板,所述外罩本体采用玻璃纤维及碳纤维作为增强体、热固性树脂作为基体的混杂纤维复合材料制成。并通过使用上述五个部分的分体组合模具,将传统的列车司机室与导流罩整体成型。成型的混杂纤维复合材料司机室比现在的玻璃钢司机室重量减轻30%以上,同时具有强度高、损伤容限高、缺口敏感性低,以及抗冲击性、阻燃性、耐腐蚀性、老化与疲劳性能优越的特点。

标签:
复合材料
江苏 - 镇江 来源:北方有色网 2023-03-18
铁路货车用复合车门
铁路货车用复合车门 1066     
 0

本实用新型涉及一种铁路货车部件,具体是一种铁路货车用复合车门。该铁路货车用复合车门具有一个环氧复合材料的矩形基板,在基板内嵌有框架式的金属骨架。所述基板的材料为玻纤增强环氧复合材料。本实用新型的铁路货车用复合车门强度高、重量轻、疲劳强度高、破损安全特性好、耐腐蚀能力强。

标签:
复合材料
江苏 - 镇江 来源:北方有色网 2023-03-18
拼装检查井
拼装检查井 923     
 0

本拼装检查井有四块壁板两两相对拼装而成,在这四块壁板的连接处有相对应的凹槽与凸台与之关联和定位,并用螺栓连接固定;根据井体的构造要求,在壁板的相关位置设置便于安装管线的孔洞和槽口;为了减轻壁板的重量,在壁板上设置凹台;为了保证壁板的强度,在壁板内部设置骨架;其壁板可有混凝土、钢纤维砼、不饱和树脂复合材料、再生树脂复合材料、工程塑料等材料进行工厂化制作,现场安装。该拼装检查井,对材料适用范围广,工厂化生产工艺简单,适用与各类检查井的使用,性价比高,其强度高于砖砌体,现场施工简单,安装方便,工期短,安全性能强,有效提高工作效率,有很好的推广前景。

标签:
复合材料
江苏 - 镇江 来源:北方有色网 2023-03-18
透镜大灯反射碗
透镜大灯反射碗 795     
 0

本申请公开了一种透镜大灯反射碗,其包括碗壁,碗壁具有内凹的碗面及位于碗面两侧的第一碗口与第二碗口,碗面具有反射层,反射层设置为光反射复合材料;设置于第一碗口周围靠外的外翻边部;设置于第二碗口周围靠内的内翻边部;以及设置于外翻边部的多个安装孔。本实用新型利用碗壁两端设置外翻边部与内翻边部,方便安装连接灯泡,同时碗面具备反射层,包含光反射复合材料,反射光线均匀,降低光损。

标签:
复合材料
江苏 - 镇江 来源:北方有色网 2023-03-18
长纤维热塑性管材的制作设备

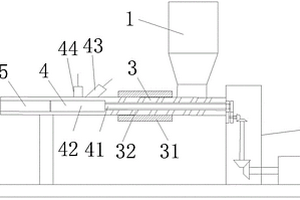
本申请提供一种长纤维热塑性管材的制作设备,包括料仓、传动装置、熔融部、纤维复合部以及冷却部;所述熔融将热塑性材料熔融后挤出至纤维复合部;所述纤维复合部的滚筒转动时,使得纤维复合部中的熔融的热塑性材料转动,从而带动所述第一纤维排线装置以及第二纤维排线装置中的长纤维缠绕至热塑性材料中,得到长纤维复合材料;长纤维复合材料经过所述冷却部后,冷却定型得到长纤维热塑性管材。因此在熔融部以及滚筒的作用下,长纤维能够持续的缠绕至热塑性材料中,并且通过冷却部的冷却定型得到长纤维热塑性管材。也就是说通过熔融部、纤维复合部以及冷却部的作用本申请能够连续的生产长纤维热塑性管材,因而本申请的制作设备的生产效率高。

标签:
复合材料
江苏 - 镇江 来源:北方有色网 2023-03-18
可使真空袋重复利用的结构

一种可使真空袋重复利用的结构属于复合材料制造领域,包括腻子条、模具、真空袋,还包括自粘性加固条,所述的自粘性加固条粘贴在真空袋外,自粘性加固条的走向与腻子条走向匹配一致。所公开的结构可以使真空袋在不影响密封的情况下,重复使用,自粘性加固条固然可以加强真空袋的强度,且同时,自粘性加固条通过使真空袋不会扭曲变形,使腻子与真空袋之间的粘接关系间接的受影响,当真空袋使用完后,即使环境复杂,也可以使腻子条可以与真空袋一同揭下,自粘性加固条影响腻子与真空袋的这个技术效果是出乎意料的。真空袋可以重复使用不仅可以节约复合材料成型过程中的生产成本,还可以减少废旧真空袋回收过程中对环境造成的污染,保护环境。

标签:
复合材料
江苏 - 镇江 来源:北方有色网 2023-03-18
胶液再利用的气凝胶制备方法

本发明公开了一种胶液再利用的气凝胶制备方法,包括以下步骤:步骤一:将正硅酸乙酯、无水乙醇和去离子水按照1:2‑2.5:0.3‑0.35的质量比混合均匀,在室温下搅拌10‑20min得到SiO2胶液A,静置20min;步骤二:盛取循环胶液B,将步骤一中得到的胶液A和循环胶液B按一定比例进行混合,混合搅拌2‑6min,混合结束后,加入催化剂C01,再搅拌5‑10min后,加入催化剂C02,继续搅拌3‑10min后将混合胶液注入到装有纤维毡的凝胶模具中待其凝胶,得到纤维毡复合湿凝胶C;步骤三:将步骤二中得到的纤维毡复合湿凝胶C在常温下老化24h,老化结束后加入质量为正硅酸乙酯质量10%‑40%的改性剂进行疏水改性;步骤四:将疏水改性完成的纤维毡复合湿凝胶C进行CO2超临界干燥处理,进而得到SiO2气凝胶复合材料。

标签:
复合材料
江苏 - 镇江 来源:北方有色网 2023-03-18
溶剂热法合成基于ZIF-8的三元复合ZnO/ZnCo<sub>2</sub>O<sub>4</sub>/NiO的方法及其应用

本发明属于金属有机骨架材料的技术领域,涉及以沸石咪唑酯骨架为模板制备三元复合材料,尤其涉及溶剂热法合成基于ZIF‑8的三元复合ZnO/ZnCo2O4/NiO的方法及其应用。本发明所述方法包括:按照每290mg ZIF‑8多面体分散在30~90mL含有0.6~1.4mmol硝酸镍、0.6~1.4mmol硝酸钴和421mg环六亚甲基四胺的乙醇中,搅拌混合均匀,转移至反应釜,100℃~120℃保温2~4h,冷却至室温,经离心收集并在60℃~80℃下干燥12~24h得到前驱体,在300~350℃的空气中以2℃·min‑1的速率将前驱体退火2~3h,即得。所制得的基于ZIF‑8的三元复合ZnO/ZnCo2O4/NiO,颗粒分布均匀,粒径分散性良好,将其应用于超级电容器的电极材料,表现出优异的电化学性能和良好的循环稳定性。本发明工艺简单,制备成本低,污染较少,适于工业化生产。

标签:
复合材料
江苏 - 镇江 来源:北方有色网 2023-03-18
沉淀法制备锌修饰三氧化二铋复合光催化剂的方法及其应用

本发明属于光催化剂制备技术领域,涉及三氧化二铋复合光催化剂的制备方法,特别涉及沉淀法制备锌修饰三氧化二铋复合光催化剂的方法及其应用。本发明首先配制铋盐和锌盐的混合溶液A,再配制沉淀剂溶液B;然后将A溶液于冰水浴中持续搅拌,成滴不成线逐滴加入B溶液;离心分离出沉淀物洗至中性后烘干,再于350~550℃温度煅烧1~4 h即得。本发明采用液相沉淀法制备纳米三氧化二铋复合材料,成本低,操作简单,所制产物颗粒分布均匀,颗粒性能高,粒径分散性好,形貌好,适合工业化生产。根据本发明所述方法制备的三氧化二铋复合材料,作为光催化剂用于光催化降解含刚果红、亚甲基蓝等染料的污水,催化效率较高。

标签:
复合材料
江苏 - 镇江 来源:北方有色网 2023-03-18
多孔层状复合电极材料及制备方法与应用

本发明公开了一种多孔层状复合电极材料及制备方法与应用。通过Hummers法首先制备得到氧化石墨烯(GO);然后再经过原位生长法制备得到多孔层状的NiMn‑LDH‑Cl/RGO复合电极材料。RGO不仅可以作为导电通路改善复合物的导电性,而且可以作为一个理想的生长骨架,防止NiMn‑LDH‑Cl纳米片发生团聚。NiMn‑LDH‑Cl/RGO/NF复合材料的多孔层状结构以及NiMn‑LDH‑Cl纳米片和RGO片的界面强作用力有利于充分发挥其电化学活性;该复合材料作为超级电容器电极材料应用时,可用作赝电容电极材料,具有较高的比电容量和倍率充放电性能;同时也可用作超级电容器器件的正极材料。

标签:
复合材料
江苏 - 镇江 来源:北方有色网 2023-03-18
单层空气电极的制备方法

本发明提供了一种单层空气电极的制备方法,以解决现有技术中的多层空气电极存在的工艺复杂,性能不稳定的缺点。包括以下步骤:a、复合导电透气疏水催化剂载体的制备;b、按质量比,将70~80份步骤a得到的复合导电透气疏水催化剂载体与20~30份催化剂在有机溶剂中混合;c、将步骤b中混合好的混合物流延至镍网上待用;d、将步骤c得到的半成品在260~320℃下保温5分钟后即可。本发明是是首次利用复合材料制备单层空气膜电极的工艺。该方法制得的电极具备启动时间短,长时间连续、稳定供电、保质寿命长、环保无污染、价格便宜、便携等优点。

标签:
复合材料
江苏 - 镇江 来源:北方有色网 2023-03-18
泡沫镍为基底的钨酸镍/聚苯胺超级电容器电极材料的制备方法

本发明属于超级电容器电极材料的制备领域,提供了一种以泡沫镍为基底的钨酸镍/聚苯胺超级电容器电极材料的制备方法。包括如下步骤:步骤1、室温下,将硝酸镍、钨酸钠和硫脲按摩尔比1 : 1 : 5溶解于一定的去离子水中得到前驱体溶液;步骤2、超声分散半小时,转入水热反应釜并加入一片泡沫镍,密封后140?180℃水热反应6?12h,步骤3、将步骤2得到的泡沫镍直接运用循环伏安法电化学沉积聚苯胺得到钨酸镍/聚苯胺复合材料。本发明的制备方法简单,对生产设备要求低,成本低廉,制备的钨酸镍/聚苯胺复合材料具有优于纯的钨酸镍的电化学性能。

标签:
复合材料
江苏 - 镇江 来源:北方有色网 2023-03-18
氧化石墨烯/磷酸银复合可见光催化剂及其制备方法

一种氧化石墨烯/磷酸银复合可见光催化剂及其制备方法,属于纳米复合材料和光催化技术领域。步骤如下:将氧化石墨烯溶于水中,超声处理得到氧化石墨烯分散液;在氧化石墨烯分散液中加入乙酸银,搅拌均匀,得到混合溶液;将配置好的磷酸氢二钠或磷酸二氢钠溶液缓慢滴加到氧化石墨烯和乙酸银的混合溶液中继续搅拌一段时间;将反应所得到的产物分别用去离子水和无水乙醇洗涤多次后,真空干燥后得到氧化石墨烯/磷酸银纳米复合可见光催化剂。本发明的优点在于原料来源广泛、制备过程简单、所得到的复合材料具有较好的结构和形貌,结构上的优势使得所制备出的纳米复合光催化剂在可见光照射下对有机染料罗丹明B和亚甲基蓝具有高效的降解效果。

标签:
复合材料
江苏 - 镇江 来源:北方有色网 2023-03-18
Zn-atz@COF-TD复合光催化材料的制备方法及其用途

本发明属于复合光催化材料技术领域,具体涉及一种Zn‑atz@COF‑TD复合光催化材料的制备方法及其用途。所述催化材料为二元核壳式复合材料,该材料由共价有机框架COF‑TD包裹金属有机框架Zn‑atz构成。该复合材料采取溶剂热法制备,先将Zn‑atz醛基化,再与COF‑TD通过亚胺键复合,经洗涤、干燥后得到最终材料;本发明制备的光催化材料具有较好的选择性和可见光响应能力,经多次光催化测试后依旧保持较强的光催化活性。在光催化二氧化碳还原过程中无需牺牲剂、绿色环保,解决了传统光催化剂因较弱的二氧化碳吸附能力而导致光催化二氧化碳还原效率低的问题,并为二元核壳式复合催化剂的研究提供了新思路和新方法。

标签:
复合材料
江苏 - 镇江 来源:北方有色网 2023-03-18
空气弹簧疲劳寿命预测平台及其预测方法

本发明公开了一种空气弹簧疲劳寿命预测平台,由ISIGHT集成空气弹簧参数化模型、空气弹簧有限元模型、帘线橡胶复合材料伤损模块及雨流计数模块而成。本发明基于ISIGHT软件集成空气弹簧参数化模型、空气弹簧有限元模型,帘线橡胶复合材料损伤模块及雨流计数模块,进行虚拟联合仿真,此平台分析得到空气弹簧的疲劳寿命,与实际试验相比减少了成本与时间;分析得到的空气弹簧的薄弱部分,也为空气弹簧结构优化提供了理论基础,费用低,节省成本。

标签:
复合材料
江苏 - 镇江 来源:北方有色网 2023-03-18
利用一步法制备铂纳米粒子负载的氮杂三维石墨烯气凝胶的方法

本发明属于电化学功能纳米材料的制备领域,具体涉及采用一步水热法制备铂负载氮杂三维石墨烯气凝胶的方法。首先对天然鳞片石墨粉进行了改性形成氧化石墨烯。紧接着通过共价键结合以氧化石墨烯为基体材料,氯铂酸和甘氨酸为原料,通过一步水热法制备铂纳米粒子负载氮杂三维石墨烯气凝胶,进行有效地甲醇催化反应。而氮原子的引入也大大提高其复合材料的性能。制备的铂纳米粒子负载氮杂三维石墨烯气凝胶复合材料展现了很好的催化性和稳定性。

标签:
复合材料
江苏 - 镇江 来源:北方有色网 2023-03-18
Mg/Al/C纤维-聚氨酯发泡材料的制备方法及其应用

本发明属于高分子复合材料合成技术领域,涉及碳纤维‑聚氨酯多孔发泡材料的制备,特别涉及Mg/Al/C纤维‑聚氨酯发泡材料的制备方法及其应用。一种Mg/Al/C纤维‑聚氨酯发泡材料的制备方法,先制备Mg/Al/C纤维材料,然后对其疏水改性,再将疏水Mg/Al/C纤维、聚醚多元醇NJ‑330、发泡剂、泡沫稳定剂和催化剂室温下混合搅拌,加入甲苯二异氰酸酯后,利用一步发泡法制得。本发明利用乙烯基三乙氧基硅烷对Mg/Al/C纤维进行疏水改性并将Mg/Al/C纤维粉体均匀地分散到泡沫材料中,提高材料的吸油性能,抗老化性和热稳定性,从而达到改善泡沫复合材料综合性能的目的。以三氯甲烷为吸附对象,试验显示具有较好的吸油和去除效果,可应用于处理石油泄漏、有机溶剂污染等,操作简单、吸附率高。

标签:
复合材料
江苏 - 镇江 来源:北方有色网 2023-03-18
连续纤维增强热塑性复合板、制备方法及其生产线

本发明具体实施方式提供一种连续纤维增强热塑性复合板、制备方法及其生产线,所述复合板由热塑性树脂或热塑性改性树脂构成的树脂区以及由连续纤维增强热塑性复合材料层构成的增强区组成,所述树脂区包覆所述增强区形成增强区外围被树脂区包覆的结构,所述结构的复合板由热塑性树脂挤出包覆连续纤维增强热塑性复合材料层、定型形成,外观更为光滑美观,并且具有优异的刚度和强度。

标签:
复合材料
江苏 - 镇江 来源:北方有色网 2023-03-18
上一页 8 9 10 11 12 ... 71 下一页
共71页    到第

北方有色为您提供最新的江苏镇江有色金属复合材料技术理论与应用信息,涵盖发明专利、权利要求、说明书、技术领域、背景技术、实用新型内容及具体实施方式等有色技术内容。打造最具专业性的有色金属技术理论与应用平台!

全国热门有色金属设备推荐
展开更多 +
全国热门有色金属技术推荐
展开更多 +

 

江西省隆恩特环保设备有限公司
宣传

报名参会
更多+

报告下载

有色专家
更多+

矿冶科技集团
副所长/研究员
紫金矿业信息化研发中心
副总经理
中冶沈勘秦皇岛工程技术有限公司
原矿山院院长/教授级高工
西安建筑科技大学
院长/教授
武汉科技大学
院长 / 教授
赤泥综合利用研究报告2025
推广

热门技术
更多+

推荐企业
更多+

福建省金龙稀土股份有限公司
宣传

发布

在线客服

公众号

电话

顶部
咨询电话:
010-88793500-807