青岛垚鑫智能科技有限公司
宣传

位置:中冶有色 >

有色技术频道 >

> 选矿技术

分类:
全部
矿山技术
冶金技术
材料制备及加工技术
环境保护技术
分析检测技术
 
全部
探矿技术
采矿技术
选矿技术
通用技术
地区:
全部
北京
天津
上海
重庆
河北
山西
辽宁
吉林
黑龙江
江苏
浙江
安徽
福建
江西
山东
河南
湖北
湖南
广东
海南
四川
贵州
云南
陕西
甘肃
青海
内蒙
广西
西藏
宁夏
新疆
其他
其他
展开
 
全部

有色金属选矿技术理论与应用

免费发布技术信息>>
制备铝酸盐结合剂的湿碾机

本实用新型公开了一种制备铝酸盐结合剂的湿碾机,属于湿碾机领域,该湿碾机包括支架、固定安装在所述支架上的碾盆以及设置在所述碾盆内的碾芯,所述碾芯上对称设置有轮碾,所述支架的一端设置有驱动电机,所述支架内固定安装有与所述碾芯适配的减速机。该制备铝酸盐结合剂的湿碾机结构简单、使用方便,加工过程中,排料口被挡板密封,确保加工过程中原材料不会外溢,提高了加工的安全性和稳定性,而此时过滤网板可位于容槽二当中存放,避免沾原材料造成堵塞,并且被过滤网板筛分出的原材料可通过下料斗进入集料盒中收集。

标签:
湿碾机 选矿技术
天津 - 天津 来源:英格瓷(天津)新材料技术有限公司 2025-10-11
高效节能的半自磨碎磨工艺

本发明属于矿物加工技术领域,为了对矿石的分级、碎磨、筛分和循环利用等环节进行优化,实现高效节能的碎磨效果。本发明公开了一种高效节能的半自磨碎磨工艺,适用于硬度小于11的矿石。该工艺通过优化矿石的分级、碎磨、筛分和循环利用等环节,实现了高效节能的碎磨效果。本发明通过多级分级与闭路循环、AI智能分拣、液压对辊破碎等创新设计,显著提高了碎磨效率,降低了能耗,同时实现了资源的高效回收利用,具有显著的经济和环境效益,适用于矿物加工领域的碎磨工艺优化。

标签:
半自磨碎磨工艺 矿物加工技术
甘肃 - 陇南 来源:金徽矿业股份有限公司 2025-10-11
循环选铬工艺
循环选铬工艺 373     
 0

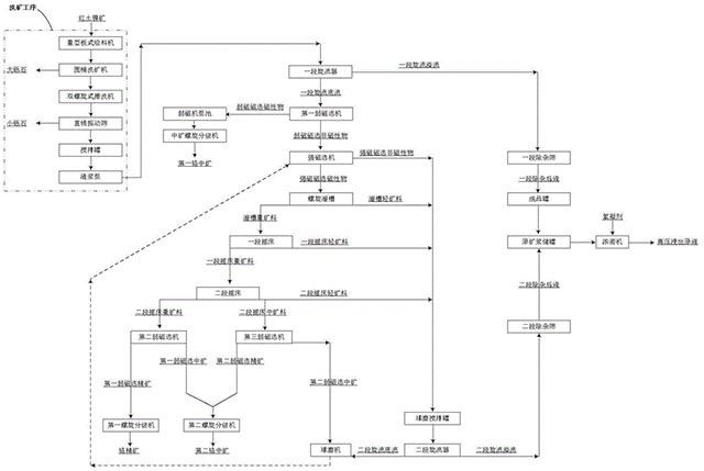
本发明公开一种循环选铬工艺,包括:原矿依次经洗矿工序和一段旋流分离后,得到一段旋流溢流和一段旋流底流,一段旋流底流经弱磁选处理后得到第一铬中矿,一段旋流底流依次经弱磁选和强磁选处理后得到强磁选非磁性物和强磁选磁性物;将强磁选磁性物依次进行螺旋溜槽分级、多段摇床分级,再进行弱磁选及螺旋分级,得铬精矿、第二铬中矿、第二弱磁选中矿及混合轻矿料;将混合轻矿料与强磁选非磁性物混合球磨搅拌后,进行二段旋流分离,将得到的二段旋流底流及第二弱磁选中矿经球磨后回用至强磁选工序。

标签:
循环选铬工艺 选铬工艺
其他 - 其他 来源:格林爱科镍金属有限公司, ESG新能源材料有限公司, 青美邦新能源材料有限公司, 格林美股份有限公司 2025-10-11
球磨机研磨结构
球磨机研磨结构 184     
 0

本实用新型公开了一种球磨机研磨结构,包括:壳体;所述壳体内壁设置有阵列设置的研磨结构;所述壳体的容积腔体内设置若干研磨介质,通过所述壳体转动,使所述研磨介质与研磨结构之间相对运动,对所述壳体内的物料进行研磨;研磨结构可以随着球磨机内壁的转动将物料和研磨介质带到一定的高度,增大抛落运动机会,提高破碎效率;同时研磨介质与研磨结构之间相对运动对物料起到不断研磨的效果,得到的物料的形状更规整。

标签:
球磨机 球磨机研磨结构
上海 - 上海 来源:上海鑫烯复合材料工程技术中心有限公司 2025-10-11
高粘土硫化铜钼矿的低碱低钙综合利用方法

本发明属于矿物浮选技术领域,具体涉及一种高粘土硫化铜钼矿的低碱低钙综合利用方法,使用部分氢氧化钠替代石灰,从源头降低矿浆中钙离子,在低碱矿浆环境中使用新型高熵分散剂与组合分散剂络合碱性矿浆中钙离子,解决了高碱条件下矿浆絮团裹挟单体铜钼矿物造成的铜钼金属损失,实现了低碱介质下铜钼的高效富集,等可浮精矿比常规铜钼混浮精矿中钼铜比大幅提高。此外,该方法铜钼浮选尾矿分散效果良好,且实现了高岭土综合回收,提高了资源利用率,减少了细粒尾矿的排放量,为尾矿库形成有效干滩提供有利条件。

标签:
硫化铜钼矿 矿物浮选技术
广东 - 广州 来源:广东省科学院资源利用与稀土开发研究所, 西藏玉龙铜业股份有限公司 2025-10-11
耐火浆料混合球磨机
耐火浆料混合球磨机 259     
 0

本实用新型提供了一种耐火浆料混合球磨机,包括球磨罐、机架、主轴、副轴,所述的主轴和副轴均转动连接于机架上,所述的主轴的轴心、副轴的轴心平行设置,所述的主轴与副轴之间形成用于放置球磨罐的容纳腔,所述的机架上固定连接有固定板,所述的固定板上转动连接有支撑杆,所述的球磨罐的端部固定连接有固定环,所述的固定环上开设有缺口,所述的支撑杆转动连接有连接环,所述的连接环上连接有卡板,所述的卡板穿过缺口并与固定环的内壁抵触,达到使球磨罐不易移动的目的。

标签:
耐火浆料混合球磨机 球磨机
浙江 - 台州 来源:浙江黄岩特涂新材料有限公司 2025-10-11
新型跳汰机分选全流程调控系统

本发明通过一侧设置有传动组件,通过丝杆和电机的配合,在监测支板上以及监测支杆上均设置有限位传感器,能够使监测设备在规定的范围内使用,既能够满足床层松散的监测,又能够减少使用成本,增设有自动上料机构,通过泥浆泵,将提前放置在矿浆桶内部的矿浆抽出,并且输送到进料口的位置,有利于缩短上料时间,提高工作效率,减少人工的劳动量。

标签:
跳汰机 选矿技术
云南 - 昆明 来源:昆明理工大学 2025-09-30
螺旋叶片轴及双螺旋槽式洗矿机

本实用新型公开了一种螺旋叶片轴,包括轴本体,所述轴本体分为前段、中段和后段;所述轴本体的前段和后段均可拆卸连接有螺旋叶片组件,轴本体的中段可拆卸连接有翻料叶片组件,所述翻料叶片组件边缘处均设置有水孔。本实用新型的目的在于提供一种螺旋叶片轴及双螺旋槽式洗矿机,以实现对叶片的更换,且减少了矿在尾部堵塞的风险。

标签:
双螺旋槽式洗矿机 槽式洗矿机
云南 - 昆明 来源:昆明茨坝矿山机械有限公司 2025-09-30
红土镍矿洗矿线的均匀出料控制系统及方法

本申请公开了一种红土镍矿洗矿线的均匀出料控制系统及方法,红土镍矿洗矿线的均匀出料控制系统包括:电流信号采集模块、判断模块以及给料速度控制模块,所述电流信号采集模块用于连接皮带机的电机,以获得皮带机的电机电流值;所述判断模块用于判断皮带机的电机电流值所处的阈值区间;

标签:
镍矿洗矿线 均匀出料控制系统
其他 - 其他 来源:ESG新能源材料有限公司, 格林爱科镍金属有限公司, 青美邦新能源材料有限公司, 格林美股份有限公司 2025-09-30
基于旋流器的石墨浮选装置及工艺

本发明公开了一种基于旋流器的石墨浮选装置及工艺,包括支架与收集箱,支架中安装有旋流器组,旋流器组包括至少三个旋流器,旋流器从下到上依次包括锥桶部分、中间圆筒部分与上盖结构,上盖结构的内部设置有辅助旋流机构,用于辅助增加物料进入到旋流器中的切向速度,辅助旋流机构包括可调旋流叶片组件、升降组件与驱动组件;上盖结构包括上圆筒,上圆筒的顶部固定连接有盖板,本发明涉及石墨生产技术领域。

标签:
石墨浮选装置 旋流器
黑龙江 - 哈尔滨 来源:哈尔滨市兴显卓科技有限公司 2025-09-28
高压辊磨筛分与球磨闭路系统

本实用新型属于选矿技术领域,具体公开了一种高压辊磨筛分与球磨闭路系统。高压辊磨筛分与球磨闭路系统包括上料组件、筛分件、料池、旋流器和球磨机,筛分件的入料口和上料组件的出料口对接;料池与筛分件的出料口对接;旋流器的进料口和料池相连,旋流器的溢流口与选别装置相连;球磨机的进料口与旋流器的底流口对接,球磨机的排料口与料池对接。本实用新型能够简化整体结构,节省占地面积,便于维护。

标签:
辊磨筛分器 球磨器
北京 - 北京 来源:中国恩菲工程技术有限公司, 中国有色工程有限公司 2025-09-28
钨冶炼碱煮渣浮选回收钼的方法

本发明介绍了一种钨冶炼碱煮渣浮选回收钼的方法,涉及钨冶炼资源综合利用技术领域,具体步骤为:步骤一:磨矿擦洗;步骤二:分级脱泥;步骤三:淘洗脱药;步骤四:电位调控;步骤五:浮选富集。本发明创新性采用磨矿擦洗+脱泥淘洗预处理方案,去除矿物表面吸附的Ca(OH)2钝化层和CaCO3胶体沉淀,脱除‑15μm细泥消除难免离子罩盖效应并降低浮选系统pH值;通过创新的药剂组合和递减的药剂制度,显著提升精矿的整体品位,大幅提升钼的回收率;

标签:
钨冶炼 钼回收
河南 - 洛阳 来源:洛阳栾川钼业集团股份有限公司 2025-09-28
选矿用浮选机及铜钴矿选矿方法

本发明公开了一种选矿用浮选机及铜钴矿选矿方法,属于矿石选矿技术领域;浮选机包括浮选槽体、充气搅拌机构、刮料下料组件和集料槽,所述浮选槽体内设置充气搅拌机构,所述刮料下料组件设置于浮选槽体一侧,所述集料槽设置于浮选槽体外并紧靠刮料下料组件设置;所述刮料下料组件包括安装轴和与安装轴可拆卸式连接的刮料机构,所述安装轴上沿其轴向设置多组刮料机构,每组刮料机构至少包括两个刮料机构并沿安装轴周向阵列设置;选矿方法采用磨矿调浆、混合浮选粗选、扫选、精选和铜钴分离的步骤进行。

标签:
浮选机 铜钴矿选矿
云南 - 昆明 来源:西南有色昆明勘测设计(院)股份有限公司 2025-09-28
金属矿浮选用调浆槽
金属矿浮选用调浆槽 310     
 0

本实用新型是关于一种金属矿浮选用调浆槽,属于选矿设备技术领域。包括调浆槽、导料管、导料片、转轴;调浆槽内转动安装有转轴,转轴的下端固定安装有旋转盘,旋转盘的圆周面上间隔设置有第一搅拌叶片,旋转盘上设置有离心搅拌叶片;转轴的外围套设有导料管,转轴和导料管之间设有导料腔,导料管的顶部设有进料口,导料管的底部与旋转盘之间设有出料间隙;调浆槽的内侧壁上设有导料片。本申请通过在转轴的外侧套设导料管,通过导料管将顶部的矿浆向下引流,在调浆槽中形成从上向下的矿浆流;

标签:
调浆槽 金属矿浮选
云南 - 昆明 来源:昆明理工大学 2025-09-28
红土镍矿联合选矿方法

本申请公开一种红土镍矿联合选矿方法,包括步骤:原矿依次经洗矿工序和一段旋流分离,将一段旋流底流依次进行螺旋溜槽分级、多段摇床分级,再进行弱磁选及螺旋分级,得第一铬精矿、第一铬中矿、第二弱磁选中矿及混合轻矿料;混合轻矿料经球磨搅拌处理后,进行二段旋流分离;将二段旋流底流进行弱磁选,弱磁选磁性物经摇床分级、螺旋分级得第二铬精矿,弱磁选非磁性物经强磁选后得强磁选非磁性物及强磁选磁性物;

标签:
红土镍矿 镍矿选矿
其他 - 其他 来源:ESG新能源材料有限公司, 格林爱科镍金属有限公司, 青美邦新能源材料有限公司, 格林美股份有限公司 2025-09-28
矿山湿式选别筛分分矿装置

本实用新型涉及矿山选矿设备领域,即矿山湿式选别筛分分矿装置。此装置应用高频振网筛分矿,以便于增加高频振网筛选别效果。它包括一个上面敞口的分矿箱,分矿箱内的隔板将分矿箱分成给矿小箱体和排矿小箱体;给矿小箱体内设有给矿管;排矿小箱体上设有补加水管和控制丝杠总成,排矿小箱体下部设有排矿管和导向槽。本装置设计合理,结构简单、紧凑,易于安装,价格低廉,节省能源,分矿效果好,减少因分矿不均,引起筛分效率低的问题,减少了生产成本输出。

标签:
矿山筛分分矿装置 矿山选矿设备
吉林 - 白山 来源:通化钢铁集团板石矿业有限责任公司 2025-09-28
基于流态分布的可调节式螺旋溜槽装置及其选矿方法

一种基于流态分布的可调节式螺旋溜槽装置及其选矿方法,包括可调节分流块,所述可调节分流块设在导水槽壁上,所述调节分流块包括分流部和和旋转固定轴,所述调节分流块通过旋转固定轴固定在导水槽壁上,所述调节分流块下侧与调节齿轮连接,所述调节齿轮与调节结构上的转动齿轮啮合。实现了对进料矿浆的预分级导流与流态分布的动态控制,有效提升粗细颗粒的分层精度与筛分效率。装置结构模块化、调节灵活、适应性强,不仅提高了矿物回收率,降低细粒损失,还具备多品种矿石处理能力,维护简便。

标签:
螺旋溜槽装置 选矿技术
广东 - 佛山 来源:佛山市宏茂模具有限公司 2025-09-28
精细筛分选矿装置
精细筛分选矿装置 199     
 0

本实用新型涉及选矿装置技术领域,提出了一种精细筛分选矿装置,包括筛选箱、进料口、两个出料口、磁选组件、输送机构、拨料组件、连接架和振动机构,筛选箱的内部设置有筛选腔,筛选箱上安装有进料口和两个出料口,进料口和两个出料口均与筛选腔连通,输送机构设置在筛选腔内,用于将矿料向磁选组件输送,拨料组件设置在输送机构上,用于将输送机构上的矿料拨整均匀,连接架设置在输送机构和磁选组件之间,并且连接架固定连接在筛选腔的内底壁上,连接架的顶端设置为斜面,振动机构设置在磁选组件的底部,用于将堆积的矿料扬起。

标签:
筛分选矿装置 选矿装置
河北 - 唐山 来源:唐山智能科技有限公司 2025-09-28
精矿再磨强化铜钼混合粗精矿磁浮联合分离的选矿方法

本发明公开了一种精矿再磨强化铜钼混合粗精矿磁浮联合分离的选矿方法,包括以下步骤;步骤(1):对铜钼混合精矿进行两段磁选,得到磁性产品与非磁性产品;步骤(2):对磁性产品与非磁性产品进行粒度控制的再磨处理,使铜矿物与钼矿物进一步单体解离,打散矿物间的团聚结构;步骤(3):对磁选磁性产品再磨矿浆进行优先浮钼再浮铜作业,磁选非磁性产品合并后再磨矿浆直接进行钼浮选作业,钼浮选作业分段添加抑制剂、捕收剂、起泡剂,铜浮选作业分段添加调整剂、分散剂、活化剂、捕收剂与起泡剂;通过以上浮选作业得到精矿为铜精矿与钼精矿。

标签:
选矿技术 粗精矿磁浮
陕西 - 西安 来源:西安建筑科技大学 2025-09-23
铜矿金矿浮选回收的环保型浮选方法及其系统

本发明公开了一种铜矿金矿浮选回收的环保型浮选方法及其系统,涉及废水处理技术领域,包括矿物的准备和处理,并采用浮选机对处理后的矿物进行粗选和精选,对粗选的矿浆和浮选机中的矿浆混合物进行水处理,将处理后的水资源输送至浮选机中,参与矿浆的精选,对精选的泡沫矿浆进行后续回收工艺,回收提取矿浆中的金属材质,对提取金属材质后的矿浆进行水处理,并检测矿浆水处理的质量,废水处理后的质检,并对处理后的废水进行排放使用。

标签:
铜矿金矿浮选 环保型浮选
陕西 - 西安 来源:陕西秦腾跃实业有限公司 2025-09-23
多功能选矿浮选机
多功能选矿浮选机 278     
 0

本实用新型属于选矿技术领域,公开了一种多功能选矿浮选机,包括用于转动搅拌泡沫化矿浆的主体装置,还包括所述主体装置顶部设置的用于向两侧推开并分隔矿化泡沫和导流刮沫的导流装置,所述导流装置内前后对称安装有两个用于沿着液面反向循环转动水平刮沫的刮沫装置,两个所述刮沫装置刮沫区域相邻处彼此重叠。本实用新型所述的一种多功能选矿浮选机,通过前后反向循环转动水平刮沫的设置,使刮沫区域将液面全部覆盖,及时将液面上的矿化泡沫全部刮出,提高了刮沫效果;通过水平刮沫的设置,保证了刮沫深度的一致性,使刮沫更加均匀;

标签:
选矿浮选机 多功能选矿浮选机
云南 - 迪庆藏族自治州 来源:云南迪庆有色金属有限责任公司 2025-09-23
从铅锌尾矿中回收重晶石的方法及系统

本发明提供一种从铅锌尾矿中回收重晶石的方法,包括以下步骤:预处理阶段:控制球磨机对铅锌尾矿进行研磨,使铅锌尾矿的细度达到0.074mm占72‑75%,并将铅锌尾矿的矿浆浓度控制在41%‑45%,在球磨机的浇料口加入硫酸锌,加入量为1950‑2050克/吨、粗选阶段和精选阶段。本发明提供的一种从铅锌尾矿中回收重晶石的方法,提高回收效率:通过硫酸锌的活化作用、黄药的捕收作用、二号油的起泡作用以及玻璃水的抑制作用,有效提高了重晶石的回收效率;

标签:
铅锌尾矿 重晶石
湖南 - 郴州 来源:郴州桥兴矿业有限责任公司 2025-09-23
皮带输送机异物剔除装置

本实用新型是关于一种皮带输送机异物剔除装置。包括第一CCD相机、除铁器、机械手、控制器;所述第一CCD相机、所述除铁器、所述机械手沿输送机的输送方向依次布置,所述除铁器位于所述输送机的上方;所述第一CCD相机与控制器的信号输入端连接,所述控制器的信号输出端分别与所述除铁器和所述机械手电性连接;本申请通过CCD相机对输送机上的杂物进行拍照和检测,然后通过除铁器有效去除输送机上的金属类杂物,通过机械手有效去除输送机上的非金属杂物,从而有效避免了输送机堵塞的技术问题

标签:
皮带输送机 异物剔除装置
云南 - 迪庆藏族自治州 来源:云南迪庆有色金属有限责任公司 2025-09-23
矿山酸性废水应用于铜硫矿石分选的方法

本发明公开了一种矿山酸性废水应用于铜硫矿石分选的方法,涉及选矿技术领域;而本发明通过矿石磨矿作业中和磨后物料调浆中添加一定量的矿山酸性废水,充分利用矿山酸性废水中的铁、钙离子选择性抑制黄铁矿;通过低碱度下“次氯酸钙氧化改性‑乙基硫氨酯强力捕收‑亚硫酸钠的耦合调控”的技术方案,采用一次粗选、二次扫选和三次精选、中矿顺序返回的铜硫分选流程后,实现了矿山酸性废水的源头资源化处置和铜硫矿石的高效、绿色分选。

标签:
选矿技术 矿山酸性废水 铜硫矿石分选
云南 - 昆明 来源:昆明理工大学, 西藏金龙矿业有限公司, 昆明冶金研究院有限公司 2025-09-23
用于高纯石英砂加工的磁选进料工装

本实用新型公开了一种用于高纯石英砂加工的磁选进料工装,包括进料工装本体和上料口,上料口设置在进料工装本体上,进料工装本体的内部安装有调节机构,通过调节机构对石英砂进行限位,可将不同体积的石英砂分离。该用于高纯石英砂加工的磁选进料工装,由于导向杆为手掌结构,进而使导向杆上下移动的过程中相邻的导向杆之间的间距发生改变,通过导向杆导向杆的间距改变可将导向杆阻挡的石英砂掉落,同时可对大体积的石英砂进行限位,较大的石英砂后期粉碎,防止较大的石英砂掉落在磁选机内部之后产生较大的撞击机

标签:
磁选进料工装 高纯石英砂加工
山东 - 泰安 来源:泰安城发新材料科技有限公司 2025-09-19
用于旋流器与大型磁选机相连的矿浆流布料器

本实用新型公开了一种用于旋流器与大型磁选机相连的矿浆流布料器,属于矿浆布料技术领域。一种用于旋流器与大型磁选机相连的矿浆流布料器,包括导流板,还包括第一分流板和第二分流板,所述第一分流板和第二分流板均设置在导流板的侧面,所述导流板呈喇叭状结构,导流板的一端为宽口,导流板的另一端为窄口,窄口的上方设置有旋流器排料管,底板的下面设置有磁选机给矿箱。

标签:
矿浆流布料器 布料器
安徽 - 马鞍山 来源:安徽马钢矿业资源集团南山矿业有限公司, 安徽马钢矿业资源集团有限公司 2025-09-19
废料筛分装置及立磨磨矿系统

本实用新型公开了矿石粉磨技术领域的一种废料筛分装置及立磨磨矿系统,包括机壳,机壳顶部设置有混合废料入口,机壳底部两侧分别设置有筛上料出口和筛下料出口,机壳内设置有颠动筛分坡道和固定引导坡道,颠动筛分坡道由若干倾斜设置、上下错位拼接的颠动筛单元构成,颠动筛单元包括筛板,筛板的上端与机壳铰接设置,筛板的下端连接有颠动驱动装置,通过颠动驱动装置带动筛板下端频动实现物料筛分,相较于传动振动筛,不仅可提升物料筛分效率,尤其可将卡入筛板上筛孔内的钉子、硬质杂物抖出,防止筛孔堵塞;

标签:
废料筛分装置 立磨磨矿系统
福建 - 宁德 来源:中铜东南铜业有限公司 2025-09-19
高纯石英砂工业余热多级回收与综合利用的方法

本发明公开了一种高纯石英砂工业余热多级回收与综合利用的方法,涉及高纯石英砂生产技术领域,具体步骤:将高纯石英砂生产线中冷却回水、热蒸汽、高温废水通过统一收集、输送及保温处理;并通过控制将热量输送至采暖区域或密闭保温机组房内散热;利用换热器将散发出的余热将纯水加热升温,并输送至浮选、酸洗等工段生产使用。本发明将高纯石英砂生产线产生的余热综合再利用,缓解了高纯石英砂生产能耗偏高问题,解决了常规空气能冬季纯水制热效果较差和冬季厂区采暖问题,进一步补充了一种高纯石英砂工业线节能绿色生产工艺。

标签:
高纯石英砂浮选设备 高纯石英砂
安徽 - 蚌埠 来源:中建材玻璃新材料研究院集团有限公司 2025-09-19
基于锂辉矿石的矿浆脱水方法

本发明涉及一种基于锂辉矿石的矿浆脱水方法,包括如下步骤:锂矿浆通过锂矿浆脱水系统进行脱水,并获得脱水后的锂精矿和第一滤液,将第一滤液回收再利用;铍矿浆通过铍矿浆脱水系统进行脱水,并获得脱水后的铍精矿和第二滤液,将第二滤液回收再利用;如此设置,与传统的矿浆脱水方法相比,提高了污泥处理效率,降低了脱水后的污泥含水率;同时,降低了运输成本。

标签:
矿浆脱水方法 锂辉矿
上海 - 上海 来源:二十冶集团(上海)冶金工业有限公司, 中国二十冶集团有限公司 2025-09-17
矿浆提浓系统的控制方法、装置、设备及介质

本申请公开了一种矿浆提浓系统的控制方法、装置、设备及介质,属于冶金技术领域。该方法包括:获取调节水阀和底流泵之间的矿浆的浓度,以及浓缩机的压力;在第一截门关闭且第二截门打开的情况下,若压力大于预设的压力阈值,则将底流泵的频率调节至预设的第一频率,并控制第一截门打开,第二截门关闭;在第一截门打开且第二截门关闭的情况下,若浓度小于预设的第一浓度阈值,则将底流泵的频率调节至预设的第二频率,并控制第一截门关闭,第二截门打开。

标签:
矿浆提浓系统 矿用设备
河北 - 唐山 来源:首钢滦南马城矿业有限责任公司 2025-09-17
上一页 1 2 3 4 5 ... 500 ... 807 下一页
共807页    到第

中冶有色为您提供最新的有色金属选矿技术理论与应用信息,涵盖发明专利、权利要求、说明书、技术领域、背景技术、实用新型内容及具体实施方式等有色技术内容。打造最具专业性的有色金属技术理论与应用平台!

全国热门有色金属设备推荐
展开更多 +
全国热门有色金属技术推荐
展开更多 +

 

江西省隆恩特环保设备有限公司
宣传

报名参会
更多+

2025年10月15日 ~ 17日
2025年10月17日 ~ 19日
2025年10月31日 ~ 11月02日
2025年11月07日 ~ 09日

报告下载

有色专家
更多+

华东理工大学
主任/教授
矿冶科技集团有限公司
中国工程院院士
北京科技大学
教授
中国矿业大学(北京)
院长/教授
矿冶科技集团
副所长/研究员
赤泥综合利用研究报告2025
推广

热门技术
更多+

推荐企业
更多+

福建省金龙稀土股份有限公司
宣传

发布

在线客服

公众号

电话

顶部
咨询电话:
010-88793500-807