青岛垚鑫智能科技有限公司
宣传

位置:中冶有色 >

有色技术频道 >

> 复合材料技术

分类:
全部
矿山技术
冶金技术
材料制备及加工技术
环境保护技术
分析检测技术
 
全部
功能材料技术
复合材料技术
新能源材料技术
合金材料技术
加工技术
地区:
全部
北京
天津
上海
重庆
河北
山西
辽宁
吉林
黑龙江
江苏
浙江
安徽
福建
江西
山东
河南
湖北
湖南
广东
海南
四川
贵州
云南
陕西
甘肃
青海
内蒙
广西
西藏
宁夏
新疆
其他
其他
展开
 
全部
天津

天津有色金属复合材料技术理论与应用

免费发布技术信息>>
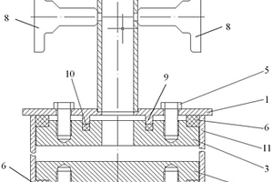
复合材料筒体内壁密封试验装置

本发明公开了一种复合材料筒体内壁密封试验装置,包括设置于复合材料筒体两端的上、下密封模具;所述上密封模具包括上外法兰盘和上内法兰盘,且两者之间通过多个螺栓连接;上外法兰盘和上内法兰盘两者中间均形成通孔,上外法兰盘顶部连接抽空机构;所述下密封模具包括下外法兰盘和下内法兰盘,且两者之间通过多个螺栓连接;所述上内、外法兰盘之间,以及所述下内、外法兰盘之间均设置外密封圈。本发明通过在筒体端口内壁端部实现密封,保证筒体端口的密封性,通过氦质谱检漏仪进行探漏是否存在漏点,从而实现对复合材料筒体内层的气密性检测,实现了在外层复合材料完好的状态下,检测多角度层和内层复合材料的气密性。

标签:
复合材料
天津 - 天津 来源:中冶有色网 2023-03-18
富集降解苯系物有机废水的复合材料的制备方法

本发明涉及一种富集降解苯系物有机废水的复合材料的制备方法,步骤如下:(1)泡沫碳的预处理;(2)在泡沫碳上负载碳微球;(3)在负载了碳微球的泡沫碳上负载钛质前驱体,得到复合材料的前驱体;(4)复合材料前驱体水热生长得到复合材料。本发明所制备的复合材料在30分钟内能有效富集苯系物有机废水,增大苯系物的浓度,富集率达25%。在3小时能有效降解苯系物有机废水,降解率为95%。在制备过程中不产生对环境有污染的副产物,是一种环保型材料。制备方法简单,原料廉价,制备条件温和,操作简单。

标签:
复合材料
天津 - 天津 来源:中冶有色网 2023-03-18
氧化铝晶须增强铝基复合材料的原位制备方法

本发明提供一种氧化铝晶须增强铝基复合材料的原位制备方法,包括:将铝粉和硼酸粉末,放入球磨罐中,充入保护气氛,进行球磨,得到预制粉末;将预制粉末在500~650MPa压力下,保压2~4min,压制成预制块体;将预制块体置于炉膛中烧结,得到内部原位生长出氧化铝晶须的铝基复合材料;将得到的铝基复合材料进行打磨,去掉表面的氧化皮;然后将试样放入涂有高温有机润滑剂的热挤压模具中,在温度500~550℃,压力700~800MPa下进行热挤压;经过热挤压处理的样品进行300~400℃,2~3h的去应力退火处理,制得氧化铝晶须增强铝基复合材料。本发明制得的复合材料具有力学性能好的优点。

标签:
复合材料
天津 - 天津 来源:中冶有色网 2023-03-18
短碳纤维增强树脂基复合材料琴箱手风琴

本发明属于手风琴生产领域,特别涉及一种短碳纤维增强树脂基复合材料琴箱手风琴,包括键盘、风箱、贝司及琴盖,键盘、风箱及贝司依次连接,琴盖固装于键盘上,所述键盘由键盘音箱、琴键及键盘变音器组成,琴键及键盘变音器均安装于键盘音箱上;所述贝司由贝司音箱、贝司豆及贝司变音器组成,贝司豆及贝司变音器均安装于贝司音箱上,其特征在于:所述键盘音箱由短碳纤维增强树脂基复合材料一体成型;所述贝司音箱由短碳纤维增强树脂基复合材料一体成型。本发明短碳纤维增强树脂基复合材料琴箱手风琴具有音色好、重量轻、不易损坏、制作容易、成本较低等优点,是一种具有极高创新性的短碳纤维增强树脂基复合材料琴箱手风琴。

标签:
复合材料
天津 - 天津 来源:中冶有色网 2023-03-18
铜纳米线-金属有机框架核壳复合材料的制备方法

本发明公开一种铜纳米线‑金属有机框架核壳复合材料的制备方法,属于MOFs基复合材料的制备领域。其制备方法是首先将水热法合成的Cu NWs分散在含有十六烷基三甲基溴化铵(CTAB)的脱气甲醇溶剂中,然后在惰性气体保护下在Cu NWs表面生长一层ZIF‑8得到Cu NWs@ZIF‑8核壳复合材料。本发明的优点:通过简单的化学合成工艺在不稳定的铜纳米线表面包裹一层MOFs壳,得到一例Cu NWs@ZIF‑8复合材料,相对于单纯铜纳米线,该复合材料的稳定性明显提高,可用于催化等领域。该制备工艺简单可控,条件温和,环境友好,能源消耗极少,成本低,适应工业生产。

标签:
复合材料
天津 - 天津 来源:中冶有色网 2023-03-18
碳纳米管/碳化硅导热复合材料的制备方法

本发明涉及一种碳化硅/碳纳米管导热复合材料的制备方法,将碳化硅颗粒置于管式炉中;通入氩气和氢气;升温至750‑850℃;通入碳源和催化剂混合溶液,在碳化硅上生长碳纳米管;在真空度小于等于0.1MPa的状态下,将聚碳硅烷溶液与生长碳纳米管的碳化硅浸渍;烘干后形成块体;将所得块体预压、热压成型,即得到碳化硅/碳纳米管导热复合材料。经测试,这种复合材料弯曲强度可达125MPa以上,抗压强度可达500MPa以上。这种复合材料具有良好的抗氧化性能,能在空气中长时间耐受800‑1200℃的高温烧蚀。这种复合材料的导热率能达到30W/(m·K)以上。

标签:
复合材料
天津 - 天津 来源:中冶有色网 2023-03-18
左旋聚乳酸-改性MgO纳米棒复合材料的制备方法

一种左旋聚乳酸-改性MgO纳米棒复合材料的制备方法,包括下述步骤:1)制备MgO纳米棒;2)MgO纳米棒的表面改性;3)制备左旋聚乳酸-改性MgO纳米棒复合材料。本方明的优点是:该制备方法工艺简单、易于实施;制得的复合材料可用于制备包括骨钉、骨板和松质骨螺钉的骨折内固定制品,植入动物体内的成骨能力明显大于PLLA;该制备方法以改性MgO纳米棒作为增强骨架对复合材料力学性能的改善比MgO-NPs颗粒更加有效,因为分布于聚合物基体中的晶须会通过负荷传递、裂纹桥联、裂纹偏转、拔出效应等四种方式,使复合材料的强度和塑性同时得到改善。

标签:
复合材料
天津 - 天津 来源:中冶有色网 2023-03-18
一锅法制备纳米二氧化锆碳量子点复合材料的方法

本发明公开一锅法制备纳米二氧化锆碳量子点复合材料的方法,将氧氯化锆八水化合物加入到去离子水中,使用氢氧化钠水溶液调节pH至1.5~2.5,加热进行反应并滴加含氨基硅烷偶联剂的水溶液,继续搅拌后加入柠檬酸,搅拌均匀,并转移到高温反应釜中进行反应,冷却至室温,冻干。本发明通过一步水热法制备了固态稳定的二氧化锆碳量子点复合材料,通过含氨基的烷氧基硅烷化合物制备碳量子点,能提高复合材料与LED封装材料之间的相容性,减少光散射,复合材料具有的高折射率能提高封装材料的折射率,从而提高LED出光效率。复合材料具有稳定的荧光性质,在紫外或高温条件处理一个月荧光性质基本不变,耐酸碱腐蚀。

标签:
复合材料
天津 - 天津 来源:中冶有色网 2023-03-18
耐应力发白ABS复合材料及其制备方法和应用

本发明属于ABS材料技术领域,公开了一种耐应力发白ABS复合材料及其制备方法和应用。该复合材料包含以下按质量百分数计的组分:ABS树脂45~99%;改性剂0.5~50%;抗氧剂0.3~1%;加工助剂0.1~5%。本发明通过添加改性剂,利用其形成的“海岛结构”,有助于复合材料引发微裂纹,吸收冲击能量,制备得到既保留ABS树脂本身良好的力学性能且具有优异耐应力发白效果的ABS复合材料。本发明的耐应力发白ABS复合材料由于无需添加固定颜色的助剂,因此可制备各种颜色要求的制品,广泛适用于各领域。

标签:
复合材料
天津 - 天津 来源:中冶有色网 2023-03-18
聚乳酸/松香复合材料及其制备方法

聚乳酸/松香复合材料及其制备方法属于高分子复合材料及制备技术;该复合材料由聚乳酸与松香、或者由聚乳酸、松香、增塑剂按照不同重量百分比组成,经真空干燥、熔融挤出、冷切造粒、料粒干燥完成加工,得到聚乳酸/松香复合材料;本复合材料绿色环保,可完全生物降解,用途广泛,具有良好的物理和机械性能,材料成本低廉,生产工艺过程简单。

标签:
复合材料
天津 - 天津 来源:中冶有色网 2023-03-18
筒形复合材料制品的表面处理设备

本实用新型公开了一种筒形复合材料制品的表面处理设备,包括固化箱,固化箱顶部的电动机通过同步带驱动箱内的复合材料制品转动,复合材料制品与固化箱开口侧板之间设置有二号导杠、丝杠、一号导杠,固化箱侧板处设置有驱动丝杠转动的步进电机和驱动一号导杠探出端上下移动的气缸,连接器的连接板上设置有二号套筒、丝母、一号套筒,连接板远离复合材料制品一侧设置有纵向支杆,支杆上设置有集胶盒和刮胶片。本实用新型通过气缸活塞杆的提升和复位来实现刮胶片与复合材料制品贴覆与分离,再通过步进电机的驱动连接器的左右移动,来完成刮胶片的刮胶行程与复位行程,本实用新型中的刮胶过程在固化箱工作的环境下进行,提高复合材料制品的质量。

标签:
复合材料
天津 - 天津 来源:中冶有色网 2023-03-18
超高纤维含量3D机织防弹复合材料的RTM模具设计与制备方法

本发明公开了一种超高纤维含量3D机织防弹复合材料的RTM模具设计与制备方法。本发明涉及复合材料制备与机械设计领域。由于3D机织物的整体结构,其纤维体积含量低于同等经密和纬密的UD、2D织物;RTM复合材料制备是在高压下将树脂注入装有预制体的封闭模腔中,纤维体积含量高,树脂流动受阻,会造成复合材料出现干斑、气泡等缺陷。本发明针对上述问题,提出了一种超高纤维含量3D机织防弹复合材料的RTM模具设计与制备方法,模具包括活塞块、胶条压板、边框、底板和限位块。不仅实现了复合材料的纤维含量的精确调控,还实现了高压动密封,及低压下快速充分注胶,高压下排出气泡和多余树脂。既可生产超高纤维含量复合材料,又提高了生产效率。

标签:
复合材料
天津 - 天津 来源:中冶有色网 2023-03-18
碳纤维增强聚醚醚酮复合材料表面生物活性钙磷层及制备

本发明涉及一种三维编织碳纤维增强聚醚醚酮复合材料表面生物活性钙磷层及制备。将热压成型的三维编织碳纤维增强聚醚醚酮复合材料进行打磨、抛光,然后通过碱液处理、复合活化处理、等离子处理或离子注入预处理工艺使复合材料表面具有活性,再将经过预处理的样品浸泡在模拟体液中进行仿生矿化。所述的钙磷层的厚度4-10μm,钙磷层钙磷原子比为1∶1-1.5。本发明优点在于工艺过程简单,通过该种方法处理,可使该复合材料具有优异力学特性(高的冲击、弯曲强度和与骨接近的模量)的同时,具有良好的表面生物活性,使其作为新一代骨植入物具有更好的治疗效果。

标签:
复合材料
天津 - 天津 来源:中冶有色网 2023-03-18
细菌纤维素/明胶/羟基磷灰石复合材料及其制备方法

本发明涉及一种细菌纤维素/明胶/羟基磷灰石复合材料及其制备方法。它是以细菌纤维素凝胶膜、明胶、原花青素、CaCl2和模拟体液为原料,细菌纤维素凝胶膜、明胶、原花青素、CaCl2的质量比:100-200∶1-5∶4-6∶6-10。首次以原花青素作为交联剂对明胶进行交联,使明胶包裹在细菌纤维素的纤维表面,制得细菌纤维素/明胶复合材料,进而采用仿生矿化方法制备细菌纤维素/明胶/羟基磷灰石复合材料。本发明提供的复合材料具有良好的力学性能和独特的三维纳米网络结构,在结构和成分上更加接近仿生,满足人体软骨组织工程材料的要求。本发明所用试剂安全无毒性,成本低,制备工艺简单。

标签:
复合材料
天津 - 天津 来源:中冶有色网 2023-03-18
铝粉表面原位催化固态碳源制备石墨烯片负载镍增强铝复合材料的方法

本发明公开一种铝粉表面原位催化固态碳源制备石墨烯片负载镍增强铝复合材料的方法,包括:以环氧树脂为网络形成剂,以无水乙醇为分散剂混合配成溶液;以纯铝粉为基体原料,以六水合硝酸镍为催化剂,以无水葡萄糖为碳源,按照纯铝粉、六水合硝酸镍、无水葡萄糖质量比为(150?250) : 4?6 : (0, 8?1.2)加入上述的溶液中水浴溶解,得到Ni2+负载环氧树脂/Al网络状混合物;以乙二胺为网络固化剂,得到结构稳定的Ni2+负载环氧树脂/Al复合材料。复合材料煅烧,得到Ni负载石墨烯纳米片GNS/Al复合粉末;最后,将该复合粉末置于真空热压炉中烧结成型。

标签:
复合材料
天津 - 天津 来源:中冶有色网 2023-03-18
聚氯乙烯复合材料及其制备方法

本发明涉及一种聚氯乙烯复合材料及其制备方法,所述聚氯乙烯复合材料为添加了木质素/纳米稀土氧化物的聚氯乙烯复合材料,制备步骤包括:首先进行纳米稀土氧化物表面改性,然后制备木质素/纳米稀土氧化物复合材料,最后采用熔融共混方法制得聚氯乙烯复合材料。本发明聚氯乙烯复合材料各组分相容性好,综合力学性能优良,纳米稀土氧化物和木质素的加入赋予了聚氯乙烯复合材料特殊的稀土特性、阻燃性和防紫外线性。

标签:
复合材料
天津 - 天津 来源:中冶有色网 2023-03-18
纳米多孔银负载多孔氧化银纳米片复合材料及其制备方法

本发明为一种纳米多孔银负载多孔氧化银纳米片复合材料及其制备方法。该复合材料为棒材,包括非晶基体、覆盖在非晶基体上的纳米多孔银以及负载在纳米多孔银表面的多孔氧化银纳米片;所述的非晶基体为CuxZryAgz合金成分,其中x,y,z为原子百分比,35≤x≤45,35≤y≤45,10≤z≤30,且x+y+z=100;其中纳米多孔银层厚100~150μm,韧带宽20~110nm,孔径尺寸30~150nm;纳米片层厚50~110nm,纳米片长150~400nm,宽10~100nm,厚5~10nm;纳米片上的纳米孔洞尺寸为1~3nm。该复合材料在抗菌材料领域占有独特的结构和性能优势。

标签:
复合材料
天津 - 天津 来源:中冶有色网 2023-03-18
尖晶石晶须增强铝基复合材料的致密强化方法

本发明公开了一种尖晶石晶须增强铝基复合材料的致密强化方法。该方法以铝粉、镁粉、氧化硼粉末为原料,进行球磨预处理,得到了原位生长的尖晶石晶须增强的铝基复合材料,复合材料的初坯经预热以及热挤压二次处理后得到了表面光滑,棒状的尖晶石晶须增强铝基复合材料。本发明工艺简单,成本低廉,致密度可以达到理论密度的95%以上,抗拉强度和抗压强度均可以达到纯铝材料的4倍以上。从而证明了原位获取增强体的思路有效可行,可以进一步推广到多种增强体以及其他基体复合材料制备方法的探索道路上,为新型复合材料的制备和应用开阔了新思路。

标签:
复合材料
天津 - 天津 来源:中冶有色网 2023-03-18
电子设备机箱的3D打印碳纤维复合材料方法

本公开提供一种电子设备机箱的3D打印碳纤维复合材料方法,包括:获取电子设备机箱的金属层部分;获取所述金属层部分的三维模型;根据所述三维模型得到铺设碳纤维复合材料的铺设路径;根据所述铺设路径将所述碳纤维复合材料3D打印于所述金属层部分的表面。该电子设备机箱的3D打印碳纤维复合材料方法实现了3D打印碳纤维复合材料,避免了使用碳纤维复合材料成型模具,进而降低了整体制造成本。

标签:
复合材料
天津 - 天津 来源:中冶有色网 2023-03-18
纳米多孔铜负载多孔氧化亚铜纳米片复合材料及其制备方法

一种纳米多孔铜负载多孔氧化亚铜纳米片复合材料,该复合材料为棒材,包括非晶基体、覆盖在非晶基体上的纳米多孔铜以及负载在纳米多孔铜表面的多孔氧化亚铜纳米片;所述的非晶基体为CuxZryTizAlw合金成分,其中x,y,z,w为原子百分比,45≤x≤50,20≤y≤25,25≤z≤30,5≤w≤10且x+y+z+w=100;其中纳米多孔铜层厚80~140μm,韧带宽110~140nm,孔径尺寸40~100nm;纳米片层厚50~90nm,纳米片长30~80nm,宽5~10nm,纳米片上的纳米孔洞尺寸为1~4nm。本发明制备工艺简单、制备周期短;所制备的复合材料拥有良好的机械完整性和热稳定性,可循环重复利用,经济效益得到提高。

标签:
复合材料
天津 - 天津 来源:中冶有色网 2023-03-18
磁性氧化石墨烯-金属有机框架纳米复合材料及其制备方法和应用

本发明提供磁性氧化石墨烯‑金属有机框架纳米复合材料及其制备方法和应用,磁性氧化石墨烯‑金属有机框架纳米复合材料具有Fe3O4@C球形纳米颗粒均匀地沉积在折叠的分层氧化石墨烯板的表面,UiO‑66‑NH2晶体颗粒附着在氧化石墨烯透明层状结构的表面的微观结构,其中,磁性氧化石墨烯‑金属有机框架纳米复合材料具有332.260m2/g的比表面积和0.271cm3/g的孔隙率。本发明制备得到的磁性氧化石墨烯‑金属有机框架纳米复合材料具有高比表面积和足够的孔隙率,该纳米复合材料具有磁性,可通过外加磁场方便地从溶液中分离,将该纳米复合材料用于吸附水溶液中的铅离子,该纳米复合材料是一种很有前途的水修复和净化环境应用材料。

标签:
复合材料
天津 - 天津 来源:中冶有色网 2023-03-18
氟化铜/三氧化钼/石墨烯复合材料及其电极的制备方法

本发明涉及氟化铜/三氧化钼/石墨烯复合材料及电极的制备方法。将石墨烯与CuF2/MoO3复合材料置于玛瑙球磨罐中,放置球磨珠子;球磨罐置于密闭的不锈钢外衬球磨罐中,向模具中充入惰性保护气体;在行星球磨机上球磨,得到的氟化铜/三氧化钼/石墨烯复合材料粉末;将复合材料粉末与乙炔黑和聚偏氟乙烯按照8:1:1的质量比混合,滴加NMP将混合物调制成匀浆均匀地涂布在不锈钢薄膜上,将不锈钢片在60-80℃下真空烘干20-24h;裁剪成电池相似形状。本发明不需要特殊的反应仪器,制备成本低廉。与不添加石墨烯的氟化铜/三氧化钼复合材料制备的电池相比,其倍率性能和容量都有了极大的提升。

标签:
复合材料
天津 - 天津 来源:中冶有色网 2023-03-18
铁酸锰/生物炭复合材料及其制备方法和应用

本发明公开了一种铁酸锰/生物炭复合材料及其制备方法和应用,铁酸锰/生物炭复合材料的制备方法包括以下步骤:将铁盐、锰盐和水混合,得到第一混合溶液,向第一混合溶液中加入柠檬酸和氯化钠,搅拌,调节pH至6.5~7.5,得到第二混合溶液,将生物炭液体与第二混合溶液混合,在搅拌条件下加热成凝胶,再煅烧,得到铁酸锰/生物炭复合材料,本发明的铁酸锰/生物炭复合材料活化的PMS,铁酸锰/生物炭复合材料具有较高的双酚A去除活性,且催化剂用量较少,本发明的铁酸锰/生物炭复合材料有较低的金属浸出风险,一定程度上减少了对环境的污染。

标签:
复合材料
天津 - 天津 来源:中冶有色网 2023-03-18
密封用树脂合金复合材料及其制备方法

本发明属于复合材料领域,涉及一种密封用树脂合金复合材料及其制备方法。根据本发明实施例的密封用树脂合金复合材料,由基层及分布在基层两侧的面层组成,基层包括甲基乙烯基硅橡胶生胶20‑25重量份、聚酰亚胺2‑15重量份、聚四氟乙烯100重量份、弹性预聚体20‑50重量份和二亚硝基五亚甲基四胺1‑5重量份;面层包括乙烯基硅树脂包覆纳米氮化铝2‑8重量份、聚四氟乙烯100重量份、聚醚醚酮2‑15重量份以及天然橡胶10‑35重量份。与现有技术相比,根据本发明的密封用树脂合金复合材料的制备方法,通过弹性预聚体合成、基料制备及造粒、纳米氮化铝包覆、面料复合及造粒和复合成型等工艺制备密封用树脂合金复合材料。根据本发明实施例的密封用树脂合金复合材料具有优异的机械性能、耐磨性能和耐油性能。

标签:
复合材料
天津 - 天津 来源:中冶有色网 2023-03-18
碳纤维增强热塑性复合材料焊接装置

一种碳纤维增强热塑性复合材料焊接装置。其包括横梁、气压缸、压头、上铜板、下铜板、导轨、导轨绝缘板、复合材料层板固定板、控制柜、支撑台架、塑料绝缘板、门式架、小限位片、大限位片、电极绝缘板、滑台、电源和气压机;本发明提供的碳纤维增强热塑性复合材料焊接装置可根据被焊接复合材料的大小和形状来改变相应限位片和铜板的位置,通过气压缸以及压头提供的瞬时恒压实现复合材料层板的焊接。另外,气压装置的应用可使复合材料的焊接过程变得更加省力、安全、高效。本装置可变性强,适应性强、方便省力、设计合理高效。

标签:
复合材料
天津 - 天津 来源:中冶有色网 2023-03-18
耐高温抗氧化导热碳纤维/碳化硅复合材料的制备方法

本发明涉及一种制备耐高温抗氧化导热碳纤维/碳化硅复合材料的制备方法;将碳纤维织布浸泡在Fe(NO3)3溶液中,浸泡烘干;将负载催化剂的碳纤维织布置于管式炉中;通入Ar和H2;然后通入碳源,生长结束后得到生长有碳纳米管的碳纤维织布;将4-8层碳纤维织布叠加浸泡在聚碳硅烷的二甲苯溶液中;在负压状态浸泡后将碳纤维织布叠层取出,烘干后形成块体;置于马弗炉中氧化1-2h;将块体放入管式炉中,通入Ar升温至1200℃,然后降温获得耐高温抗氧化导热碳纤维/碳化硅复合材料。这种碳纤维/碳化硅复合材料具有良好的力学性能,弯曲强度可达115MPa以上,抗压强度可达450MPa以上。本发明方法简单、低成本、能耗低。

标签:
复合材料
天津 - 天津 来源:中冶有色网 2023-03-18
三维间隔织物增强水泥基复合材料及其制备方法

一种三维间隔织物增强水泥基复合材料及其制备方法,涉及一种水泥基复合材料。先将三维间隔织物放入模具中,利用树脂传递模塑技术,使树脂与三维间隔织物复合。在树脂固化后,得到三维间隔织物复合材料骨架。再将水泥胶凝材料、水和添加剂混合搅拌均匀,浇注在三维间隔织物复合材料骨架中,经密实硬化,养护成型即完成三维间隔织物增强水泥基复合材料的制备。本发明提供的三维间隔织物与树脂复合后能得到各种形状的复合材料骨架,经水泥浇筑凝固成各种形状的建筑构件。而且本发明得到的水泥基复合材料大大提高了普通混凝土的强度,施工简便,性能优异。

标签:
复合材料
天津 - 天津 来源:中冶有色网 2023-03-18
具有疏水包覆层的金属锂-骨架碳复合材料、其制备方法与应用

公开了一种具有疏水包覆层的金属锂‑骨架碳复合材料、其制备方法、含有该金属锂‑骨架碳复合材料的电极和电化学储能装置,以及保护含对水、氧敏感的活性金属材料的方法。具有疏水包覆层的金属锂‑骨架碳复合材料包括:金属锂‑骨架碳复合材料,包括多孔碳材料载体和至少分布于所述多孔碳材料载体的孔隙中的金属锂;疏水包覆层,其至少包覆所述金属锂‑骨架碳复合材料中的金属锂。由于疏水包覆层具有隔绝水和氧的功能,具有疏水包覆层的金属锂‑骨架碳复合材料可以稳定存在于空气中,采用具有疏水包覆层的金属锂‑骨架碳复合材料作为锂电池的负极可以提高电池的安全性和循环寿命。

标签:
复合材料
天津 - 天津 来源:中冶有色网 2023-03-18
复合材料井字梁及其成型工装、成型方法

本发明公开了一种复合材料井字梁及其成型工装、成型方法,属于运载火箭承力结构件的技术领域。一种复合材料井字梁,复合材料井字梁是采用碳纤维复合材料制作的,复合材料井字梁为一体成型的结构。解决了现有技术中,井字梁采用金属的材质焊接而成,导致整体的重量比较重,质量差的技术问题。本发明的复合材料井字梁是采用碳纤维复合材料制作的,并且为一体成型的结构,替代现有技术中的金属井字梁,产品具有强度高、刚度高、可设计性好、耐疲劳、耐腐蚀和阻尼抗震性好等特点,整体的重量轻,采用一体成型,整体质量好。

标签:
复合材料
天津 - 天津 来源:中冶有色网 2023-03-18
环氧树脂体系及其在复合材料模具制造中的应用

本发明涉及一种环氧树脂体系及其在复合材料模具制造中的应用。本发明的环氧树脂体系包括:组分A,所述组分A包含环氧树脂或者由环氧树脂组成;和组分B,所述组分B包含第一固化剂和第二固化剂,所述第一固化剂为脂肪胺,所述第二固化剂为芳香胺或酸酐固化剂。本发明还提供了所述环氧树脂体系在复合材料模具制造中的应用。本发明的环氧树脂体系具有如下优点:常温初始粘度低,工艺适用期长,降低了复合材料模具的制造难度;固化温度低,降低了复合材料模具的制造成本;玻璃化转变温度高,收缩率低,力学性能好,提高了复合材料模具的使用性能。因此,本发明的环氧树脂体系特别适用于耐高温型复合材料模具的制造。

标签:
复合材料
天津 - 天津 来源:中冶有色网 2023-03-18
上一页 96 97 98 99 100 ... 105 下一页
共105页    到第

中冶有色为您提供最新的天津有色金属复合材料技术理论与应用信息,涵盖发明专利、权利要求、说明书、技术领域、背景技术、实用新型内容及具体实施方式等有色技术内容。打造最具专业性的有色金属技术理论与应用平台!

全国热门有色金属设备推荐
展开更多 +
全国热门有色金属技术推荐
展开更多 +

 

江西省隆恩特环保设备有限公司
宣传

报名参会
更多+

2025年10月15日 ~ 17日
2025年10月17日 ~ 19日
2025年10月31日 ~ 11月02日
2025年11月07日 ~ 09日

报告下载

有色专家
更多+

太原理工大学
院长/教授
武汉理工大学
外籍院士/教授
赣州江钨钨合金有限公司
工程师
武汉科技大学
院长 / 教授
长沙有色冶金设计研究院有限公司
正高级工程师/中国铝业首席工程师/全国有色金属行业设计大师/国家注册采矿工程师
赤泥综合利用研究报告2025
推广

热门技术
更多+

推荐企业
更多+

福建省金龙稀土股份有限公司
宣传

发布

在线客服

公众号

电话

顶部
咨询电话:
010-88793500-807