青岛垚鑫智能科技有限公司
宣传

位置:中冶有色 >

有色技术频道 >

> 复合材料技术

分类:
全部
矿山技术
冶金技术
材料制备及加工技术
环境保护技术
分析检测技术
 
全部
功能材料技术
复合材料技术
新能源材料技术
合金材料技术
加工技术
地区:
全部
北京
天津
上海
重庆
河北
山西
辽宁
吉林
黑龙江
江苏
浙江
安徽
福建
江西
山东
河南
湖北
湖南
广东
海南
四川
贵州
云南
陕西
甘肃
青海
内蒙
广西
西藏
宁夏
新疆
其他
其他
展开
 
全部
广州
韶关
深圳
珠海
汕头
佛山
江门
湛江
茂名
肇庆
惠州
梅州
汕尾
河源
阳江
清远
东莞
中山
潮州
揭阳
云浮

广东深圳有色金属复合材料技术理论与应用

免费发布技术信息>>
富锂三元复合材料及其制备方法和二次电池

本申请涉及电极活性材料技术领域,提供了一种富锂三元复合材料及其制备方法和二次电池。本申请提供的富锂三元复合材料包括含锂的金属氧化物核和包覆在金属氧化物核表面的含锰补锂添加剂包覆层,金属氧化物核所含的金属元素包括三元活性材料所含的金属元素,含锰补锂添加剂包覆层中的含锰补锂添加剂的通式为aLi2O·bLixMnyOz,其中,0.01≤a≤0.2,0.5≤b≤4.5,0.5≤x≤5.5,0.2≤y≤2.2,0.8≤z≤6.8。本申请富锂三元复合材料在具有高的补锂效果的基础上,还具有高镍三元活性材料的活性,使富锂三元复合材料的稳定性和补锂效果以及储存性能好。

标签:
复合材料
广东 - 深圳 来源:中冶有色网 2023-03-18
碳纳米管/聚酰亚胺复合材料膜及其制备方法

本发明属于复合材料技术领域,尤其涉及一种碳纳米管/聚酰亚胺复合材料膜的制备方法,包括步骤:获取碳纳米管膜和熔融的聚酰亚胺;在所述碳纳米管膜的运行速率为10cm/min~20cm/min,温度为350℃~420℃的条件下,将所述熔融的聚酰亚胺以2mL/min~120mL/min的喷附量喷射于所述碳纳米管膜表面,对喷附有熔融聚酰亚胺的碳纳米管膜加压处理,冷却得到碳纳米管/聚酰亚胺复合材料膜。本发明提供的碳纳米管/聚酰亚胺复合材料膜的制备方法,通过调控碳纳米管膜的运行速率、熔融的聚酰亚胺的喷射情况可实现连续量产,制备工艺简单,适应于工业化大规模生产和应用。

标签:
复合材料
广东 - 深圳 来源:中冶有色网 2023-03-18
聚醚醚酮复合材料及其制备方法与应用

本发明涉及一种聚醚醚酮复合材料及其制备方法与应用。该聚醚醚酮复合材料的制备方法包括:将聚醚醚酮细丝制备成三维结构排布体;然后对三维结构体排布体预热;再与生物活性材料混合,生物活性材料选自羟基磷灰石、β‑磷酸三钙及生物活性玻璃中的至少一种;然后将负载生物活性材料的三维结构排布体热压。通过将聚醚醚酮制备成三维结构排布体,预热后与生物活性材料混合,然后通过热压控制聚醚醚酮的结晶度及三维结构之间的粘合力,从而对复合材料的力学性能进行调控,同时改善生物活性材料与聚醚醚酮之间的相容性,制备得到的聚醚醚酮复合材料兼具较好的力学性能和生物活性,尤其适用于制备医用植入材料。

标签:
复合材料
广东 - 深圳 来源:中冶有色网 2023-03-18
高韧性耐候耐高温无卤阻燃聚苯醚复合材料及其制备方法

本发明提供一种高韧性耐候耐高温无卤阻燃聚苯醚复合材料,按重量份数计包含100份聚苯醚树脂、10‑30份聚苯乙烯树脂、2‑6份增韧剂、0.5‑3份相容剂、6‑15份无卤阻燃剂、0.5‑2份抗UV剂、0.5‑1份抗氧剂、0.5‑1份润滑剂、0.3‑1份抗滴落剂。本发明还提供了该复合材料的制备方法。本发明的复合材料通过其所使用的相容剂、增韧剂和无卤阻燃剂等组分,改善了韧性、耐候性,是一种高韧性耐候耐高温无卤阻燃聚苯醚复合材料,可以用于光伏连接器壳体材料。

标签:
复合材料
广东 - 深圳 来源:中冶有色网 2023-03-18
LED灯杯、绝缘导热复合材料及其制备方法与应用

本发明涉及一种LED灯杯、绝缘导热复合材料及其制备方法与应用。该绝缘导热复合材料,按照质量百分比计,包括:尼龙树脂35%~50%;导热剂25%~55%;无碱玻璃纤维8%~20%;增韧剂2%~8%;硅烷偶联剂0.2%~0.5%;润滑剂0.3%~2%;及抗氧剂0.2%~0.5%;其中,所述导热剂在面内方向的导热系数至少为30W/m·K。通过组分间的合理配比,绝缘导热复合材料的导热系数为1.2W/m·K~1.35W/m·K,且力学性能优良;同时,绝缘导热复合材料热膨胀系数与铝材的热膨胀系数接近,尤其适合作为LED照明器件的绝缘导热材料。

标签:
复合材料
广东 - 深圳 来源:中冶有色网 2023-03-18
核壳结构复合材料、其制备方法及在锂离子电池的用途

本发明公开了核壳结构复合材料、其制备方法及在锂离子电池的用途。所述核壳结构复合材料中,内核的主要组成为硬碳材料,外壳为纳米钛酸锂颗粒和碳化后的粘结剂复合而形成的复合包覆层,而且,纳米钛酸锂颗粒由碳化后的粘结剂固定并分散在内核表面。所述方法包括:1)制备硬碳材料作为内核;2)采用纳米钛酸锂颗粒、粘结剂和内核为原料,使纳米钛酸锂经粘结剂的固化作用固定在内核的表面,得到由内核及包覆在内核表面的复合包覆层前驱体构成的产物;3)预烧结,然后烧结处理,得到核壳结构复合材料。本发明的核壳结构复合材料具有高压实、高容量、高首次充放电效率、循环稳定性好的优点,在锂离子电池领域具有广阔的应用前景。

标签:
复合材料
广东 - 深圳 来源:中冶有色网 2023-03-18
界面增强的复合材料及其用途

本发明提供了一种界面增强的复合材料及其用途。所述复合材料包括:衬底和薄膜层;所述衬底表面具有微纳米尺度的凹陷结构;所述衬底上具有所述凹陷结构的面与所述薄膜层贴合。本发明通过在衬底上处理出微纳米尺度的凹陷结构,增加了薄膜层与衬底之间的总接触面积,提高了二者的结合强度,从而使得复合材料在弯曲时抵抗裂纹产生的能力更强;薄膜层与衬底相互交叉的界面结构则使得材料的耐磨性能提高,且能够减小甚至消除材料中的残余应力,延长材料的服役期。本发明提供的复合材料可用于蓝光LED器件的衬底、柔性电路板、OLED或QLED封装、挡风玻璃、飞机机体或汽车车身等领域。

标签:
复合材料
广东 - 深圳 来源:中冶有色网 2023-03-18
复合材料负极、电池及其制备方法

一种复合材料负极、电池及其制备方法,该复合材料负极包括三维骨架与活性金属,所述三维骨架包括以高分子材料或无机氧化物为原料制备的不导电的多孔介电层,以及以碳材料或金属材料为原材料制备的多孔导电层,所述多孔介电层与所述多孔导电层周期组装在一起形成导电/介电周期交替排列的三维骨架,所述活性金属嵌入所述三维骨架形成所述复合材料负极。由于周期性导电骨架对电子传输路径与离子浓度分布的调控,所述复合材料负极能有效提高金属负极在循环过程中的稳定性,抑制枝晶生长,提高金属负极的安全性。

标签:
复合材料
广东 - 深圳 来源:中冶有色网 2023-03-18
纳米/亚微米结构B<sub>13</sub>N<sub>2</sub>-cBN超硬复合材料及其制备方法和刀具

一种纳米/亚微米结构B13N2‑cBN超硬复合材料及其制备方法和刀具,涉及超硬材料领域。纳米/亚微米结构B13N2‑cBN超硬复合材料的制备方法包括:将非晶硼粉体与cBN粉体按照摩尔比为11:(2‑11)混合均匀后经真空热处理,得到初始材料;将初始材料置于压力8‑25GPa,温度为1200‑2300℃的条件下进行固相反应/烧结,以得到B13N2‑cBN超硬复合材料。通过对温度、压力与固相反应/烧结反应时间的调控与性能截获,成功制备大尺寸、无粘接剂的B13N2基超硬复合材料,并能有效实现工业化生产,应用于刀具材料,满足超精细切削刀具刃口的平整度与锋利度,以及耐磨刀具的耐磨要求。

标签:
复合材料
广东 - 深圳 来源:中冶有色网 2023-03-18
氢氧化镍/二硫化钴复合材料及其制备方法和应用

本发明属于电容器材料技术领域,具体涉及一种氢氧化镍/二硫化钴复合材料及其制备方法和应用。该氢氧化镍/二硫化钴复合材料的制备方法包括如下步骤:提供碳布,在所述碳布表面生长钴基金属有机骨架材料;将生长有所述钴基金属有机骨架材料的碳布置于含有硫源的醇溶液中,进行加热处理,在所述碳布表面生成二硫化钴纳米棒;随后在所述二硫化钴纳米棒表面沉积氢氧化镍,得到所述氢氧化镍/二硫化钴复合材料。该制备方法得到的氢氧化镍/二硫化钴复合材料具有很好的电化学性能和柔性,将其用作电极材料用于柔性超级电容器中,不仅具有较高的能量密度和长的循环性能,而且具有很好的柔性,因此,具有很好的应用价值。

标签:
复合材料
广东 - 深圳 来源:中冶有色网 2023-03-18
三维结构复合材料及其制备方法和用途

本发明提供了一种三维结构复合材料及其制备方法和用途。具体公开了一种三维结构复合材料,其特征在于,其以聚氨酯海绵为基质、并在聚氨酯海绵表面和内部包覆石墨烯,并在石墨烯上通过化学镀方法依次包覆镍层和金层,最后通过聚二甲基硅氧烷封装而成。这种三维结构复合材料柔性导体具有良好的可拉伸性(可拉伸最大应变达30%),能够在不同形变下保持导电稳定性(拉伸、弯曲和扭曲三种形变),本发明的三维结构复合材料柔性导体解决了柔性导体在拉伸应变不高、不同形变下稳定性不高、长时间使用稳定性不好的问题,大大提高了导电性能。

标签:
复合材料
广东 - 深圳 来源:中冶有色网 2023-03-18
高岭土-环氧树脂仿生复合材料及其制备方法

本发明涉及一种高岭土‑环氧树脂仿生复合材料及其制备方法,该高岭土‑环氧树脂仿生复合材料包含有如下组分:由高岭土制得的高岭土‑聚多巴胺复合填料、环氧树脂、固化剂以及催化剂。本发明的高岭土‑环氧树脂仿生复合材料具有与天然贝壳相类似的“砖‑泥”微观结构,由于采用聚多巴胺对高岭土进行表面功能化,提高了高岭土与环氧树脂的相互作用,采用热压技术实现了高岭土在环氧树脂中的有序排列,从而提高了复合材料的力学强度。

标签:
复合材料
广东 - 深圳 来源:中冶有色网 2023-03-18
硒基复合材料用作正极活性材料在钡离子电池中的应用、钡离子电池及其制备方法

本发明公开了一种硒基复合材料用作正极活性材料在钡离子电池中的应用、钡离子电池及其制备方法,涉及电化学储能器件领域。硒基复合材料用作正极活性材料在钡离子电池中的应用。钡离子电池包括负极、正极、介于正负极之间的隔膜以及电解液;正极材料活性物质为能够可逆地嵌入、脱嵌钡离子的硒基复合材料;电解液包括钡盐和非水溶剂。钡‑硒体系电池以硒基复合材料为正极活性材料,以钡为负极,钡盐为电解质。本发明缓解了现有的锂离子电池锂资源储量有限、成本高的缺点,本发明钡‑硒体系电池通过钡离子在正负极之间嵌入‑脱嵌过程实现储能,该体系的电池具有高能量密度、高功率密度和低成本的特性。

标签:
复合材料
广东 - 深圳 来源:中冶有色网 2023-03-18
Li2MoO3/石墨烯复合材料及其制备方法和锂离子电容器

本发明提供了Li2MoO3/石墨烯复合材料及其制备方法和锂离子电容器。其制备方法包括:(1)将碳酸锂和三氧化钼按化学计量比1∶1混合,研磨1~5h,得到混合物粉体;(2)将混合物粉体加入到马弗炉中,加热至500~700℃,反应3~8h,得到Li2MoO3前驱体;(3)取石墨烯与Li2MoO3前驱体混合,研磨1~5h后,置于惰性气体保护的马弗炉中500~800℃反应10~24h,得到石墨烯/Li2MoO3复合材料。本发明制备出的Li2MoO3/石墨烯复合材料,具备较好的功率密度和较高的容量。本发明制备方法工艺流程简单。本发明提供的锂离子电容器,以Li2MoO3/石墨烯复合材料作为正极活性材料。

标签:
复合材料
广东 - 深圳 来源:中冶有色网 2023-03-18
复合材料及其制备方法、应用

本申请涉及一种复合材料及其制备方法、应用,所述复合材料为面‑点‑线三维结构,所述复合材料包括石墨烯、纳米碳氧化物和导电聚合物,所述石墨烯的表面吸附有所述纳米碳基氧化物,所述石墨烯通过纳米碳氧化物连接有所述导电聚合物,所述导电聚合物为纳米线结构。本申请制备的复合材料的结构组成以石墨烯为基底,石墨烯的表面吸附点状的纳米碳基氧化物,以点状纳米碳基氧化物为桥梁或交联剂将导电聚合物纳米纤维和石墨烯连接在一起,最终形成三维结构,纳米碳基氧化物存在石墨烯表面,能够防止石墨烯的回叠,解决了石墨烯与导电聚合物复合难的问题。

标签:
复合材料
广东 - 深圳 来源:中冶有色网 2023-03-18
高容量核壳型无定形碳基复合材料、其制备方法及包含其的锂离子电池

本发明公开了一种高容量核壳型无定形碳基复合材料、其制备方法及包含其的锂离子电池。所述核壳型无定形碳基复合材料为双壳层的核‑壳结构,包括由内到外的内核、第一壳层和第二壳层,其中,内核为无定形碳材料,第一壳层为碳硅包覆层,第二壳层为碳包覆层。本发明采用多面体笼型低聚倍半硅氧烷作为碳硅包覆层的前驱体,进一步包覆导电碳或热裂解碳,制得核壳型无定形碳基复合材料,采用该复合材料作负极活性材料制备的锂离子电池具有优异的综合性能。比容量可达553.1mAh/g,首效可达87.7%,常温1C循环50周容量保持率可达97.3%,‑30℃时0.5C放电容量可达室温0.5C放电容量的71.5%以上,且安全性能好。

标签:
复合材料
广东 - 深圳 来源:中冶有色网 2023-03-18
氧化石墨烯-聚苯乙烯复合材料的制备方法

本发明实施例公开了一种氧化石墨烯‑聚苯乙烯复合材料的制备方法,属于高分子复合材料技术领域。一种氧化石墨烯‑聚苯乙烯复合材料的制备方法,酰氯化氧化石墨烯和氨基聚苯乙烯在加热条件下反应获得。本发明通过对氧化石墨烯和聚苯乙烯分别进行功能化改性,二者能够能够共价键连接,使得氧化石墨烯与聚苯乙烯分子链结合更加紧密,增强聚苯乙烯基体局部的交联网络,所制备的复合材料具有优异的热稳定性及力学等性能。

标签:
复合材料
广东 - 深圳 来源:中冶有色网 2023-03-18
多元异质结构纳米复合材料及可控制备方法与锂离子电池

本发明公开多元异质结构纳米复合材料及可控制备方法与锂离子电池。所述可控制备方法,以蚕丝蛋白为模板,乙酸铜为铜源,采用一步水热法,通过控制蚕丝蛋白水溶液的浓度、水热反应的温度和水热反应的时间,可控制备得到多元异质结构纳米复合材料。本发明提供的多元异质结构纳米复合材料及可控制备方法与锂离子电池,本发明以蚕丝蛋白为生物模板和衍生碳源,乙酸铜为铜源,采用一步水热法,通过控制蚕丝蛋白水溶液的浓度、水热温度或水热时间,就能可控制备CuO单元、CuO‑Cu2O二元或CuO‑Cu2O‑Cu三元纳米复合材料。相比于现有技术,一步水热法,方法简便快捷,而且无需添加其它任何无机物或有机物,绿色环保。

标签:
复合材料
广东 - 深圳 来源:中冶有色网 2023-03-18
高频复合材料及其制备方法

本发明涉及电子材料领域,公开了一种高频复合材料及其制备方法,该高频复合材料包括至少两层层叠设置的低k高分子多孔膜及浸渍胶层,浸渍胶层渗入形成于每一层低k高分子多孔膜的内部及外侧;其中,浸渍胶层按质量分数计包括以下各组分:环氧树脂100份,固化剂5~130份,发泡剂0.5~25份,导热剂1~15份,阻燃剂5~20份,及偶联剂0.5~5份。本发明通过低k高分子多孔膜及浸渍胶层,能够降低高频复合材料的介电常数和介电损耗,能够提高高频复合材料的机械强度、压缩强度、抗拉伸强度、耐热性能、耐腐蚀性能、导热性能及阻燃性能。

标签:
复合材料
广东 - 深圳 来源:中冶有色网 2023-03-18
纳米复合材料及其制备方法和应用

本发明涉及量子点材料技术领域,具体提供一种纳米复合材料及其制备方法和应用。所述纳米复合材料包括配体修饰的量子点和包覆于所述配体修饰的量子点表面的增容剂,所述增容剂具有脂肪酸碳链和活性官能团,脂肪酸碳链与所述配体相互结合。其制备方法包括以下步骤:采用增容剂对配体修饰的量子点进行包覆处理,使所述增容剂与所述配体发生自组装并包覆于所述配体修饰的量子点表面,获得增容剂包覆的量子点。本发明的纳米复合材料,由于配体修饰的量子点表面包覆增容剂,使得量子点分散性良好,而且与其他高分子相容性得到大幅度提高,可以很好的分散于其他高分子化合物中,获得的纳米复合材料具有良好的透明度和高的荧光强度。

标签:
复合材料
广东 - 深圳 来源:中冶有色网 2023-03-18
膨胀石墨与氧化铅复合材料及其制备方法

本发明公开了一种膨胀石墨与氧化铅复合材料及其制备方法,所述膨胀石墨与氧化铅复合材料的重量百分比为膨胀石墨10%—40%;氧化铅60%—90%;所述膨胀石墨与氧化铅复合材料的制备方法,包括膨化处理、氧化处理、超声复合、水热反应、冷冻干燥、煅烧成型;本发明采用可膨胀石墨与铅盐通过本发明设计有复合工艺方法,制备铅碳超级电极材料;使无机非金属材料和金属材料之间紧密均匀结合,复合材料导电性强,活性物质疏松性大,有效防止传统掺杂工艺中的脱碳问题,避免引起电池诸多负面影响,增加电池负极的电导率和活性物质的利用率,为无机非金属材料和金属材料之间的结合提供了一种新的复合路线和工艺。

标签:
复合材料
广东 - 深圳 来源:中冶有色网 2023-03-18
锂铝复合材料及其制备方法和从含锂卤水中富集锂离子的方法

本公开涉及一种锂铝复合材料及其制备方法和从含锂卤水中富集锂离子的方法,该锂铝复合材料的分子式为LiCl·2Al(OH)3·nH2O,所述锂铝复合材料为一次颗粒团聚形成的二次颗粒,所述一次颗粒为类球形,所述一次颗粒的平均粒径为0.2‑2μm,所述二次颗粒的平均粒径为4‑8μm。本公开提供的复合材料具有松装密度高,吸附性能好,吸附效率高的优点。

标签:
复合材料
广东 - 深圳 来源:中冶有色网 2023-03-18
磷酸锰锂-碳复合材料的制备方法

本发明涉及一种磷酸锰锂-碳复合材料的制备方法,该方法包括如下步骤:(1)该钾、镍掺杂磷酸锰锂的化学式为Li1-xKxMn1-yNiyPO4,其中:x=0.05-0.1,y=0.1-0.15,按照上述化学式中的Li、K、Mn、Ni、P的摩尔量称取草酸锂、氯化钾、硝酸锰、磷酸氢二铵和硫酸镍,混合后溶于去离子水中,形成混合溶液;在氩气气氛下,加入水合肼还原剂持续搅拌得到混合物;将得到的混合物进行喷雾干燥,得到球形固体的钾、镍掺杂的磷酸锰锂前驱体;(2)将乙炔黑和上述钾、镍掺杂的磷酸锰锂前驱体混合后,在氩气气氛下进行球磨,烧结得到磷酸锰锂-碳复合材料。本发明制备的磷酸锰锂-碳复合材料,将磷酸锰锂复合材料掺杂K、Ni改性以提高其离子扩散性能,以提高其活性。

标签:
复合材料
广东 - 深圳 来源:中冶有色网 2023-03-18
高能效锂离子电池正极复合材料的制备方法

本发明涉及一种高能效锂离子电池正极复合材料的制备方法,该方法包括如下步骤:(1)该活性物质料的化学式为Li1-xMgxFe1-yNby(P1-zO4),其中:x=0.1-0.125,y=0.15-0.20,z=0.02-0.0.07,按照上述化学式中的Li、Mg、Fe、Nb、P的摩尔量称取氢氧化锂、氯化镁、硫酸亚铁、硝酸铌、磷酸氢二铵制备活性物质颗粒;(2)将导电玻璃材料Li2O-LiCl、Li2O-B2O3-SiO2和石墨烯混合后球磨成均匀粉末得到导电材料,备用;(3)在去离子水中将所述活性物质颗粒、所述导电材料材料混合;充分搅拌后,蒸发掉水份;将蒸发水份后的残留物在氩气氛围下焙烧,得到产品。本发明制备的正极复合材料,使用Mg和Nb对活性物质,改性提高材料的活性,并在其表面包覆粘附性良好的混合导电材料,提高其导电性能和循环稳定性。

标签:
复合材料
广东 - 深圳 来源:中冶有色网 2023-03-18
无机胶纤维复合材料补强和保护混凝土的方法

本发明公开了一种无机胶纤维复合材料补强和保护混凝土的方法,在混凝土构件表面粘贴无机胶粘剂-纤维片材增强材料层,包括以下步骤:(1)对混凝土构件的表面进行粗糙处理;(2)将无机胶凝材料与水混合、搅拌均匀形成无机胶粘剂;(3)在处理好的混凝土构件的表面均匀涂抹一层无机胶粘剂;(4)将纤维片材粘贴在的无机胶粘剂上;(5)将纤维片材铺平、压实、排气后再在纤维片材外表面涂刷一层无机胶粘剂。本发明提高了混凝土的抗折强度和冲击韧性,对混凝土结构的内部材料起到补强和保护作用。无机胶粘剂纤维复合材料的耐高温性能好,寿命长、安全、环保;本发明施工简便,便于在工程建设和加固中推广应用,具有良好的经济效益。

标签:
复合材料
广东 - 深圳 来源:中冶有色网 2023-03-18
石墨烯/硫复合材料及其制备方法、电池正极及其制备方法和电池

本发明属于电化学领域,其公开了石墨烯/硫复合材料及其制备方法、电池正极及其制备方法和电池;其中,石墨烯/硫复合材料包括质量比为1~5:5~9的石墨烯与单质硫,且单质硫嵌入到石墨烯的微孔结构中。本发明提供的石墨烯/硫复合材料,单质硫嵌入到石墨烯的微孔结构中,制备了石墨烯/单质硫复合材料,高比表面积的石墨烯的微孔结构能防止硫的放电产物的流失,降低了溶解性;同时由于石墨烯的高的电导率以及与单质硫的充分接触提高了硫电极的电导率。

标签:
复合材料
广东 - 深圳 来源:中冶有色网 2023-03-18
石墨烯复合材料及其制备方法、电化学电容器及其电极

一种石墨烯复合材料,石墨烯复合材料由质量比为0.5~1:0.1~1:0.1~1的石墨烯、氧化钌及碳纳米管复合形成。上述石墨烯复合材料具有较高的比容量。此外,还涉及一种石墨烯复合材料的制备方法、电化学电容器及其电极。

标签:
复合材料
广东 - 深圳 来源:中冶有色网 2023-03-18
抗老化塑木复合材料及其制备方法

本发明涉及复合材料,具体涉及一种抗老化塑木复合材料及其制备方法。本发明的抗老化塑木复合材料,其特征是,由含以下质量百分比组分的原料制得:塑料20%~35%、天然木质纤维20%~70%、阻燃剂5%~45%、增容剂1%~10%、润滑剂0.1%~3%、增塑剂0.5%~3%、抗老化填料0.1%~2%、着色剂0.5%~3%。本发明在塑木复合材料中添加强化抗老化填料,使塑木异型材具有一般功能外还具有超强抗老化性能,能有效的增强塑木型材的表面抗老化性,提高塑木产品的使用寿命。

标签:
复合材料
广东 - 深圳 来源:中冶有色网 2023-03-18
预锂化的空心结构硅氧碳负极复合材料及其制备方法和应用

本发明涉及一种预锂化的空心结构硅氧碳负极复合材料及其制备方法和应用。制备方法包括:通过磁控溅射的方式在固体聚合表面制备硅氧包覆层;通过磁控溅射的方式在硅氧包覆层表面上制备碳包覆层,得到第二中间体;对第二中间体进行热处理,使固体聚合物分解,制备具有空心结构的硅氧碳负极复合材料;再通过磁控溅射的方式在碳包覆层的表面制备补锂包覆层。该方法能够实现在材料层面补锂的目的,补锂非常均匀,显著提高负极复合材料的首次库伦效率;且采用磁控溅射进行镀膜和通过热制备空心结构,操作过程中不需要使用化学试剂,对环境无污染,非常环保。若将该预锂化的空心结构硅氧碳负极复合材料用于制备电池的负极,可提高电池的首次库伦效率。

标签:
复合材料
广东 - 深圳 来源:中冶有色网 2023-03-18
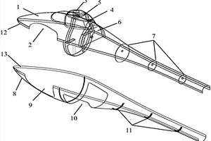
整体成型的全复合材料直升机机身

一种整体成型的全复合材料直升机机身,本实用新型涉及飞机制造技术领域;上机身和下机身均采用复合材料预浸料整体铺设而成,其中,上机身的头部位置设有舱门上开口,上机身的截面最大处设有主承力框,且主承力框的上部通过胶膜与上机身胶接固化为一体,主承力框的下部与下机身通过复合材料胶接技术配合连接;所述的半框设置在主承力框的后方,且通过复合材料胶接技术与上机身连为一体,半框的后方依次设有数个尾梁隔框,且尾梁隔框的上部通过复合材料胶接技术与上机身连接固化为一体。结构清晰,实用性能强,且装配工艺简洁,方便组装以及后期的维护修理,同时抗震能力强。

标签:
复合材料
广东 - 深圳 来源:中冶有色网 2023-03-18
上一页 96 97 98 99 100 ... 117 下一页
共117页    到第

中冶有色为您提供最新的广东深圳有色金属复合材料技术理论与应用信息,涵盖发明专利、权利要求、说明书、技术领域、背景技术、实用新型内容及具体实施方式等有色技术内容。打造最具专业性的有色金属技术理论与应用平台!

全国热门有色金属设备推荐
展开更多 +
全国热门有色金属技术推荐
展开更多 +

 

江西省隆恩特环保设备有限公司
宣传

报名参会
更多+

报告下载

有色专家
更多+

中南大学
中国工程院院士
郑州大学
校长/党委书记
广西大学
处长/教授
江西理工大学
副处长/教授
中国矿业大学
副院长/教授
赤泥综合利用研究报告2025
推广

热门技术
更多+

推荐企业
更多+

福建省金龙稀土股份有限公司
宣传

发布

在线客服

公众号

电话

顶部
咨询电话:
010-88793500-807