青岛垚鑫智能科技有限公司
宣传

位置:北方有色 >

有色技术频道 >

> 复合材料技术

分类:
全部
矿山技术
冶金技术
材料制备及加工技术
环境保护技术
分析检测技术
 
全部
功能材料技术
复合材料技术
新能源材料技术
合金材料技术
加工技术
地区:
全部
北京
天津
上海
重庆
河北
山西
辽宁
吉林
黑龙江
江苏
浙江
安徽
福建
江西
山东
河南
湖北
湖南
广东
海南
四川
贵州
云南
陕西
甘肃
青海
内蒙
广西
西藏
宁夏
新疆
其他
其他
展开
 
全部
天津

天津有色金属复合材料技术理论与应用

免费发布技术信息>>
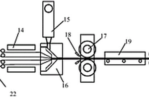
复合材料拉挤成型机
复合材料拉挤成型机 1133     
 0

一种复合材料拉挤成型机,属于复合材料的拉挤成型设备领域,其中,牵引机构由构造相同的第一、第二牵引机构构成;热塑成型模具部第一、第二热塑成型模具机构构成;所述浸胶部具有两个构造相同的胶槽;供毡过纱机构具有同时对应两路拉挤线供应玻璃纱的支架体,在支架体上设置向第一牵引机构供料的毡盘和向第二牵引机构供料的毡盘;前过纱板装置在支架体邻接浸胶部的前排部位,后过纱板装置在邻接供纱机构的后排部位。本发明可有效的节省设备占地面积,提高设备生产效率;可实现在线检测并消除拉挤时制品打滑现象,确保牵引效果;可使玻璃纱从放纱起就能获得预加应力,有效提高了玻璃钢型材的强度。

标签:
复合材料
天津 - 天津 来源:北方有色网 2023-03-18
冷冻干燥辅助制备碳纤维/碳纳米管/环氧树脂复合材料

本发明公开了一种冷冻干燥辅助制备碳纤维/碳纳米管/环氧树脂复合材料的方法。工艺为:先向碳纳米管水系悬浮液中添加去离子水予以稀释,得到碳纳米管水溶液;再将碳纤维样条浸渍到该水溶液中并抽真空;随后进行冷冻干燥处理,得到碳纤维/碳纳米管预制体;再将预制体于Ar气、500℃下处理30min~60min,充分浸渍液态树脂并固化,即可制得碳纤维/碳纳米管/树脂复合材料。本发明工艺简单、能耗较低,并且使碳纳米管在复合材料中具有更好的分布形态,进一步改善了复合材料的性能。

标签:
复合材料
天津 - 天津 来源:北方有色网 2023-03-18
碳纤维增强复合材料的热压成型设备

本实用新型提供的一种碳纤维增强复合材料的热压成型设备中,在碳纤维增强复合材料加工过程中,成型设备的上模创新性的采用了自适应模压动作,在对碳纤维增强复合材料胚料进行模压的同时,能够使得上模的压头能够自适应胚料的表面进行相应动作,整个模压过程能够动态调整压头以适应不断变化的胚料表面,经过该动作后的碳纤维布层内部的应力得到了充分吸收且碳纤维布层间的铝液得到了充分均匀浸渍,从而使得模型成型后的碳纤维增强复合材料力学性能得到显著提高。

标签:
复合材料
天津 - 天津 来源:北方有色网 2023-03-18
制备高β晶型聚偏氟乙烯-石墨烯复合材料的方法

本发明公开了一种制备β晶型聚偏氟乙烯‑石墨烯复合材料的方法。将聚偏氟乙烯、石墨烯熔融共混,采用熔融模压法制备聚偏氟乙烯/石墨烯复合材料片材,以5μm/s为恒定拉伸速率拉伸复合材料片材,在应变大于20%阶段得到高β晶型含量的聚偏氟乙烯/石墨烯复合材料。本发明的方法要求简单、操作便利,为高效制备高β晶型含量的聚偏氟乙烯/石墨烯符合材料提供了一种简单易行的方法。

标签:
复合材料
天津 - 天津 来源:北方有色网 2023-03-18
聚离子液体@金属有机骨架复合材料及其在去除99Tc核素中的应用

本发明提供了一种聚离子液体@金属有机骨架复合材料及其在去除99Tc核素中的应用,所述复合材料通过以下方法制备:步骤1,利用四氯化锆、苯甲酸和1,3,6,8‑四(4‑羧基苯)芘合成金属有机骨架材料;利用1‑乙烯基咪唑和1,2‑二溴乙烷合成离子液体;步骤2,将步骤1得到的离子液体插入到步骤1得到的金属有机骨架孔径中,并通过引发剂使离子液体在所述孔径中发生聚合,得到聚离子液体@金属有机骨架复合材料。本发明的复合材料吸附速率快且吸附容量高。

标签:
复合材料
天津 - 天津 来源:北方有色网 2023-03-18
使用FePO4/C复合材料制备的磷酸铁锂材料及其制备方法

本发明提供了一种使用FePO4/C复合材料制备的磷酸铁锂材料及其制备方法,FePO4/C复合材料为α‑FePO4‑CNT纳米复合材料,以磷酸铁锂原料磷酸铁的总质量为100%计,所述FePO4/C复合材料的质量百分含量为1~5%。本发明的方法制备磷酸铁锂工艺简单、可操作性强,制备出的磷酸铁锂正极材料通过这些组分的合理分布提供长程和短程的电子通道,降低了电荷转移电阻,提高了离子扩散性能,提高了可逆的放电容量。

标签:
复合材料
天津 - 天津 来源:北方有色网 2023-03-18
微波同时剥离与插层有机改性纳米二维材料协同阻燃环氧树脂复合材料及制备方法

本发明提供了一种微波同时剥离与插层有机改性纳米二维材料协同阻燃环氧树脂复合材料及制备方法,属于阻燃树脂复合材料技术领域。本发明采用微波剥离方法将两种二维材料同时剥离出二维纳米结构,同时在微波剥离过程中对二维材料进行插层有机改性,形成叠层或混合的纳米二维复合材料,将该纳米二维复合材料作为纳米协同阻燃剂,与膨胀阻燃剂协同阻燃环氧树脂;而且两种纳米二维材料和膨胀阻燃剂均具有纳米二维结构的超强多相阻隔优势进而极大降低环氧树脂在燃烧时的释热、释烟速率等性能,能够最大程度地加速膨胀阻燃剂酯化成炭的品质和速率,提高膨胀阻燃剂的阻燃效率,全面大幅度地提升膨胀阻燃剂的阻燃性能。

标签:
复合材料
天津 - 天津 来源:北方有色网 2023-03-18
热塑性复合材料柔性电阻焊接装置

一种热塑性复合材料电阻焊接装置。其包括伺服驱动电机、精密滚珠导轨直线运动系统和热塑性复合材料电阻焊接平台;其中精密滚珠导轨直线运动系统为长方体形结构,顶面沿长度方向设有轨道,由伺服驱动电机提供动力输出;热塑性复合材料电阻焊接平台以可沿精密滚珠导轨直线运动系统上轨道移动的方式安装在精密滚珠导轨直线运动系统上。本发明通过伺服压力系统提供焊接下压力,由琴键式柔性电极模块对焊接部件进行定位及电阻加热,通过接入电极模块导入焊接电流,达到热塑性复合材料静态、连续动态的柔性电阻焊接目的。

标签:
复合材料
天津 - 天津 来源:北方有色网 2023-03-18
缓释Ca<Sup>2+</Sup>调控土壤中Cd活性的复合材料的制备和应用方法

本发明公开了一种缓释Ca2+调控土壤中Cd活性的复合材料的制备和应用方法。配制硅酸钠、海藻酸钠和羧甲基壳聚糖的混合物水溶液,将该混合物水溶液涂覆到表面接枝羧基的无纺布纤维膜上,然后浸泡到可溶性钙盐水溶液中交联,得到负载硅酸钙/海藻酸钙/羧甲基壳聚糖的无纺布复合材料。将该复合材料埋置到土壤中,硅酸钙与土壤中的氢离子反应提高土壤的pH值,同时释放Ca2+,生成介孔SiO2。海藻酸钙吸附Cd2+,并且缓释Ca2+,较高浓度的Ca2+抑制了农作物对Cd2+的吸收,降低土壤中Cd活性。本发明的复合材料能同时降低Cd活性并提高土壤pH值,羧甲基壳聚糖的抑菌作用使材料可长期使用,作为载体的无纺布方便土壤修复的实际操作,具有良好的应用前景。

标签:
复合材料
天津 - 天津 来源:北方有色网 2023-03-18
聚苯胺/聚甲基丙烯酸甲酯复合材料及其制备方法

聚苯胺/聚甲基丙烯酸甲酯复合材料及其制备方法,所述复合材料中聚苯胺的重量百分比含量为0.1~2%,所述复合材料采用以下方法制备:1)在保持60℃~90℃加热条件下,以引发剂引发甲基丙烯酸甲酯单体聚合,并在开始引发后20‑40min时加入聚苯胺粉末或加入苯胺单体、氧化聚合引发剂及作为掺杂剂的质子酸;2)在保持加热及搅拌条件下继续完成聚合得到复合材料。

标签:
复合材料
天津 - 天津 来源:北方有色网 2023-03-18
镁/羟基磷灰石复合材料及其制备方法

本发明涉及一种镁/羟基磷灰石复合材料及其制备方法。它是以镁和羟基磷灰石为原料,按照质量比:镁∶羟基磷灰石=80.5-99.9%∶0.1-19.5%,混合成型,真空微波烧结炉中进行烧结制得。本发明提供的复合材料具有适宜的力学性能,能够满足人体骨组织材料的要求,本发明采用的微波烧结方法,升温速率快、烧结时间短、制备周期短、能耗低、无污染。

标签:
复合材料
天津 - 天津 来源:北方有色网 2023-03-18
聚苯胺凝胶包覆锡铜纳米管复合材料的制备方法

本发明提供一种聚苯胺凝胶包覆锡铜纳米管复合材料的制备方法,利用化学还原法制备锡纳米棒,并利用电流置换法得到锡铜纳米管。进而通过化学原位聚合法制备聚苯胺凝胶包覆锡铜纳米管复合材料。本发明制备的锡铜纳米管平均管径约为40?60nm。锡铜纳米管较为均匀地分散在三维网络结构的导电聚合物聚苯胺凝胶基体的孔隙中。棒状结构可以避免充放电过程中电极材料的团聚,同时导电聚合物凝胶的高导电性和多孔结构可为锂离子和电子提供快速扩散的通道,实现电极材料的快速充放电性能。在0.1CA·g?1充放电电流密度下可达约1100mAh·g?1的高比容量。本发明在改善锂离子电池负极材料的倍率性能方面具有广泛的应用前景。

标签:
复合材料
天津 - 天津 来源:北方有色网 2023-03-18
高温硫化导热硅橡胶复合材料

本发明公开了一种高温硫化导热硅橡胶复合材料,涉及硅橡胶技术领域,所述复合材料按重量份包括以下组分:甲基乙烯基硅橡胶100份,球形氧化铝100~300份,氮化铝100~300份,羟基硅油2份和2,5‑二甲基‑2,5‑二(叔丁基过氧化)己烷2份。本发明通过甲基乙烯基硅橡胶、球形氧化铝、氮化铝、羟基硅油和2,5‑二甲基‑2,5‑二(叔丁基过氧化)己烷进行混炼,然后通过模压或挤出成型的方式制备得到高温硫化导热硅橡胶复合材料,本发明复合材料具有优良的导热性能、韧性和高击穿强度;且本发明原料中采用不同粒径球形氧化铝和氮化铝混杂填充的方式,能够在有效提高导热性能的同时,使得高温硫化导热硅橡胶仍具有优异的韧性、压缩回弹性和高击穿强度。

标签:
复合材料
天津 - 天津 来源:北方有色网 2023-03-18
聚环氧乙烷/三维石墨烯负载铜纳米复合材料及其制备方法和在电磁屏蔽中的应用

本发明公开了一种聚环氧乙烷/三维石墨烯负载铜纳米复合材料及其制备方法和在电磁屏蔽中的应用,其中聚环氧乙烷/三维石墨烯负载铜纳米复合材料通过以下步骤制备:步骤1,制备氧化石墨烯分散液;步骤2,制备GO‑Cu2+混合溶液;步骤3,一步原位还原制备三维石墨烯负载铜纳米复合材料,步骤4,3D‑RGO/Cu/PEO的制备:将3D‑RGO/Cu分散于溶剂中后,与PEO(聚环氧乙烷)粉末混合均匀,待溶剂挥发后得到3D‑RGO/Cu/PEO。三维石墨烯负载铜纳米复合材料中负载的铜纳米颗粒起到了支撑石墨烯片层的作用,并对石墨烯片层的团聚进行了有效抑制,使整体材料呈现出更为疏松的三维结构。

标签:
复合材料
天津 - 天津 来源:北方有色网 2023-03-18
尼龙复合材料及其制备方法和应用

本发明提供了一种尼龙复合材料及其制备方法和应用,一种尼龙复合材料,该复合材料由包括如下重量份的原料制成:尼龙树脂5‑80份,红磷1‑30份,金属氧化物0.01‑2份。玻璃纤维8‑55份。本发明所述的尼龙复合材料中加入少量的金属氧化物,可以有效的抑制磷析出,可以将磷化氢的析出量降低到10ppm以下,同时能保持良好的电性能和燃烧性能,且产品具有良好的外观,适合用于电子电器中的连接器、接触器等领域。

标签:
复合材料
天津 - 天津 来源:北方有色网 2023-03-18
复合材料模具母模及其制造方法和应用

本发明涉及一种复合材料模具母模及其制造方法和应用。本发明方法包括:制作钢架并在钢架上堆积钢条以形成钢材型面;在钢材型面上铺覆木板层,形成木板层型面;在木板层型面上粘结泡沫层并进行粗加工,形成粗加工型面;在泡沫型面上铺覆玻璃钢层,形成玻璃钢层型面;在玻璃钢型面上铺覆代木树脂层并进行精加工,得到具有精加工型面的母模。本发明还提供所述方法制得的母模以及所述母模在制造复合材料模具中的应用。本发明方法具有成本低、加工难度小、生产周期短等优点,所制得的母模和复合材料模具具有良好耐温性、高模具精度和轻质等优点,克服了传统复合材料模具的表面裂纹和形变等问题,在航空器和车辆制造等领域具有巨大的潜在市场。

标签:
复合材料
天津 - 天津 来源:北方有色网 2023-03-18
可逆共价交联聚氨酯-环氧树脂复合材料及其制备

一种可逆共价交联聚氨酯-环氧树脂复合材料,包括线性聚氨酯和线性环氧树脂两个组分,其侧链上分别带有亲双烯体和双烯体官能团;该复合材料是线性聚氨酯和线性环氧树脂通过Diels-Alder可逆共价键连接成的具有交联网络结构的材料;通过温度调控,Diels-Alder可逆共价键能够可逆地发生断裂和键合,使该复合材料在线性聚合物和交联网络结构的材料之间的转变,具备可逆共价交联的特性。本发明的优点是:可逆共价交联聚氨酯-环氧树脂复合材料具有优异的力学性能与热力学性能,其力学可以在较大范围内调节;其制备方法简便可控,产品产率高质量好,复合物材料的性能可以通过填充剂再次改性优化,具有广泛应用性。

标签:
复合材料
天津 - 天津 来源:北方有色网 2023-03-18
PbSxSe1-x量子点/碳纳米管复合材料及制备

本发明公开了一种PbSxSe1-x量子点/碳纳米管复合材料及制备。该复合材料以碳纳米管为支架,表面包覆PbSxSe1-x量子点,式中x为0~1。其制备方法过程包括:以PbO、油酸及十八烯制得Pb的前驱体;由S、Se和三辛基膦制得S和Se前驱体;将S和Se前驱体与Pb的前驱体混合反应得到PbSxSe1-x量子点;再将PbSxSe1-x量子点和碳纳米管通过机械混合得到PbSxSe1-x量子点/碳纳米管复合材料。本发明优点:其制备方法,过程简单,且易于操作。所制得的复合材料负载的PbSxSe1-x量子点尺寸大小及负载量可控且量子点分布均匀。

标签:
复合材料
天津 - 天津 来源:北方有色网 2023-03-18
农作物秸秆和麻纤维混杂增强聚乳酸复合材料及制备方法

本发明公开了一种农作物秸秆和麻纤维混杂增强聚乳酸复合材料及其制备方法,该复合材料按照质量百分比计,由以下组份构成:聚乳酸60-80%,农作物秸秆纤维10~20%,麻纤维10~20%;其中,所述农作物秸秆纤维的长度为2~5mm,所述麻纤维的长度为2~5mm。该复合材料以聚乳酸作为基体,加入经过改性过的农作物秸秆纤维和麻类纤维,采用注塑成型方法加工成型。由上述原料和纤维制成的复合材料可完全生物降解,具有较好的机械性能和较低的成本等特点,有利于扩大聚乳酸的工业生产应用,提高农业秸秆的利用率,可应用在工程建设、室内装饰、汽车内饰等各个领域,解决白色污染带来的环境问题。

标签:
复合材料
天津 - 天津 来源:北方有色网 2023-03-18
磷酸铁锂复合材料的制备方法

本发明公开了一种磷酸铁锂复合材料的制备方法,包括以下步骤:1)制备掺钛前驱体:将锂源、铁源、钛源和磷源按照摩尔比1~1.05∶0.97~0.995∶0.005~0.03∶1与碳源一起加入到球磨机中,球磨6~12小时,然后进行喷雾干燥,过筛;2)制备掺钛磷酸铁锂:将干燥后的物料在惰性气体保护下,在350~500℃煅烧3~5小时,粉碎后在600℃~800℃煅烧8~16小时;3)包覆二氧化钛:将步骤2)中制备的掺钛磷酸铁锂与钛源经混合干燥后,在惰性气体下于400℃~800℃煅烧4~8小时。采用本发明的方法制备的磷酸铁锂复合材料具有较高的振实和良好的电化学性能和加工性能,且该方法工艺相对稳定,易于产业化。

标签:
复合材料
天津 - 天津 来源:北方有色网 2023-03-18
正极材料的包覆方法、包覆系统、正极复合材料和用途

本申请涉及一种正极材料的包覆方法、包覆系统、正极复合材料和用途,属于锂二次电池技术领域。本申请提供的正极复合材料包括内核和包覆在内核表面的原位包覆层,内核包括正极材料;正极材料的化学式为LiNixM1‑xO2,M为Mn、Co、Al、B、Ti、Zr、Sr、Nb、Ta和W中的一种或多种,且0.8≤x≤1;原位包覆层的材料包括Li2CO3、Li2SO3和Li2SO4中的一种或多种。本申请提供的正极复合材料能够解决富镍正极材料存储过程中空气侵蚀问题,同时提高正极复合材料的循环寿命。

标签:
复合材料
天津 - 天津 来源:北方有色网 2023-03-18
细菌纤维素增强环氧树脂透明复合材料的制备

本发明涉及一种细菌纤维素增强环氧树脂透明复合材料的制备,它是以E‑51型环氧树脂(EP)和培养木醋杆菌合成细菌纤维素(BC)为原料,首先按一定配比称取若干克环氧树脂和固化剂于干净的小烧杯中,加热至50℃混匀,将一定质量的BC干膜浸渍于此混合液中并真空脱气30分钟,至BC干膜透明,然后取出透明的BC干膜置于聚四氟乙烯模具中,于100℃下固化30min,即得BC质量分数在48‑55wt%之间的BC/EP复合材料。本发明提供的制备方法制得的复合材料具有较高的拉伸强度、断裂伸长率和透明性。当BC质量分数为55wt%时,复合材料的拉伸强度和断裂伸长率分别到达80MPa和7%,比纯EP提高提高4倍和11倍,而且具有很高的透明性。

标签:
复合材料
天津 - 天津 来源:北方有色网 2023-03-18
高比表面积磷酸亚铁锂/C复合材料的制备方法

一种高比表面积磷酸亚铁锂/C复合材料的制备方法,制备方法的步骤是:(1)取电池级纳米磷酸铁与电池级碳酸锂按照摩尔比Fe∶Li=0.99∶1比例混合,研磨,加入丁酮,再研磨,分散均匀,再加入3%聚乙烯醇水溶液,搅拌成为均匀的浆体,然后慢慢加入高比表面积活性炭,再搅拌成为均匀的浆体;(2)把浆体105℃鼓风干燥3~5小时,成为块状固体;(3)把块状固体在氮气保护下,以2℃/分钟的速度加热到600℃烧结,保持2小时,以2℃/分钟的速度加热到720℃烧结,保持4小时,然后停止加热,自然冷却到室温;(4)把烧结产物进行研磨,过325目筛,得到高比表面积磷酸亚铁锂/C复合材料。

标签:
复合材料
天津 - 天津 来源:北方有色网 2023-03-18
提高铜合金石墨复合材料性能的粉末冶金制备方法

本发明一种提高铜合金石墨复合材料性能的粉末冶金制备方法,涉及金属基自润滑复合材料,采用化学镀的方法对石墨粉进行了表面改性,利用混粉、冷压、烧结方法,通过粉末冶金工艺获得了摩擦性能和机械性能优良的铜合金石墨复合材料。本发明通过对石墨的表面改性,提高了铜合金石墨复合材料的摩擦性能和机械性能,可以作为制备自润滑轴承材料的方法加以开发利用。

标签:
复合材料
天津 - 天津 来源:北方有色网 2023-03-18
淀粉复合材料及制备方法

本发明涉及淀粉复合材料及制备方法。具体步骤如下:(1)将插层剂与层状硅酸盐粘土按质量份数比为100∶(5~100)的比例,混合2~3分钟,经螺杆塑料挤出机挤出,制成改性层状硅酸盐粘土;(2)改性层状硅酸盐粘土与淀粉以及淀粉塑化剂,按质量份数比为(20~30)∶100∶(0~20)的比例,再高速混合2~3分钟,又经过单螺杆塑料挤出机再次挤出,从进料口至出料口四个加热区挤出温度都为100-130℃,得到淀粉插层层状硅酸盐纳米复合材料。本发明绿色环保,不会产生大量废水;这种制备方法是两次熔融加工,没有废物产生,方法简单有效,易于产业化实施使用的淀粉塑化剂与层状硅酸盐熔融改性插层剂的配伍。

标签:
复合材料
天津 - 天津 来源:北方有色网 2023-03-18
金原子/二氧化钛复合材料、其制备方法及用途

本发明公开一种金原子/二氧化钛复合材料,其包括:二氧化钛载体和金原子,所述二氧化钛表面具有金属缺陷,所述金原子以单原子形式和原子团簇形式生长于部分所述金属缺陷处;所述金原子质量为所述二氧化钛基体质量的0.01%‑0.1%。本发明还公开了所述金原子/二氧化钛复合材料的制备方法和用途,本发明制备的金原子/二氧化钛复合材料中贵金属金高度分散,因此所需负载量极低,同时金属缺陷与表面金等离子体效应的协同作用极大促进了载流子分离并提高可见光利用率,从而实现高效光催化过程。本发明制备的金原子/二氧化钛复合材料工艺简单,过程无污染,具有优异的稳定性,在光催化、电催化和加氢催化等领域有着良好的应用前景。

标签:
复合材料
天津 - 天津 来源:北方有色网 2023-03-18
基于化学改性涤纶增强环氧复合材料的方法

一种基于化学改性涤纶增强环氧复合材料的方法,涉及一种树脂基复合材料。先将涤纶通过化学方法改性,在涤纶表面上接枝上酰胺基、羧基等活性基团。利用真空导流技术,使环氧树脂与涤纶织物复合。在树脂固化后,得到涤纶增强环氧复合材料。本发明提供的化学改性涤纶增强环氧复合材料的方法简便,无污染并且切实可行。

标签:
复合材料
天津 - 天津 来源:北方有色网 2023-03-18
超轻质复合材料曳引带的制备方法及制备系统

本发明公开了一种超轻质复合材料曳引带的制备方法及制备系统,提供一种承载均匀,使用寿命长的曳引带的制备方法及制备系统。该方法包括:将无捻连续纤维单丝从纤维纱团中引出并均匀展开,引入到添加有胶液的浸胶槽中浸胶,之后,进行排布,再经拉挤成型、固化后得到复合材料增强片;将复合材料增强片分别引出,经过预热后引入挤出机的机头口模,机头口模中有与曳引带截面相对应的挤出模芯,使熔融的热塑性树脂在机头口模中均匀包覆复合材料增强片,并从挤出机机头口模引出,初步成型,经过冷却定型、冷却后得到曳引带。本发明所制备的曳引带质轻、高强、易弯曲、抗疲劳、寿命长、维护成本低,更适用于长距离旅提升机的使用。

标签:
复合材料
天津 - 天津 来源:北方有色网 2023-03-18
碳纤维增强复合材料高节拍模压成型系统及方法

本发明涉及一种碳纤维增强复合材料高节拍模压成型系统及方法,包括预浸料裁剪装置、上下料装置、模压成型装置、加热与冷却装置和成型参数优化装置;其中,预浸料裁剪装置用于对预浸料裁剪;所述模压成型装置包括上模具和下模具,用于对碳纤维增强复合材料模压成型;加热与冷却装置分别与模压成型装置的上、下模具相连接,用于实现对上、下模具的加热与冷却;上下料装置设置在模压成型装置两侧,用于实现对预浸料的搬运及铺层;成型参数优化单元用于监测制件的温度和压力,进而实现模压成型工艺参数的优化。本发明可实现碳纤维增强复合材料的模压成型,并达到降低成本、提高效率的目的,满足碳纤维增强复合材料新产品的开发、试制、生产需求。

标签:
复合材料
天津 - 天津 来源:北方有色网 2023-03-18
原位铝基复合材料孕育剂的制备方法

本发明一种原位铝基复合材料孕育剂的制备方法,涉及铝基合金,是采用等离子冶金氮化和快速凝固技术制得薄带状AlN-TiN/Al纳米原位铝基复合材料孕育剂的方法,步骤是,按设定成分配比10.0~10.5%Ti、0.9~1.2%B和其余为Al,称取所需量的国产Al-5Ti-1B合金及金属纯Ti,将全部原料放入非自耗式真空电弧炉内熔炼制得熔炼好的块状的Al-10Ti-1B合金,然后经等离子氮化处理制得块状AlN-TiN/Al复合材料,最后进行快速凝固处理制得薄带状AlN-TiN/Al纳米原位铝基复合材料孕育剂,具有尺寸更为细小和分布更为弥散的形核粒子,提高了颗粒的增强效果。该方法的生产效率高,成本低。

标签:
复合材料
天津 - 天津 来源:北方有色网 2023-03-18
上一页 83 84 85 86 87 ... 105 下一页
共105页    到第

北方有色为您提供最新的天津有色金属复合材料技术理论与应用信息,涵盖发明专利、权利要求、说明书、技术领域、背景技术、实用新型内容及具体实施方式等有色技术内容。打造最具专业性的有色金属技术理论与应用平台!

全国热门有色金属设备推荐
展开更多 +
全国热门有色金属技术推荐
展开更多 +

 

江西省隆恩特环保设备有限公司
宣传

报名参会
更多+

报告下载

有色专家
更多+

中国矿业大学
教授
鞍钢集团有限公司
中国工程院院士
湖南有色金属研究院
教授级高工/原总工程师
辽宁忠旺集团
教授级高工
武汉科技大学
院长 / 教授
赤泥综合利用研究报告2025
推广

热门技术
更多+

推荐企业
更多+

福建省金龙稀土股份有限公司
宣传

发布

在线客服

公众号

电话

顶部
咨询电话:
010-88793500-807