青岛垚鑫智能科技有限公司
宣传

位置:北方有色 >

有色技术频道 >

> 失效分析技术

分类:
全部
矿山技术
冶金技术
材料制备及加工技术
环境保护技术
分析检测技术
 
全部
物理检测技术
化学分析技术
力学检测技术
无损检测技术
失效分析技术
环境检测技术
地区:
全部
北京
天津
上海
重庆
河北
山西
辽宁
吉林
黑龙江
江苏
浙江
安徽
福建
江西
山东
河南
湖北
湖南
广东
海南
四川
贵州
云南
陕西
甘肃
青海
内蒙
广西
西藏
宁夏
新疆
其他
其他
展开
 
全部
上海

上海有色金属失效分析技术理论与应用

免费发布技术信息>>
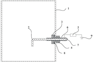
聚氨酯滚轮的聚氨酯层与金属轮芯粘接缺陷检测装置

本发明公开了一种聚氨酯滚轮的聚氨酯层与金属轮芯粘接缺陷检测装置,包括:下固定板上开设有一导套孔;滚珠导套安装在导套孔内,滚珠保持架设于滚珠导套内,滚珠保持架上设有若干滚珠;滚珠导柱的下端设于滚珠保持架内;托盘;定位芯安装在托盘上;两连接杆的下端均与下固定板固定连接,两连接杆垂直于下固定板;上固定板;百分表安装在上固定板上;摆杆通过第一销轴和上固定板连接,摆杆设于上固定板的下方;摆杆的两端分别连接有检测装置,检测装置包括:支架、检测轮、第二销轴和C型挡圈;其中,两检测装置设于聚氨酯滚轮的上方。本发明可以检测出聚氨酯滚轮端面的聚氨酯层与金属粘接失效现象。

标签:
失效分析
上海 - 上海 来源:北方有色网 2023-03-19
GCKR rs780094基因分型检测试剂盒

本实用新型涉及医疗检测领域,公开了一种GCKR rs780094基因分型检测试剂盒,包括了试剂盒盒体、试剂盒盒盖、试剂盘架、恒温加热组件和温湿度检测组件,通过结构优化设计,试剂盘架采用双面凹槽设计,正面可放置试剂,反面可放置恒温加热组件,对于低温贮藏的冷冻试剂可以通过恒温加热组件慢速升温使用,缩短试剂使用等待时间;经过合理设计的检测试剂盒,设置有温湿度检测组件,通过温度传感器和湿度传感器对试剂盒盒体内部环境进行检测,可以有效避免试剂过期或失效。

标签:
失效分析
上海 - 上海 来源:北方有色网 2023-03-19
直线运动组件的磨损检测设备及电梯制动装置

本发明公开了一种直线运动组件的磨损检测设备,包括直线运动组件,其包括导向件和支撑件,所述导向件能够相对于支撑件水平移动,还包括第二弹性件,设置在所述导向件和支撑件之间,所述第二弹性件具有趋使导向件向远离支撑件方向运动的力;磨损检测组件,其设置在所述直线运动组件上,所述磨损检测组件包括检测单元、比较单元及控制单元,所述检测单元检测直线运动组件的状态信息,所述比较单元将检测单元测得的状态信息与预设阈值进行比较,当比较结果满足预设条件时,所述控制单元判断所述直线运动组件满足失效基准。本发明可以及时检测磨损的程度,实现紧急磨损零件的按需保养,为机械结构的安全运行提供保障。

标签:
失效分析
上海 - 上海 来源:北方有色网 2023-03-19
锂离子电池漏液检测装置

本实用新型公开了一种锂离子电池漏液检测装置,所述锂离子电池漏液检测装置包括托盘和漏液检测器,所述托盘四个端部分别设有边条,所述托盘内壁为倾斜状,所述漏液检测器内嵌在托盘的底部。本实用新型结构简单,检测精度高,可以灵活组装于各类电池存放装置上,实现电池漏液的实时监测,防止电池失效引起的安全隐患。

标签:
失效分析
上海 - 上海 来源:北方有色网 2023-03-19
炉渣电磁式检测装置
炉渣电磁式检测装置 1029     
 0

本实用新型提供一种炉渣电磁式检测装置,其可根据装置的输出信号确定检测线圈受损、前置放大器和接线故障引起的检测功能失效。该检测装置包含检测线圈、前置放大器、励磁信号发生器和检测信号处理装置,所述检测线圈的次级端与所述前置放大器相连,所述前置放大器与所述检测信号处理装置相连,所述励磁信号发生器与所述检测线圈的初级端相连,进一步包含与所述检测线圈初级端相连的小信号发生器,并且所述前置放大器为差动放大器。在上述检测装置中,叠加在励磁信号上的小信号将在次级线圈上产生一个变化的信号,这样即可根据检测到的信号变化量判定是否存在故障。此外,为消除各种干扰信号,前置放大器采用差动放大方式来检测次级端上的信号变化。

标签:
失效分析
上海 - 上海 来源:北方有色网 2023-03-19
多类型传感器融合的采煤机采高检测方法

本发明涉及一种多类型传感器融合的采煤机采高检测方法,采用三种不同类型传感器分别检测摇臂壳体倾角α、摇臂旋转角度γ和采煤机摇臂的支撑油缸动作行程l,并分别计算得到采高计算值h1t、h2t和h3t,在采高保持恒定状态下,根据滚筒受力状态为空载、轻载还是重载,分别选择相应状态下的采高计算值h30、h20和h10作为基准采高,并依据基准采高计算出矫正系数k1和k2,用矫正系数对实测采高数据进行矫正,进而实现对采高的可靠在线检测。本发明解决了单一传感器测高过程中精度不稳定、可靠性差、易失效等问题造成的截割调整控制失调危险,具有检测精度高,系统可靠的特点。

标签:
失效分析
上海 - 上海 来源:北方有色网 2023-03-19
集气盒、气压式液位检测装置及洗碗机

本申请涉及洗碗机技术领域,公开了一种用于气压式液位检测装置的集气盒,包括:盒体及与盒体相连的通气管;盒体为中空结构,与通气管相接触部分所围成的区域内存在开口,底面设有入水口,除入水口及开口外,盒体其他部分为密闭结构;通气管的位置高于盒体的底面,通气管与气压式液位检测装置的气压导管相连,气压式液位检测装置进行容器的液位检测时,盒体置于容器内,通气管通过容器侧壁的通气口延伸到容器外,通气管的位置高于容器内的最高水位位置。由于通气管高于最高水位位置,即使该检测装置漏气,盒体内的水位也会低于通气管的位置,水无法从通气管流入该检测装置的气压液位开关,从而避免了因气体泄漏引起气压液位开关失效的问题。

标签:
失效分析
上海 - 上海 来源:北方有色网 2023-03-19
新能源汽车控制器高压互锁全节点检测电路

本实用新型公开了一种新能源汽车控制器高压互锁全节点检测电路,本电路的若干高压接口状态开关分别与若干串联电阻串联连接,若干并联电阻分别并联于串接的若干高压接口状态开关和若干串联电阻两端构成若干接口检测单元,若干接口检测单元依次串接并且首端经上拉电阻连接直流电源正极、尾端连接直流电源负极,微控制单元的检测端口连接所述依次串接的若干接口检测单元首端。本电路可实现高压全节点状态检测,有效识别失效节点,占用微控制单元资源少,实现高压互锁检测功能,确保了设备的安全运行。

标签:
失效分析
上海 - 上海 来源:北方有色网 2023-03-19
部件检测方法、装置、计算机设备、系统和存储介质

本申请涉及一种部件检测方法、装置、计算机设备、系统和存储介质。应用于医学成像系统,所述医学成像系统包括发射部件、至少一个待检测部件、计算机设备,所述方法包括:在所述医学成像系统的空闲时段内,所述计算机设备获取当前时刻所述待检测部件生成的背景数据;所述空闲时段为所述发射部件除曝光时间之外的时段,所述背景数据中包括所述待检测部件的工作状态信息;所述计算机设备对所述当前时刻的背景数据进行解析处理,确定所述待检测部件在当前时刻的工作状态;所述待检测部件的工作状态包括有效状态或失效状态。采用本方法能够提高部件检测的时效性。

标签:
失效分析
上海 - 上海 来源:北方有色网 2023-03-19
按键疲劳手感检测方法

本发明公开了一种按键疲劳手感的检测方法,其包括的步骤为:对待检测按键进行多次按压;当按键手感值达到预定值时,所检测的次数为按键实际使用寿命,此时按键失效,手感值为最大按压力减去触发力后与最大按压力的比值。本发明按键疲劳手感的检测方法可以检测出待测键盘的按键使用状态,确定其实际使用寿命,并为企业或生产单位进一步制定标准限值或者质量性能比较做出统一的判定标准。

标签:
失效分析
上海 - 上海 来源:北方有色网 2023-03-19
显示器花屏故障检测方法

本发明涉及显示器的故障排除方法,特别是一种显示器花屏故障检测方法。具体检测步骤是:用万用表测量行输出级电源电压,当显示器转为正常后确定测量没有变化,并进入下一步;检查末级视放、显像管三个阴极电压是否正常,若正常,则进入下一步;再检查显像管栅极G1和加速极G2,电压分别为-150V和110V;故障判断,若G1的-150V电压随着时间增加逐渐减小,最后降到-60V时,屏幕显示也正常了,且G1为-150V时,亮度旋钮失控,则判断为显示器内电容器损坏。它主要用于检测由于显示器使用年限过长,内部的电容便会出现老化失效,而导致启动速度过慢,屏幕灰暗,字体模糊不清的现象,能够使维修者准确地排除该显示器花屏故障。

标签:
失效分析
上海 - 上海 来源:北方有色网 2023-03-19
高压互锁信号检测电路及方法和电机控制器

本发明提供了一种高压互锁信号检测电路及方法和电机控制器,通过在新能源汽车的电机控制器中增加主动高压互锁安全检测电路。当电机控制器发生高压互锁失效时,一方面可以迅速切断扭矩输出,保证人员安全,另一方面可以将故障信息报给VCU、BMS等,方便排查故障。此外,在本发明提供的技术方案中,高压互锁安全问题完全由控制器自身检测,所有信号的采集和处理都来自控制器内部,而不依赖于外部其它控制器。因此,该方案的应用适应性更好,扩展性更强。这种方案还可以推广到新能源汽车的其它高压装置以及低压装置上,用于自身互锁安全的检测。

标签:
失效分析
上海 - 上海 来源:北方有色网 2023-03-19
无基准源的电源超限检测模块

本发明公开了一种无基准源的电源超限检测模块,其特点是,包括与电源连接的一上限检测子模块和一下限检测子模块;所述的上限检测子模块和下限检测子模块相同,各包括一电压取样电路、一电压比较电路、以及一掉电保护程序启动电路;电压取样电路的输入端与电源连接,该电压取样电路的输出端与电压比较电路的输入端电连接;该电压比较电路的输出端与掉电保护程序启动电路的输入端电连接;该掉电保护程序启动电路的输出端与系统的掉电保护电路电连接。本发明不使用基准源芯片,减少了相应的配套芯片,具有更低的故障失效率;过压和欠压预警信号输出,可以用来启动掉电保护程序。具有通用性强、体积小、功耗低、可靠性高的优点,尤其适合于24V供电电源的状态监测。

标签:
失效分析
上海 - 上海 来源:北方有色网 2023-03-19
接地电阻的自动检测设备

本实用新型涉及一种接地电阻的自动检测设备,其特征在于,包括1.34KH正方波发生器、方波幅值调整电路、方波正弦波转换电路、正弦波功率放大电路、电压电流互感器、信号初级处理放大器、后级信号调理处理电路、包络线检波电路和信号采样处理电路。本实用新型提供了一种自动检测接地电阻技术的检测设备,实现了接地线的接地电阻的实时检测,接地失效时能及时报警。

标签:
失效分析
上海 - 上海 来源:北方有色网 2023-03-19
管道阀门及其填料处介质泄漏检测装置

本实用新型涉及一种管道阀门及其填料处介质泄漏检测装置,所述的介质检测装置安装在阀门填料函的带压堵漏口处,包括泄漏检测模块和泄漏报警模块,其中泄漏检测模块包括压力传感器和翅片散热装置;所述泄漏报警模块包括用于对介质泄漏信号进行处理的泄漏处理模块和用于对介质泄漏信号进行实时监控的控制室服务器,所述的泄漏处理模块包括用于检测介质泄漏量值的控制模块和用于现场报警的现场报警装置,所述的控制室服务器包括存储模块、实时监控模块以及终端报警模块。本实用新型可以实时监测阀门介质泄漏情况,并及时报警提醒工作人员,保证阀门的安全稳定运行,解决管道阀门因泄漏失效导致的生产操作困难和增加事故几率的问题。

标签:
失效分析
上海 - 上海 来源:北方有色网 2023-03-19
设有预紧力检测转头的螺栓

一种设有预紧力检测转头的螺栓,包括螺栓、检测转头、固定杆、弹簧、固定销及粘结剂,所述螺栓的轴心设有台阶孔、固定销孔及调节销孔,检测转头上设有摆动臂及调节销,固定杆上设有凸台及螺帽;所述固定杆设于台阶孔内,粘结剂将固定杆端头与台阶孔固连,检测转头套装在固定杆的凸台上,固定销嵌在固定销孔内,弹簧设于调节销与固定销之间。本实用新型通过肉眼观测检测转头的位置,即可及早发现螺栓的预紧力降低或失效,具有结构简单,检测方便的优点。

标签:
失效分析
上海 - 上海 来源:北方有色网 2023-03-19
灯具控制系统的故障检测装置及系统

本申请实施例提供一种灯具控制系统的故障检测装置及系统,该装置包括:反向器、输出电压检测电路和第一输出单元;所述反向器的电源端与第一电源连接,所述反向器的输入端与第一接地端连接,所述反向器的接地端与第二接地端连接,所述反向器的输出端与所述第一输出单元连接;所述输出电压检测电路的第一输入端与LED的正极连接,所述输出电压检测电路的第二输入端与所述LED的负极连接,所述输出电压检测电路的接地端与所述第二接地端连接,所述输出电压检测电路的输出端与所述第一输出单元连接。本申请实施例提供的装置能够解决现有技术中无法快速发现LED照明的失效问题,进而降低了照明环境的体验感的问题。

标签:
失效分析
上海 - 上海 来源:北方有色网 2023-03-19
基于惯性辅助的天线阵欺骗干扰信号检测方法

本发明提供一种基于惯性辅助的天线阵欺骗干扰信号检测方法,由惯性辅助解算每一个虚拟真实卫星信号在天线阵坐标系中的到达角;计算虚拟真实卫星信号和待检测卫星信号的到达角在天线阵不同基线上的载波相位差;基于采用载波相位双差算法构建的欺骗干扰信号的二元假设检验模型及其判决依据,判决每一个待检测卫星信号是否为欺骗干扰信号。充分利用卫星欺骗干扰信号与惯性辅助解算的虚拟真实卫星信号在天线坐标系中的到达角差异,通过计算待检测卫星信号与虚拟真实卫星信号在天线阵基线上载波相位差的不同来识别欺骗干扰,解决了传统载波相位双差检测技术检测时间较长且对单路卫星欺骗干扰信号检测失效的问题。

标签:
失效分析
上海 - 上海 来源:北方有色网 2023-03-19
衍射时差法超声检测扫查架

本实用新型公开了一种衍射时差法超声检测扫查架,其特征在于,包括平台,平台的两侧分别与两个可伸缩长度的连杆结构活动连接,每个连杆结构与一个用于衍射时差法超声检测的楔块活动连接,平台上设有编码器;连杆结构与楔块之间设有使得连杆结构与楔块紧固连接的紧固结构。本实用新型的装置结构简单,轻便可靠,适用于厚度小于50mm的特种设备对接焊缝的衍射时差法超声检测;伸缩杆可以通过销轴进行旋转,楔块也可以用过螺栓进行旋转,从而适应不同曲率检测面;楔块与第一支架的连接点位于楔块前部,能有效防止楔块前部翘起而引起的声波中断传播,使得检测失效。

标签:
失效分析
上海 - 上海 来源:北方有色网 2023-03-19
乙肝病毒耐药检测试剂盒

本实用新型涉及医疗检测领域,公开了一种乙肝病毒耐药检测试剂盒,包括了试剂盒盒体、试剂盒盒盖、试剂盘架、弹性试剂座和温湿度检测组件,试剂盘架采用双面凹槽设计,正面可放置试剂,反面可放置防震海绵或冰袋;采用弹性试剂座,在拿取试剂的时候只要轻轻一压试剂即可弹出,试剂拿取方便快捷;经过合理设计的试剂盒,设置有温湿度检测组件,通过温度传感器和湿度传感器对试剂盒盒体内部环境进行检测,可以有效避免试剂过期或失效。

标签:
失效分析
上海 - 上海 来源:北方有色网 2023-03-19
变电站水位检测装置
变电站水位检测装置 869     
 0

本发明公开了一种变电站水位检测装置,涉及报警装置领域,其技术方案要点是底坑上设有变电器,变电器一侧设有检测变电站水位的检测装置,其特征在于:检测装置包括检测组件、动力源和压力组件,检测组件包括设置在侧壁上的固定架,固定架设有半螺纹轴,半螺纹轴上悬挂有套筒,套筒内设有尼龙绳,尼龙绳穿过套筒,尼龙绳一端连接有警戒吸水块和失效吸水块,尼龙绳的另一端穿过套筒与设置在侧壁上的固定环固定连接,固定环的高度与警戒吸水块相同,套筒一端与控制装置相抵连接,通过杠杆原理触发控制装置来控制报警装置和排水装置工作,技术效果是检测元件可靠性高,靠干扰能力强,不受变电站电压影响和积水腐蚀,不易损坏,信息传输准确。

标签:
失效分析
上海 - 上海 来源:北方有色网 2023-03-19
防腐检测阀
防腐检测阀 744     
 0

本实用新型涉及一种防腐检测阀,其特征在于,由检测腔、螺钉、检测片、阀柄、阀针、针阀孔和阀体组成,阀柄设于阀体内顶部,阀针设于阀体中,并垂直连接阀柄,针阀孔设于阀针的下端,检测腔与阀针相连,螺钉设于阀体外侧,与检测腔相连,检测片设于检测腔内。所述的检测片的材质为采油树设备的材质。针阀孔并将油、气流体导入检测腔,使检测腔完全等同于采油树设备内腔的工况,当需要检测时,可方便取出测试片,观察腐蚀程度,从而判断采油树设备内腔腐蚀状况。本实用新型的优点是在设备正常运行的情况下,快捷、方便地掌握设备内腔腐蚀状况,避免因采油树设备腐蚀失效引发事故。

标签:
失效分析
上海 - 上海 来源:北方有色网 2023-03-19
微泄漏检测方法
微泄漏检测方法 1138     
 0

本发明提供了一种微泄漏检测方法,包括以下步骤:S1、判断产品中可能出现微泄漏的区域;S2、在密封性测试前使用发泡剂喷涂该区域;S3、进行密封性测试时,采用热成像设备全程监控喷涂区域内是否有起泡现象,若有起泡现象,则判定产品为不合格。本发明的有益之处在于,通过配合使用发泡剂,可检测出传统密封性检测技术无法发现的微泄漏,消除密封件中微泄漏的失效风险,并且能准确检测出发生微泄漏的位置,为后续生产改进指明方向。

标签:
失效分析
上海 - 上海 来源:北方有色网 2023-03-19
电池管理单元主板系统的便携式检测设备

本实用新型公开了一种电池管理单元主板系统的便携式检测设备,包括设备外壳(100)、装在设备外壳上的线束插接端口(200)、电源插头(300)和通讯端口(400)、装在设备外壳内的检测装置主体(500);检测装置主体通过线束插接端口与电池管理系统主板(600)连接,检测装置主体通过通讯端口与上位机和统一诊断服务器(700)连接,使上位机和统一诊断服务器通过通讯端口与电池管理单元主板进行通讯;检测装置主体上设有供电端口(501)、电流检测端口(502)、电压检测端口(503)、电平检测端口(504)、脉冲宽度调制检测端口(505)、电阻检测端口(506)、控制开关S和指示灯L。本实用新型能简易、高效、便捷地排查电池管理系统主板工作失效的原因。

标签:
失效分析
上海 - 上海 来源:北方有色网 2023-03-19
设有预紧力检测销的螺栓

本实用新型公开了一种设有预紧力检测销的螺栓,其特点包括内六角螺栓、检测销、固定杆、挡圈、弹簧及粘结剂,所述内六角螺栓的轴向设有阶梯孔、径向设有台阶孔,固定杆为一端设有倒锥形杆帽的光杆;所述固定杆设于阶梯孔内,挡圈设于台阶孔内,弹簧装于检测销与挡圈之间。本实用新型通过肉眼观测或用手触摸检测销的方法,即可及早发现螺栓的预紧力降低或失效,具有结构简单,检测方便的优点。

标签:
失效分析
上海 - 上海 来源:北方有色网 2023-03-19
芯片崩边缺陷检测方法
芯片崩边缺陷检测方法 1184     
 0

本发明提供一种芯片崩边缺陷检测方法,通过定义处方,标定了芯片参考图像中密封环相对于所述参考芯片标识的位置,对芯片表面进行扫描检测,利用图像处理算法,实现对芯片崩边缺陷的有效判定,解决了现有的自动光学检测设备在芯片边缘完整性检测中无法准确判定芯片是否失效,产生大量的误判缺陷的问题。进一步的,在检测芯片崩边缺陷的同时也对芯片密封环内区域的表面缺陷进行识别判定,而不需要针对芯片表面缺陷再新建处方程序进行再一次的扫描,实现对芯片密封环内表面缺陷的同步检测。

标签:
失效分析
上海 - 上海 来源:北方有色网 2023-03-19
车辆安全智能检测系统

本实用新型公开了一种车辆安全智能检测系统,包括超载检测及车辆启动控制装置和超速检测及车速自动控制装置,超载检测及车辆启动控制装置包括连接在车辆大梁和车辆前后轴之间的支撑装置、用于测量支撑装置的向下形变量的传感装置以及连接传感装置的数据处理器,数据处理器根据传感装置的传感信号判定车辆超载后控制车辆点火机构失效;超速检测及车速自动控制装置包括安装在每辆车上的测速设备、安装在道路沿线的限速设备以及车速自动控制装置,测速设备与限速设备实现ZigBee通信连接后获取限速值并判断车辆是否超速,并在判定超速后由车速自动控制装置将车速减到限速值以内,降低了车速检测的时延,提升了车速检测的准确率和行驶安全性。

标签:
失效分析
上海 - 上海 来源:北方有色网 2023-03-19
光伏并网发电系统的孤岛检测控制方法

本发明涉及一种光伏并网发电系统的孤岛检测控制方法。该方法在光伏并网逆变器输出功率与负荷功率发生匹配,过/欠压、过/欠频检测失效时,引入双边无功功率扰动,使公共耦合点(并网点PCC处)频率超过允许范围,通过过/欠频检测完成孤岛检测;在光伏并网逆变器输出功率与负荷功率失配时,PCC处电压或频率发生波动,传统的被动检测法即可完成孤岛检测。双边无功扰动主动检测+被动检测方法,结合IGBT关断与开关分断的二级系统保护制策略,使检测在500ms内完成孤岛检测和保护响应,切断电网与光伏发电系统的连接,有效解决反孤岛控制在工程应用中盲区大、响应速度慢等瓶颈技术难题。

标签:
失效分析
上海 - 上海 来源:北方有色网 2023-03-19
数据有效性检测方法及装置、智能交互方法及装置

本发明提供数据有效性检测方法及装置、智能交互方法及装置,所述方法包括:预先备份数据库中的数据,以得到备份数据,所述数据库用于支持交互过程;对所述备份数据进行时效性检测,以筛选所述备份数据中的失效数据;标识所述数据库中对应于所述失效数据的数据。本发明的技术方案可以提升数据库中数据的准确性。

标签:
失效分析
上海 - 上海 来源:北方有色网 2023-03-19
电极式液位检测组件、液位开关及洗碗机

本发明涉及洗碗机技术领域,尤其是涉及一种电极式液位检测组件、液位开关及洗碗机。所述电极式液位检测组件包括检测电极以及电压检测模块;所述检测电极用于与具有液体导电介质的箱体连接,且所述检测电极的第一端位于所述箱体内预定高度处,所述检测电极的第二端位于所述箱体外;所述电压检测模块用于检测所述检测电极的第二端和所述箱体的内壁之间的电压信号。所述电极式液位检测组件的结构简单,对箱体内的水位的检测结果准确、稳定,由于电极式液位检测组件中无活动部件或气密封零件,因此能够有效避免洗碗机水箱中油脂和食物残渣对液位检测组件的影响,也不会出现漏气导致的检测失效的问题,因此故障率低,降低了维修成本。

标签:
失效分析
上海 - 上海 来源:北方有色网 2023-03-19
上一页 44 45 46 47 48 ... 62 下一页
共62页    到第

北方有色为您提供最新的上海有色金属失效分析技术理论与应用信息,涵盖发明专利、权利要求、说明书、技术领域、背景技术、实用新型内容及具体实施方式等有色技术内容。打造最具专业性的有色金属技术理论与应用平台!

全国热门有色金属设备推荐
展开更多 +
全国热门有色金属技术推荐
展开更多 +

 

江西省隆恩特环保设备有限公司
宣传

报名参会
更多+

报告下载

有色专家
更多+

紫金矿业信息化研发中心
副总经理
石家庄铁道大学
团委书记/副教授
武汉科技大学
院长 / 教授
云南锡业集团(控股)有限责任公司
副总经理
国家钨与稀土产品质量检验检测中心
主任
赤泥综合利用研究报告2025
推广

热门技术
更多+

推荐企业
更多+

福建省金龙稀土股份有限公司
宣传

发布

在线客服

公众号

电话

顶部
咨询电话:
010-88793500-807