青岛垚鑫智能科技有限公司
宣传

位置:中冶有色 >

有色技术频道 >

> 通用技术

分类:
全部
矿山技术
冶金技术
材料制备及加工技术
环境保护技术
分析检测技术
 
全部
探矿技术
采矿技术
选矿技术
通用技术
地区:
全部
北京
天津
上海
重庆
河北
山西
辽宁
吉林
黑龙江
江苏
浙江
安徽
福建
江西
山东
河南
湖北
湖南
广东
海南
四川
贵州
云南
陕西
甘肃
青海
内蒙
广西
西藏
宁夏
新疆
其他
其他
展开
 
全部
南京
无锡
徐州
常州
苏州
南通
连云港
淮安
盐城
扬州
镇江
泰州
宿迁

江苏徐州有色金属通用技术理论与应用

免费发布技术信息>>
自动摇筛装置
自动摇筛装置 1260     
 0

本实用新型公开了一种自动摇筛装置,该摇筛装置包括机架、出料漏斗和筛体,出料漏斗位于机架下部,筛体位于机架上部并通过中心轴与机架相连,曲柄摇杆机构上端与筛体相连,曲柄摇杆机构下端与电磁制动电机相连,筛体的一侧连接有上门盖,筛体的另一侧连接有下门盖,上门盖和下门盖与开关门机构相连,机架上连接有与控制电路电连接的接近开关和计数器。采用曲柄摇杆机构和开关门机构,并连接有与控制电路电连接的接近开关和计数器,可自动加料或出料,降低了劳动强度,能与其它设备连机,实现自动操作。可用于烧结矿等物料的机械强度试验。

标签:
通用技术
江苏 - 徐州 来源:中冶有色网 2023-03-15
双主轴、筛网跳汰式混凝土喷射机

本实用新型公开了一种用于矿山井巷、地下工程的锚喷支护项目的施工过程中喷射混凝土的改进型机具,该机具由电机、减速器、拨料、出料系统装置组成,特点是减速器是一台有二个三级减速传动的装置,由一台电机驱动,向上伸出和电机同向的两根主轴,一根与机具出料系统装置中旋转体和磨擦衬板装配一起转动工作,一根与机具拨料系统装置中的拨料盘装配一起转动工作;拨料主轴端面有一顶叉在转动时周期性地顶起斜置在进料斗中的筛网上下摆动工作,这就构成了双主轴,筛网跳汰式混凝土喷射机。机具的拨料和出料系统装置各自独立运行,方便安装调整、维修使用和更换零配件等,解决了安装维修费工、费时、困难等问题;筛网跳汰,便于砂料筛选和落料。

标签:
通用技术
江苏 - 徐州 来源:中冶有色网 2023-03-15
双向排料圆振动筛
双向排料圆振动筛 770     
 0

本发明公开了一种双向排料圆振动筛,由筛体、激振器、弹簧、支座及传动装置组成;其特征是:所述的筛体由筛框和上、下层筛网组成;在上层筛网上设有出料口I、在下层筛网上设有出料口II,在筛体的下部装有支座,筛体通过四组弹簧与支座固定连接,在筛体重心偏上部安装有激振器。其优点是:物料圆形振动筛采用简体式偏心轴块调节振幅,筛淌线长、筛分规格多、排料快、分级效率高的特点;并具有结构可靠、激振力强、筛分效率高、振动噪音小、坚固耐用、维修方便、使用安全等特点,该机可广泛应用于矿山、建材、交通、能源、化工等行业的物料的分级分选。

标签:
通用技术
江苏 - 徐州 来源:中冶有色网 2023-03-15
耐磨筛网装置
耐磨筛网装置 1011     
 0

本实用新型公开了一种耐磨筛网装置,属于耐磨筛网技术领域。本实用新型包括筛网主体,筛网主体包括钢板基层,钢板基层上制作有筛孔,钢板基层上根据安装需要每隔一段距离设有不设筛孔的连接区,连接区上制作有若干连接孔;所述钢板基层的上表面有耐磨层;所述钢板基层的下表面设有加强筋条,加强筋条固定在所述连接区下方并沿连接区的走向布置,加强筋条外层包裹有耐磨橡胶层。本实用新型主要于圆振筛、直线筛、圆筒筛、振动筛等设备相配套,广泛用于矿山、水电、建筑、水泥等行业,分效率高、使用寿命长、安装方便。

标签:
通用技术
江苏 - 徐州 来源:中冶有色网 2023-03-15
基于数字孪生的工业筛分效果动态评价方法

本发明涉及一种基于数字孪生的工业筛分效果动态评价方法,属于矿物筛分技术领域,解决了现有技术中无法对工业筛分效果进行在线动态观测、实时评价的问题。该评价方法包括:步骤1、采集筛机结构参数、材料参数、颗粒群组分参数、筛分过程载荷参数和设备运行周围环境信息;步骤2、建立筛机三维结构模型;步骤3、建立筛机数字孪生仿真模型;步骤4、修正筛机数字孪生仿真模型;步骤5、基于修正后的筛机数字孪生仿真模型构建云端数据库,通过终端设备获取设备实时运行状态;步骤6、基于获取的设备实时运行状态,对筛分效果进行实时评价。本发明能够实时采集筛分过程中筛机的工况参数,实现对筛机结构、运行状态、故障预警和筛分结果的实时检测。

标签:
通用技术
江苏 - 徐州 来源:中冶有色网 2023-03-15
矸石筛分器
矸石筛分器 1202     
 0

本实用新型提供了一种矸石筛分器,涉及煤矿领域,一种矸石筛分器,包括筛分板,筛分板整体为矩形环,筛分板一端固定在底板上,筛分板的另一端固定在支撑件上,支撑件垂直固定在底板上且支撑件还有一固定在底板上的斜支撑件支撑,所述的筛分板内均匀固定有若干筛条,筛条有若干固定在底板上的支撑板支撑,本实用新型选出的矸石颗粒达到了合理控制床压的要求,满足了锅炉的生产需要,提高了煤泥的用量,实现了节支降耗、降本增效,增加效益的目的。

标签:
通用技术
江苏 - 徐州 来源:中冶有色网 2023-03-15
可调振动方向角振动筛

本实用新型公开了一种用于筛分矿石、煤炭等物料的可调振动方向角振动筛,该振动筛包括筛箱、激振器、减振弹簧、筛板及支架,筛板固定在筛箱内,筛箱通过减振弹簧连接在支架上,转动机构焊接在筛箱侧面,转动机构设有四个调节螺栓孔,激振器的底座通过调节螺栓与转动机构相连接。在不改变其它结构和控制条件的情况下,通过调节振动方向角可提高振动筛的筛分效率或提高生产率。调节范围30°~70°。再配合调节振幅、频率可有效解决提高筛分效率、消除卡料现象和提高生产率之间的矛盾。

标签:
通用技术
江苏 - 徐州 来源:中冶有色网 2023-03-15
太阳能式无尘振动筛
太阳能式无尘振动筛 1148     
 0

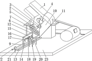
一种太阳能式无尘振动筛,包括振动筛顶板(2)和振动筛底板(12),二者之间形成空腔,空腔内安装有振动筛体(3),振动筛体下端安装有与太阳能电池板(6)相连的振动电机(11);振动筛顶板和振动筛底板一端开口,开口之间设有垫块(10),其底部与振动筛底板相抵,其上端安装有弹簧(9),弹簧另一端设有L型连接块(8);振动筛顶板内设有第一筛网(4)和第二筛网(5),二者左端均设有出料口(7),底部均开设有过滤孔(16),第一筛网上端面开设有进料口(14),进料口正上端安装有进料斗(1)。本发明粉尘小、结构简单、筛选清晰、拆卸方便、使用成本低,且电源来源于太阳能,绿色环保,适宜在矿区野外环境下的物料筛选工作。

标签:
通用技术
江苏 - 徐州 来源:中冶有色网 2023-03-15
粉尘颗粒粒径筛分系统及方法

一种粉尘颗粒粒径筛分系统及方法,方法包括设置解算初始条件、数值模型解算、建立粒径筛分公式、粉尘颗粒粒径筛分及确定各分粒径范围粉尘颗粒的质量浓度。本发明可实现对作业现场任意高度浮游粉尘的大量采集、粒径精准筛分以及不同粒径粉尘浓度的分析确定。本发明操作方便、粉尘粒径筛分精度高,既可在工矿、建筑、大气监测等诸多涉尘场所推广,用于分粒径粉尘浓度的高精准度检测,又可将分粒径粉尘用于病理、毒理、动物实验等医学研究,应用范围广,应用价值高。

标签:
通用技术
江苏 - 徐州 来源:中冶有色网 2023-03-15
改良型滚动筛
改良型滚动筛 1136     
 0

本实用新型公开了一种改良型滚动筛,包括机架和滚筒筛,所述滚筒筛转动式连接在机架上,所述滚筒筛包括一表面均布筛孔的筒体、穿设在筒体内的转轴以及轴接在转轴端部的电机,所述转轴上设有螺旋状叶片,所述叶片从转轴的一端延伸至另一端;所述筒体的外壁面上间距设有若干加强筋,且所述加强筋环绕筒体一周;所述筒体两端分别设有进料口和出料口,所述机架上设有与出料口相对的接料盘,所述接料盘上远离筒体的一端搭接在机架上;所述筒体相对机架呈倾斜布置,且设有进料口的一端高于出料口的一端;所述机架下部设有高度调节机构。本实用新型实用性和功能性强,可广泛应用于矿用滚动筛技术领域。

标签:
通用技术
江苏 - 徐州 来源:中冶有色网 2023-03-15
振动筛式双层固液分离机

本实用新型一种振动筛式双层固液分离机涉及井下矿用固液分离设备技术领域,包括机架,所述的机架底层设置有储料箱,上层设置有筛箱;所述的筛箱内从上到下依次倾斜布置有次级筛板和初级筛板,次级筛板和初级筛板末端设置有出料溜槽,初级筛板进料端设置有布料器;所述的筛箱内,在次级筛板的上端还对称布置有两个振动电机和一个旋流器;所述的旋流器的进料口通过管路和次级进料泵与储料箱连接,所述旋流器的底流口通过管路连接到次级筛板上;所述旋流器的溢流口连接有溢流管。本实用新型结构简单,安装方便,振动平稳,分级筛分脱水可有效减少物料堵筛的情况,通用性强,固液分离彻底,效率高。

标签:
通用技术
江苏 - 徐州 来源:中冶有色网 2023-03-15
等厚分段筛
等厚分段筛 747     
 0

本实用新型涉及一种振动筛,具体地说是一种等厚分段筛,适用于煤矿、电力、建材和冶金等行业的筛分作业。该等厚分段筛采用分段并且具有不同筛面角度筛分单元组合而成。每个筛分单元包括振动梁、激振器、筛箱、筛板和支腿,激振器安装在振动梁的两侧,振动梁安装在筛箱的底部,振动梁带动筛箱整体振动,筛面振动均匀。由于各段筛分单元安装角度不同,入料端安装角度更大,使得待筛分的物料可均匀的分布在各段筛面上,提高了筛分生产效率。

标签:
通用技术
江苏 - 徐州 来源:中冶有色网 2023-03-15
选煤机用复合橡塑振动筛板

本公开了一种选煤机用复合橡塑振动筛板,属于煤矿机械设备技术领域,包括筛板金属骨架,筛板金属骨架中并排开有多个长方形通孔,在上述结构的基础上,筛板金属骨架表面和长方形通孔内壁外均包裹一层橡胶层。对比传统选煤机的振动筛板,本使用了一种复合橡塑振动筛板,即在原有的筛板金属骨架外设置一层橡胶层,利用橡胶高弹性,高韧性以及耐磨性的特性,提高了整体筛板的使用寿命和筛分效率,同时降低了整体筛板的重量,减少了原煤碰撞到筛板产生的噪音污染,确保了整体装置正常的使用。

标签:
通用技术
江苏 - 徐州 来源:中冶有色网 2023-03-15
新型实验用筛分机
新型实验用筛分机 750     
 0

一种新型实验用筛分机,适用于实验室中对矿物颗粒进行筛分试验。本装置包括主框架、偏心动力轮、运动轨道、可移动横梁、滚轮和连接偏心动力轮与主框架的联动杆。所述主框架上设有可移动横梁,横梁上装有筛面固定装置,通过调节横梁间距可适应不同尺寸的筛面;主框架下方设有滚轮和配套的运动轨道,主框架在偏心轮的带动下做往复运动,从而实现对物料的筛分。该装置可以代替人工筛分,改善实验工作环境,提高筛分效率。

标签:
通用技术
江苏 - 徐州 来源:中冶有色网 2023-03-15
超静定网梁激振大型振动筛

一种超静定网梁激振大型振动筛,适用于对原煤、矿石及其它物料进行粒度分级、脱水、脱介。在筛箱两侧筛板之间设置超静定网梁装置,用至少一块超静定支承板将多根主梁联接形成一个包容体,超静定支承板两侧的激振传动轴上分别增加设置激振器,不需要工字钢或矩型钢作为主梁激振器的支承,激振器的支承体积减小,振动筛参振重量减轻、回转体运动精度提高,振动筛筛体结构简单,可靠性增加,综合性能得到改善,振动平稳,能满足大型振动筛激振装置的工艺要求,提高了振动筛单机生产效率,在煤炭、冶金、化工、环保领域具有广泛的实用性。

标签:
通用技术
江苏 - 徐州 来源:中冶有色网 2023-03-15
Ti-Beta分子筛的制备方法

本发明提供一种Ti‑Beta分子筛的制备方法,适用于无机化学领域中的引用。首先将Beta分子筛进行完全脱铝处理得到全硅Si‑Beta分子筛,然后对Si‑Beta分子筛进行脱水脱杂气预处理,之后将预处理后的Si‑Beta分子筛与含Ti前驱体在惰气环境中均匀混合;将混合粉末转移至带盖平底坩埚中并尽量薄地均匀铺洒在平底坩埚内,将盛有混合粉末的带盖坩埚转移至真空环境中加热,使坩埚内前驱体中的Ti金属均匀浸渍负载到Si‑Beta分子筛的骨架中,得到Ti‑Beta分子筛;最后将坩埚内的Ti‑Beta分子筛进行焙烧处理,脱除前驱体中的有机组分,使金属Ti稳定存在于Beta分子筛的骨架中,获得Ti‑Beta分子筛。本方法避免使用有毒矿化剂,实施过程简单高效,绿色环保,且产品骨架Ti负载量高,具有广泛的实用性。

标签:
通用技术
江苏 - 徐州 来源:中冶有色网 2023-03-15
振动翻转击打弧形筛
振动翻转击打弧形筛 853     
 0

本实用新型涉及一种弧形筛,尤其是涉及一种振动翻转击打弧形筛,主要用于煤泥的脱水、脱介,属煤矿机械加工技术领域。该弧形筛包括有底架、筛框、振动电机,所述的底架上焊接有弹簧座,弹簧座上有减振弹簧,底架通过减振弹簧与筛框连接,筛框下部连接有翻转装置,筛框上固定有支撑梁,支撑梁上固定有振动电机和击打装置,击打装置为连杆机构,击打装置的击打块作前后轮流打击筛网运动,靠击打装置的击打频率和击打力,以及振动电机的综合作用,使堵塞在筛网缝隙中的煤泥脱落,可有效实现筛网不堵塞,脱水、脱介效率高。

标签:
通用技术
江苏 - 徐州 来源:中冶有色网 2023-03-15
双梁筛
双梁筛 1087     
 0

本实用新型涉及一种筛分机械,具体地说是一种双梁筛,适用于煤矿、电力、建材和冶金等行业的筛分作业。它包括筛箱、筛板、支腿、双振动梁、双组激振器、联轴器和电动机。双振动梁安装于筛箱的底部,两组激振器安装于双振动梁的两侧,筛箱安装于支腿上,由弹簧支撑,多块筛板固定于筛箱上,两个电动机分别通过联轴器驱动两侧激振器旋转振动,根据自同步惯性原理,两端惯性激振器产生的激振力沿振动梁方向相互抵消,只有垂直于双振动梁和筛板的方向的力互相叠加,此力传递给筛板上的物料和筛箱下的底架,对底架的冲击力通过隔振弹簧来减小冲击,如此当物料沿一定倾斜角度的筛板通过时,筛板就能起到对物料的筛分作用。

标签:
通用技术
江苏 - 徐州 来源:中冶有色网 2023-03-15
选煤机用复合橡塑振动筛板

本实用新型公开了一种选煤机用复合橡塑振动筛板,属于煤矿机械设备技术领域,包括筛板金属骨架,筛板金属骨架中并排开有多个长方形通孔,在上述结构的基础上,筛板金属骨架表面和长方形通孔内壁外均包裹一层橡胶层。对比传统选煤机的振动筛板,本实用新型使用了一种复合橡塑振动筛板,即在原有的筛板金属骨架外设置一层橡胶层,利用橡胶高弹性,高韧性以及耐磨性的特性,提高了整体筛板的使用寿命和筛分效率,同时降低了整体筛板的重量,减少了原煤碰撞到筛板产生的噪音污染,确保了整体装置正常的使用。

标签:
通用技术
江苏 - 徐州 来源:中冶有色网 2023-03-15
四轴强制同步变直线等厚振动筛

一种四轴强制同步变直线等厚振动筛,适用于对原煤、矿石及其它物料进行粒度分级、脱介。它包括筛箱、筛箱支座、弹簧、同步齿轮、激振器。激振器包括电机及带偏心块的传动轴,传动轴上装有齿轮,经联轴器和电机联接,其中,两个传动轴设在筛箱质心的斜上方,其合成激振力通过筛箱质心;另两个传动轴设在筛箱质心另一侧斜上方,其合成激振力不通过筛箱质心。所产生的变直线轨迹的行程从入料端到出料端逐渐变小,这改变了传统平动振动筛筛面各点轨迹和强度均相同的运动模式。该振动筛入料端物料运动速度快,料层迅速变薄并分层,出料端物料输送速度减慢、分层加强、物料透筛机会增加,呈等厚特征,整个振动筛结构简单、筛分效率高。

标签:
通用技术
江苏 - 徐州 来源:中冶有色网 2023-03-15
叶轮卸料筛
叶轮卸料筛 818     
 0

本实用新型公布一种叶轮卸料筛,属于大块物料的筛前预筛分技术领域,主要适用于煤矿、洗煤厂、火力电厂、码头、冶金等领域大块物料的筛前预筛分。包括筛架和固定在筛架上的物料运动所用的滑道;所述滑道由多根平行的轨道组成,相邻轨道间留有一定的间隙,构成筛孔;在滑道上方或下方设有一根或多跟主传动轴;所述主传动轴通过两端的轴承室安装在筛架上;所述主传动轴上安装有均匀布置的叶轮,所述叶轮的叶片沿所述轨道运动并穿过轨道间筛孔。本实用新型彻底解决了物料的堵料、卡料等问题,利于筛分,筛分效率高。整机结构优点是结构简单独特,维护方便,可靠性强、经久耐用。

标签:
通用技术
江苏 - 徐州 来源:中冶有色网 2023-03-15
细粒分级筛
细粒分级筛 953     
 0

本实用新型公布细粒分级筛,属于1~20mm细粒粘性物料的干法筛分技术领域。包括机架座,机架座上安有筛分装置,筛分装置一端设有入料溜槽,另一端设有出料溜槽,在筛分装置下方设有筛下溜槽;筛分装置包括多根平行布置的筛轴;筛轴上装有多片均匀布置的可轴向调节的锥型筛片;相邻筛轴上的锥型筛片彼此穿插布置、并留有均匀的间隙,组成筛孔;每个筛轴下都安装有与锥型筛片相配合的隐埋式可调锥型刮刀。本实用新型专为筛分潮湿、易堵、跑粗、细粒粘性物料设计,特别适用于煤矿、洗煤厂、火力电厂、码头、冶金等领域细粒粘性物料的干法筛分。

标签:
通用技术
江苏 - 徐州 来源:中冶有色网 2023-03-15
湿法分级筛板
湿法分级筛板 835     
 0

本实用新型公开了一种湿法分级筛板,包括筛板、筛孔区域和凸起结构;筛板上设置有若干个筛孔区域,凸起结构为若干个且设置在筛孔区域边缘;凸起结构设置在相邻的两个筛孔区域之间的筛板上,凸起结构沿横向排列与物料前进的方向垂直;凸起结构为圆锥状、圆柱状、半球状、棱柱状、棱锥状、棱台状或不规则形状。本实用新型在湿法分级筛板的表面布置许多形状不规则的凸起结构,通过这些凸起结构来改变矿浆中下层大粒径物料相对稳定的运动状态,使矿浆上层的小粒径物料更容易下到下层,从而使分级更快更高效。

标签:
通用技术
江苏 - 徐州 来源:中冶有色网 2023-03-15
冶金设备用筛分旋转装置

本实用新型公开了一种冶金设备用筛分旋转装置,涉及冶金加工设备技术领域。该冶金设备用筛分旋转装置,包括空心座,空心座的一侧外表面焊接有U型板,U型板的一侧内表壁中心处沿水平方向安装有电动推杆,电动推杆的一端延伸至空心座的内部,电动推杆的一端焊接有推板。该冶金设备用筛分旋转装置,将硅铁矿热炉粉末放置在筛分筒的内部,关上密封盖,通过电机的发动,从而使得筛分筒进行转动,通过筛分筒上的筛孔,从而可以将粉末筛出,由于圆筒的内部底面为斜面,从而使得筛分出来的粉末可以更好的通过出料口进入到空心座的内部,在使用上可以快速的对硅铁矿热炉粉末进行筛分处理,有效的提高了筛分的效率。

标签:
通用技术
江苏 - 徐州 来源:中冶有色网 2023-03-15
收口型等厚振动筛
收口型等厚振动筛 1140     
 0

一种收口等厚振动筛,属于振动筛分机械,适用于对原煤、矿石以及其他物料进行粒度分级、脱介。通过改变筛箱的形状,使筛箱由入料端至出料端呈收口状;合理布置激振器和振动轴的位置于振动筛筛箱质心的后上方,实现入料端和出料端的变椭圆轨迹振动,结合收口状筛面,使物料的筛分接触面积逐渐减小,从而最终整体实现等厚筛分效果。此振动筛可以很好地节省筛面,提高筛面利用率,且结构简单,制造成本低,等厚筛分效果良好可靠,可广泛用于完成煤炭、矿山等各行业中的中小型物料分级作业中。

标签:
通用技术
江苏 - 徐州 来源:中冶有色网 2023-03-15
板块式超静定组合承重梁特大型振动筛

本发明的板块式超静定组合承重梁特大型振动筛,包括由筛板、横梁连接构成的筛箱,支撑在筛箱下的弹性支承体,激振器,设在电机座上的电动机和传动装置,所述的筛箱内设有板块式超静定组合承重梁,通过高强度铰制螺栓与筛箱联接成一体,筛箱的出料端和入料端设有与组合承重梁相连的矩型封闭梁,由此构成一个封闭的大刚度包容体。结构刚度增大,振动筛参振重量减轻,振动筛的单机产率和效率提高;筛体结构简化,加工工艺简单,整机可分组件组合安装运输。由于结构的可靠性,使得整机综合机械性能和可靠性寿命都得到改善和提高,能满足我国大型煤矿,选煤厂的生产需要,在煤炭,冶金、化工、环保等领域具有广泛的实用性。

标签:
通用技术
江苏 - 徐州 来源:中冶有色网 2023-03-15
变椭圆轨迹等厚振动筛

一种变椭圆轨迹等厚振动筛,适用于对原煤、矿石及其它物料进行粒度分级、脱介。它包括筛板和筛网组成的筛箱,支撑筛箱的前支座和后支座组成的弹性支架,设在筛箱上的单个激振传动轴和设在单个激振传动轴两端的偏心激振器,电动机,电动机座,轮胎式联轴器,单个激振传动轴设置的位置偏离筛箱质心,安装于筛箱整体质心的斜上方,不与筛箱整体的质心重合。在筛面入料端产生的椭圆轨迹行程比较大,入料端到筛体中部椭圆的长轴逐渐变小,改变了传统的平动椭圆相同的运动模式的特点和筛箱受等强度作用方式,该振动筛入料端输送物料的能力强,能使入料端粒度分布均匀分层,其结构简单,透筛率高,使用效果好。

标签:
通用技术
江苏 - 徐州 来源:中冶有色网 2023-03-15
新型端弧形强力振动筛

本实用新型涉及一种振动筛,具体涉及一种新型端弧形强力振动筛,主要用于矿物分级筛分,属选矿设备加工技术领域。它包括有底架,底架上固定有若干个筛箱支座,筛箱通过弹簧上座、弹簧固定在筛箱支座上,筛箱下面有双矩形激振梁,每根矩形梁由H型钢和四块高强度钢板组焊而成,底架上还固定有电动机,所述的新型端弧形强力振动筛由呈圆弧形排列的若干段筛箱组成,所述的筛箱通过高强度螺栓固定在双矩形激振梁上,每一根激振梁的两端两侧分别安装有激振器,每段同侧两对激振器通过传动轴与软连接和电动机相连接。该振动筛具有激振梁刚度和强度高、矿物筛分效率高、振动强度大、单位能耗低、整机结构简单、安装维护方便的优点。

标签:
通用技术
江苏 - 徐州 来源:中冶有色网 2023-03-15
组合驱动式圆振动多层弛张筛

本发明公开了一种组合驱动式圆振动多层弛张筛,包括机架、弛张筛框部分和激振驱动部分;弛张筛框部分包括上下间隔设置的上层筛框部分和下层筛框部分,上层筛框部分包括上层固定筛框和上层浮动筛框,下层筛框部分包括下层固定筛框和下层浮动筛框;激振驱动部分设置在上层筛框部分和下层筛框部分之间,传动轴的轴体上设有偏心段,随动座通过轴承套接安装在偏心段上,随动座通过连接架、连接板簧和连接座与下层浮动筛框传动连接。本发明可以实现低能耗比、大处理量、小噪声和可控振幅,能够在实现物料颗粒更好地快速全面分层筛分的前提下实现对潮湿的难筛物料的高效筛分、提高细颗粒物料透筛几率,特别适用于选矿分选前的原矿分级筛分。

标签:
通用技术
江苏 - 徐州 来源:中冶有色网 2023-03-15
数字自动化采矿选矿设备

本实用新型公开了一种数字自动化采矿选矿设备,包括箱体,所述箱体的一侧安装有进料斗,所述进料斗的下方设置有两个散热装置,两个所述散热装置的下方安装有排水管,所述排水管的靠中央位置设置有排水阀门,所述箱体远离排水管的一侧安装有清洁装置,所述箱体的内侧安装有粗过滤网,所述粗过滤网的下方安装有细过滤网,所述粗过滤网与细过滤网的上方均设置有滚刀轴,粗过滤网上方所述滚刀轴的外侧设置有多个第一滚刀;本实用新型通过设置输水管、喷雾喷头、进水管、水泵、储水箱、吸水海绵和干燥滑架,使得矿石在加工筛选过程中能够被水所清洗,从而减少了矿石的清洁难度,进而降低了工作人员的劳动强度。

标签:
通用技术
江苏 - 徐州 来源:中冶有色网 2023-03-15
上一页 33 34 35 36 37 ... 39 下一页
共39页    到第

中冶有色为您提供最新的江苏徐州有色金属通用技术理论与应用信息,涵盖发明专利、权利要求、说明书、技术领域、背景技术、实用新型内容及具体实施方式等有色技术内容。打造最具专业性的有色金属技术理论与应用平台!

全国热门有色金属设备推荐
展开更多 +
全国热门有色金属技术推荐
展开更多 +

 

江西省隆恩特环保设备有限公司
宣传

报名参会
更多+

报告下载

有色专家
更多+

武汉科技大学
校学术委员会主任 / 教授
江西理工大学
副处长/教授
有研资源环境技术研究院(北京)有限公司
副总经理/教授级高工
中南大学
教授、博士生导师
中南大学、中国工程院
院士
赤泥综合利用研究报告2025
推广

热门技术
更多+

推荐企业
更多+

福建省金龙稀土股份有限公司
宣传

发布

在线客服

公众号

电话

顶部
咨询电话:
010-88793500-807