青岛垚鑫智能科技有限公司
宣传

位置:中冶有色 >

有色技术频道 >

> 化学分析技术

分类:
全部
矿山技术
冶金技术
材料制备及加工技术
环境保护技术
分析检测技术
 
全部
物理检测技术
化学分析技术
力学检测技术
无损检测技术
失效分析技术
环境检测技术
地区:
全部
北京
天津
上海
重庆
河北
山西
辽宁
吉林
黑龙江
江苏
浙江
安徽
福建
江西
山东
河南
湖北
湖南
广东
海南
四川
贵州
云南
陕西
甘肃
青海
内蒙
广西
西藏
宁夏
新疆
其他
其他
展开
 
全部

有色金属化学分析技术理论与应用

免费发布技术信息>>
防锈油/液多电极电化学防蚀性能测评方法及装置

本发明公开了一种防锈油/液多电极电化学防蚀性能的测评方法及测评装置,测评装置包括N个相互绝缘电极组成的腐蚀电位阻抗探头、信号分析主控单元、电化学辅助电极、触摸液晶显示单元。本发明在防锈油/液测评领域首次以多电极电化学方式获得相对易腐蚀等效电极数值作为评定防锈油/液特征参量,定量定性评定防锈油/液的防蚀性能,相较于传统的盐雾箱测试方法,具有测评方法精度高,测试周期短的特点。

标签:
化学分析
湖南 - 长沙 来源:中冶有色网 2023-03-19
聚酰亚胺膜的化学稳定性测定装置

本实用新型提供一种聚酰亚胺膜的化学稳定性测定装置。所述聚酰亚胺膜的化学稳定性测定装置包括柜体,所述柜体的内壁的两侧均固定连接有发热装置,柜体的顶部固定连接有温度调节器,所述发热装置与温度调节器之间连通有连接管,柜体内壁的顶部固定连接有伸缩杆,柜体内壁的两侧均转动连接有隔板,柜体的两侧固定设置有流体泵,所述流体泵一端固定连接有T型管,柜体底部的两侧均固定连接有支撑块。本实用新型提供的聚酰亚胺膜的化学稳定性测定装置具有温度调节器和T型管,通过模拟聚酰亚胺膜的工作环境测试获得反应后的样品聚酰亚胺膜,进而进行样品聚酰亚胺膜的力学分析,使得模拟工作环境时更加安全和可调节,方便操作。

标签:
化学分析
江苏 - 扬州 来源:中冶有色网 2023-03-19
盐酸克伦特罗化学发光法定量测定试剂盒

本发明公开了一种盐酸克伦特罗化学发光法定量测定试剂盒,其特征在于:包括盒体,所述盒体内设置有预包被化学发光板和试剂,所述试剂包括CLB系列标准品溶液、CLB系列质控品、HRP‑抗CLB抗体、发光液A、发光液B和浓缩洗涤液。本发明提供的一种盐酸克伦特罗化学发光法定量测定试剂盒,将化学发光和酶联免疫技术相结合,具有灵敏度高、线性范围宽、分析方法更简便快速、稳定性强、高特异性等特点。

标签:
化学分析
江苏 - 南京 来源:中冶有色网 2023-03-19
评测卷烟制丝工艺中化学成分变化的方法

本发明涉及一种评测卷烟制丝工艺中化学成分变化的方法,该方法具体内容如下:1.采用正交实验,进行实验设计,根据研究需要,可将实验分为全线联机试验、制叶段实验、制丝段实验、单工序实验、实验室小样实验;2.研究工序及相关因素的选定;3.参数水平范围的设定;4.取样方法;5.分析研究指标(包含常规化学成分、烟叶致香成分、烟气致香成分)的选择。在应用过程中具备以下特点:对烟叶在制丝加工过程中化学成分变化的评测具有准确性和有效性;根据卷烟原料化学成分及在加工过程中变化显着性和变化值,对拟采取的加工方法进行调整、优化,从而实现产品的合理适度加工。

标签:
化学分析
云南 - 昆明 来源:中冶有色网 2023-03-19
化学品遗传毒性预测模型的训练方法及预测方法

本公开提供了一种化学品遗传毒性预测模型的训练方法,可以应用于化学品环境健康风险评价技术领域。该化学品遗传毒性预测模型的训练方法包括:获取关于已知遗传毒性的化学品的原始数据,其中,上述原始数据包括上述化学品的化学编码、上述化学品的差异基因表达数据和上述化学品的体外高通量测试数据;根据上述原始数据生成训练样本数据集,其中,上述训练样本数据集中包括原子特征矩阵、连接关系矩阵、差异基因表达矩阵、体外高通量测试矩阵以及上述化学品的标签信息;以及利用上述训练样本数据集训练初始模型,得到化学品遗传毒性预测模型。本公开还提供了一种化学品遗传毒性的预测方法。

标签:
化学分析
北京 - 北京 来源:中冶有色网 2023-03-19
碳纤维上浆剂与树脂基体界面化学反应测试装置和测试方法

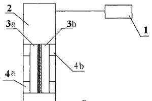
本发明属于碳纤维复合材料界面化学反应测试技术,涉及一种碳纤维上浆剂与树脂基体界面化学反应的测试装置及测试方法。本发明的测试装置包括一个红外光谱仪,其特征在于,该测试装置由温控器[1]、加热器[2]、溴化钾盐片、活动挡块[4a]、固定挡块[4b]和底座[5]组成。本发明测试方法的步骤是:溴化钾盐片试片制备;溴化钾盐片试片固定;测试装置固定;化学反应测试。本发明提出了一种碳纤维上浆剂与树脂基体界面化学反应的测试装置及测试方法,能够定量测试碳纤维上浆剂与树脂基体界面化学反应基团的浓度,进而对碳纤维与树脂基体间的匹配特性进行准确评价。

标签:
化学分析
北京 - 北京 来源:中冶有色网 2023-03-19
化学铜药水中铜离子与甲醛浓度的快速测量方法

本发明公开了一种化学铜药水中铜离子与甲醛浓度的快速测量方法,包括以下步骤:S10、配制一系列标准液;S20、将一系列所述标准液及待测槽液分别置于分析杯中进行循环伏安法分析,测试待测组分产生的氧化峰;S30、根据一系列所述标准液的体积及其对应的氧化峰的面积求出线性回归方程;或者,根据一系列所述标准液中待测组分的浓度及其对应的氧化峰的峰高求出线性回归方程;S40、根据所述线性回归方程即可得出所述待测槽液中待测组分的浓度。与传统的滴定分析方法相比,本发明的测量方法精度高、用时短。

标签:
化学分析
广东 - 广州 来源:中冶有色网 2023-03-19
用于化学反应过程的探测成像装置及其制备方法和应用

本发明是关于一种用于化学反应过程的探测成像装置及其制备方法和应用,所述用于化学反应过程的探测成像装置包括传像光纤棒及导光光纤,所述传像光纤棒的外周环设有多数个导光光纤。本发明所提供的用于化学反应过程的探测成像装置,具有动态监测化学反应过程、获得产物形貌并基于形貌图片分析反应产物颗粒尺寸与数量的优点。

标签:
化学分析
北京 - 北京 来源:中冶有色网 2023-03-19
具有多个电化学电池组电池并具有用于测量两个不同的电池组电池的两个电池电流之间的差的设备的电池组包

本发明涉及具有多个电化学电池组电池的电池组包,包括用于测量两个不同的电池组电池的两个电池电流之间的差的设备,其中第一电池组电池具有由第一电极层和第二电极层构成的第一卷绕元件,所述第一卷绕元件通过所述电池电流中的第一电池电流引起第一磁场,以及第二电池组电池具有由第三电极层和第四电极层构成的第二卷绕元件,所述第二卷绕元件通过所述电池电流中的第二电池电流引起第二磁场,其中所述第一和第二卷绕元件相对于彼此被布置,使得所述第一磁场在被相同地定向的第一和第二电池电流的情况下抵抗所述第二磁场,其中所述电池组包进一步包括磁场传感器,所述磁场传感器被设置用于测量由所述第一磁场和所述第二磁场构成的叠加场,以及包括分析单元,所述分析单元被设置用于由所测量的叠加场确定所述第一和所述第二电池电流之间的差。

标签:
化学分析
其他 - 其他 来源:中冶有色网 2023-03-19
基于强化学习的学生素质素养预测系统

本发明公开一种基于强化学习的学生素质素养预测方法及系统,所述方法包括:初始化设置学生的素质素养指标,构建学生素质素养评价体系,通过层次分析法分析学生的素质素养指标的权重;获取学生的历史素质素养指标数据,通过学生素质素养评价体系对历史素质素养指标数据进行评价,构建数据集;通过数据集构建隐马尔科夫模型,基于隐马尔科夫模型对学生的素质素养指标进行预测。本发明通过隐马尔科夫模型挖掘学生的历史素质素养观测数据潜在的时序变化规律和隐含参数,可根据历史数据提前对学生的素质素养变化趋势进行分析,实时性和准确性更高。

标签:
化学分析
湖北 - 武汉 来源:中冶有色网 2023-03-19
流道式动态介质电化学测试装置与方法

本发明提供了本发明提供了一种流道式动态介质电化学测试装置,其主体为密闭式流道,由盖板和流道两部分构成,通过设置三电极实现电化学测试。本发明可以在腐蚀介质动态条件下进行电化学测试,而且密闭式流道使得流速可调范围增大,三电极的工作面均与流道面在同一水平面内,介质流态稳定,测试结果更加有利于分析流动腐蚀机理。

标签:
化学分析
山东 - 青岛 来源:中冶有色网 2023-03-19
测定藜芦中化学成分含量的方法

本发明提供了一种测定藜芦中化学成分含量的方法,采用超高效液相色谱‑质谱联用,同时测定藜芦中8种化学成分的含量;所述8种化学成分包括:藜芦托素、环巴胺、芥芬胺、藜芦胺、虎杖苷、槲皮素、芹菜素、白藜芦醇。采用本申请的方法,通过合理选择色谱条件和质谱条件,可以同时测定藜芦中8种化学成分的含量,且所述方法具有简便、灵敏度高、分析速度快、专属性强等优势,从而可用于藜芦药材的质量控制。

标签:
化学分析
天津 - 天津 来源:中冶有色网 2023-03-19
定量分析水产品中多环芳烃的GC‑MS分析方法

本发明涉及一种分析化学领域的多环芳烃分析测试方法,具体是一种适用定量分析水产品中多环芳烃的气相色谱与质谱联用的方法。针对富含脂肪、蛋白质等大分子物质的动物源性(水产品)食品的复杂基质,本发明利用凝胶渗透色谱进行去脂化,然后利用氧化铝‑硅胶复合层析净化柱有效提取多环芳烃,利用气相色谱与质谱联用进行定量分析,建立一种定量分析水产品中多环芳烃的气息色谱与质谱联用分析方法。与已有方法比较,本发明目标化合物回收率较高,去除基质干扰,提高检出限,降低检出成本,适用于水产品安全评价等。

标签:
化学分析
贵州 - 贵阳 来源:中冶有色网 2023-03-19
测量自生气化学剂产气总量受温度影响的方法

本发明公开了一种测量自生气化学剂产气总量受温度影响的方法,包括:(a)首先,制备纯净的氯化氨和硝酸钠备用;(b)然后,分别称取一定量的氯化氨和硝酸钠置于实验容器中;(c)向实验容器中添加溶剂;(d)将实验容器置于不同温度的水浴中;(e)向实验容器中分别加入相同量的催化剂;(f)待反应完全后,测量产气总量并记录,将实验数据进行整理,从而分析出自生气化学剂产气总量受温度的影响。本发明能快速测试出自生气化学剂产气总量受温度的影响,且测试结果准确,测试步骤简单,大大降低了测试成本。

标签:
化学分析
四川 - 成都 来源:中冶有色网 2023-03-19
含烟梗预处理的造纸法再造烟叶成品化学成分预测方法

本发明公开了一种含烟梗预处理的造纸法再造烟叶成品化学成分预测方法,以输入再造烟叶配方原料常规化学成分含量至预先生成的预测模型,所述再造烟叶预测模型通过分析烟梗预处理工艺化学成分含量留存率及再造烟叶生产工艺过程配方原料的转移率为依据,来进行造纸法再造烟叶成品化学成分的预测。本发明结合烟梗预处理工艺及再造烟叶生产工艺实际情况,有效辅助再造烟叶配方设计及提高再造烟叶产品质量的稳定性。

标签:
化学分析
云南 - 玉溪 来源:中冶有色网 2023-03-19
金属动态腐蚀的电化学测试实验装置

本发明提供了一种金属动态腐蚀的电化学测试实验装置,主体为流水槽,流水槽整体是由聚四氟乙烯加工而成,上方为PVC透明参比电极套板,用来放置及固定参比电极,下面则分别有一个对电极固压板和工作电极固压板,用来固定对电极、工作电极和外接接口,并防止流水槽上的两个电极触口漏水。开启电化学工作站、循环水系统,开始动态腐蚀的电化学测试实验,在电脑上观察样品动态腐蚀的动电位极化曲线以及交流阻抗谱等实验结果,准确获取动态腐蚀过程中的金属腐蚀特性。本发明的优点是:与其他的腐蚀实验方法相比,将原来的静态腐蚀变为动态腐蚀,与实际腐蚀情况更加接近,并且可实时监测其腐蚀情况,有利于更好地分析金属材料在流动腐蚀环境中的腐蚀机理。

标签:
化学分析
江西 - 南昌 来源:中冶有色网 2023-03-19
基于简化电化学模型和灰色预测联合的电池容量预测方法

基于简化电化学模型和灰色预测联合的电池容量预测方法,属于电池性能衰减预测领域,为了解决对锂离子电池性能衰减预测精度低的问题。获取锂离子电池在充放电情况下的电流数据和电化学模型参数,所述电化学模型参数包括多个电化学参数;将每个电化学参数在设定的变化范围内取多个均分值,分别代入对应的电化学模型中进行电池放电仿真,获得每个电化学参数的敏感度;从多个电化学参数的敏感度中选出高于预设敏感值的电化学参数作为关键敏感参数;利用灰色预测模型预测关键敏感参数的退化,得到关键敏感参数的预测值;将关键敏感参数的预测值代入电化学模型中模拟恒流放电至截止电压处,预测出锂离子电池的放电容量。它用于预测电池容量。

标签:
化学分析
山东 - 威海 来源:中冶有色网 2023-03-19
用于确定化学敏感场效应晶体管的测量值的方法和装置

本发明涉及用于确定化学敏感场效应晶体管的测量值的方法和装置,其中该方法具有提供第一信号和第二信号的步骤,其中至少该第一信号利用一个放大系数而被放大。另外该方法还具有用于给该化学敏感场效应晶体管供给该第一信号的步骤,以获得输出信息。在该供给步骤中另外还给该参照晶体管供给该第二信号,以获得参照信息,其中该化学敏感场效应晶体管被施加有被测流体,并且该参照晶体管处于参照环境中。另外该方法还具有用于把该输出信息与该参照信息相比较的步骤,以响应于比较结果来匹配放大系数。另外该方法还具有分析该放大系数的步骤,以获得该测量值。

标签:
化学分析
其他 - 其他 来源:中冶有色网 2023-03-19
防锈油/液多电极电化学防蚀性能测评装置

本实用新型公开了一种防锈油/液多电极电化学防蚀性能测评装置,测评装置包括N个相互绝缘电极组成的腐蚀电位阻抗探头、信号分析主控单元、电化学辅助电极、触摸液晶显示单元。本实用新型在防锈油/液测评领域首次以多电极电化学方式获得相对易腐蚀等效电极数值作为评定防锈油/液特征参量,定量定性评定防锈油/液的防蚀性能,相较于传统的盐雾箱测试方法,具有测评方法精度高,测试周期短的特点。

标签:
化学分析
湖南 - 长沙 来源:中冶有色网 2023-03-19
考虑物理化学作用的膨胀土强度评估模型

本发明涉及一种考虑物理化学作用的膨胀土强度评估模型。该模型基于土颗粒和水之间的物理化学作用分析,首先根据膨胀土的脱湿或增湿试验数据,得到传统的土水特征曲线;其次,通过计算总吸力、吸附力(也即物理化学作用力)和饱和度之间的关系,得到总吸力和吸附力随饱和度的变化曲线;最后,利用饱和时的强度,以及一个参考吸力下的强度,实现膨胀土不同吸力下的强度预测。与现有技术相比,本发明具有能够考虑膨胀土土水之间的显著物理化学作用的效果,模型参数具有物理意义并且容易确定等优点,能够解决现有强度预测模型只能针对一种土的问题。

标签:
化学分析
上海 - 上海 来源:中冶有色网 2023-03-19
电解处理后的高氯废水化学需氧量的测定方法

本发明公开了一种电解处理后的高氯废水化学需氧量的测定方法,依次包括以下步骤:取待测水样或稀释后的待测水样至一封闭容器中,用浓硫酸调节样品pH值至3以下;对水样进行曝气,同时用真空泵抽真空,使其表压显示压力值在0.05MPa至0.07MPa之间,同时,曝气流量为1~3L/min,曝气时间t和待测水样的体积L关系为:t=L×(0.5~1)min/10ml,期间,维持pH值在3以下;停止曝气,以该水样作为样品,按照《高氯废水化学需氧量的测定氯气校正法(HJ/T 70‑2001)》进行分析。本发明的优点是:能够减少由次氯酸产生的氯气导致COD测定结果偏低的影响。

标签:
化学分析
江苏 - 苏州 来源:中冶有色网 2023-03-19
基于锂电池在线电化学阻抗谱测量的SOH估算系统和方法

本发明公开基于锂电池在线电化学阻抗谱测量的SOH估算系统和方法,测量电池不同老化循环次数下的电化学阻抗谱和电池开路电压;使用灰色关联度对电化学阻抗谱进行特征选择;建立并训练机器学习模型;采集被测电池数据进行SOH估算。本发明通过对电池电化学阻抗谱进行分析,得到相关的特征参数,避免了复杂等效电路模型的参数辨识。本发明可完成对电池的电化学阻抗谱测量和电池SOH的估算,提高了系统的集成度和可靠性。

标签:
化学分析
广西 - 桂林 来源:中冶有色网 2023-03-19
测定小型试样摩擦腐蚀耦合电化学参数的夹具及实验方法

测定小型试样摩擦腐蚀耦合电化学参数的夹具及实验方法,有固定在摩擦试验机悬臂上的圆柱形样品架,样品架底部缺口内安装有样品,样品待测面凸出于样品架下表面一定高度;样品架侧面安装有压杆,通过旋转螺钉和借助杠杆作用夹紧样品;样品架侧面通孔内穿插有参比电极;盛装有腐蚀电解液的电解池安装在可往复运动的摩擦试验机工作台上,电解池内安装有对磨件。实验方法是通过压杆夹紧用绝缘材料封装的试样,试样、参比电极和辅助电极与电化学工作站连接,在摩擦试验机加载装置和驱动装置作用下,浸没在腐蚀介质中的试样与对磨件发生相对摩擦运动,同时电化学工作站记录摩擦期间电化学参数;摩擦实验结束后,取下样品并做XRF分析。

标签:
化学分析
福建 - 厦门 来源:中冶有色网 2023-03-19
基于电化学发光自干涉测量溶液中发光层厚度及发光分子与电极之间距离的方法

本发明公开了一种基于电化学发光自干涉测量溶液中发光层厚度及发光分子与电极之间距离的方法,所述方法包括:(1)在电极体系的电解质溶液中含有发光分子或工作电极表面固定有发光分子,对电极体系施加电位,发光分子发光作为光源,工作电极产生干涉光;(2)依次采用准直镜、光纤和狭缝在垂直于工作电极的方向收集工作电极的干涉光信号,并用光纤光谱仪记录,得到工作电极的电化学发光自干涉光谱;(3)利用传输矩阵法和双光束干涉法对电化学发光自干涉光谱进行分析计算,得到发光层厚度或发光分子与电极之间距离。该方法测量的空间分辨率达到纳米级,对研究电化学发光的机理、提高其性能具有重要意义。

标签:
化学分析
浙江 - 杭州 来源:中冶有色网 2023-03-19
数据驱动的大学生个性化学习行为预测与干预方法

本发明公开了一种数据驱动的大学生个性化学习行为预测与干预方法,包括:采集大学生日常校园活动数据,形成反应大学生日常学习行为过程的标准数据集,通过时空图神经网络模型,以自适应学习方法获取日常学习行为习惯;应用习惯模型进行日常学习行为预测,建立习惯与学习行为活动的参数关系;开展持续性的日常学习活动行为监测,根据数据实测与模型预测结果,构建多元回归分析模型,优化习惯模型;设置习惯关联行为强度阈值,构建三级行为干预模式,通过数据实测与回归分析干预过程,形成数据驱动的持续性回归干预机制。本发明通过量化干预行为参数,实现数据驱动的精准干预,持续确保干预能有效地、更好地帮助学生养成良好学习习惯。

标签:
化学分析
湖北 - 武汉 来源:中冶有色网 2023-03-19
测试彩涂板涂层耐化学药剂性能的试验装置及方法

本发明涉及彩涂板涂层耐化学药剂试验技术领域,尤其涉及一种测试彩涂板涂层耐化学药剂性能的试验装置及方法。试验容器设有开口,试验容器的开口边缘用胶带均匀粘接、包裹,试验样板覆盖于胶带粘接后的试验容器开口上;压紧连杆固接在支撑拉杆上,压紧螺栓与压紧连杆螺纹连接;试验容器位于压紧螺栓下方,旋转压紧螺栓,压紧螺栓向下移动压紧胶带,实现试验容器的密封。能够直接将要测试的涂层表面与化学药剂直接接触浸泡,避免了化学药剂对样板边部切口的腐蚀而导致试验的失败,去掉了原有标准中样板切边保护的准备工作,提高了试验的效率,直观分析了彩涂钢板的耐化学药剂性能,为研究彩涂钢板耐腐蚀性能提供了有效的方法。

标签:
化学分析
辽宁 - 鞍山 来源:中冶有色网 2023-03-19
通过爆炸残留物采用化学显色法定性检定炸药种类的方法

本发明涉及通过爆炸残留物采用化学显色法定性检定炸药种类的方法,属于爆炸案件快速侦破及公共安全技术领域。将试样溶于氢氧化钠水溶液或氢氧化钠甲醇溶液中,加入亚硝酸钠溶液,在冰水中冷却后,再缓慢滴加硫酸,如试样含有伯硝基烷烃,则反应液出现红色或橙-红色,但继续加酸,则颜色消失。如试样中含有仲硝基烷烃,则将已酸化的反应液与甲苯一起摇荡,甲苯层中出现蓝色。脂肪族硝基化合物与亚硝酸钠及酸的点滴试验,具有简单、选择性和灵敏的优点。

标签:
化学分析
北京 - 北京 来源:中冶有色网 2023-03-19
化学试剂或化工产品取样送检装置

一种化学试剂或化工产品取样送检装置,涉及一种取样容器的包装,“目”字形泡沫板(10)放置在箱体(11)内,在“目”字形泡沫板放置的每一方孔(17)的上口两侧分别设有短凹槽(18),抱箍夹持在取样瓶(9)的瓶口上,在抱箍与取样瓶的瓶口之间设有橡胶套环(8),所述抱箍两侧的轴杆(6)外端分别处于“目”字形泡沫板的两短凹槽中,“目”字形泡沫压板(3)压在“目”字形泡沫板的上部,箱上盖(2)扣在箱体上部;本发明通过抱箍夹持取样瓶,由泡沫压板和泡沫板防范取样瓶的碰撞,确保了取样瓶的安全送达。

标签:
化学分析
河南 - 洛阳 来源:中冶有色网 2023-03-19
MEMS电化学地震检波器敏感电极芯片及其制造方法

本发明提供了一种MEMS电化学地震检波器敏感电极芯片及其制造方法,该电极芯片包括一个支撑基板、在该支撑基板的至少一个表面依次排列的N层电极层和位于相邻两个电极层之间的N?1层绝缘间隔层,M个电极层通孔(31)、M个绝缘间隔层通孔(32)以及M个支撑基板通孔(33)的位置正对,形成电解质溶液的流经通道,该敏感电极的所有绝缘间隔层与电极层集成在同一个硅片上,结构简单,提高了层间对齐精度,简化了加工工艺;绝缘间隔层的厚度可控制为几微米到上百微米,有利于器件性能的调整和优化,电极层与电解质溶液接触的面积大大增加,提高了单片集成式一体化敏感电极芯片的灵敏度。

标签:
化学分析
北京 - 北京 来源:中冶有色网 2023-03-19
基于Q-learning强化学习的芯片封装测试生产线性能控制方法

本发明涉及半导体芯片封装测试生产线性能控制与优化领域,具体为一种基于Q‑learning强化学习的芯片封装测试生产线性能控制方法。本发明建立了更加精确的半导体封装测试串并联生产线性能预测模型,并综合使用Morris筛选法与Arena仿真法开展全局灵敏度定量分析,得到对生产线性能影响最大的若干影响因素及其影响规律,避免了设备马尔科夫状态空间庞大,传统数学模型分析不适用的情况。本发明在性能预测和灵敏度分析的基础上对生产线变动性因素进行控制,并改进参数ε的取值方式,使得算法收敛速度更快并避免局部最优,同时性能控制方法具有更好的灵活性和实时性。

标签:
化学分析
四川 - 成都 来源:中冶有色网 2023-03-19
上一页 1986 1987 1988 1989 1990 ... 2000 ... 2305 下一页
共2305页    到第

中冶有色为您提供最新的有色金属化学分析技术理论与应用信息,涵盖发明专利、权利要求、说明书、技术领域、背景技术、实用新型内容及具体实施方式等有色技术内容。打造最具专业性的有色金属技术理论与应用平台!

全国热门有色金属设备推荐
展开更多 +
全国热门有色金属技术推荐
展开更多 +

 

江西省隆恩特环保设备有限公司
宣传

报名参会
更多+

报告下载

有色专家
更多+

武汉理工大学
外籍院士/教授
湖南有色金属研究院
教授级高工/原总工程师
矿冶科技集团
副所长/研究员
任灵宝金源矿业股份有限公司
技术发展部经理
西安建筑科技大学
教授
赤泥综合利用研究报告2025
推广

热门技术
更多+

推荐企业
更多+

福建省金龙稀土股份有限公司
宣传

发布

在线客服

公众号

电话

顶部
咨询电话:
010-88793500-807