青岛垚鑫智能科技有限公司
宣传

位置:北方有色 >

有色技术频道 >

> 复合材料技术

分类:
全部
矿山技术
冶金技术
材料制备及加工技术
环境保护技术
分析检测技术
 
全部
功能材料技术
复合材料技术
新能源材料技术
合金材料技术
加工技术
地区:
全部
北京
天津
上海
重庆
河北
山西
辽宁
吉林
黑龙江
江苏
浙江
安徽
福建
江西
山东
河南
湖北
湖南
广东
海南
四川
贵州
云南
陕西
甘肃
青海
内蒙
广西
西藏
宁夏
新疆
其他
其他
展开
 
全部
南京
无锡
徐州
常州
苏州
南通
连云港
淮安
盐城
扬州
镇江
泰州
宿迁

江苏南通有色金属复合材料技术理论与应用

免费发布技术信息>>
燃料电池复合双极板制造设备

本实用新型具体涉及一种燃料电池复合双极板制造设备,本燃料电池复合双极板制造设备包括:处理器模块、熔体制备机构、注射成型机构、冷却机构和出料机构;其中熔体制备机构投入各类填料,熔体制备机构加热混合各类填料,以形成复合材料熔体,熔体制备机构向注射成型机构内注入复合材料熔体,冷却机构对注射成型机构降温,以使注射成型机构内复合材料熔体固化形成双极板;以及注射成型机构打开,出料机构夹持成型的双极板进行出料;本实用新型通过熔体制备机构制备复合材料熔体,并通过注射成型机构、冷却机构将复合材料熔体注射成型双极板,具备生产周期短、生产率高、劳动强度低、成型质量稳定的特点,并通过出料机构实现自动出料功能。

标签:
复合材料
江苏 - 南通 来源:北方有色网 2023-03-18
可重复使用的自粘地板
可重复使用的自粘地板 1119     
 0

本实用新型公开了一种可重复使用的自粘地板,包括耐磨层、装饰层、复合材料中层、玻璃纤维层、复合材料底层、胶黏上层、无纺布纤维层和胶黏底层,所述耐磨层、所述装饰层、所述复合材料中层、所述玻璃纤维层和所述复合材料底层通过热帖合技术依次粘贴,所述无纺布纤维层通过所述胶黏上层粘贴于所述复合材料底层的下侧,所述胶黏底层渗透于所述无纺布纤维层的下侧。本产品与其他产品相比具有铺装方便以及更换成本低等优势,另外,本产品的底部使用无纺布等纤维层,使产品在铺装后行人步行在上面可以给传递出非常的舒适脚感,不会有硬质的感觉,同时也不会产生较大的噪音。

标签:
复合材料
江苏 - 南通 来源:北方有色网 2023-03-18
SMC材料加工模具
SMC材料加工模具 1039     
 0

本实用新型涉及SMC复合材料的加工技术领域,尤其涉及SMC材料加工模具。所述SMC材料加工模具包括工作台,所述工作台顶面中心处开设有若干个通孔,还包括固定组件,所述固定组件架设安装于工作台上,且所述固定组件位于工作台的顶面中心处。本实用新型提供的SMC材料加工模具,在对SMC复合材料进行定位打孔加工时,可利用设置的气缸,驱动滑板于侧板上进行移动,同步缩小固定板与滑板之间的距离,直至滑板将SMC复合材料抵紧于固定板上,增加其与固定板之间的连接关系,从而实现对SMC复合材料进行固定的效果,省时省力,提高打孔的精度,有效防止SMC复合材料打孔位出现偏移的情况,从而提高工作的效率,降低产品的不品率,进而以便于使用。

标签:
复合材料
江苏 - 南通 来源:北方有色网 2023-03-18
轨枕
轨枕 922     
 0

本实用新型涉及一种轨枕,包括轨枕体,所述轨枕体材料为纤维增强树脂基复合材料,所述轨枕体的枕芯由纤维增强树脂基复合材料型材和发泡材料组成,轨枕体的枕芯纤维增强树脂基复合材料型材和发泡材料粘合组成一体后,发泡材料在垂直方向高出枕芯的纤维增强树脂基复合材料型材的竖档0.5-2.5mm,在水平方向发泡材料单边比枕芯的纤维增强树脂基复合材料型材的螺栓导向档短3-8mm。本实用新型具有轻质高强、承载能力高、不变形、不吸潮、体积稳定、耐化学腐蚀、耐老化、减震性好、不导电、结构简单、现场安装方便的优点。

标签:
复合材料
江苏 - 南通 来源:北方有色网 2023-03-18
铜包铝电缆
铜包铝电缆 1083     
 0

本实用新型公开了铜包铝电缆,包括从外至内依次设置的绝缘层、复合材料层和芯柱,其中复合材料层长度方向整体呈麻花状,并且其横截面上设有若干个通孔,每一个通孔内设有一根芯柱,每一根芯柱由至少三根镀有铜保护层的铝丝编制而成,铜保护层的厚度为0.1?0.6mm。本实用新型的铜包铝电缆,在芯柱的外围采用复合材料层将其分别包裹住,同时在复合材料层之间设置通孔用于放置芯柱,复合材料层长度方向整体呈麻花状,进而保证其良好的电力以及通信性能。并且该电缆采用重量较轻的复合材料层,从而保证了电缆重量较轻,使用方便。

标签:
复合材料
江苏 - 南通 来源:北方有色网 2023-03-18
具有抗应力结构的水电管道

本实用新型涉及水电管道技术领域,具体为一种具有抗应力结构的水电管道,包括装置本体,所述装置本体包括管道本体,所述管道本体的表面固定套接有复合材料包裹层,所述管道本体的表面设置有加强机构,所述加强机构包括插装块,所述复合材料包裹层的表面固定安装有插装块,所述插装块的数量为若干个且包围在复合材料包裹层的表面。本实用新型通过设置有复合材料包裹层、插装块、插装槽和加强筋,复合材料包裹层对管道本体的表面进行包围防护,复合材料包裹层上均匀固定安装有插装块,然后通过加强筋穿插在插装块开设的插装槽中并进行固定,从而对管道本体起到了固定加强的作用,增加了管道本体的抗应力,提升了本装置的实用性。

标签:
复合材料
江苏 - 南通 来源:北方有色网 2023-03-18
枕轨及其安装螺母套的方法

本发明涉及一种轨枕,包括轨枕体,所述轨枕体材料为纤维增强树脂基复合材料,所述轨枕体的枕芯由纤维增强树脂基复合材料型材和发泡材料组成,所述枕芯的纤维增强树脂基复合材料型材先单独由拉挤工艺产生。本发明具有轻质高强、承载能力高、不变形、不吸潮、体积稳定、耐化学腐蚀、耐老化、减震性好、不导电、结构简单、现场安装方便的优点。

标签:
复合材料
江苏 - 南通 来源:北方有色网 2023-03-18
复合绝缘子及其制备方法

本发明公开一种复合绝缘子的制备方法,该方法包括:制备复合材料伞裙预混材料,预混材料包括基体材料和填料;利用注射机将预混材料注射在绝缘子芯体上,形成复合材料伞裙;打磨复合材料伞裙;将打磨后的复合材料伞裙浸渍在一定浓度的酸性溶液中;浸渍一段时间后,取出复合材料伞裙,水洗并烘干,形成具有超疏水复合材料伞裙的复合绝缘子。本发明还公开了一种复合绝缘子,该复合绝缘子由本发明公开的复合绝缘子的制备方法制得。本发明公开的复合绝缘子及其制备方法,使得复合绝缘子的复合材料伞裙具有超疏水自清洁性能和良好的防覆冰性能,同时制备方法简易、成本低。

标签:
复合材料
江苏 - 南通 来源:北方有色网 2023-03-18
用于火电厂耐强腐蚀环境的玻璃钢挡板门

本实用新型涉及一种用于火电厂耐强腐蚀环境的玻璃钢挡板门,包括一玻璃纤维复合材料门框,玻璃纤维复合材料门框内设置有若干个等间距排布的玻璃纤维复合材料叶片;还包括驱动玻璃纤维复合材料叶片旋转的执行机构;玻璃纤维复合材料叶片包括一不锈钢主轴以及不锈钢主轴上焊接有若干个垂直于不锈钢主轴且沿不锈钢主轴延伸方向分布的不锈钢板,且所述不锈钢主轴以及不锈钢板外侧包覆有玻璃纤维复合材料。本实用新型的优点在于:本实用新型门框采用玻璃纤维复合材料拉挤型材为增强骨架,可以让接触到介质的部分能够有足够的树脂含量以保证产品的耐腐蚀性能;叶片的主轴和不锈钢钢板外包覆玻璃纤维复合材料,能够有效解决现有技术中大量氯离子和氟离子腐蚀挡板门的问题。

标签:
复合材料
江苏 - 南通 来源:北方有色网 2023-03-18
锂离子电池及制备该电池的方法

本申请提供了一种锂离子电池,属于锂离子电池技术领域,包括电池正极、电池负极、多孔隔膜和电解液,电池正极为石墨烯‑LiFePO4复合材料,电池负极为石墨烯纳米复合材料;锂离子电池的制备方法包括石墨烯‑LiFePO4复合材料的制备:将制备好的碳包覆LiFePO4,与一定量的三维石墨烯按照100:2的比例复合,制成石墨烯‑LiFePO4复合材料;石墨烯纳米复合材料的制备:将一定量的金属氧化物纳米粒子包裹于三维石墨烯中形成似胶囊结构的石墨烯纳米复合材料;将制备的石墨烯‑LiFePO4复合材料作为正极材料,均匀涂于铝箔上制成正极片;制备好的石墨烯纳米复合材料作为负极材料,与多孔隔膜和电解液共同构成锂离子电池;本申请工艺简单,充放电容量提高,循环稳定性高,离子的电导率增加。

标签:
复合材料
江苏 - 南通 来源:北方有色网 2023-03-18
用于检测细胞内温度的纳米温度计的制备方法

本发明公开了一种用于检测检测细胞内温度的纳米温度计的制备方法,包括以下步骤:称取稀土掺杂ZnO的纳米复合材料、纳米Au和热敏性高分子,将稀土掺杂ZnO的纳米复合材料与热敏性高分子进行偶联反应,得到热敏性高分子表面修饰水溶性稀土掺杂ZnO的纳米复合材料量子点;将其与纳米Au偶联,得到荧光共振分子探针体系;将荧光共振分子探针体系与目标细胞孵育,并通过荧光光谱仪检测纳米温度计的细胞内温度.本发明利用稀土掺杂ZnO的纳米复合材料的荧光被纳米Au淬灭的效率与能量共振转移距离(FRET)有关,而FRET距离受热敏性分子(温度)控制,从而实现对温度的检测,为细胞内温度检测监控提供了一种新的方法。

标签:
复合材料
江苏 - 南通 来源:北方有色网 2023-03-18
金属处理方法及金属塑胶复合材料

一种金属处理方法,包括如下步骤:(1)将金属工件上挂;(2)进行氧化;(3)2次水洗;(4)4次E处理;(5)卸挂;(6)烘干。

标签:
复合材料
江苏 - 南通 来源:北方有色网 2023-03-18
具有灯槽和扶手的复合材料电缆槽

本实用新型涉及一种具有灯槽和扶手的复合材料电缆槽,包括槽体结构和槽盖结构,槽体结构包括第一侧板结构、第二侧板结构和连接在第一侧板结构和第二侧板结构之间的底板结构,第一侧板结构和第二侧板结构和底板结构围成凹腔结构,底板结构的下平面设置有灯槽结构,底板结构的上平面上设置有隔板结构,第一侧板结构和第二侧板结构的顶端部均设置有凹型抓槽结构,第一侧板结构和第二侧板结构上设置的凹型抓槽结构呈镜像方式设置,槽盖结构的两侧端部均设置L形槽口,凹型抓槽结构与L形槽口结构匹配紧密的通过卡合方式连接固定。

标签:
复合材料
江苏 - 南通 来源:北方有色网 2023-03-18
纤维增强树脂基复合材料汽车后防撞梁

纤维增强树脂基复合材料汽车后防撞梁,采用左右对称式结构;所述后防撞梁包括上翼板、下翼板、左安装板、右安装板;所述上翼板和下翼板呈拱形状,所述上翼板的两端连接左安装板、右安装板;在左安装板、右安装板的端面上均设有吸能盒,所述两吸能盒之间设有下翼板;所述上翼板与下翼板之间设有腹板和加强筋。本实用新型产品设计合理,采用整体成型工艺、生产效率高,产品密度小、强度高、减重效果好、碰撞吸能效果好、疲劳耐久性能强。

标签:
复合材料
江苏 - 南通 来源:北方有色网 2023-03-18
防紫外线的聚氨酯复合材料

本发明涉及一种防紫外线的聚氨酯复合材料,按重量份其组成,聚氨酯为85份‑120份;聚醚酰亚胺为3份‑5份;聚对苯二甲酸乙二醇酯改性光致变色剂为10份‑15份;助剂为1份‑5份;光致变色剂为无机光致变色剂。本技术方案中,通过在聚氨酯中添加聚对苯二甲酸乙二醇酯改性光致变色剂,通过聚对苯二甲酸乙二醇酯的包覆,实现该光致变色材料在聚氨酯中的分布均匀性,并且通过使用无机光致变色剂,根据紫外线的照射能够改变相应的颜色,从而起到阻挡紫外线的功能。

标签:
复合材料
江苏 - 南通 来源:北方有色网 2023-03-18
可降解的改性聚酯复合材料及其制备方法

本发明公开了一种可降解的改性聚酯复合材料及其制备方法,由聚对苯二甲酸-己二酸-丁二醇共聚酯与热塑性聚酯在添加扩链剂条件下通过平行同向双螺杆挤出机共混挤出得到。该具有柔软性好、可降解,易加工成型,可用来纺制单丝、复丝、假发丝以及3D打印耗材的优点。

标签:
复合材料
江苏 - 南通 来源:北方有色网 2023-03-18
新型复合材料纱管纸的生产方法

本发明涉及一种新型复合材料纱管纸的生产方法,其特征在于:将草浆、木浆、废纸浆和竹浆按质量比为1:1:2~3:5~6的比例混合后加水稀释,然后加入造纸添加剂和填料,稀释后上机生产纱管纸。本发明利用竹材纤维细长的特点,并与木浆和草浆合理配用,生产出来的纸具有强度高、抗拉能力强、耐高温等特点,能够满足纱管用纸的要求。

标签:
复合材料
江苏 - 南通 来源:北方有色网 2023-03-18
纤维复合材料生活用纸的生产工艺

本发明涉及生活用纸的技术领域,特别是涉及一种纤维复合材料生活用纸的生产工艺,其可以在提高生活用纸柔软度的前提下,增强生活用纸的韧性,减少生活用纸遇水后容易破损烂掉、掉渣掉屑的情况,提高生活用纸的实用性,减少浪费情况;该工艺包括以下步骤:S1、原料选取:选取甘蔗渣浆和天然竹浆作为主要原料,并以再生纤维浆作为辅料,用于生活用纸的生产;S2、甘蔗渣浆预处理;S3、天然竹浆预处理;S4、再生纤维浆的预处理;S5、浆料混合;S6、纤维复合:向混合后的浆料中加入纤维PP和PE,保持混合温度为40±1℃,使纤维PP和PE与浆料中的纤维交联复合;S7、辅料添加;S8、脱水压榨;S9、烘干;S10、后整理。

标签:
复合材料
江苏 - 南通 来源:北方有色网 2023-03-18
含吸能缓冲层结构的碳纤维复合材料汽车防撞梁

本发明公开了一种含有吸能缓冲层结构的碳纤维复合材料汽车防撞梁,在碳纤维防撞梁壳体内,包含起支撑、固定作用的骨架和填充于骨架间的高弹性材料所形成的吸能缓冲层;所述的起支撑、固定作用的骨架材料弹性模量须高于填充在骨架间的高弹性材料。通过在碳纤维防撞梁壳体内引入起支撑、固定作用的骨架材料和快速吸能的填充材料,达到快速吸能缓冲的功能。其中,骨架材料采用模量较高的柱状或蜂窝状支撑物,周围填充模量较低的吸能材料,在防撞梁受到低速碰撞,在低能量冲击情况下,低模量吸能材料通过快速形变吸收碰撞能量,并将未能快速吸收碰撞能量传递至高模量支撑材料以约束防撞梁发生的形变在可控范围。

标签:
复合材料
江苏 - 南通 来源:北方有色网 2023-03-18
纳米复合材料增韧增强改性聚对苯二甲酸丁二醇酯及生产方法

本发明公开了一种纳米复合材料增韧增强改性聚对苯二甲酸丁二醇酯及生产方法,由用偶联剂进行表面处理过的纳米碳酸钙、马来酸酐接枝过的POE、聚对苯二甲酸丁二醇酯组成。生产方法包括制造母料、共混挤出等步骤。本发明生产方法简单、易操作,制得的产品大大改善了纯PBT制品缺口冲击强度不高的不足,具有优良的性能,缺口冲击强度达30KJ·M2以上,拉伸强度达100MPa以上,弯曲强度达160MPa以上,无缺口冲击强度达85MPa以上。

标签:
复合材料
江苏 - 南通 来源:北方有色网 2023-03-18
复合材料包裹的电梯平衡补偿缆

本实用新型公开了一种复合材料包裹的电梯平衡补偿缆,包括柱状缆芯和纺织品网状纤维层,所述柱状缆芯的内部设置有高分子材料胶粘剂,且高分子材料胶粘剂的内部安装有重晶石粉,所述柱状缆芯的外表面安装有第一弹性体材料,且第一弹性体材料的一端安装有网套层,所述骨架层的内部安装有电焊锚链,所述骨架层的一端安装有外层,且外层的外表面安装有纺织品网状纤维层。该实用新型设置有由重晶石粉与高分子材料胶粘剂构成的柱状缆芯,从而可以提高柱状缆芯的强度,刚度和耐磨度,高分子材料胶粘剂且具有热固性胶粘剂的高强度又具有耐热、耐老化、耐化学介质腐蚀等特点,从而提高柱状缆芯的耐热、耐老化、耐化学介质腐蚀等特性。

标签:
复合材料
江苏 - 南通 来源:北方有色网 2023-03-18
便于安装的复合材料手工平板

本实用新型公开了一种便于安装的复合材料手工平板,包括高光高亮手工GRP平板、插槽和龙骨,手工板四周皆开设有插槽,插槽中部插入有龙骨,所述插槽内壁皆焊接有插杆,且插杆皆穿过插孔,所述插孔皆开设在龙骨上,所述插杆穿过插孔一侧皆开设有弹簧槽,且弹簧槽内部皆设置有弹簧,所述弹簧上下两端皆焊接在按压块上,且按压块皆内嵌在弹簧槽内,所述按压块外侧皆穿过弹簧槽;按压块从弹簧槽内移出,按压块对插孔进行限制,方便将龙骨固定在插槽内,方便对龙骨和手工GRP平板进行安装,提高装置的稳定性,同时在对手工GRP平板和龙骨安装时,增加龙骨和插槽的紧密形,提高装置的紧密形。

标签:
复合材料
江苏 - 南通 来源:北方有色网 2023-03-18
木塑复合材料切削刀具
木塑复合材料切削刀具 1027     
 0

本实用新型涉及木塑材料技术领域,具体涉及木塑复合材料切削刀具,包括安装圆盘和刀片,安装圆盘外壁沿着圆周方向连接有快拆组件;快拆组件连接有用于插接组件加固的加固组件;快拆组件外端连接有用于切削的刀片,刀片切割面朝切削工件设置;通过上述方式,本实用新型刀片损坏后无需专门的工具才能进行更换,利于实际切削。

标签:
复合材料
江苏 - 南通 来源:北方有色网 2023-03-18
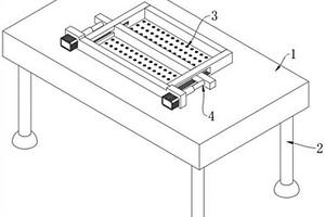
连续式复合材料自动裁切机

本实用新型公开了连续式复合材料自动裁切机,包括机架以及机架上固定安装的PLC控制盒,所述机架上方设置有上架,所述机架上开设有滑轨,所述上架底端固定安装有滑条,所述上架上固定连接有电动伸缩杆,所述电动伸缩杆底部延伸端固定安装有斜切刀,所述机架上通过转轴转动连接有第一转辊以及第二转辊,所述第一转辊与第二转辊之间传动连接有切纸。本实用新型中,采用伸缩杆与电机稳定组合切纸结构,实现了电动伸缩杆带动斜切刀对于切纸稳定裁切使用,整体机构工作安静,具有优良的稳定性能,采用滑轨式锁紧预制结构,实现了整体机构初期调试完成后,开机就可直接生产无需反复试裁。

标签:
复合材料
江苏 - 南通 来源:北方有色网 2023-03-18
防止道路反射裂缝的土工复合材料

本实用新型涉及公路上增强用的一种防止道路反射裂缝的土工复合材料,包括粘结层、涂层、网布,网布的外围表面涂覆有涂层,网布的上表面还粘固有粘结层;所述的涂层为热塑性高分子聚合物为材料的沾粘层;所述的粘结层为低收缩聚酯不织布;由于网布采用玻璃纤维丝为材料,且控制网孔的尺寸,从而充分利用了玻璃纤维的特性,使道路增强后更牢固;由于粘结层采用低收缩聚酯不织布制成,从而提高了粘结层的强度;由于涂层采用热塑性高分子聚合物为材料制成,从而提高了与沥青的相容性,使增强后的路面更牢固。

标签:
复合材料
江苏 - 南通 来源:北方有色网 2023-03-18
高性能纤维复合材料的成型模具

本发明公开了一种高性能纤维复合材料的成型模具,包括定模和动模,所述定模上设置有插槽和定位槽,所述动模上设置有分别与插槽和定位槽对应的插销和定位销,所述定模上设置有凹模,所述动模上设置有凸模,所述凸模的内部设置有腔体,腔体远离凹模的一侧设置有挡板。本发明中,在腔体中设置驱动部,驱动部设置了负压组件以及带动负压组件往复运动的驱动结构,在材料脱模时通过负压组件吸住材料,同时驱动结构使负压组件往复运动的幅度逐渐增大,通过逐渐增大的拖拽力使材料粘连在模具上的部分可以逐步脱离,相较于常规的一次性强制脱模,本模具的脱模方式较为柔和,使材料在脱模时不易发生弯折、断裂的现象。

标签:
复合材料
江苏 - 南通 来源:北方有色网 2023-03-18
防水复合材料的生产制备装置

本发明公开了一种防水复合材料的生产制备装置,包括底座,所述底座的顶部安装有储料箱,所述储料箱的顶部四角处均安装有支撑杆,支撑杆的顶部安装有研磨箱;所述研磨箱的一侧外壁安装有第一齿轮和第二齿轮,所述第一齿轮和第二齿轮的一端均安装有研磨辊,所述研磨箱的另一侧外壁安装有承载板,所述承载板的顶部安装有伺服电机,所述储料箱的一侧外壁设置有槽口,所述槽口的内部滑动安装有储料框,所述储料箱的底壁内嵌安装有压力传感器。本发明通过设置有安装有底座、研磨箱、储料框和压力传感器,将需要研磨的物料倒入研磨箱的内部,并通过研磨辊对其进行研磨操作,被研磨后的物料会通过输料管落入储料框中,并通过压力传感器对物料进行称重。

标签:
复合材料
江苏 - 南通 来源:北方有色网 2023-03-18
生产三维立体轧压复合材料的热轧装置

本发明公开了一种生产三维立体轧压复合材料的热轧装置,包括热轧压辊,热轧压辊外表面覆有花纹层,花纹层为若干组环绕压辊辊筒的逆时针方向螺旋形凸起的第一螺旋线与若干组反向旋绕的顺时针方向螺旋形凸的第二螺旋线起交叉处形成;第一螺旋线与水平方向夹角α1的角度范围为0‑90°,第二螺旋线与水平方向夹角α2的角度范围为0‑90°;第一螺旋线与第二螺旋线的交叉点处为压花点。本发明在现有热轧装置的基础上,改变了压辊的花纹。采用若干组环绕方向相反的螺旋形凸起相互交叉,形成点压。这样轧压出的非织造布有三维立体效果,正反两面的光滑度一样,花纹一致,手感一致,能更好的应用于产业需求。

标签:
复合材料
江苏 - 南通 来源:北方有色网 2023-03-18
高性能玻璃钢复合材料及其制备方法

本发明公开了一种高性能玻璃钢复合材料,由以下原料按质量份计制得:不饱和聚酯树脂80-100份;固化剂3-5份;促进剂2-5份;光稳定剂3-5份;热稳定剂3-5份;着色剂15-30份;填料1-3份;丙酮80-100份;玻璃纤维60-90份。本发明具有产成本低,性能稳定,剪切强度高,成品率和使用寿命高的优点。

标签:
复合材料
江苏 - 南通 来源:北方有色网 2023-03-18
书写贴白格底不干胶复合材料生产工艺

本发明公开了一种书写贴白格底不干胶复合材料生产工艺,包括从上至下依次复合的不干胶面材,粘胶层,底纸,不干胶面材上表面为表面涂层,不干胶面材下表面为涂底层,底纸上表面为涂硅层,该生产工艺通过一定原料的配比,特定的面材,及调控合适的生产温度,能够该改变面材表面的粗糙程度,使得面材的表面易于书写,大大提高了不干胶的使用率。

标签:
复合材料
江苏 - 南通 来源:北方有色网 2023-03-18
上一页 12 13 14 15 16 ... 37 下一页
共37页    到第

北方有色为您提供最新的江苏南通有色金属复合材料技术理论与应用信息,涵盖发明专利、权利要求、说明书、技术领域、背景技术、实用新型内容及具体实施方式等有色技术内容。打造最具专业性的有色金属技术理论与应用平台!

全国热门有色金属设备推荐
展开更多 +
全国热门有色金属技术推荐
展开更多 +

 

江西省隆恩特环保设备有限公司
宣传

报名参会
更多+

报告下载

有色专家
更多+

长春黄金研究院有限公司
总经理
矿冶科技集团有限公司
党委书记 / 董事长
武汉科技大学
校学术委员会主任 / 教授
昆明理工大学
教授
江西省科学院应用化学研究所
副主任/副研究员
赤泥综合利用研究报告2025
推广

热门技术
更多+

推荐企业
更多+

福建省金龙稀土股份有限公司
宣传

发布

在线客服

公众号

电话

顶部
咨询电话:
010-88793500-807