青岛垚鑫智能科技有限公司
宣传

位置:中冶有色 >

有色技术频道 >

> 复合材料技术

分类:
全部
矿山技术
冶金技术
材料制备及加工技术
环境保护技术
分析检测技术
 
全部
功能材料技术
复合材料技术
新能源材料技术
合金材料技术
加工技术
地区:
全部
北京
天津
上海
重庆
河北
山西
辽宁
吉林
黑龙江
江苏
浙江
安徽
福建
江西
山东
河南
湖北
湖南
广东
海南
四川
贵州
云南
陕西
甘肃
青海
内蒙
广西
西藏
宁夏
新疆
其他
其他
展开
 
全部
南京
无锡
徐州
常州
苏州
南通
连云港
淮安
盐城
扬州
镇江
泰州
宿迁

江苏无锡有色金属复合材料技术理论与应用

免费发布技术信息>>
基于失效面理论的复合材料层合板强度分析方法

本发明公开了一种基于失效面理论的复合材料层合板强度分析方法,涉及复合材料结构失效分析领域,该方法包括:基于三维失效面理论确定材料损伤柔度矩阵的计算公式,从而建立起复合材料力学本构关系;采用失效面上的应力构造失效准则以判断复合材料是否失效及其失效模式,并基于失效面坐标系进行复合材料的刚度退化。通过对有限元软件进行二次开发建立了复合材料层合板的三维有限元模型,仿真模拟了复合材料层合板损伤起始、损伤演化和最终破坏的完整过程。该方法物理机制明确,能较好地预测复合材料层合板的失效载荷与失效模式,在很大程度上提高了复合材料层合板强度分析的预测精度,从而避免进行大量耗时长、成本高的试验测试。

标签:
复合材料
江苏 - 无锡 来源:中冶有色网 2023-03-18
结合牢固的复合材料板材

本实用新型公开了一种结合牢固的复合材料板材,它包括复合材料板(1),通过注塑方式连接在复合材料板(1)外周的热塑性材料边框(2);复合材料板(1)周边设有矩形外倒角(3);热塑性材料边框(2)通过注塑方式与复合材料板(1)周边上的矩形外倒角(3)连接;复合材料板(1)包括实体板材和夹心板材;复合材料板(1)的上表面和下表面分别设有上蒙皮(4)和下蒙皮(5)。本实用新型结构设计合理,结合强度高,复合材料板和周边热塑性材料边框采用矩形外倒角连接,结构牢固,机械硬度高,重量较轻,环保性好,生产成本低,使用寿命长,应用范围广泛。

标签:
复合材料
江苏 - 无锡 来源:中冶有色网 2023-03-18
用于沸腾干燥机的金属复合材料

本发明公开了一种用于沸腾干燥机的金属复合材料,包括:埃洛石纳米管、CoO/石墨烯纳米复合材料、Ni50Au10Fe40、CoFe2O4-Co复合材料、ZrC-W复合材料、In2O3和Ti3AlC2/Fe复合材料,其各组分的重量含量为:埃洛石纳米管13~29份、CoO/石墨烯纳米复合材料46~62份、Ni50Au10Fe40?16~27份、CoFe2O4-Co复合材料23~35份、ZrC-W复合材料31~49份、In2O3?9~19份和Ti3AlC2/Fe复合材料12~24份。通过上述方式,本发明耐腐蚀性能好,适合长期工作于含腐蚀性物质的干燥。

标签:
复合材料
江苏 - 无锡 来源:中冶有色网 2023-03-18
耐老化木塑复合材料板材及其制备方法

本发明涉及一种木塑复合材料,特别是涉及一种耐老化木塑复合材料板材及其制备方法。本发明耐老化木塑复合材料板材,其由木粉、碳酸钙粉、塑料粒子、马来酸酐、硬脂酸盐、颜料、抗菌剂、抗氧剂、紫外线吸收剂先机械混合、再熔融混合后,通过挤出成型制作成耐老化木塑复合材料板材。本发明的耐老化木塑复合材料板材,用途极为广泛,适于建筑装饰、交通运输、家具、市政、园林等行业,不仅可再生、价格低廉,而且耐老化、耐紫外光,是一种理想的替代木材的材料,是木塑复合材料一种新型换代产品。

标签:
复合材料
江苏 - 无锡 来源:中冶有色网 2023-03-18
复合材料辊表面处理方法及其浇注用模具

本发明公开了一种复合材料辊表面处理方法及其浇注用模具,复合材料辊表面处理浇注用模具包括:内管,外管,端盖,注胶口,其中,第二端盖设有密封圈,外管和复合材料辊之间形成浇注空间,密封圈与所述外管、述复合材料辊的底端连接以阻止所述浇注空间内的有机材料液体渗出,通过注胶口向浇注空间浇注有机胶水。本发明的有益效果是:通过设置内管、外管和端盖相互配合,支撑并定位待浇注复合材料辊,形成可变的浇注空间,能够在复合材料辊周面快速浇注不同厚度的复合材料层,处理工序少,并且,用抽真空的方式实现快速而均匀的浇注有机胶水,便于机械化操作,极大的提高了工作效率,并且本发明结构简单,易于操作。

标签:
复合材料
江苏 - 无锡 来源:中冶有色网 2023-03-18
环氧树脂抗紫外复合材料及其制备方法

本发明涉及一种复合材料技术领域的抗紫外环氧树脂复合材料及其制备方法,其组分和重量比为:分子筛0.5-5%,环氧树脂70-85%,固化剂10-25%,促进剂0.5-5%。其方法为:第一步,取分子筛与偶联剂在分散剂中搅拌混合均匀,然后滤出分子筛在烘箱中烘干,备用;第二步,将处理过的分子筛与环氧树脂混合均匀,然后加入固化剂和促进剂,固化成型,得到抗紫外环氧树脂复合材料,所述的分子筛在复合材料中的质量比在0.5-5%。该复合材料紫外线屏蔽系数大于50,在紫外线照射1000小时后,力学性能下降幅度小于5%,该复合材料可用于工程材料领域,提高材料的紫外线屏蔽能力和抗紫外老化能力。

标签:
复合材料
江苏 - 无锡 来源:中冶有色网 2023-03-18
太阳能光伏背板复合材料及其制备方法

本发明涉及一种太阳能光伏背板复合材料及其制备方法,属于复合材料技术领域。该太阳能光伏背板复合材料包括按照质量份数计的如下原料:碳纳米管10-25份、PBT10-16份、马来酸酐接枝三元乙丙橡胶2-6份、高密度聚乙烯5-10份、ABS2-6份、三硬脂酸甘油酯2-5份、硅酮粉1-3份、柠檬酸2-9份、三[2,4-二叔丁基苯基]亚磷酸酯2-4份、碳化硅纤维2-5份、γ-甲基丙烯酰氧基丙基三甲氧基硅烷1-3份。本发明所得复合材料具有优异的力学性能和耐候性能;本发明所得复合材料具有优异的阻隔水汽的性能,可有效保护太阳能电池片。

标签:
复合材料
江苏 - 无锡 来源:中冶有色网 2023-03-18
农作物秸秆纤维生态复合材料的制备方法

本发明涉及一种农作物秸秆纤维生态复合材料的制备方法,特征是,包括以下工艺步骤:机械分离:将农作物秸秆机械分离成短秸杆,以提高碱处理对农作物秸秆的可及度;碱处理:将短秸杆在质量百分浓度为3~6%的氢氧化钠溶液中进行碱处理,所述氢氧化钠溶液与短秸秆的质量比为30~50:1;经碱处理、水洗、酸中和后在60~80℃的温度下烘干2~10小时得到秸杆纤维;以秸秆纤维作为增强相,以聚乳酸材料作为基体经热压得到复合材料;保持压力,将得到的复合材料在常温下自然冷却或水冷得到多孔隙的复合材料板材。本发明提取的秸秆纤维纤维素含量高,细度细,复合材料力学性能好,内部并具有多而小的空隙,具有很好的隔热和隔音性能。

标签:
复合材料
江苏 - 无锡 来源:中冶有色网 2023-03-18
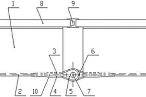
复合材料桥跨接头
复合材料桥跨接头 882     
 0

本实用新型属于桥梁领域,尤其是桥梁连接部件。一种复合材料桥跨接头,包括桥跨本体,桥跨本体的底板由上复合材料纤维层和下复合材料纤维层组成,桥跨的桥面板端部有承压块,其特征在于,该桥跨接头还包括金属接头内芯和包裹金属接头内芯的复合材料面层,金属接头内芯设置在底板的连接端部,设有连接孔,复合材料面层与底板的上复合材料纤维铺层和下复合材料纤维铺层为一无缝连续的整体结构。本实用新型解决了复合材料桥跨的连接技术问题,即达到了桥跨受力强度的要求,又避免了机械连接对复合材料桥跨承载性能的破坏。

标签:
复合材料
江苏 - 无锡 来源:中冶有色网 2023-03-18
易成型三层核壳粒子增韧聚合物复合材料及制备方法

本发明公开了一种易成型三层核壳粒子增韧聚合物复合材料及制备方法。所述复合材料是由包括以下组分的原料共混而得:聚合物100重量份;三层核壳粒子1~100重量份;所述聚合物为热固性聚合物和热塑性聚合物;所述核壳粒子由生物基硬核部、软内壳层与硬外壳层三部分组成;本发明无需增塑剂等即可复合材料塑化加工,在增韧聚合物的同时,最外层硬壳层能有效的增强复合材料,生产效率高,易加工成型,成本低,工艺简单,性能可控,适用于制备各种性能要求的复合材料。

标签:
复合材料
江苏 - 无锡 来源:中冶有色网 2023-03-18
双层笼型倍半硅氧烷改性植物油基聚氨酯复合材料的制备方法

一种双层笼型倍半硅氧烷改性植物油基聚氨酯复合材料的制备方法,属于高分子复合材料技术领域。本发明以植物油基多元醇,异氟尔酮二异氰酸酯(IPDI)为原料,合成植物油基聚氨酯,并以有机?无机杂化材料双层笼型倍半硅氧烷(DDSQ)为改性剂,合成出一系列植物油基聚氨酯复合材料。本发明采用环保可再生的植物油基多元醇为原料,并针对植物油基聚氨酯存在的缺点,用具有规整笼型结构的双层倍半硅氧烷进行化学改性,改性后复合材料的热性能,机械性能以及耐水性都得到了不同程度的改善。与普通的植物油基聚氨酯相比,复合材料的初始分解温度提高了31℃,而拉伸强度提高了近4倍。

标签:
复合材料
江苏 - 无锡 来源:中冶有色网 2023-03-18
氧化锰/ 氧化铝复合材料在聚乙烯醇处理方面的应用

本发明涉及一种氧化锰/氧化铝复合材料在聚乙烯醇处理方面的应用,属于废弃物处理及环境保护技术领域。其采用浸渍?煅烧法制备MnxOy/γ?Al2O3复合材料,并用于聚乙烯醇的吸附及催化降解处理。本发明制备的MnxOy/γ?Al2O3复合材料可以同时实现聚乙烯醇的吸附及催化降解,可用于固体聚乙烯醇及聚乙烯醇废水等废弃物的处理,使用过后的MnxOy/γ?Al2O3复合材料可以经过洗涤?过滤?干燥?煅烧等步骤实现再生,再生的MnxOy/γ?Al2O3复合材料同样具有高吸附性、高催化性、可重复使用、方法简易、操作便捷、成本低、效率高等优点。

标签:
复合材料
江苏 - 无锡 来源:中冶有色网 2023-03-18
铝钢复合材料晶粒组织的制备方法、试样、试剂及配制方法

本发明涉及一种铝钢复合材料晶粒组织的制备方法、试样、试剂及配制方法。晶粒组织的制备方法包括:准备铝钢复合材料试样;制备铝侧晶粒组织:将复合材料试样在0.5%-2.5%重量百分比、温度为50-70℃的氢氟酸水溶液电解液中进行恒电位(-1.0V)-(-0.7V)电解1-3分钟;再制备钢侧晶粒组织:使用硝酸重量含量为1.0%-2.5%的室温硝酸乙醇溶液把电解后的复合材料试样擦拭清洗30-60s。其中铝钢复合材料试样是经200-400#、500-700#、1000-1400#的耐水砂纸依次打磨并进行抛光后制得。通过本发明的技术方案,能同时显示铝-钢复合材料两侧的晶粒组织,使得复合材料金相组织的观察测量更便捷高效。

标签:
复合材料
江苏 - 无锡 来源:中冶有色网 2023-03-18
非迁移型高效抗菌复合材料及其制备方法

本发明公开了一种非迁移型高效抗菌复合材料及其制备方法,属于材料学领域。该非迁移型高效抗菌复合材料,由以下重量份的原料组成:聚乳酸A 80~120份,纳米氧化锌接枝聚乳酸B 0.1~5份,扩链剂0.5~5份,抗氧剂0.2~2份,抗水解剂0.1~2份,成核剂0~5份(聚乳酸A与聚乳酸B为旋光异构体)。本发明的非迁移型高效抗菌复合材料具有优异的抗菌性能,并且是非迁移型抗菌,是一种环境友好型抗菌复合材料,可用于制备抗菌性纤维及织物、塑料包装材料、汽车内饰件或医用耗材。

标签:
复合材料
江苏 - 无锡 来源:中冶有色网 2023-03-18
高强度木塑复合材料板材及其制备方法

本发明涉及一种木塑复合材料,特别是涉及一种高强度木塑复合材料板材及其制备方法。本发明高强度木塑复合材料板材,其由硅烷偶联剂处理纳米二氧化钛得到改性纳米二氧化钛,由改性纳米二氧化钛、塑料粒子、马来酸酐接枝塑料粒子、硬脂酸钙等机械搅拌并挤出造粒得到改性塑料粒子,由改性塑料粒子、木粉、萜烯树脂、短切玻纤、白油、抗氧剂等通过机械搅拌、挤出熔融共混、造粒,得到高强度木塑复合材料粒子,最后采用机器将所得高强度木塑复合材料粒子挤出成型高强度木塑复合材料板材。本发明的一种高强度木塑复合材料板材,用途极为广泛,适用于交通、建筑、装修、装饰、市政、园林、包装等诸多领域。一种高强度木塑复合材料板材不仅可再生、价格低廉,而且具有更高的静曲强度等力学性能,是一种理想的替代木材的材料,较传统木塑复合材料具有更长的使用寿命,是现有木塑复合材料一种新型升级换代产品。

标签:
复合材料
江苏 - 无锡 来源:中冶有色网 2023-03-18
铝碳化硅复合材料散热基板表面覆盖金属层的工艺

一种在铝金刚石复合材料表面覆盖钼箔的工艺方法,将经过刻痕处理的钼箔覆盖在金刚石粉料外面,在压铸过程中使其牢固地与铝金刚石材料连接在一起;钼箔的一表面刻有交叉的、开口朝向不同的倒齿状凹痕,金刚石粉料和钼箔装入压铸成形模具内,金刚石粉料位于两钼箔之间,经过刻痕处理的钼箔表面朝向金刚石粉料,金刚石粉料振动实压紧后嵌入钼箔的凹痕内,成形模具在渗铝压铸前必须进过预热处理,预热后的成形模具须放入压铸套模,并进行渗铝压铸。熔化的铝液压铸渗透到金刚石粉料的缝隙中,并渗入钼箔表面凹痕,与钼箔形成犬牙交错、互相咬合的状态,使钼箔、熔铝和金刚石粉牢牢地融为一体,在铝金刚石表面形成可以加工、可进行各种涂镀处理的均匀的钼层。

标签:
复合材料
江苏 - 无锡 来源:中冶有色网 2023-03-18
木塑复合材料、其制备方法及由该复合材料制成的成型板

本发明涉及一种木塑复合材料,以重量份计包括以下原料组分:植物维醋酸酯65?75份,氨化聚丙烯3?6份、微米级SiO2?0.5?1.5份、有机硅烷15?25份、植酸溶液8?10份,偶联剂2?4份,氯化聚乙烯20?30份,相容剂2?4份,聚乙烯蜡1?2份,硬质酸锌1?2份,活性碳酸钙3?7份,抗氧剂0.1?0.3份,邻羟基苯甲酸苯酯0.1?0.3份;该材料具有环保耐用、抗酸碱、防虫蛀等优点,而且具有非常优异的力学性能,拉伸强度在70MPa以上,弯曲强度在100MPa以上,冲击强度在55MPa以上,可广泛适用于建筑、家具、包装、园林、运输领域。

标签:
复合材料
江苏 - 无锡 来源:中冶有色网 2023-03-18
铸造石墨烯/铝合金复合材料的制备方法及铸造石墨烯/铝合金复合材料

本发明公开的铸造石墨烯/铝合金复合材料的制备方法,包括如下步骤:(1)石墨烯金属化步骤;(2)钛复合处理步骤;(3)硼酸包覆步骤;(4)制备铸造石墨烯/铝合金复合材料步骤。本发明克服了石墨烯与铝合金基之间的界面润湿性差的缺点,有效解决了石墨烯和金属在高温下的氧化,避免了因石墨烯颗粒的团聚与上浮而造成的基体中分布不均匀等不良现象,进而提高了复合材料的耐热性、强度和耐磨性等综合性能。

标签:
复合材料
江苏 - 无锡 来源:中冶有色网 2023-03-18
石墨烯改性橡胶复合材料的制备方法及橡胶复合材料

本发明公开了一种石墨烯改性橡胶复合材料的制备方法,包括以下步骤:S1:石墨烯超声分散于有机溶剂中,向溶剂中加入聚乙二醇单醚,充分混合,得到石墨烯‑聚乙二醇单醚溶液;S2:以S1所得石墨烯‑聚乙二醇单醚溶液作为亲水改性剂聚乙二醇单醚改性多异氰酸酯;S3:向密炼设备中加入包含S2所得聚乙二醇单醚改性多异氰酸酯的橡胶混练原料,经密炼、混练,得石墨烯改性橡胶复合材料成品。该石墨烯改性橡胶复合材料的制备方法工艺中将石墨烯混合分散于多异氰酸酯的制备体系中,制备掺杂有石墨烯的多异氰酸酯,多异氰酸酯作为硫化剂应用于橡胶硫化反应中参与硫化反应,使得石墨烯能在橡胶材料中均匀分散。

标签:
复合材料
江苏 - 无锡 来源:中冶有色网 2023-03-18
复合材料的制备方法及复合材料

本发明涉及一种复合材料的制备方法及复合材料。该按质量份配比,该制备方法包括以下步骤:a、将0.3-0.5份单层氧化石墨烯加入79份无水乙醇中,磁力搅拌后超声剥离;b、将100份的UHMWPE加入溶液中,磁力搅拌后超声剥离;c、干燥处理;d、将干燥物研磨粉碎;e、采用平板硫化机在5-10MPa压力下预压10-20min;f、电热风干处理;g、硫化处理并冷却。根据该方法制备的复合材料按质量份配比,包括0.3-0.5份的单层氧化石墨烯及100份的UHMWPE。这种复合材料的制备方法及复合材料,实现了提高UHMWPE的力学性能,提高了其硬度、抗拉性能以及摩擦磨损性能。

标签:
复合材料
江苏 - 无锡 来源:中冶有色网 2023-03-18
新型TiO2/硅藻土复合材料的制备及其纯化卵黄高磷蛋白磷酸肽的方法

一种新型TiO2/硅藻土复合材料的制备及其纯化卵黄高磷蛋白磷酸肽的方法,属于化学复合材料制备和生物活性物质纯化技术领域。本发明提供了一种改进的沉淀法制备负载型纳米TiO2的方法,并以这种负载型的复合材料为吸附载体分离纯化卵黄高磷蛋白磷酸肽。本发明选用具有较大比表面积的硅藻土材料作为负载基体,将TiO2通过化学共沉淀法沉积在硅藻土表面,通过控制实验条件来控制制得的TiO2的粒子大小和晶型,制备得到的复合材料具有较大的比表面积和较好的覆盖率。将其应用于卵黄高磷蛋白磷酸肽的分离纯化,可提高其纯化效率和吸附载量。同时还可以将其应用于磷酸蛋白质组学的研究中,用于蛋白质磷酸化位点的鉴定。

标签:
复合材料
江苏 - 无锡 来源:中冶有色网 2023-03-18
基于层级组装的硅-二氧化钛-聚吡咯三维仿生复合材料及应用

本发明涉及一种基于层级组装的硅-二氧化钛-聚吡咯三维仿生复合材料,依以下方法制备:(1)首先用一定浓度的碱液,对硅片进行各向异性刻蚀,在其表面形成紧密排列的四方锥形貌;(2)然后将步骤(1)刻蚀后的硅片进行亲水处理,在其表面生长二氧化钛晶种,并置于马弗炉内煅烧;(3)再将步骤(2)中所得到的表面具有二氧化钛晶种的硅片置于反应釜中,采用水热法在硅锥的侧壁上生长二氧化钛纳米棒;(4)最后在步骤(3)中得到的二氧化钛纳米棒上沉积聚吡咯纳米粒子。本发明所涉及的三维仿生复合材料兼具优异消反射和高效分离光生电荷的能力,可以应用到光催化、光电转化器件和太阳能电池等领域。

标签:
复合材料
江苏 - 无锡 来源:中冶有色网 2023-03-18
水性涂料纳米复合材料的制备方法及水性涂料纳米复合材料

本发明公开了一种水性涂料纳米复合材料的制备方法及水性涂料纳米复合材料,制备纳米复合负离子发射材料:将负离子发射材料在溶剂中进行液相研磨,并加入低分子量聚乙二醇或聚乙烯醇或超支化含羟基和羧基的聚合物作为表面修饰剂,室温混合得到纳米复合负离子发射材料的溶液;制备水性涂料纳米复合材料:将所述纳米复合负离子发射材料的溶液与水性聚氨酯涂料复合,得到水性涂料纳米复合材料的溶液。本发明辐射测量均小于环保要求,环保要求辐射值小于0.1ucV,实测值达到0.03ucV,负离子发射量达到9000个/立方厘米以上。

标签:
复合材料
江苏 - 无锡 来源:中冶有色网 2023-03-18
抗菌型复合材料和抗菌型复合材料的制备方法

本发明提供了一种抗菌型复合材料和抗菌型复合材料的制备方法。抗菌型复合材料包括:陶瓷基体;抗菌功能层,抗菌功能层包括杀菌剂,并覆盖陶瓷基体的至少部分表面;其中,抗菌功能层的成分包括可溶性抗菌玻璃。本发明能够提高抗菌型复合材料的杀菌效率和杀菌效果。

标签:
复合材料
江苏 - 无锡 来源:中冶有色网 2023-03-18
隔热聚乙烯复合材料及其制备方法

本发明公开了一种隔热聚乙烯复合材料及其制备方法,属于保温隔热化工材料技术领域。一种隔热聚乙烯复合材料,所述聚乙烯复合材料中包括气凝胶材料。其制备方法,包括如下步骤:(1)制备改性气凝胶粉或者改性纳米多孔二氧化硅溶胶;(2)将改性气凝胶粉或者改性纳米多孔二氧化硅溶胶与聚乙烯粉混合、造粒。所制得颗粒加入或者不加入聚乙烯粉或者聚乙烯颗粒,通过流延拉膜制成隔热聚乙烯膜。改性好的纳米气凝胶粉能够均匀的分散在薄膜上,两者之间有着非常好的相容性。

标签:
复合材料
江苏 - 无锡 来源:中冶有色网 2023-03-18
天然植物纤维复合材料及加工工艺

本发明公开了一种天然植物纤维复合材料,该复合材料是由天然麻和高分子材料经粉碎、定形、热熔、膜压和冷却工艺后制成的板材;天然麻与高分子材料的重量百分比分别为50%~60%:40%~50%;天然麻采用生产天然麻纤维过长中产生的废料;高分子材料采用废旧的聚丙烯塑料。该复合材料的加工工艺为:将天然麻原料与高分子材料原料比例混均;原料通过传送机构平摊在托盘上输送到定型机下,通过定型机在常温状态下的上下加压,然后送到加热模腔内加热,热成形后的板材与托盘一起传送至冷却模架内行冷却定型处理最终成型。该天然植物纤维复合材料可使用天然麻中的边角废料和废旧塑料作为原料,及降低了成本,又使得废物得到了充分的利用。还具有较好的防水,耐高温性能。

标签:
复合材料
江苏 - 无锡 来源:中冶有色网 2023-03-18
发泡聚乙烯棉复合材料及其制备方法

本发明公开了一种发泡聚乙烯棉复合材料及其制备方法,属于保温隔热化工材料技术领域。所述发泡聚乙烯棉复合材料包括气凝胶材料。制备方法如下:(1)将硅源前驱体、溶剂、水、催化剂混合,通过溶胶‑凝胶方法,制备得到具有空间三维网状结构的二氧化硅溶胶,加入表面改性剂混匀,制得改性纳米多孔二氧化硅溶胶;(2)取低密度聚乙烯粉与步骤一(1)得到的改性溶胶混合,加入硅烷偶联剂和/或表面改性剂、引发剂、有机助剂,通过混炼、造粒和烘干得到聚乙烯‑气凝胶复合母粒;(3)将聚乙烯‑气凝胶复合母粒与抗静电剂、发泡剂、滑石粉共同加入高压反应釜中,经过发泡、挤出成型、冷却、再延展、最后收卷,得到发泡聚乙烯棉复合材料。

标签:
复合材料
江苏 - 无锡 来源:中冶有色网 2023-03-18
含金属内衬碳纤维复合材料的身管及其冷装配制造方法

本发明涉及一种含金属内衬碳纤维复合材料的身管及其冷装配制造方法,身管包括金属内衬、金属尾管、金属端管和碳纤维复合材料层,金属尾管、金属端管分别衔接金属内衬的首尾末端,所述碳纤维复合材料层穿套在所述金属内衬外周,并且所述碳纤维复合材料层具有环向压紧该金属内衬的趋势。上述结构的身管采用了分段组装的设计方式,可减轻身管每段的重量,便于战士携带。另外,碳纤维复合材料层对金属内衬产生环向预应力,碳纤维复合材料层受到一个环向拉应力,而金属内衬受到一个环向压应力,从而使两者接触更加紧密,提高了身管的承压负荷能力。

标签:
复合材料
江苏 - 无锡 来源:中冶有色网 2023-03-18
基于三元层级组装的硅-二氧化钛-聚苯胺复合材料及应用

本发明涉及一种基于三元层级组装的硅-二氧化钛-聚苯胺(Si/TiO2/PANI)复合材料,依以下方法制备:(1)首先对硅片进行亲水处理,在其表面生长TiO2晶种,并置于马弗炉内煅烧一定的时间;(2)然后将步骤(1)中所得到的表面附有TiO2晶种的硅片置于反应釜中,采用水热合成的方法在硅片表面诱导生长TiO2纳米棒;(3)最后在步骤(2)中得到的TiO2纳米棒上沉积导电聚苯胺纳米粒子,得到三元层级组装的Si/TiO2/PANI复合材料。本发明所涉及的三元层级组装的Si/TiO2/PANI复合材料具有优异的降低材料表面光反射和高效分离光生电荷的能力,可以应用到光催化降解有机染料、光电转化器件和太阳能电池中。

标签:
复合材料
江苏 - 无锡 来源:中冶有色网 2023-03-18
复合材料的制备方法及复合材料

本发明涉及复合材料的制备方法及复合材料。按质量份配比,该复合材料的制备方法包括以下步骤:a、将0.1-5份单层氧化石墨烯加入500份溶剂中充分分散,然在超声处理;b、将95-99.9份的UHMWPE加入经过步骤a得到的溶液中,磁力搅拌后超声剥离;c、干燥处理;d、研磨粉碎;e、采用平板硫化机预压,保温,再压模处理得到板材,冷却;f、采用电子束或放射源钴,辐照剂量为50-150kGy对板材辐照5-9天,完成制备。该复合材料包括0.1-5份的单层氧化石墨烯及95-99.9份的UHMWPE。这种复合材料的制备方法及复合材料,实现了提高UHMWPE的力学性能,提高了其硬度、抗拉性能以及摩擦磨损性能。

标签:
复合材料
江苏 - 无锡 来源:中冶有色网 2023-03-18
上一页 570 571 572 573 下一页
共573页    到第

中冶有色为您提供最新的江苏无锡有色金属复合材料技术理论与应用信息,涵盖发明专利、权利要求、说明书、技术领域、背景技术、实用新型内容及具体实施方式等有色技术内容。打造最具专业性的有色金属技术理论与应用平台!

全国热门有色金属设备推荐
展开更多 +
全国热门有色金属技术推荐
展开更多 +

 

江西省隆恩特环保设备有限公司
宣传

报名参会
更多+

报告下载

有色专家
更多+

广东省科学院资源利用与稀土开发研究所
教授
石家庄铁道大学
团委书记/副教授
中铝检测科技(郑州)有限公司/国家轻金属质量检验检测中心
正高级工程师
北京航空航天大学、中国工程院
院士
红河学院
研究员
赤泥综合利用研究报告2025
推广

热门技术
更多+

推荐企业
更多+

福建省金龙稀土股份有限公司
宣传

发布

在线客服

公众号

电话

顶部
咨询电话:
010-88793500-807