青岛垚鑫智能科技有限公司
宣传

位置:中冶有色 >

有色技术频道 >

> 化学分析技术

分类:
全部
矿山技术
冶金技术
材料制备及加工技术
环境保护技术
分析检测技术
 
全部
物理检测技术
化学分析技术
力学检测技术
无损检测技术
失效分析技术
环境检测技术
地区:
全部
北京
天津
上海
重庆
河北
山西
辽宁
吉林
黑龙江
江苏
浙江
安徽
福建
江西
山东
河南
湖北
湖南
广东
海南
四川
贵州
云南
陕西
甘肃
青海
内蒙
广西
西藏
宁夏
新疆
其他
其他
展开
 
全部
南京
无锡
徐州
常州
苏州
南通
连云港
淮安
盐城
扬州
镇江
泰州
宿迁

江苏苏州有色金属化学分析技术理论与应用

免费发布技术信息>>
基于平面波导技术的高通量生物、化学、环境检测系统

本申请公开了一种基于平面波导技术的高通量生物、化学、环境检测系统,该系统包括平面光波导传感器,包括相对的第一侧和第二侧,位于第一侧的表面固定有探针分子或含荧光基团的底物分子;线性激发光源,可产生进入到平面光波导传感器的激发光,并在第一侧的表面产生消逝波;芯片容器,与所述第一侧的表面之间围成一密封的待测溶液腔体;成像检测装置,设置于平面光波导传感器的第二侧。本案样品溶液采用密封检测,检测结果准确;传感器表面可以固定多种探针或底物分子,溶液中的物质可以和表面的多种分子产生作用,并分别在特定探针区域产生荧光变化,这样就完成了多种指标的并行高通量检测。

标签:
化学分析
江苏 - 苏州 来源:中冶有色网 2023-03-19
高精度电子专用化学品液体浓度检测装置

本实用新型涉及一种高精度电子专用化学品液体浓度检测装置,包含测试容器、恒温容器、恒温装置、水泵和密度计;所述测试容器设置在恒温容器内;所述恒温容器的上下两端均与测试容器密封连接;所述恒温装置包括并排放置的控制箱和恒温水箱、分别设置在恒温水箱内的恒温水、加热棒和温度传感器、分别设置在控制箱外侧的温度显示模块和温度调节模块;所述水泵用于将恒温水输送到恒温容器内;所述测试容器与恒温容器之间还设置有回流管;所述密度计设置在测试容器内,用于测量液体密度;本实用新型通过在测试容器外套设一个恒温容器,可精度控制被测液体的温度,消除温度对液体体积的变化而产生的误差,提高检测准确性。

标签:
化学分析
江苏 - 苏州 来源:中冶有色网 2023-03-19
基于平面波导技术的高通量生物、化学、环境检测系统和方法

本申请公开了一种基于平面波导技术的高通量生物、化学、环境检测系统和方法,该系统包括平面光波导传感器,包括相对的第一侧和第二侧,位于第一侧的表面固定有探针分子或含荧光基团的底物分子;线性激发光源,可产生进入到平面光波导传感器的激发光,并在第一侧的表面产生消逝波;芯片容器,与所述第一侧的表面之间围成一密封的待测溶液腔体;成像检测装置,设置于平面光波导传感器的第二侧。本案样品溶液采用密封检测,检测结果准确;传感器表面可以固定多种探针或底物分子,溶液中的物质可以和表面的多种分子产生作用,并分别在特定探针区域产生荧光变化,这样就完成了多种指标的并行高通量检测。

标签:
化学分析
江苏 - 苏州 来源:中冶有色网 2023-03-19
化学发光法快速检测水通道蛋白1的试剂盒

本发明目的于提供一种基于化学发光法快速检测水通道蛋白1的试剂盒,用于检测人体尿液样本中水通道蛋白1作为辅助诊断用。一种人水通道蛋白1化学发光法试剂盒,包括样本处理液、酶标液、包被有捕获抗体的固相载体、发光底物其特征在于:所述的捕获抗体为抗人水通道蛋白1多克隆抗体;所述的酶标液,主要成份为酶标记抗人水通道蛋白1单克隆抗体。

标签:
化学分析
江苏 - 苏州 来源:中冶有色网 2023-03-19
高通量干式化学检测装置

本发明公开了一种高通量干式化学检测装置,具有底座、加样座、传动机构、温控孵育模块和光学检测模块;底座为凹字形结构,中央设有前后贯通的下凹槽,下凹槽中设有传动机构,用于自动推动试剂片,底座上设有轨道盖,该轨道盖的轨道与下凹槽平行对应,轨道上卡合有推块,用于手动推动试剂片,轨道一端顺次设有加样座、温控孵育模块和光学检测模块;本案涉及的检测装置可用于对临床血液样本中的生化指标进行快速定量检测,例如葡萄糖、肌酐、谷丙转氨酶、尿毒素等,而且该装置结构简单,检测效率高,稳定性好,使用便利。

标签:
化学分析
江苏 - 苏州 来源:中冶有色网 2023-03-19
能同时定量检测多巴胺和尿酸的电化学传感器

本发明涉及一种铂/二硫化钼复合材料修饰的电化学传感器,可以同时定量检测多巴胺和尿酸。本发明以二维二硫化钼为支撑材料,原位合成纳米铂颗粒,并以铂/二硫化钼复合物作为电极修饰材料进行电极改性,制成能够实用的区分多巴胺和尿酸电位的三电极系统。本发明所述的电化学传感器具有检测方法简单快捷,响应快,灵敏度和选择性好,成本低的优点,可以广泛的应用于生物、农业、医药、科研等领域。

标签:
化学分析
江苏 - 苏州 来源:中冶有色网 2023-03-19
磁微粒化学发光检测试剂盒

本实用新型涉及一种磁微粒化学发光检测试剂盒,包括具有开口的盒体、用于盖住开口的盒盖、设置于盒体内的衬垫,衬垫朝向盒盖的一侧开设有用于放置装有碱性磷酸酶标记的抗人IgG抗体的试剂瓶的第一腔体、用于放置装有链酶亲和素磁珠的试剂瓶的第二腔体、用于放置固定座的第三腔体,固定座上固定有多个装有生物素化抗原的试剂瓶。本实用新型通过将多个装有生物素化抗原的试剂瓶固定设置在固定座上,使得在将试剂瓶安装到检测仪器上时,能够将多个项目整合进1个试剂楔中,增加了可同时检测的项目的数量,变相的增加了仪器的试剂位,并且检测时,可随机检测多个所需的测定项目;此外,该试剂盒设计合理,操作方便灵活,易于保存和运输。

标签:
化学分析
江苏 - 苏州 来源:中冶有色网 2023-03-19
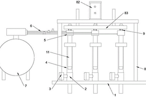
生物化学检测系统
生物化学检测系统 802     
 0

本发明提供一种生物化学检测系统,包括;芯片,所述芯片上设有若干个用于纳入检测样品的光学微腔;以及设有若干个喷嘴的喷墨头,所述喷嘴与所述光学微腔对应,用于将检测样品注入所述光学微腔内;分别设有光源的第一导光装置和第二导光装置,所述第一导光装置和第二导光装置均与所述光学微腔对应,并分别设置于所述喷墨头行进方向前方和后方,与所述喷墨头作同向运动;用于采集纳入检测样品前所述光学微腔的第一反射光信息和纳入检测样品后所述光学微腔的第二反射光信息。本发明可以将同一样品注入芯片上不同直径的微腔内,检测不同光子限制条件下样品特性的改变,也可以在同一微腔内分别注入不同样品,实现样品混合及反应,大大提高检测效率。

标签:
化学分析
江苏 - 苏州 来源:中冶有色网 2023-03-19
干化学检测方法和装置

一种干化学检测方法和装置,所述方法包括:获取样本的多个检测项目的结果;根据预设规则对所述多个检测项目中的被干扰检测项目进行标记,其中所述预设规则包括:根据干扰检测项目的结果确定对应的被干扰检测项目的结果被干扰时,则对对应的被干扰检测项目进行标记。本发明在获取到检测项目的结果后,基于检测项目的结果来判断检测项目之间的干扰情况,将被干扰的检测项目进行标记,以提示医务人员,从而以一种简单但非常有效的方式解决了因检测项目的假阳性或假阴性等引起的漏诊或误诊,并且对医务人员并没有提出新的高要求,对医务人员在根据检测项目结果进行诊断时十分友好。

标签:
化学分析
江苏 - 苏州 来源:中冶有色网 2023-03-19
反应釜中化学产物的拉曼光谱检测装置

本发明涉及一种反应釜中化学产物的拉曼光谱检测装置,包括反应釜、拉曼光谱检测系统以及控制器,所述反应釜包括釜体,所述釜体连接有加热单元,所述加热单元包括加热组件和多个温度传感器,所述温度传感器连接所述控制器;所述拉曼光谱检测系统包括激光器、光纤传感器以及拉曼光谱仪,所述拉曼光谱仪连接所述控制器,所述光纤传感器包括一探头,所述探头包括光纤、套设于所述光纤外部的套筒,所述光纤接收来自所述激光器的激光,所述光纤的检测端位于所述套筒内部,所述检测端呈锥形,所述检测端的表面镀有金属纳米颗粒,所述套筒内还设有反光镜,所述反光镜正对所述光纤的检测端设置。

标签:
化学分析
江苏 - 苏州 来源:中冶有色网 2023-03-19
化学实验室的有毒气体检测装置

本实用新型公开了一种化学实验室的有毒气体检测装置,包括:检测单元,所述检测单元包括一氧化氮气体检测模块、二氧化硫气体检测模块、硫化氢气体检测模块和氨气气体检测模块;微处理器,所述微处理器信号接入端与数模转换器输出端电连接;箱盒,所述箱盒包括气体检测层和微处理器放置层,所述微处理器放置层外侧的一面设有LED显示屏、各个模块指示灯、电源开关和蜂鸣器,所述微处理器放置层内设有蓄电池,所述LED显示屏、电源开关和蜂鸣器与微处理器电连接。本实用新型毒气体检测装置可以用手拿取放置在任何位置,根据需要放置,使用十分方便;气体检测层内设有四组气体通道,使的各个气体检测模块之间互不干扰。

标签:
化学分析
江苏 - 苏州 来源:中冶有色网 2023-03-19
用于干式化学检测的积分球装置

本发明公开了一种用于干式化学检测的积分球装置,在积分球上开一光源入射口和样品检测入口;在所述积分球的内部设置有第一挡板和第二挡板,所述第一挡板和第二挡板布置于所述光源入射口的两侧、并与所述光源入射口处于同一经线上;所述第一挡板上、样品检测入口的正下方设置有样品光电探测器,所述样品光电探测器的样品探测面正对着所述样品检测入口;所述第二挡板上、样品光电探测器的正下方设置有基准光电探测器,所述基准光电探测器的基准探测面正对朝下。本发明与现有技术相比,能减小无关的光学背景噪声,提高检测结果的准确度和重复性。

标签:
化学分析
江苏 - 苏州 来源:中冶有色网 2023-03-19
化学发光法快速检测围脂滴蛋白2的试剂盒

本发明目的于提供一种基于化学发光法快速检测围脂滴蛋白2的试剂盒,用于检测人体尿液样本中水通道蛋白1作为辅助诊断用。一种人围脂滴蛋白2化学发光法试剂盒,包括样本处理液、酶标液、标准品、包被有捕获抗体的磁性微球、发光底物其特征在于:所述的捕获抗体为抗人围脂滴蛋白2多克隆抗体;所述的酶标液,主要成份为酶标记抗人围脂滴蛋白2单克隆抗体。

标签:
化学分析
江苏 - 苏州 来源:中冶有色网 2023-03-19
游离IgE化学发光免疫检测试剂盒

本发明提供一种游离IgE化学发光免疫检测试剂盒。所述的游离IgE化学发光免疫检测试剂盒包括R1试剂、R2试剂和R3试剂,其中,R1试剂为含有生物素标记的FcεRI/FcεRIA蛋白和第一保护剂的缓冲液,第一保护剂包括酪蛋白、动物血清和牛血清蛋白L;R2试剂为含有发光标记物标记的抗人IgE抗体和第二保护剂的缓冲液,所述的第二保护剂包括酪蛋白和动物血清;R3试剂为含有链霉亲和素标记的磁微粒子的缓冲液。本发明的试剂盒具有稳定好、准确度高、灵敏度高等优点。

标签:
化学分析
江苏 - 苏州 来源:中冶有色网 2023-03-19
用于化学气相沉积设备喷嘴的流量检测治具

本实用新型公开了用于化学气相沉积设备喷嘴的流量检测治具,包括基板,基板上设置有至少一个上下导通的检测管道,检测管道的侧壁上设置有检测其内气体流量的流量探测计,检测管道上端密封连接有供喷嘴放置的套管,套管的下端插入套管内并通过密封组件与套管密封连接,每个套管正上方均设置有能沿其上下移动的测试头,每个测试头均与驱动组件连接,并在驱动组件作用下移动,测试头分别通过对应设置的气管连通外部气源,外部气源通过测试头朝向喷嘴内提供检测气体。能对喷嘴内喷神通道的最大流量进行快速检测。

标签:
化学分析
江苏 - 苏州 来源:中冶有色网 2023-03-19
高效检测镀层中铑钌含量的化学方法

一种高效检测镀层中铑钌含量的化学方法,包括:第一步:将适量待测样品放置于坩埚中,然后加入适量碱,所述样品与所述碱的质量比为1:(3~10),最后将混合后的所述样品与碱在高温下反应至呈熔融状态;第二步:往所述第一步制得的熔融物中加入酸进行中和,待溶液澄清后,加水稀释;第三步:将第二步中稀释制得的溶液用电感耦合等离子发射光谱法或原子吸收分光光度法测得铑钌含量。本发明技术针对镀层中的铑钌含量进行测试,采用化学全消解,光谱精确定量,能够准确获得铑钌含量且操作简便、成本低,成功解决了电镀工艺中铑钌合金镀层中元素含量无法精确测试,铑钌槽液比例配置的问题,节约了电镀成本和检测成本。

标签:
化学分析
江苏 - 苏州 来源:中冶有色网 2023-03-19
化学发光检测仪送样机械手

本实用新型涉及一种化学发光检测仪送样机械手包括:机架、竖直运动机构、水平运动机构和叉臂。竖直运动机构包括,具有竖直方向布置的竖直安装板和水平方向布置的水平安装板的安装板,设置在竖直安装板上的与竖直滑块配合的竖直导轨,设置在竖板上的能够转动的偏心轮,设置在机架上的用于驱动偏心轮转动的第一驱动件,水平安装板的底部抵靠在偏心轮上。本实用新型的化学发光检测仪送样机械手,通过驱动偏心轮转动来调节叉臂的高度,具有高度方向上传输速度快,定位精确的优点。

标签:
化学分析
江苏 - 苏州 来源:中冶有色网 2023-03-19
用于化学发光免疫检测的基于样条插值算法的曲线拟合方法

本发明涉及一种用于化学发光免疫检测的基于样条插值算法的曲线拟合方法,其解决了化学发光免疫检测领域现有的四参数拟合算法参数调教困难、回算精度低,对于不同浓度数量级跨度的主曲线通用性差的技术问题,其首先获取输入的待拟合点,然后采用样条插值算法进行拟合,保存系数用以回算浓度。本发明广泛用于化学发光免疫检测技术领域。

标签:
化学分析
江苏 - 苏州 来源:中冶有色网 2023-03-19
针对海关现场液态化学品检测的毛细效应采样器

本实用新型公开了一种针对海关现场液态化学品检测的毛细效应采样器,包括采样器本体,所述采样器本体的底部固定连接有采样头,所述采样头的下方设置有盖体,所述采样头的底部活动连接有棉棒,所述棉棒的顶端贯穿采样头和采样器本体并延伸至采样器本体的内部,所述采样器本体的内部设置有调换机构;所述调换机构中包括开设在采样器本体右侧的通槽,本实用新型涉及液态化学品检测技术领域。该针对海关现场液态化学品检测的毛细效应采样器,通过调换机构的设置,使得棉棒方便进行安装拆卸和调换,而且在吸取溶液后可收进采样器本体内部,避免了吸取溶液后对外界污染,而且利用棉棒的毛细效应吸取效率高不会滴落,实用性很强。

标签:
化学分析
江苏 - 苏州 来源:中冶有色网 2023-03-19
基于DNA酶的钙离子电化学检测方法

本案公开了一种基于DNA酶的钙离子电化学检测方法,包括:在电极表面组装DNA酶;电极表面的DNA酶特异性捕获钙离子,发生酶切反应,使DNA酶转变为激活态的DNA捕获探针,同时释放出被捕获的钙离子,使钙离子继续被其他DNA酶特异性捕获从而发生新一轮的酶切反应;通过控制电极与钙离子的接触时间来控制钙离子参与酶切反应的循环次数;将激活态的DNA捕获探针结合修饰有电信号分子的纳米粒子,通过采集电信号分子的电化学信号获得钙离子的浓度。本案通过结合DNA酶的特异性识别功能、酶切活性以及修饰有电信号分子的纳米粒子,实现了钙离子的高灵敏度、高特异性、低干扰的电化学检测。

标签:
化学分析
江苏 - 苏州 来源:中冶有色网 2023-03-19
基于氨基肽酶激活型化学发光探针及其在恶性肿瘤的活体检测与手术导航方面的应用

本发明公开了一种基于氨基肽酶激活型化学发光探针及其在恶性肿瘤的活体检测与手术导航方面的应用,基于氨基肽酶(APN)在恶性肿瘤及新生血管中呈现特异性的高表达,本发明构建一种氨基肽酶激活型的化学发光探针,可与肿瘤部位高表达的氨基肽酶发生特异性反应,伴随强化学发光发射,实现活体肿瘤检测以及对原位实体瘤、转移瘤的快速成像,从而引导手术高效切除。

标签:
化学分析
江苏 - 苏州 来源:中冶有色网 2023-03-19
化学废气的检测处理装置

本实用新型公开了一种化学废气的检测处理装置,包括排气管、粉尘过滤器,活性碳过滤器和检测器,所述排气管内设置有粉尘过滤器,所述排气管上设置有冷气接口,所述冷气接口的下方设置有第一液体收集装置,所述排气管上设置有电阻加热装置,所述电阻加热装置的两端设置有电源接头,所述电阻加热装置位于所述冷气接口的右侧,所述电阻加热装置的下方设置有第二液体收集装置,所述排气管的出气口端设置有活性碳过滤器,所述活性碳过滤器连接检测器。本实用新型所提供的化学废气的检测处理装置,对废气在加热和冷却等条件进行处理,判定温度对废气稳定性的影响,使废气的测量数据更准确性,同时使对废气产生的危害进行有预防。

标签:
化学分析
江苏 - 苏州 来源:中冶有色网 2023-03-19
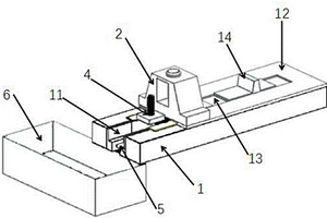
有机酸成分化学检测仪
有机酸成分化学检测仪 1105     
 0

本实用新型涉及检测技术领域,更具体地说涉及一种有机酸成分化学检测仪,万向轮固定连接在底板的底端,PH试纸放置架、支撑杆与酒精灯放置架均固定连接在底板的顶端,固定架固定连接在支撑杆的右端,反应盛装装置设置在固定架上,密封塞设置在反应盛装装置上,待测液盛装装置、醇类盛装装置与浓硫酸盛装装置均设置在密封塞上,排放管固定在反应盛装装置的右端。该有机酸成分化学检测仪结构简单,使用方便,在检测时便于移动,检测效率高,检测误差小,从而提高了工作效率。

标签:
化学分析
江苏 - 苏州 来源:中冶有色网 2023-03-19
检测力生长因子、其E肽的电化学发光试剂盒、制法

本发明涉及一种检测力生长因子、其E肽的电化学发光试剂盒、制法,制备的试剂盒包括:链霉亲和素偶联的磁性微粒工作液,生物素标记的MGF和/或MGF‑Ct24E抗体工作液,三联吡啶钌标记的MGF和/或MGF‑Ct24E抗体工作液,MGF和MGF‑Ct24E校准品和/或质控品工作液,含三丙胺的化学发光底物液,清洗液,试剂盒的发光体系为电化学发光,利用链霉亲和素‑生物素信号放大系统,检测灵敏度高、线性范围宽,检测结果重复性好,可以实现力生长因子和/或其E肽的准确定量。

标签:
化学分析
江苏 - 苏州 来源:中冶有色网 2023-03-19
检测β-hCG含量直接化学发光试剂盒及使用方法

本发明公开了一种检测游离β‑hCG(人绒毛膜促性腺激素)含量的磁微粒直接化学发光试剂盒及其使用方法,试剂盒包括包被链霉亲和素的磁性微球,生物素标记的β‑hCG抗体,β‑hCG标品,吖啶酯标记的具有β‑hCG不同识别位点的抗体,洗涤缓冲液,吖啶酯标抗体稀释液,标品稀释液,激发液A,含有1%‑2%的Triton X‑100和乙醇的激发液B。本发明结合了磁性微球与链霉亲和素蛋白偶联技术,生物素抗体标记技术,吖啶酯抗体标记技术,特别是对激发液成分和比例进行调试和改进后,让试剂盒具有灵敏度高、特异性强、准确性与重复性高的各种特性。此试剂盒可用来检测磁微粒的直接化学发光性能以及更好的检测游离β‑hCG(人绒毛膜促性腺激素)的含量。

标签:
化学分析
江苏 - 苏州 来源:中冶有色网 2023-03-19
用于甲胎蛋白检测的电化学传感器及其制备方法和应用

本发明提供一种用于甲胎蛋白检测的电化学传感器及其制备方法和应用,所述电化学传感器以玻碳电极为基底,所述玻碳电极上修饰有碳纳米管‑甲胎蛋白适体复合物,所述碳纳米管为表面具有活性末端和非活性末端的碳纳米管,所述甲胎蛋白适体与碳纳米管上的活性末端连接形成碳纳米管‑甲胎蛋白适体复合物;所述修饰有碳纳米管‑甲胎蛋白适体复合物的玻碳电极上捕获有甲胎蛋白。该电化学传感器检测甲胎蛋白的最低检测限度为0.0015‑0.002ng/mL,检测灵敏度高。

标签:
化学分析
江苏 - 苏州 来源:中冶有色网 2023-03-19
用于电化学发光检测的磁珠改性标记方法

本发明公开了一种用于电化学发光检测的磁珠改性标记方法,属于电化学检测材料技术领域。所述的磁珠改性标记方法,特征步骤为:1)将羟基被保护基PG保护的羟基酸活化酯和带有反应基团X的酸的活化酯,与氨基磁珠表面的氨基通过成酰胺键反应,将氨基磁珠表面的氨基完全反应掉形成改性氨基磁珠(I);2)将改性氨基磁珠(I)进行脱羟基保护基PG游离出羟基,得到表面是部分羟基和部分反应基团X的磁珠(II);3)将被反应基团Y修饰的蛋白质分子链霉亲和素SA与磁珠表面的X基团进行标记反应得到用于电化学发光检测的磁珠;所述反应基团Y与反应基团X能够形成化学键。本发明标记后的磁珠可以明显改善通电后磁珠清洗后的残留。

标签:
化学分析
江苏 - 苏州 来源:中冶有色网 2023-03-19
用于电化学发光检测的干扰处理方法及系统

本公开实施例提供的用于电化学发光检测的干扰处理方法及系统,基于在电化学发光检测进程中获取到的具有环境干扰影响的环境干扰溯源信息,获得多个待进行干扰处理的干扰环境源信息,确定所述待进行干扰处理的干扰环境源信息对应的干扰倾向性特征信息;当所述干扰倾向性特征信息具有干扰特征支持度时,确定与所述多个待进行干扰处理的干扰环境源信息对应的可能的干扰属性字段,以基于所述可能的干扰属性字段以及所述待进行干扰处理的干扰环境源信息,调取相应的干扰处理策略对所述待进行干扰处理的干扰环境源信息进行抗干扰处理。如此,可对具有环境干扰影响的环境干扰溯源信息的干扰状态进行抗干扰处理,从而提高电化学发光检测的可靠性。

标签:
化学分析
江苏 - 苏州 来源:中冶有色网 2023-03-19
检测力生长因子、其E肽的金刚烷化学发光试剂盒、制法

本发明涉及一种检测力生长因子、其E肽的金刚烷化学发光试剂盒、制法,制备的试剂盒包括:链霉亲和素偶联的磁性微粒工作液,生物素标记的MGF和/或MGF‑Ct24E抗体工作液,碱性磷酸酶标记的MGF和/或MGF‑Ct24E抗体工作液,MGF和MGF‑Ct24E校准品和/或质控品工作液,含3‑(2‑螺旋金刚烷)‑4‑甲氧基‑4‑(3‑磷氧酰)‑苯基‑1,2‑二氧环己烷二钠盐的化学发光底物液,清洗液,该试剂盒的发光体系为碱性磷酸酶/3‑(2‑螺旋金刚烷)‑4‑甲氧基‑4‑(3‑磷氧酰)‑苯基‑1,2‑二氧环己烷二钠盐化学发光,利用链霉亲和素‑生物素信号放大系统,检测灵敏度高、线性范围宽,检测结果重复性好,可以实现力生长因子和/或其E肽的准确定量。

标签:
化学分析
江苏 - 苏州 来源:中冶有色网 2023-03-19
小核糖核酸的电化学检测方法

本发明公开了一种用于微量微小RNA的电化学检测方法,包括以下步骤:固定在电极表面报告DNA与阻塞DNA形成双链a;阻塞DNA与靶标微小RNA分子结合,形成双链b,使阻塞DNA从电极表面脱离;引物DNA与双链b中阻塞DNA末端序列结合,自我复制形成DNA双链c,并将靶标微小RNA置换下来;被置换下来的靶标微小RNA又重新回到工作电极表面,与其他的双链a反应,N次循环反应后,电极表面的茎环结构的报告DNA也越来越多,进而电化学信号也越来越强,从而实现对单分子微小RNA的电化学检测。同样的原理还可推广到DNA,siRNA的检测中,应用前景广泛。

标签:
化学分析
江苏 - 苏州 来源:中冶有色网 2023-03-19
上一页 48 49 50 51 52 ... 58 下一页
共58页    到第

中冶有色为您提供最新的江苏苏州有色金属化学分析技术理论与应用信息,涵盖发明专利、权利要求、说明书、技术领域、背景技术、实用新型内容及具体实施方式等有色技术内容。打造最具专业性的有色金属技术理论与应用平台!

全国热门有色金属设备推荐
展开更多 +
全国热门有色金属技术推荐
展开更多 +

 

江西省隆恩特环保设备有限公司
宣传

报名参会
更多+

报告下载

有色专家
更多+

矿冶科技集团江苏北矿金属循环利用科技有限公司
书记 / 总经理
北京科技大学
主任/教授
广西大学
处长/教授
武汉科技大学
院长 / 教授
中南大学
教授、博士生导师
赤泥综合利用研究报告2025
推广

热门技术
更多+

推荐企业
更多+

福建省金龙稀土股份有限公司
宣传

发布

在线客服

公众号

电话

顶部
咨询电话:
010-88793500-807